



牛顿对白光的色散研究是从1666年开始的。他在窗帘上开一个小孔,使光通过小孔投射到一块三棱镜上,在棱镜后放置一块白屏。在屏上看到的是一个长条形的彩色谱带,光谱的长度是宽度的5倍,两端是半圆形的,以红、橙、黄、绿、蓝、紫排列,其中紫光折射最厉害。
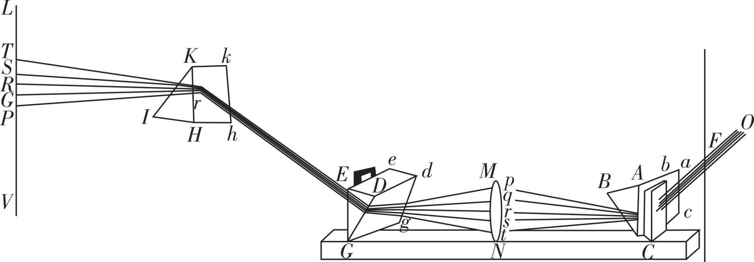
关于光的颜色理论,从亚里士多德到笛卡尔都认为白光纯洁均匀,乃是光的本色,而色光乃是白光的变种。牛顿却细致地注意到阳光并不是像过去人们所说的五色,而是在红、黄、绿、蓝、紫色之外还有橙、靛青等颜色,共七色。奇怪的还有棱镜分光后形成的不是圆形而是长条椭圆形,接着他又试验玻璃的不同厚度、不同大小的窗孔,将棱镜放在外边再通过孔及玻璃的不平或偶然不规则等不同条件的影响;用两个棱镜正倒放置以消除第一棱镜的效应;取来自太阳不同部分的光线,看其不同的入射方向会产生什么样的影响;计算各色光线的折射程度(即折射率);观察光线经棱镜后会不会沿曲线运动。最后才做了如图3-2所示的判决性实验:在棱镜 ABC 所形成的彩色带中通过屏幕 DE 上的小孔 G 取出单色光,再投射到第二棱镜 abc 后,得出该色光的折射程度,这样就得出“白光本身是由折射程度不同的各种彩色光所组成的非均匀的混合体”的结论。这个惊人的结论推翻了前人的学说,是牛顿通过细致观察和多次反复实验得出的结果。
图3-2 判决性实验
为了证明色散现象不是由于棱镜跟阳光的相互作用,也不是因为其他原因,而是由于不同颜色具有不同的折射性,牛顿又做了一个实验。
他拿三个棱镜做实验,三个棱镜完全相同,只是放置方式不一样,如图3-3所示。倘若颜色的分散是由于棱镜的不平或其他偶然的不规则性,那么第二个棱镜和第三个棱镜就会增加这一分散性。可实验结果是,原来分散的各种颜色,经过第二个棱镜后又还原成白光,形状和原来一样。经过第三个棱镜后,白光又分解成各种颜色。由此证明,棱镜的作用是使白光分解为不同成分,也可使不同成分合成为白光。
图3-3 牛顿用三个棱镜做实验
在色散实验的基础上,牛顿总结出了以下几条规律:
①光线随其折射率不同,颜色也不同。颜色不是光的变态,而是光线本来的、固有的属性。
②同一颜色属于同一折射率,不同颜色的折射率不同。
③颜色的种类和折射的程度是光线所固有的,不会因折射、反射或其他任何原因而改变。
④必须区分两种颜色,一种是原始的、单纯的颜色,另一种是由原始的颜色复合而成的颜色。
⑤本身为白色的光线是没有的,白色是由所有色的光线按适当比例混合而成的。