



覆膜广泛应用于包装盒、购物袋、书籍封面、招贴广告等场合。覆膜工艺是将涂有黏合剂的塑料薄膜覆盖在印刷品表面,经加热、加压处理,使印刷品与塑料薄膜紧密结合在一起,成为纸塑合一产品的印后加工技术。
覆膜工艺按所采用的原料及设备的不同,可分为预湿式覆膜工艺、干式覆膜工艺和预涂覆膜工艺。湿式覆膜工艺是把黏合剂涂布在塑料薄膜表面上通过压辊与基材(印刷品)粘合在一起,然后直接卷取的覆膜工艺;干式覆膜工艺是把黏合剂涂布在塑料薄膜上,经烘干使黏合剂初步干燥,然后与基材粘合在一起的覆膜工艺;预涂膜覆膜是把黏合剂涂布在塑料薄膜表面,烘干后备用,需要时将预涂膜与基材粘合在一起的覆膜工艺。干式覆膜工艺和湿式覆膜工艺又可称为即涂覆膜工艺,本节对即涂覆膜和预涂覆膜两类工艺的工作原理和主要构成进行简要介绍。
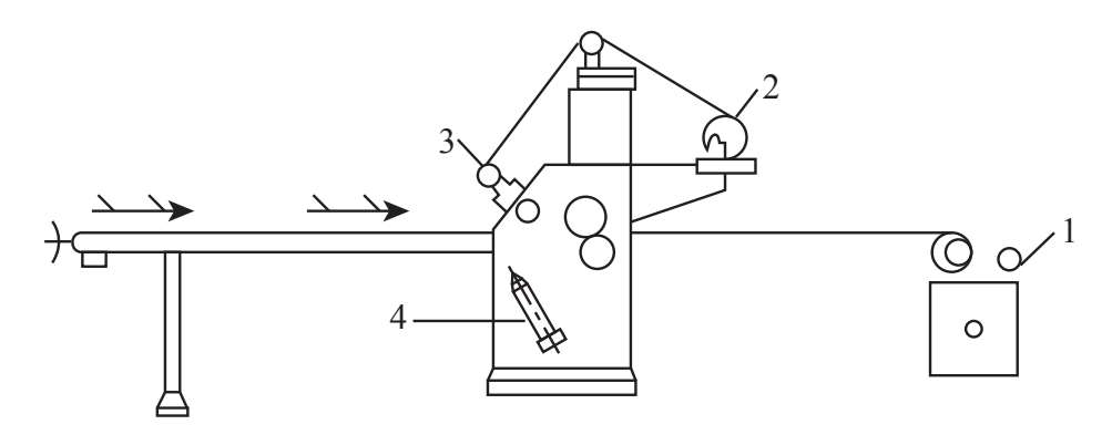
(1)即涂覆膜机工作原理
即涂覆膜机主要由放卷、上胶涂布、干燥、复合、收卷五个部分,以及机械传动、张力自动控制、放卷自动调偏等附属装置组成,如图4-1所示。图中塑料薄膜安装在放卷架上,张力自动控制保持薄膜平稳输出,上胶涂布装置将黏合剂均匀地涂布在薄膜的一个面上,经涂胶后的薄膜通过烘道烘干,然后与待覆膜的印刷品一起压合,在一定的温度和压力下,印刷品与涂胶的薄膜压合成纸塑复合制品。
图4-1 即涂覆膜机结构简图
1-放卷部分;2-涂布部分;3-印品输入台;4-复合部分;5-辅助层压部分;6-复卷部分;7-干燥通道
(2)主要结构
a.放卷部分
塑料薄膜的放卷作业要求薄膜始终保持恒定的张力。张力太大,易产生纵向皱褶,反之易产生横向皱褶,均不利于黏合剂的涂布及同印刷品的复合。为保持合适的张力,放卷部分一般设有张力控制装置。
b.上胶涂布部分
薄膜放卷后经过导辊进入上胶部分。上胶部分涂布形式有:辊筒逆向涂布、网纹辊涂布、刮刀直接涂布、腔式涂布等。辊筒逆向涂布是以前采用的比较普遍的一种涂布方式;网纹辊涂布涂层较均匀,适合速度和质量要求比较高的涂布方式;刮刀涂布是一种结构比较简单且应用比较广泛的涂布;腔室涂布是一种新型涂布方式,这种涂布方式节约资源,涂布均匀、质量较好。
c.干燥部分
涂敷在塑料薄膜表面的黏合剂涂层中含有大量溶剂,有一定的流动性,复合前必须通过干燥处理。干燥部分多采用隧道式,依机型不同干燥道长度在1.5~5.5m。根据溶剂挥发机理,将干燥通道设计成三个区。
·蒸发区:应尽可能在薄膜表面形成紊流风,有利于溶剂挥发。
·熟化区:该区根据薄膜、黏合剂性质设定自动温度控制,一般控制在50~80℃,加热方式有红外线加热、电热管加热等,自动平衡温度控制由安装在熟化区的热敏感元件实现。
·溶剂排除区:为及时排除黏合剂干燥时挥发出的溶剂,降低干燥通道中的蒸汽压,该区设计有排风抽气装置,一般为风扇或引风机等。
d.复合部分
复合部分主要由镀铬热压辊、橡胶压力辊及压力调整机构等组成。
·热压辊
热压辊为空心辊,内装电热装置,辊筒温度通过传感器和操纵台的仪器仪表来控制。热压辊的表面状态和热功率密度对覆膜产品质量有很大影响。一般覆膜工艺要求热压温度为60~80℃,面积热流量为2.5~4.5W/cm 2 。
·橡胶压力辊
橡胶压力辊的作用是将被覆产品以一定压力压向热压辊,使其固化粘牢。复合时的接触压力对黏合强度及外观质量有密切关系,一般为15.0~25.0MPa。
·压力调整机构
压力调整机构用于调节热压辊和橡胶压力辊间的压力。压力调整机构可采用简单偏心机构、偏心凸轮机构、液(气)压式压力调整机构等。
e.印刷品输入部分
印刷品的输送有手工和全自动输入两种方式。全自动输入方式又分为气动式与摩擦式两种类型。气动式是在印刷品前端或尾部装上一排吸嘴,依靠吸嘴的“吸”“放”和“移动”来分离、递送印刷品。摩擦式主要靠摩擦头往复移动或转动与印刷品产生摩擦,将印刷品由纸堆上分离出来,并向前输送。
f.收卷部分
覆膜机多采用自动收卷机构,收卷轴可自动将复合后的产品收成卷状。为保证收卷松紧一致,收卷轴与复合线速度必须同步,收卷时张力要保持恒定。随着收卷直径的增大,其线速度必须与复合的线速度同步。
(1)工作原理
预涂覆膜机由预涂塑料薄膜放卷、印刷品自动输入、热压区复合、自动收卷四个主要部分,以及机械传动、预涂塑料薄膜展平、纵横向分切、计算机控制系统等辅助装置组成。图4-2为预涂膜覆膜机工作原理图。
图4-2 预涂膜覆膜机工作原理图
1-收卷;2-预涂膜;3-压合;4-液压手柄
预涂黏合剂的塑料薄膜材料成卷筒状放在放卷轴上,开机前将预涂薄膜通过调节辊和导向辊引导进入复合机构,同时印刷品由输入装置进入复合机构,复合机构的热压辊和橡胶压辊对印刷品和薄膜进行压合,压合后的印刷品由收卷轴进行收卷。
(2)主要构成
a.放卷部分
放卷部分主要由塑料薄膜支撑架和薄膜张力控制系统组成。预涂膜放置在放卷机构的支撑架上,预涂膜在工作过程中必须保持恒定的张力,张力过大过小都会影响覆膜质量。
b.印刷品输入部分
印刷品输入部分主要功能是将印刷品不发生重叠并等距地进行分离和输送,一般采用气动或摩擦方式,主要构成与即涂覆膜的输入装置相同。
c.复合部分
复合部分由加热压力辊、硅胶压力辊组成;热压力辊是空心辊,内部装有加热装置,表面镀有硬铬,并经抛光、精磨处理;硅胶压力辊为实心辊,中间部分为金属辊,金属辊外表面包裹一层硅胶,其主要功能是与热压辊合压,产生压力,使黏合剂充分渗入纸张和薄膜。
d.传动系统
传动系统是由计算机控制的大功率步进电机驱动,经过一级齿轮减速后,通过链条传动,带动进纸机构的运动和复合部分橡胶压力辊的转动。
e.计算机控制系统
计算机控制系统采用微处理机,硬件配置由主机板、数码按键板、光隔离板、电源板、步进电机功率驱动板等组成。
在进入印后加工虚拟仿真实训系统界面后,按住感应触控笔上的圆形主键,左右移动可选择相应的系统模块,也可以选择按住控制笔上的左右键,选择实训系统中的覆膜机模块。在选择覆膜机模块时,需要将控制线光标移动至模块的右下角的三角形状控件;如果三角形状控件发亮,说明该模块已被选中,然后点击触控笔主键,屏幕中显示“启动中,请稍后”字样,即表示正在进入覆膜机实训模块。进入后的覆膜机实训模块界面如图4-3所示。
图4-3 启动覆膜机实训模块
移动感应触控笔,主键单击左侧选择区的【结构拆装】按钮,操作模块区显示覆膜设备的结构组成。屏幕左侧有两个选项框,分别是【即涂覆膜机】和【预涂覆膜机】。移动感应触控笔,左键选择其中一种覆膜方式,操作模块区显示对应的覆膜装置。将移动触控笔对应光标放置到覆膜装置中的某一个零部件时,零部件上方显示该零件的名称,主键单击工具栏下的隐藏工具按钮,可以选择性隐藏零部件,操作者可根据学习要求,选择是否需要隐藏零部件,隐藏后的零部件如图4-4所示。
图4-4 隐藏外壳后的覆膜机
移动感应触控笔,将光标放置在零部件上方,左键单击零部件,可以对零部件进行拆卸,拆卸后的零部件可以移到机器周边,便于观察零部件的结构和外形,同时也便于观察机器内部机构,并对机器内部结构进行拆卸,如图4-5所示。拆卸完后,左键点击模块下面的功能按钮区内的安装按钮,拆卸完后的零部件按拆卸先后顺序完成零件的回位或安装。
图4-5 覆膜设备拆卸三维图
移动感应触控笔,单击模块左侧选择区的【工作原理】按钮进入覆膜机的工作原理界面,界面以动画的形式显示覆膜设备的整个工作流程。覆膜设备机器盖会默认隐藏,此时可以清晰地看到烫印设备内部每个零部件的运作过程,移动感应控制笔,左键单击屏幕左侧的即涂覆膜选项框,可得即涂覆膜的工作原理如图4-6所示。
图4-6 即涂覆膜设备工作原理图
移动感应触控笔,左键单击屏幕左侧的【预涂覆膜机】选项框,可得预涂覆膜机的工作原理,如图4-7所示。
覆膜设备开始工作后,给纸装置上的分纸吸嘴吸住纸堆上的第一张纸,并进行分离,分离后的纸张被递送给接纸轮,接纸轮接过纸张,纸张通过输纸板台,并在输纸板台上的侧规处进行定位。定位后的纸张输送到合压装置处,同时,薄膜放料轴进行放料,涂布装置对薄膜进行涂布,涂布后的薄膜在合压装置处与纸张进行压合,最后进行复卷。整个覆膜设备工作过程动画如图4-6和4-7所示,学生观看工作原理动画后,可配合工具按钮,进行内部观察和覆膜工艺的细致探究。
图4-7 预涂覆膜机的工作原理图