



折页设备根据纸张类型可以分为单张纸折页设备和卷筒纸折页设备,卷筒纸折页设备根据结构原理可分为冲击式折页装置和滚折式折页装置,单张纸折页设备根据结构原理可分为刀式折页装置、栅栏式折页装置、栅刀混合式折页装置。本章节以刀式折页装置和栅栏式折页装置为例进行简要介绍。
(1)工作原理
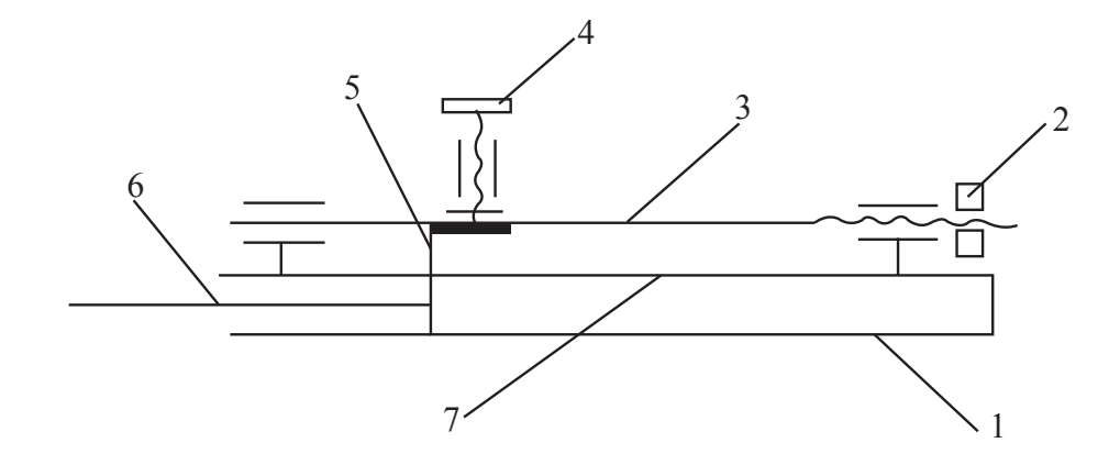
刀式折页装置主要由折刀、折页辊、盖板、挡规四部件组成,如图2-1所示。刀式折页机结构较复杂,所占空间大,惯性大,折页速度较低,但在进行较厚印张多折折页时,精度高。
印张由输送机构送至折页辊上面的盖板上,经挡规定位后,折刀下落,将印张压入两根折页辊之间,折刀下落到距离折页辊中心线大约4mm时,开始向上返回。印张在折页辊带动下,继续向下完成后续的折页。
两折页辊中,一根是固定折页辊,只作旋转运动,另一根是浮动折页辊,除做旋转运动外,还随印张的厚度变化相应浮动,以保证折页精度。如果是多折折页,在折页机上需安装多个折页装置。如上述原理,第一折页完成后,切断刀在印张中间进行切断,打孔刀在二折线上进行打孔,被切断和打孔的一折书帖由传送带传送到二折工位,重复一折过程,如此反复完成三折和四折的工艺。
图2-1 刀式折页装置工作原理
(2)主要结构
a.折刀
折刀运动形式很多,一般有往复摆动式、往复移动式两种。往复摆动式主要是利用凸轮摆杆机构使折刀往复摆动,凸轮转动推动滚子,使摆杆往复摆动,折刀安装在摆杆上,也随摆杆往复摆动,完成折页工作。
往复摆动式折刀结构简单,占空间小,但往复摆动惯性大,精度低,主要用在四折页组成的刀式折页机的第三、四折页组。往复移动式折刀结构复杂,占空间大,往复移动惯性较小,控制精度高,多用于大幅面的第一、二折页组。小型刀式折页机一般采用往复摆动式折刀。
b.折页辊
刀式折页机每个折页组都有两个折页辊,一个是固定折页辊,另一个是浮动折页辊,以适应书页厚度的变化。固定折页辊做旋转运动,浮动折页辊既做旋转运动又做平移运动。
栅栏式折页机结构简单,占地少,速度高,但在进行较厚印张的多折折页时,折页精度较低。
(1)工作原理
栅栏式折页机的折页机构由折页辊、折页栅栏和挡规组成,折页机构每组有3个折页辊,当输纸机构将印张送到折页机构后,折页辊将印张高速送入栅栏内,在挡规和折页辊的配合下完成折页,如图2-2所示。
图2-2(a)为两个相对旋转的折页辊将印张高速送入栅栏中,纸头撞到挡规上;
图2-2(b)为印张在折页辊A、B作用下继续前进,被迫折弯;
图2-2(c)为印张在折弯处进入相对旋转的折页辊B、C之间向下运动,完成折页。重复上述过程可完成两折或多折,如图2-3所示。
图2-2 栅栏式折页机工作原理
1-收帖导板;2、5、7-折页辊;3-挡规;4-栅栏;6-印张;8-书帖
图2-3 二折折页原理
1、6-固定折页辊;2、4-浮动折页辊;3-上栅栏;5-印张;7-挡规;8-下栅栏
(2)主要结构
a.折页栅栏
折页栅栏又称篱笆,由上栅栏和下栅栏组成。两片栅栏之间安装有挡规,用来控制纸页宽度,挡规可进行高度和水平调整,还可使栅栏封闭不用,如图2-4所示。折页栅栏倾斜安装,一般安装角度为30°。栅栏可以升降,一般角度保持不变。这样既可减少折页机高度,又使印张顺利进入栅栏。栅栏的宽度大于印张最宽尺寸,印张进入栅栏后与栅栏两侧保持一定空隙,使之自由移动。
图2-4 折页栅栏和挡规示意图
1-下栅栏板;2-微调螺母;3-滑杆;4-螺钉;5-挡规;6-印张;7-上栅栏板
b.折页辊
栅栏式折页机每组折页辊共有3根,如图2-5所示,辊2、1、7为一组,辊2、7、6为一组。由于被折印张或书页厚度变化,辊间间隙可调,因此每对折页辊中有一个轴套是可以移动的浮动辊,浮动辊可周向转动也可调节间隙;另一根折页辊为固定辊,只能作周向转动。浮动辊轴套安装在可移动的滑座中,滑座装有弹簧,由于弹簧的作用,使浮动辊与固定辊间始终保持一个极小的间隙,在工作时产生对被折书帖的挤压力,从而带动印张随折页辊运动,完成折页。
图2-5 栅栏式折页机折页辊示意图
1、7-固定折页辊;2、6-浮动折页辊;3-滑座;4-弹簧;5-栅栏
在进入印后加工虚拟仿真实训系统界面后,按住感应触控笔上的圆形主键,左右移动可选择相应的系统模块,也可以选择按住感应触控笔上的左右键,选择实训系统中的折页机模块。在选择折页机模块时,需要将控制线光标移动到模块的右下角的三角形状控件上方;如果三角形状控件发亮,说明该模块已被选中,然后点击触控笔主键,屏幕中显示“启动中,请稍后”字样,即表示正在进入折页机实训模块。进入后的折页机实训模块界面如图2-6所示。
图2-6 启动折页机实训模块
移动感应触控笔,主键单击左侧选择区的【结构拆装】按钮,操作模块区显示折页设备的结构组成。将移动感应触控笔对应光标放置到折页装置中的某一个零部件时,零部件上方显示该零件的名称,主键单击工具栏下的隐藏工具按钮,可以选择性隐藏零部件,操作者可根据学习要求,选择是否需要隐藏零部件,隐藏后的零部件如图2-7所示。
图2-7 隐藏外壳后的栅栏式折页机
移动感应触控笔,将感应触控笔光标放置在零部件上方,左键单击零部件,可以对零部件进行拆卸,拆卸后的零部件可以移到机器周边,便于观察零部件的结构和外形,同时也便于观察机器内部机构,并对机器内部结构进行拆卸,如图2-8所示。拆卸完后,左键点击模块下面的功能按钮区内的安装按钮,拆卸完后的零部件按拆卸先后顺序完成零部件回位或安装。
图2-8 折页设备拆卸三维图
移动感应触控笔,单击模块左侧选择区的【工作原理】按钮进入折页机的工作原理界面,工作原理界面右侧显示平行折页、垂直折页、混合折页三种类型的折页原理,如图2-9所示。
图2-9 折页方式选择
主键单击选择界面右侧的折页方式,界面以动画的形式显示折页设备的整个工作流程。折页设备机器盖会默认隐藏,此时可以清晰地看到折页设备内部每个零部件的运作过程,如图2-10所示。
图2-10 折页设备垂直折页工作原理图
折页设备开始工作后,给纸单元上的分纸吸嘴吸住纸堆上的第一张纸张,并进行分离,分离后的纸张被递送给接纸轮,接纸轮接过纸张,通过输纸板台,输送到栅栏上的挡板进行定位,纸张遇到栅栏里面的挡板后停止运动并产生抖动,但纸张的抖动传递到折页辊之间的空挡时,纸张弯曲变形增大,弯曲后的纸张跟导纸辊接触,在导纸辊摩擦力的作用下,使纸张完成一次折叠,折叠后的纸张落入下方的输纸平台,进入下一次折页过程。
整个折页设备工作过程以动画的形式呈现纸张从分离到输送、折页、收帖等一系列的折页过程,操作者配合工具按钮,可进行内部观察,进行折页的细致探究。