



表面活性剂分子具有两亲性,即表面活性剂分子的一部分可溶于水,另一部分溶于有机溶剂。由于具有这种双重性质,表面活性剂分子趋向于集中在液体表面(或与固体的界面),溶解端在液体中,不溶端朝向空气。由于分子聚集在表面,因此被称为表面活性物质。覆盖表面的分子的不溶部分,具有比溶剂低的表面张力,使系统表面张力降低。
将表面活性剂添加到涂布液中,可以改善其对基材的润湿性。涂布液含有胶乳或分散的固体时,表面活性剂作为分散剂,可以防止固体颗粒絮凝及胶乳颗粒凝结。
在涂布操作中,涂布液以薄层的形式铺展在移动的卷材上,形成较大的表面积。表面张力倾向于减小,可能导致许多涂布操作缺陷,如对流蜂窝、缩孔、厚边、多层涂层中边缘不均匀、反润湿、缩边、胶黏剂失效和层间剥离等。
按照熵运动规律,所有系统自动趋向于以最低能量的状态存在,为了使表面能最小化,系统倾向于使表面积最小化。由于球体在给定体积下具有最小的表面积,因此,少量的流体倾向于具有球形形状,如液滴和气泡就倾向于球形。弯曲的界面高于外侧或凸出的一侧。因此,内部压力下降且气泡比外部的压力高。弯曲界面上的压差称为毛细管压力。
表面张力在润湿中起着重要作用。按照杨氏定律,为了使液体润湿表面,其表面张力必须低于固体的表面能。观察作用在高分子薄膜基材上湿涂层边缘的表面力,如图 2-16 所示。在平衡时,向左作用的力由向右作用的力平衡,作用在右边的是表面张力的水平分量,加上固体和液体之间的界面张力。如果表面上的液体要向左扩散,则向左的力必须大于向右的力。因此,希望基材的表面能较高,液体的表面张力较低,而固体和液体之间的界面张力也较低。对于水溶液,因为水的表面张力高达为 72mN/m(或达因/厘米),添加表面活性剂可以降低表面张力。同样,对于水溶液涂层,经常通过给薄膜表面氧化增加表面能。氧化使表面凹凸不平,增加的粗糙度有助于润湿。因此,氧化的表面能比未氧化的高分子膜高,有助于改善润湿性。
图 2-16 湿涂层边缘的表面张力
s L σ L 是液体的表面张力,s S σ S 是固体的表面能,s SL σ SL 是界面张力。为了发生扩散,左侧的力S S σ SL 必须大于右侧的力σ SL +σ L cosθ。
在各种涂布基材中,氟化表面的张力最低。这就是很难在氟化聚合物特氟隆上涂布,以及氟化表面活性剂在降低表面张力方面如此有效的原因。碳氢化合物表面张力也很低,在对塑料基材涂层前必须进行处理。氧化和氯化表面具有较高的表面张力,金属表面张力最高。不同的烃以及不同的氧化和氯化溶剂,表面张力变化很大。
表面张力取决于分子的哪些部分暴露在表面。如果含氧分子位于表面,而氧气朝下进入液体,则表面张力将是分子中烃部分的表面张力。乙醇和乙醛就是这种情况。在异戊烷中,甲基—CH 3 基比在正己烷或正辛烷中更可能存在于表面,在正己烷或正辛烷中,亚甲基—CH 2 —基团较多,并且表面张力较低。没有甲基的芳族烃、苯、甲苯、二甲苯和苯乙烯,具有较高的表面张力。由于金属表面张力或能量最高,因此金属在清洁时容易润湿,但很难保持该表面金属氧化物的污染。
有机溶剂的表面张力低,在溶剂体系中很少使用或不需要表面活性剂。同样,许多表面活性剂在溶剂体系中无效。但是,某些氟化表面活性剂,会有效降低溶剂体系表面张力。
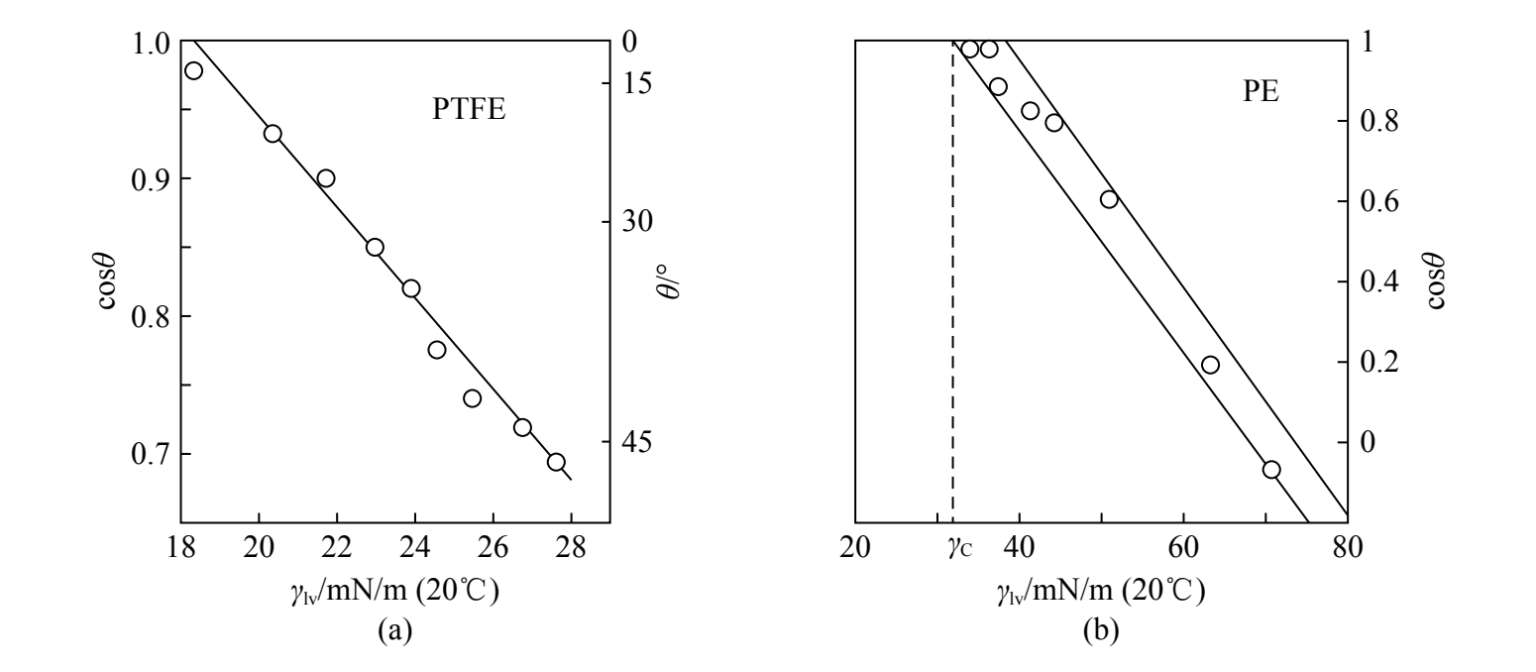
Zisman法是通过测试接触角来确定临界表面张力,进而研究固体润湿性的方法。固体表面能难以直接测定,通过杨氏方程可大致计算固体表面能的数值。以100mN/m为界,将固体分成高能表面和低能表面,金属、金属氧化物、无机盐表面能可达 200 ~ 5 000mN/m,属于高能表面,易润湿;而有机固体和高聚物表面能低,属于低能表面液体,难润湿铺展。很多涂布基材属于低能表面,如聚乙烯(PE)、聚丙烯(PP)、聚酯(PET)、聚丙烯酸酯膜、聚氯乙烯材料等。
同系物液体在低能固体表面上的接触角随液体表面张力的降低而变小,用cosθ对液体表面张力γ lv 作图,可得到一条直线,外推至cosθ = 1 所对应的表面张力值γ C ,叫作临界表面张力(图 2-17)。若是非同系物液体,则(γ lv ,cosθ)点分布在一狭窄带,将此狭窄带外延至cosθ=1 处,对应的最小表面张力值即为临界表面张力γ C 。
(a)正烷烃同系物测量聚四氟乙烯(PTFE)的Zisman图;(b)用非同系物测量聚乙烯(PE)的Zisman图
图 2-17 Zisman图与临界表面张力γ c
γ C 是固体润湿性质的经验参数,它表明,在该液体同系物中,凡表面张力高于γ C 的液体都无法自发铺展。理论上,所有γ lv 低于γ C 的液体都能够在该固体表面上铺展,然而实际对于给定的固体,γ C 不是一个常数,而是随液体种类变化而变化。因此γ C 只是固体润湿性质的经验参数,在实际应用中需要注意:γ C 越小,固体越难铺展。表 2-1 列出了常见低能高聚物固体或膜的表面张力与临界表面张力。
表 2-1 常见低能表面高聚物的表面张力和临界表面张力
从表中数据可见,高聚物表面张力存在下列规律:
①聚合物引入F元素会显著降低表面能和临界表面张力,聚四氟乙烯具有最低的表面能和γ c 。而引入Cl、O、N可提高表面能和临界表面张力。
②聚合物引入极性基团可提高表面能和临界表面张力。
③聚合物侧链引入非极性长链基团如聚甲基丙烯酸十八烷酯,长链基团可在表面富集或定向排列,显著降低表面能和临界表面张力。
聚乙烯(PE)、聚丙烯(PP)、聚酯(PET)、聚丙烯酸酯膜、聚氯乙烯PVC等材料的下述特性,容易对涂布生产和产品性能造成负面影响:
①表面能仅 30 ~ 43mN/m,表面能低,接触角大,涂布液或黏合剂不容易充分润湿基材,涂布过程铺展困难,易造成脱涂或缩孔。
②有些基材结晶度高,化学稳定性好,它们的溶胀和溶解都要比非结晶高分子困难,胶黏剂附着在基材上很难使高聚物分子链互相扩散和缠结,不能形成较强的黏附力,涂布层容易分离。
③聚烯烃属于非极性高分子材料,如聚乙烯分子不带任何极性基团。聚丙烯分子中虽然每一个结构单元都有一甲基,但甲基是非常弱的极性基团,所以聚丙烯基本上属于非极性高分子。胶黏剂吸附在被黏材料表面是由范德华力(分子间作用力)引起的,范德华力包括取向力、诱导力和色散力。非极性高分子材料表面,不具备形成取向力和诱导力的条件,而只能形成较弱的色散力,因而黏附性能较差,涂布层容易分离。
④部分基材树脂本身含有低分子量物质或是在加工过程中加入的添加剂如脱模剂、增塑剂、滑爽剂、抗静电剂等,这类小分子物质容易析出,富集在树脂表面,形成强度很低的弱界面层,黏附性更差,或更难铺展。
以喷墨印刷承印物涂布为例,基材大多属于低能表面,如RC纸基的主体结构为纤维原纸双面以淋膜工艺涂上聚乙烯层,若不对聚乙烯层作预处理,涂布过程将直接涉及聚乙烯表面的铺展和粘着;虽然合成纸的印刷层(与芯层不同)含有更高比例的无机填料和改性剂,可以改善印刷和涂布适应性,但表面能一般在38 ~ 41mN/m,只有经过预处理涂布才能提高到 50mN/m以上,如南亚的PG系列其印刷层经过涂布处理成雪铜面;聚酯薄膜的表面能一般在 42mN/m左右,涂布过程中润湿和铺展不会有太大问题,但水性喷墨涂层在此类基材上的附着力不佳,聚酯薄膜经双向拉升后,经过电晕在线底涂一改性丙烯酸酯类底层后,可提高对涂布涂层的附着力。
在喷墨介质的实际生产中,厂家提供的多数基材已经过一定程度的改性或涂布一层黏着层(又称底层或prima),来提高基材的向上润湿性和附着力。但各厂家工艺不同,所提供基材的表面能和润湿性不尽相同,即便是同种类型的基材比如聚丙烯合成纸,其涂布表面性质也随厂家不同存在很大差异。在涂布过程中,仍有必要根据基材情况,调整涂布液的组分,改进润湿铺展性和附着性。在实际涂布过程中,基材表面能也随电晕、等离子处理等方式变化而变化。因此,检测固体表面能尤为关键。工艺控制人员可采用下述手段测量基材的表面能近似值:
以八种液体作为标准液:纯水(72.8);甲酰胺(58.2);2-氰乙醇(44.4);二甲基亚砜(43.0);N-甲基-2-吡咯烷酮(39.0);2-吡咯烷酮(37.6);二甲基甲酰胺(35.2);丙酮(23.7)。括号内为标准液的表面张力值,单位mN/m。或选用甲酰胺和乙二醇单乙醚的混合溶剂,得到表 2-2 中一系列从 30 ~ 58mN/m的标准液,其中百分比为质量浓度。
表2-2 甲酰胺—乙二醇单乙醚混合溶剂的表面张力
测定时,用棉球蘸取测定液,涂于倾斜 30 度的固体表面,留下 1cm宽 6cm长的液膜。如果 5 秒钟内液膜不收缩,则判断固体表面能大于测定液;如液膜收缩很少,仍有 0.8cm宽的液膜,则判断为接近测定液的表面张力;若液膜迅速收缩并破裂,说明液体表面张力高于固体,需使用更低表面张力的测定液,直至选出一个合适的或最接近的测定液,该液体表面张力近似等于固体表面张力。
在不同的条件下,溶液表面张力可用静态表面张力和动态表面张力来描述,通常所说的表面张力一般指静态的,即溶液形成新表面的时间大于 1 秒钟时,涂布液所具有的表面张力是静态表面张力,当溶液形成新表面的时间在毫秒级时,才用动态表面张力来描述。
(1)动态表面张力
当创建新的表面时(在所有涂布操作中创建新表面),该表面不处于平衡状态。任何表面活性剂都需要时间扩散到表面,从而降低表面张力。在达到平衡的这段时间内,随着表面活性剂扩散到表面,表面张力会随着时间降低。表面张力从最初形成表面时的无表面活性剂液体的表面张力,下降至老化表面的平衡值。这种变化的表面张力称为动态表面张力。部分表面活性剂扩散速度很快,表面张力在10 毫秒内达到平衡值。有些扩散缓慢,可能需要数小时才能达到平衡。
(2)动态表面张力龄
人们通常使用平衡值,但很少知道表面张力是时间的函数。对涂珠上的涂布液的表面张力变化,特别是涂布基材,以及挤出和落帘涂布过程而言,从液体表面在狭缝出口处首次形成的那一刻起,涂布液的表面具有一定的寿命。关注动态表面张力龄,十分重要。
许多涂布缺陷来自界面间作用力,即表面张力。在很少使用表面活性剂的溶剂型涂布液中,常见火山口和对流蜂窝或贝纳德蜂窝类弊病。在水性涂布液中,表面活性剂用量要高于临界胶束浓度,保持表面活性剂饱和状态,使液体表面张力恒定,减少涂布缺陷。
对流蜂窝(图 2-18)表现为类似蜂窝结构的完美边形,也可能表现为小的圆形斑点。
首先,通过从下面加热一薄层液体观察,蜂窝是由密度梯度引起的,密度梯度是由底部较热,密度较小的液体通过较冷的上覆液体上升而成,如图 2-18b所示。如图 2-18a所示的对流蜂窝,则是由表面张力梯度驱动形成。表面张力梯度可以由温度梯度或浓度梯度产生。当湿涂层厚度小于 1mm时(几乎所有涂层如此),对流蜂窝大概率来自表面张力梯度。
可通过控制具有较薄的层与较高的黏度和较高的表面黏度,来减少图 2-18 中导致蜂窝的涂布液流动。表面张力梯度的来源,有时是由于混合溶剂中,几种成分的表面张力不同,蒸发导致浓度波动,进而导致表面张力波动。蒸发冷却导致表面温度波动,进而导致表面张力波动。较慢的干燥速度,通常有助于降低对流蜂窝程度。为了提高生产效率,希望更快地涂布和干燥。添加挥发性较低的溶剂会改变溶剂组成,添加表面活性剂,会对提速有所帮助。含氟表面活性剂在溶剂体系中效果明显。
(a)表面张力驱动蜂窝缺陷;(b)密度驱动的蜂窝缺陷
图 2-18 对流蜂窝
火山口特指由于涂层中存在低表面张力点,液体从该点流动到较高表面张力的位置引起的涂布缺陷(图 2-19)。低表面张力点,可能是由空气中的灰尘颗粒、油斑、凝胶颗粒或使用浓度高于其溶解度的有机硅消泡剂引起,液体将以很高的速度从低表面张力点流出到达高表面张力处。已测得速度高达 65 厘米/秒。
由于表面液体的加速以及下层液体的惯性或阻力,火山口的边缘会升高,同时中心变薄,只有单层可以保留在基材上,通常会在中心位置保留一个高“点”,其中可能包含污物颗粒。
与对流蜂窝一样,可以通过更薄涂层和更高黏度,减少火山口弊病。使用表面活性剂是有益的,应特别注意在洁净室条件下避免空气灰尘。不同的表面活性剂,对灰尘颗粒或分散的固体有选择性润湿作用,更换表面活性剂或许有帮助。
仅从结果很难区分已经上升到表面并破裂的火山口和气泡缺陷,应在显微镜下检查确认。
图 2-19 火山口形成
厚边也称为相框(图 2-20)。一般认为,在均匀干燥条件下,整个涂层会匀速蒸发。由于涂层边缘较薄,干燥过程中,边缘处的固体浓度将比分散状态的固体浓度更快提升。溶解的固体表面张力通常高于溶剂的表面张力,当无表面活性剂时,较高的固体浓度下的表面张力会更高。边缘处较高的表面张力,将导致涂布液流向边缘使其变厚。
其他原因也会导致涂布中出现厚边,详见本书其他章节。
图2-20 厚边与相框
图2-21 展示了多层坡流涂层中两个相邻层间的边界。边导轨可控制各层扩散超出设定宽度。两个水层之间,通常不存在界面张力。在平衡状态下,两涂层与不锈钢表面相遇的平衡接触线上,两层与金属表面之间的两个界面张力必须相等。否则,界面将沿较高的界面张力方向移动。如果因涂层中多层而使坡流面变长,则界面的这种移动可能会很大。这意味着将有一个宽阔的边缘,其覆盖范围宽于涂层的大部分区域。如果各层与坡流的界面张力σ 1s 和σ 2s 不相等,则各层之间没有界面张力,则接触线将移动,从而导致边缘变宽。
图 2-21 多层系统边缘的表面力
尽管不容易测量液体和固体之间的界面张力,但在所有层中使用相同的表面活性剂,使所有表面张力均相等,则液层与涂布模头金属间的界面张力,也近似相等。因此,如果在多层涂布中存在大边缘效应,则可考虑采取将各层调整为相同表面张力,而顶层的表面张力稍低的方式缓解。
涂布液的低表面张力和基材的高表面能,是良好润湿铺展的基础。否则,涂层可能会润湿不良而反润湿,即涂布液从涂布区域缩回(图 2-22)。当这种情况在大范围内发生时,称为爬网。当基材因受到污染(如由于油滴)而具有较低的表面能时,可能发生反润湿。
(a)表面力趋于规避凹陷,而组合作用力趋于放大凹陷;(b)组合作用力会在涂层中形成孔;(c)表面力会导致系统反向润湿
图2-22 反润湿与回缩
当涂层较厚时,不会发生反润湿。由于重力的反作用,水平表面上的厚层(如聚乙烯烧杯中的水)不会润湿。如果在液层中形成了凹陷,因为弯曲界面的凹形侧面上的压力,始终高于凸形侧面上的压力,则凹形边缘下方的压力将高于大气压。同样,凸中心下方的压力将低于大气压。因此,由于表面力以及重力协同作用,液体将从较高位置的高压区流向低压凹陷区,表面因此自愈。
薄层中的其他短程力也起作用,它们被称为分离压力。分离压力趋于使两个表面保持分开,防止反润湿。共同的压力倾向于将两个表面放在一起,有助于反润湿,因为一旦液体的上表面接触到固体,就会出现干燥点(图 2-22b),然后如图 2-22c所示的表面力就会起作用。如果薄膜从表面凸出,如涂层存在的气泡或空气中的污垢降低了表面上某点表面张力(火山口或蜂窝),以致薄膜变薄至1mm以下的厚度时,共轭压力才起作用。
刚涂布时,不会马上发生反润湿和回缩现象,而是在此后不久发生。出乎意料的是,可以在不使用表面活性剂的情况下,将水性液体涂布在特氟龙上,但涂布后几乎立即反润湿。严格意义上来说,需要涂布后立即防止反润湿和爬行,还需要提高涂层与底材的黏结力。
一种液体在另一种液体上也会发生反润湿。如果顶层的表面张力不低于所有其他层的表面张力,则在多层坡流和落帘涂布液中,会在坡流面上发生反润湿。前面结合图 2-23 对此进行了讨论。当上层的动态表面张力是下层的动态表面张力的 1.2 或 1.3 倍时,就会发生这种情况。
图 2-23 上层在下层上的铺展
涂层间的黏附力差,会导致涂层从下面的层脱离。黏合失败最好用弱边界层来解释(涂布复合材料之胶黏剂章节有介绍)。表面层通常与块材有显著差异。通过表面活性剂润湿表面,是获得良好涂层的必要但非充分条件。常用的表面处理(如电晕处理或火焰处理)会交联或去除表面上的弱边界层,并使表面氧化,改善黏附效果。对未处理的塑料薄膜涂布,看起来涂层不错,但涂层黏附牢度很差,继续涂布时,前涂层可能会从基材上脱落。
如果相邻层的化学相容性不好,则可能发生层间分离。当相邻层中的胶黏剂至少部分不相容时,会使黏附性变差,加入适当的表面活性剂,可以改善相容性。
如果基材表面能不均匀,则涂布液和基材之间的润湿作用波动。涂布液与基材的接触线来回振荡,从而引起涂层波动。这些波动将是随机的,可是足以破坏涂层性能。通常,基材表面能量不均匀源于表面污染,如轴承油蒸气的污染、涂布区域被磨掉的塑料颗粒污染等。
在多层涂布中,顶层必须具有最低的表面张力。多层涂布通常用水性涂布液。由于水层通常可以各种比例混合在一起,层间无界面张力。为了使一层扩展到另一层上,要求上层具有较低的表面张力。当顶层已覆盖其他层上时,其他任何层都不会与空气接触。此时,仅界面张力起作用,而表面张力不起作用。但落帘涂布中必须考虑幕帘的稳定性。当所有层都具有大约相同的表面张力时,落帘似乎是最稳定的。当然,顶层的表面张力应略低于他层。
为使上层在下层铺展,无层间界面张力时,下层的表面张力s L 必须大于上层的表面张力s U 。
以某型号彩纸为例,从实测乳剂所得的静态表面张力和动态表面张力数据,以及涂布实验样片出发,分析表面活性剂在坡流涂布中的作用机理,并就层间表面张力匹配所造成的涂布质量问题,提出和寻求解决的办法。
如前所述,溶液动态表面张力,只有就表面活性剂而言才有意义,动态表面张力的大小,取决于在溶液形成新表面瞬间所吸附表面活性剂的量,在乳剂里,吸附速率是由扩散控制的,吸附作用Г与时间τ的关系遵守Word和Tordai方程。
式(2-1)中,Co是主体浓度,Cs是亚表面浓度,D是扩散系数m 2 /s,t是表面龄,π是圆周率,τ是辅助变量。方程(2-1)右端第一项,代表表面活性剂从内部扩散到亚表面。在建立表面的瞬间,亚表面浓度和吸附密度近似等于 0。当吸附显著时,扩散从亚表面向溶液内部进行反扩散,由(2-1)式第二项表示。当表面吸附达到饱和就建立了动态的吸附平衡,动态表面张力就接近静态表面张力。
涂布液表面张力的匹配原则:由于多层涂布的是水溶液或以水为介质的悬浮体,彼此可以混溶,不存在界面,故铺展系数S值,取决于涂层A、B(设B为底层)的表面张力γ a 和γ b 的相对大小:
这表明,表面压π是铺展的动力。
由上可得:凡γ a < γ b 者,皆可铺展;凡γ a > γ b 者,皆不可辅展。Gutoff指出,反润湿是因为不正确的表面张力引起的涂布液从基材上或下层回缩的过程,当反润湿发生在胶片较大的面积时,就形成表面涂布不均匀爬网;坡流涂布不润湿和爬网并不是在涂布液接触支持体的那一刻产生,而是在涂布之后定型前不久发生。通过计算发现:该彩纸涂布间隙为 350μm,涂布车速为 80m/min,涂布液在液桥的表面龄为 0.52ms左右,可见涂布液在液桥的表面张力,接近涂布液介质的表面张力;当上层的动态表面张力是下层的 1.2 ~ 1.3 倍时,会产生不润湿现象。“Liquid Film Coating”一书中描述:由于表面张力的影响,可以使多层涂布出现弊病,最外面的涂层在坡流面上应不缩边,而是均匀地铺展在下面涂层上,为此,由底层至顶层多个涂层的表面张力应递减 1 或几个mN/m是关键;坡流面上涂布液膜的表面龄为 0.2 ~ 1s,如图 2-24 所示。
图 2-24 坡流面上各区域液膜的表面龄
为了便于分析,取某型号彩纸涂布液上 4 层,在Agfa片环涂布机进行白灯实验,涂布条件为:涂布间隙为 80μm,涂布车速为 30m/min,涂布量和某型号彩纸涂布条件相同,则液膜在液桥的表面龄为 0.32ms左右。涂布时发现Q+QG层在坡流面上缩边现象明显。从涂布生片看,大面上无明显缺陷,只有因QG收缩引起的片边条道,但白灯显影发现,样片表面有麻点弊病。这些表面麻点弊病来自哪里?从涂布过程分析,涂布液从涂布缝隙流出并沿着坡流面往下流,由于金属的表面自由能很高(500 ~ 5 000mN/m),涂布液的表面张力为 28 ~ 35mN/m,所以液膜在坡流面上应该是润湿的。表 2-3 列出了某机实际匹配情况,并用斯托克斯方程计算坡流面上各层液膜的单层厚度及各层液膜所受总压力。
表2-3 某彩纸涂布参数
从表 2-3 看出,从底层到上层的各层表面张力(静态或动态)的大小,是犬牙交错的,依照上述理论,说明某些层没有自发铺展能力,但由于液膜在坡流面上流动时相对较厚,因此,液膜在坡流面上的液—液润湿不单是表面压π起作用,重力对铺展也起一定的作用,由图 2-24 可知,表面张力接近静态表面张力;当液膜在接近液桥时,液膜由厚开始变薄(约变化 18 倍)而产生了新界面,由于表面活性剂受扩散控制,液膜表面张力由小到大变化;液膜处于液桥时,表面龄接近0.52ms左右,这时表面活性剂无疑没有起到作用,表面张力也达到最大;最后液膜涂敷到片基上,液膜此时变得很薄,并且相对于片基是静止的,表面活性剂有了扩散时间。此时,由于涂层很薄,重力作用甚微,表面压π是液膜液—液润湿主动力。在多层液膜凝固定型前,不合理的表面张力梯度,可能会造成不良后果,再加上各层液膜冻点差异较大,使得有的层已经凝固,而有的层尚为液态,因此层间表面张力的大小差别更大,更容易出现涂布弊病。
总之,多层涂布液—液铺展中,从底层到顶层保持相近或稍稍提高润湿能力(降低σ),以便在坡流面上立即形成多层态势,是杜绝厚边的有效措施。
确保可靠的润湿所要求的表面张力梯度没有定值,但几个mN/m的差别已足够。另外,相同数量的错误梯度,会促使润湿不良。涂层的厚度即重力是帮助铺展的一种力。
多层涂布中,最底层的表面张力稍高,对各层的匹配是有利的,中间多层的表面张力应以调节范围较大为佳。在不影响照相性能前提下,使用的表面活性剂在乳剂中扩散速度越快越好。液膜各层较大差别的冻点,是涂布弊病的一大诱因。