



我们生活在一个多彩的世界里。白天,在阳光的照耀下,各种色彩争奇斗艳,并随着照射光的改变而变化无穷。但是,每当黄昏,大地上的景物,无论多么鲜艳,都将被夜幕缓缓吞没。在漆黑的夜晚,我们不但看不见物体的颜色,甚至连物体的外形也分辨不清。同样,在暗室里,我们什么色彩也感觉不到。这些事实告诉我们:没有光就没有色,光是人们感知色彩的必要条件,色来源于光。所以说:光是色的源泉,色是光的表现。
为了了解色彩产生的原因,首先必须对光做进一步的了解。
人们对光的本质的认识,最早可以追溯到17世纪。从牛顿的微粒说到惠更斯的弹性波动说,从麦克斯韦的电磁理论到爱因斯坦的光量子学说,以至现代的波粒二象性理论。
从光的传播方式和其具有的反射、干涉、衍射和偏振等性质来看,其有波的特征。但许多现象又表明它是由能量的光量子组成的,如放射、吸收等。在这两点的基础上,发展出了现代的波粒二象性理论。
光的物理性质由它的波长和能量来决定。波长决定了光的颜色,能量决定了光的强度。光映射到我们的眼睛时,波长不同决定了光的色相不同。波长相同能量不同,则决定了色彩明暗的不同。
在电磁波辐射范围内,只有波长380nm到780nm(1nm=10 -6 mm)的辐射能引起人们的视感觉,这段光波叫作可见光,如图2-1所示。在这段可见光谱内,不同波长的辐射引起人们的不同色彩感觉。英国科学家牛顿在1666年发现,把太阳光经过三棱镜折射,然后投射到白色屏幕上,会显出一条像彩虹一样美丽的色光带谱,从红开始,依次接临的是橙、黄、绿、青、蓝、紫,如图2-2所示。这是因为日光中包含有不同波长的辐射能,在它们分别刺激我们的眼睛时,会产生不同的色光,而它们混合在一起并同时刺激我们的眼睛时,则是白光,我们感觉不出它们各自的颜色。但是,当白光经过三棱镜时,由于不同波长的折射系数不同,折射后投射在屏幕上的位置也不同,所以一束白光通过三棱镜便分解为上述七种不同的颜色,这种现象称为色散。从图2-2中可以看到红色的折射率最小,紫色最大,这条依次排列的彩色光带称为光谱。这种被分解过的色光,即使再一次通过三棱镜也不会再分解为其他的色光。我们把光谱中不能再分解的色光叫作单色光。由单色光混合而成的光叫作复色光。自然界的太阳光,以及白炽灯和日光灯发出的光都是复色光。色散所产生的各种色光的波长如表2-1所示。
图2-1 电磁波及可见光波长范围
图2-2 色散现象
表2-1 各种色光波长
一般的光源是不同波长的色光混合而成的复色光,如果将它的光谱中每种色光的强度用传感器测量出来,就可以获得不同波长色光的辐射能的数值。图2-3就是一种用来测量各波长色光的辐射能仪器的简要原理图,这种仪器称为分光辐射度计。
图2-3 分光辐射度计原理
如图2-3所示,光源经过左边的隙缝和透镜变成平行光束,投向棱镜的入射平面,当入射光通过棱镜时,由于折射,使不同波长的色光,以不同的角度弯折从棱镜射出。任何一种分解后的光谱色光在离开棱镜时,仍保持为一束平行光,再由右边的透镜聚光,通过隙缝射在光电接收器上转换为电能。如果右边的隙缝是可以移动的,那么就可以把光谱中任意一种谱色挑选出来,所以,在光电接收器上记录的是光谱中各种不同波长色光的辐射能。若以 φ e 表示光的辐射能,λ表示光谱色的波长,则定义:在以波长λ为中心的微小波长范围内的辐射能与该波长的宽度之比称为光谱密度。写成数学形式:
φ e (λ)=d φ e /dλ(W/nm) (2-1)
光谱密度表示了单位波长区间内辐射能的大小。通常光源中不同波长色光的辐射能是随波长的变化而变化的。因此,光谱密度是波长的函数。光谱密度与波长之间的函数关系称为光谱分布。
在实用上更多的是以光谱密度的相对值与波长之间的函数关系来描述光谱分布,称为相对光谱能量(功率)分布,记为 S (λ)。相对光谱能量分布可用任意值来表示,但通常是取波长λ=555nm处的辐射能量为100,作为参考点,与之进行比较而得出的。若以光谱波长λ为横坐标,相对光谱能量分布 S (λ)为纵坐标,就可以绘制出光源相对光谱能量分布曲线。
知道了光源的相对光谱能量分布,就知道了光源的颜色特性。反过来说,光源的颜色特性,取决于在发出的光线中,不同波长上的相对能量比例,而与光谱密度的绝对值无关。绝对值的大小只反映光的强弱,不会引起光源颜色的变化。从图2-4中可以看到:正午的日光有较高的辐射能,它除了在蓝紫色波段能量较低之外,在其余波段能量分布均较均匀,基本上是无色或白色的。荧光灯光源在405nm、430nm、540nm和580nm出现四个线状带谱,在绿色波段(550~560nm)有较高的辐射能,而在红色波段(650~700nm)辐射能减弱。对比之下,白炽灯光源在短波蓝色波段,辐射能比荧光光源低;而在长波红色区间,有相对高的能量。因此,白炽灯光源总带有黄红色。红宝石激光器发出的光,其能量完全集中在一个很窄的波段内,大约为694nm,看起来是典型的深红色。在颜色测量计算中,为了使其测量结果标准化,就要采用CIE标准光源(如A、B、C、D 65 等)。CIE标准光源将在本章介绍。
图2-4 一些光源相对光谱能量分布
根据对图2-4各曲线的分析表明,没有一种实际光源的能量分布是完全均匀一致的,也没有一种完全的白光。然而,尽管这些光源(自然光或人造光)在光谱分布上有很大的不同,在视觉上也有差别,但由于人眼有很大的适应性,因此,习惯上这些光都被称为“白光”。但是在色彩的定量研究中,1931年国际照明委员会(CIE)建议,以等能量光谱作为白光的定义,等能白光的意义是:以辐射能为纵坐标,光谱波长为横坐标,则它的光谱能量分布曲线是一条平行横轴的直线,即 S (λ)= C (常数)。等能白光分解后得到的光谱称为等能光谱,每一波长为λ的等能光谱色光的能量均相等。
能自行发光的物体叫作光源。光源的种类繁多,形状千差万别,但大体上可分为自然光源和人造光源。自然光源受自然气候条件的限制,光色瞬息万变,不易稳定,如最大的自然光源太阳。人造光源有各种电光源和热辐射光源,如电灯光源等。
不同的光源,由于发光物质不同,其光谱能量分布也不相同。一定的光谱能量分布表现为一定的光色,对光源的光色变化,我们用色温来描述。
根据能量守恒定律:物体吸收的能量越多,加热时它辐射的本领越大。黑色物体对光能具有较大的吸收能力。如果一个物体能够在任何温度下全部吸收任何波长的辐射,那么这个物体称为绝对黑体。绝对黑体的吸收本领是一切物体中最大的,加热时它的辐射本领也最大。天然的、理想的绝对黑体是不存在的。人造黑体是用耐火金属制成的具有小孔的空心容器。如图2-5所示,进入小孔的光,将在空腔内发生多次反射,每次反射都被容器的内表面吸收一部分能量,直到全部能量被吸收为止,这种小孔容器就是绝对黑体。
图2-5 绝对黑体
黑体辐射的能力只与温度有关。严格地说,一个黑体若被加热,其表面按单位面积辐射光谱能量的大小及其分布完全取决于它的温度。因此,我们把任一光源发出的光的颜色与黑体加热到一定温度下发出的光的颜色相比较,来描述光源的光色。所以色温可以定义为:“当某一种光源的色度与某一温度下的绝对黑体的色度相同时,绝对黑体的温度就是该光源的色温。”因此,色温是以温度的数值来表示光源的颜色特征。
色温用绝对温度“K”表示,绝对温度等于摄氏温度加273,如正午的日光具有色温为6500K,就是说黑体加热到6500K时发出的光的颜色与正午的颜色相同。其他如白炽灯色温约为2600K。表2-2列出了一些常见的光源色温。
色温是光源的重要指标,一定的色光具有一定的相对能量分布。当黑体连续加热,温度不断升高时,其相对光谱能量分布的峰值部位将向短波方向变化,所发的光带有一定的颜色,其变化顺序是红—黄—白—蓝。
表2-2 常见的光源色温
人类在长期的生产生活实践中,习惯于在日光下辨认颜色。尽管日光的色温和光谱能量分布随着自然条件的变化有很大的差异,但人眼的辨认能力依然是准确的。这是人们在自然光下长期实践对颜色形成了记忆的结果。
随着照明技术的发展,许多新光源的开发利用,人们经常在不同的环境下辨认颜色。有些灯光的颜色与日光很相似,如荧光灯、汞灯等,但其光谱能量分布与日光却有很大的差别。这些光谱中缺少某些波长的单色光成分。人们在这些光源下观察到的颜色与日光下看到的颜色是不同的,这就涉及光源的显色性问题了。
什么是光源的显色性?同一个颜色样品在不同的光源下可能使人眼产生不同的色彩感觉,而在日光下物体显现的颜色是最准确的。因此,可以用日光标准(参照光源),将白炽灯、荧光灯、钠灯等人工光源(待测光源)与其比较,显示同色能力的强弱叫作该人工光源的显色性。我国国家标准“光源显色性评价方法GB/T 5702—2019”中规定用普朗克辐射体(色温低于5000K)和标准照明体(色温高于5000K)作参考照明体。为了检验物体在待测光源下所显现的颜色与在参考照明体下所显现的颜色相符的程度,采用“一般显色性指数”作为定量评价指标。显色性指数最高为100。显色性指数的高低,就表示物体在待测光源下“变色”和“失真”的程度。例如,在日光下观察一幅画,然后拿到高压汞灯下观察,就会发现,某些颜色已变了色,如粉色变成了紫色、蓝色变成了蓝紫色。因此,在高压汞灯下,物体失去了“真实”的颜色,如果在黄色光的低压钠灯底下来观察,则蓝色会变成黑色,颜色失真更厉害,显色指数更低。光源的显色性是由光源的光谱能量分布决定的。日光、白炽灯具有连续光谱,连续光谱的光源均有较好的显色性。
通过对新光源的研究发现,除连续光谱的光源具有较好的显色性外,由几个特定波长色光组成的混合光源也有很好的显色效果。例如,450nm的蓝光、540nm的绿光、610nm的橘红光以适当比例混合所产生的白光,虽然为不连续光谱,但却具有良好的显色性。用这样的白光去照明各色物体,都能得到很好的显色效果。
光源的显色性以一般显色性指数 R a 值区分:
① R a 值为100~75,光源的显色性优良;
② R a 值为75~50,光源的显色性一般;
③ R a 值为50以下,光源的显色性差。
光源的显色性和色温是光源的两个重要的颜色指标。色温是衡量光源色的指标,而显色性是衡量光源视觉质量的指标。假若光源色处于人们所习惯的色温范围内,则显色性应是光源质量更为重要的指标。这是因为显色性直接影响着人们所观察到的物体的颜色。
在定量研究中我们发现,某种光源所发出的光,可以通过红、绿、蓝三种单色光按不同比例混合匹配产生。这种用来匹配某一特定光源所需要的红、绿、蓝三原色的量叫作该光源三刺激值。光源的红、绿、蓝三刺激值分别用 X 0 、 Y 0 、 Z 0 来表示。关于三刺激值的相关内容,可参看第五章。
我们知道,照明光源对物体的颜色影响很大。不同的光源,有着各自的光谱能量分布及颜色,在它们的照射下物体表面呈现的颜色也随之变化。为了统一对颜色的认识,首先必须要规定标准的照明光源。因为光源的颜色与光源的色温密切相关,所以CIE规定了四种标准照明体的色温标准:
标准照明体A:代表完全辐射体在2856K发出的光( X 0 =109.87, Y 0 =100.00, Z 0 =35.59);
标准照明体B:代表相关色温约为4874K的直射阳光( X 0 =99.09, Y 0 =100.00, Z 0 =85.32);
标准照明体C:代表相关色温约为6774K的平均日光,光色近似阴天天空的日光( X 0 =98.07, Y 0 =100.00, Z 0 =118.18);
标准照明体D 65 :代表相关色温约为6504K的日光( X 0 =95.05, Y 0 =100.00, Z 0 =108.91);
标准照明体D:代表标准照明体D 65 以外的其他日光;
标准照明体E:代表等能白光( X 0 =100.00, Y 0 =100.00, Z 0 =100.00)
CIE规定的标准照明体是指特定的光谱能量分布,是规定的光源颜色标准。它并不是必须由一个光源直接提供,也并不一定用某一光源来实现。为了实现CIE规定的标准照明体的要求,还必须规定标准光源,以具体实现标准照明体所要求的光谱能量分布。CIE推荐下列人造光源来实现标准照明体的规定:
标准光源A:色温为2856K的充气螺旋钨丝灯,其光色偏黄。
标准光源B:色温为4874K,由A光源加罩B型D-G液体滤光器组成,光色相当于中午的日光。
标准光源C:色温为6774K,由A光源加罩C型D-G液体滤光器组成,光色相当于有云的天空光。
标准光源D 65 :色温为(6500±200)K,显色性指数大于96,D 65 灯管有多层荧光粉涂层,模拟典型的日光。
CIE标准光源A、B、C、D 65 的相对光谱能量分布曲线,如图2-6所示。
图2-6 标准光源的相对光谱能量分布
物体受到外来光波的照射,光就会和组成物体的物质微粒发生作用。由于组成物质的分子和分子间的结构不同,使入射的光分成几个部分:一部分被物体吸收,一部分被物体反射,再一部分穿透物体,继续传播,如图2-7所示。图中 φ i 为入射光通量, φ τ 为透射光通量, φ ρ 为反射光通量, φ a 为物体吸收的光通量。
图2-7 物体对光的透射、吸收和反射
透射是入射光经过折射穿过物体后的出射现象。被透射的物体为透明体或半透明体,如玻璃、滤色片等。若透明体是无色的,除少数光被反射外,大多数光均透过物体。为了表示透明体透过光的程度,通常用透过后的光通量 φ τ 与入射光通量 φ i 之比 τ 来表征物体的透光性质, τ 称为光透射率。
表示为:
从色彩的观点来说,每一个透明体都能够用光谱透射率分布曲线来描述其颜色特征,此光谱透射率分布曲线为一相对值分布。所谓光谱透射率定义为:在波长为 λ 的光照射下,从物体透射出的光通量 φ τ ( λ )与入射于物体上的光通量 φ i ( λ )之比。表示为:
通常在测量透射样品的光谱透射率时,还应以与样品相同厚度的空气层或参比液作为标准进行比较测量。
物体表面的物质之所以能吸收一定波长的光,这是由物质的化学结构所决定的。可见光的频率为3.8×10 14 ~7.8×10 14 Hz,不同物体由于其分子和原子结构不同,就具有不同的本征频率,因此,当入射光照射在物体上,某一光波的频率与物体的本征频率相匹配时,物体就吸收这一波长(频率)光的辐射能,使电子的能级跃迁到高能级的轨道上,这就是光吸收。
光投射在物体上后,其强度或多或少地会减弱,实际上就是一部分光能量在与物体中存在的电子、激子、晶格振动及杂质与缺陷等的相互作用中,产生了光吸收。
根据量子理论的观点,光就是各种不同能量的光子流,光子所具有的能量与光的频率成正比,与波长成反比。而光的波长又体现为光的颜色,所以特定的分子只吸收特定颜色的光,因此这种情况下物质就显现出一定的颜色来。根据物质中不同能量发生的变化,将光吸收生色机理又可分为两类:一类是振动和转动吸光生色,一类是电子跃迁吸光生色。在可见光的照射下,电子跃迁所吸收的能量不同,物质就显示出不同的颜色。
日常生活中我们看到的物体的颜色大多为被吸收色光的补色。可见光波所对应的能级差∆E为1.7~3.1eV,因此,物质内部基态与激发态之间的能级差∆E要落在1.7~3.1eV范围内才能吸收可见光而显色,若在范围外则不可能显色。由于可见光能量比较低,无法把原子的内层电子、分子的成键电子激发出来,只能激发原子核外价电子和未成键电子。例如硫酸铜溶液能够吸收波长大于550nm范围内的绝大部分可见光(黄、橙、红光)而呈现蓝色;Ti 3+ 的水溶液吸收了蓝绿光,因而呈现紫红色。番茄皮里面有大量的番茄红素,它会吸收波长为443、471、502nm的蓝绿光,呈现出红色。
物体对光的吸收根据吸收光量的不同可分为两种形式:选择性吸收和非选择性吸收。如果物体对入射光中某些色光比其他波长的色光吸收程度大,或者对某些色光根本不吸收,这种不等量地吸收入射光的现象称为选择性吸收。物体对白光的选择性吸收是形成颜色的根本原因,例如白光通过黄色滤色片时,蓝光被吸收,其余色光均可透过。
分子结构的某些基团吸收某种波长的光,而不吸收另外波长的光,从而使人觉得好像这一物质“发出颜色”似的,因此把这些基团称为“发色基团”。例如,无机颜料结构中有发色团,如铬酸盐颜料的发色团是
(重铬酸根),呈黄色;氧化铁颜料的发色团是
,呈红色;铁蓝颜料的发色团是
,呈蓝色。这些不同的分子结构对光波有选择性的吸收,反射出不同波长的光。事实上选择性吸收的光波长并不只是单个数值,而有一个狭窄的范围。颜色的产生是一个十分复杂的问题,除了主要取决于分子或离子的电子层结构外,还与其他多种因素如物质聚集状态、温度等都有关系,这些都有待我们去作进一步的探讨。
如果物体对入射白光中所有波长的光都等量吸收,称为非选择性吸收。物体对入射白光进行不同程度的非选择性吸收是形成非彩色的根本原因,可见光投射到非选择性吸收物体上时,产生了消色效果。例如白光通过灰色滤色片时,一部分白光被等量吸收,使白光能量减弱而变暗。当光照射到非选择性吸收的物体上,反射或透射出来的光与入射光的强度相比,有不同程度的减少。反射率不到10%的非选择性吸收的物体的颜色称为黑色。反射率在75%以上的非选择性吸收的物体的颜色称为白色。非选择性吸收的物体对白光反射率的大小标志着物体的黑白程度。
这里所说的反射是指选择性反射,非透明体受到光照射后,由于其表面分子结构差异而形成选择性吸收,从而将可见光谱中某一部分波长的辐射能吸收,而将剩余的色光反射出来,这种物体称为非透过体或反射体。
图2-8(a)表示了入射光通量 φ i 与反射光通量 φ ρ 。不透明体反射光的程度,即物体的明暗特征,可用光反射率 ρ 来表示。光反射率可以定义为“被物体表面反射的光通量 φ ρ 与入射到物体表面的光通量 φ i 之比”。可表示为:
从色彩的观点来说,每一个反射物体对光的反射效应,即物体的颜色特征,都能以光谱反射率分布曲线来描述。光谱反射率 ρ ( λ )定义为“在波长为λ的光照射下,样品表面反射的光通量 φ ρ ( λ )与入射光通量 φ i ( λ )之比”。表示为:
如图2-8(a)所示,若用光谱反射率来分析,则可以说在入射白光光谱中,蓝色光和绿色光部分被吸收, ρ 蓝 ( λ )﹑ ρ 绿 ( λ )值接近于零;只有红色光部分的辐射能被反射,具有较大的 ρ 红 ( λ )值,故该物体表面呈红色。图2-8(b)所示是该物体表面的光谱反射率分布曲线,习惯上称为分光反射曲线或简称分光曲线。分光反射曲线可以精确地描述物体的颜色,对色彩的定量描述有重要意义。
图2-8 光谱反射率分析
物体对光的反射有三种形式:理想镜面的全反射、粗糙表面的漫反射及半光泽表面的吸收反射。
如图2-9(a)所示,理想的镜面能够反射全部的入射光,但以镜面反射角的方向定向反射。如图2-9(b)所示,完全漫反射体朝各个方向反射光的亮度是相等的。
实际生活中绝大多数彩色物体表面,既不是理想镜面,也不是完全漫反射体,而是居二者之间,称为半光泽表面。这种性质可以用变角光度计测量其表面反射率因数的分布状况,从而得到如图2-10所示的分布曲线。图中从测试样中心到曲线的半径距离,表示在该方向上反射率因数的大小;曲线a是一个半圆,表示完全漫反射体的反射率因数分布;曲线b是半光泽表面反射率因数分布,这表示在镜面反射方向有较强的反射能力。
图2-9 物体对光的反射的形成
图2-10 半光泽表面
对于印刷用纸,其表面应属于半光泽表面,图2-11所示是两种纸张,入射角为45°,观察者在0 o 位置,图2-11(a)是涂料纸,图2-11(b)是非涂料纸。
图2-11 印刷用纸
在彩色印品中,通常是将透明油墨印在纸张上,当入射光以45°照射在印刷墨层表面上时,大约有4%的入射光在墨层表面被反射,称为首层表面反射光;若印刷墨层表面光泽较强,则这4%的首层表面反射光作定向反射,因此不易进入人的眼睛;其余入射光穿过油墨层,经过油墨的选择性吸收后,再透射出来,这就是我们观察到的主色光,如图2-12(a)所示。如果印刷表面粗糙,则这4%的首层表面反射光,将朝各个方面做漫反射,如图2-12(b)所示,此时我们观察到的色光,就是主色光与首层表面反射光的混合光。因为这里有白光的掺和,就降低了主色光的饱和度。所以,同一种油墨印刷在不同的纸上,如果提高印刷表面的光泽度,就可以使观察到的色光中,减少首层表面反射的白光,从而提高色彩的饱和度,促使颜色鲜艳。
图2-12 印刷墨层的区别
结构色(Structural Colour),又称物理色(Physical Colour),是一种由光的波长引发的光泽。结构色与色素着色无关,是物体亚显微结构使光波发生折射、漫反射、衍射或干涉而产生的各种颜色。例如,甲虫体壁表面的金属光泽和闪光等是典型的结构色。
第一种结构色产生的机理是光在单层薄膜中发生干涉,如图2-13所示,这里要求薄膜的厚度非常薄。生活中经常看到的例子是油膜在水面的颜色。不同颜色的光在不同入射角度、不同的油膜厚度发生干涉,就造成了油膜的丰富色彩。
第二种结构色产生的机理是光在多层薄膜中发生干涉,如图2-14所示,多层薄膜是由两种折射率不同的物质交替叠加而成的。大部分有金属光泽的甲壳虫,它们的外壳中包含多层薄膜结构。
图2-13 单层薄膜干涉
图2-14 多层薄膜干涉
图2-15 光子晶体
还有一种结构色是由光子晶体造成的,所谓光子晶体就是由两种折射率不同的物质周期性排布形成的微观结构,如图2-15所示。
孔雀羽毛的结构色来自羽毛内部的光子晶体结构,如图2-16所示。图2-16(b)所示是孔雀羽毛羽小枝横截面的电子显微镜图片,可以看到周期结构,也就是光子晶体。
图2-16 孔雀羽毛的结构色
三原色的本质是三原色具有独立性,三原色中任何一色都不能用其余两种色彩合成。另外,三原色具有最大的混合色域,其他色彩可由三原色按一定的比例混合出来,并且混合后得到的颜色数目最多。
在色彩感觉形成的过程中,光源色与光源、眼睛和大脑三个要素有关。因此对于色光三原色的选择,涉及光源的波长及能量﹑人眼的光谱响应区间等因素。
从能量的观点来看,色光混合是亮度的叠加,混合后的色光必然要亮于混合前的各个色光,只有明亮度低的色光作为原色才能混合出数目比较多的色彩。否则,用明亮度高的色光作为原色,其相加则更亮,这样就永远不能混合出那些明亮度低的色光。同时,三原色应具有独立性,三原色不能集中在可见光光谱的某一段区域内。否则,不仅不能混合出其他区域的色光,而且所选的原色也可能由其他两色混合得到,失去其独立性,而不是真正的原色。
在白光的色散试验中,我们可以观察到红、绿、蓝三色比较均匀地分布在整个可见光谱上,而且占据较宽的区域。如果适当地转动三棱镜,使光谱由宽变窄,就会发现:其中色光所占据的区域有所改变。在变窄的光谱上,红(R)、绿(G)、蓝(B)三色光的颜色最为显著,其余色光颜色逐渐减退,有的差不多已经消失。得到的这三种色光的波长范围分别为:R(600~700nm),G(500~570nm),B(400~470nm)。在色彩学中,一般将整个可见光谱分成蓝光区、绿光区和红光区进行研究。
当用红光、绿光、蓝光三色光分别进行混合时,可得到黄光、青光和品红光。品红光是光谱上没有的,我们称之为谱外色。如果我们将此三色光等比例混合,可得到白光;而将此三色光以不同比例混合,就可得到多种不同的色光。
从人的视觉生理特征来看,人眼的视网膜上有三种感色锥体细胞——感红细胞、感绿细胞、感蓝细胞,这三种细胞分别对红光、绿光、蓝光敏感。当其中一种感色细胞受到较强的刺激时,就会引起该感色细胞的兴奋,则产生该色彩的感觉。人眼的三种感色细胞,具有合色的能力。当一复色光刺激人眼时,人眼感色细胞可将其分解为红、绿、蓝三种单色光,然后混合成一种颜色。正是由于这种合色能力,我们才能识别除了红、绿、蓝三色之外的更大范围的颜色。
综上所述,我们可以确定:色光中存在三种最基本的色光,它们的颜色分别为红色、绿色和蓝色。这三种色光既是白光分解后得到的主要色光,又是混合色光的主要成分,并且能与人眼视网膜细胞的光谱响应区间相匹配,符合人眼的视觉生理效应。这三种色光以不同比例混合,几乎可以得到自然界中的一切色光,混合色域最大。而且这三种色光具有独立性,其中一种原色不能由另外的原色光混合而成,由此,我们称红、绿、蓝为色光三原色。为了统一认识,1931年,国际照明委员会(CIE)规定了三原色的波长 λ R =700.0nm, λ G =546.1nm, λ B =435.8nm。在色彩学研究中,为了便于定性分析,常将白光看成由红、绿、蓝三原色等量相加而合成的。
由两种或两种以上的色光相混合时,会同时或者在极短的时间内连续刺激人的视觉器官,使人产生一种新的色彩感觉。我们称这种色光混合为加色混合。这种由两种以上色光相混合,呈现另一种色光的方法,称为色光加色法。
国际照明委员会(CIE)进行颜色匹配实验表明:当红、绿、蓝三原色的亮度比例为1.0000∶4.5907∶0.0601时,就能匹配出中性色的等能白光,尽管这时三原色的亮度值并不相等,但CIE却把每一原色的亮度值作为一个单位看待,所以色光加色法将红、绿、蓝三原色光“等比例”混合得到白光。其表达式为( R )+( G )+( B )=( W )。红光和绿光等比例混合得到黄光,即( R )+( G )=( Y );红光和蓝光等比例混合得到品红光,即( R )+( B )=( M );绿光和蓝光等比例混合得到青光,即( B )+( G )=( C ),如图2-17所示。如果不等比例混合,则会得到更加丰富的混合效果,如黄绿、蓝紫、青蓝等。
图2-17 加色混色
从色光混合的能量角度分析,色光加色法的混色方程为:
式中, C 为混合色光总量;( R )、( G )、( B )为三原色的单位量; α 、 β 、 γ 为三原色的数量。此混色方程十分明确地表达了复色光中的三原色成分。
从人眼对色光物理刺激的生理反应角度分析,色光加色混合的数学形式为:
式中,
C
为混合色觉;
为光谱三刺激值。
在自然界和现实生活中,存在很多色光混合加色现象。例如,太阳初升或将落时,一部分色光被较厚的大气层反射到太空中,另一部分色光穿透大气层到地面,由于云层厚度及位置不同,人们有时可以看到透射的色光,有时可以看到部分透射和反射的混合色光,使天空出现了丰富的色彩变化。
加色法是色光与色光混合生成新色光的呈色方法。参加混合的每一种色光都具有一定的能量,当这些具有不同能量的色光混合时,可以导致混合色光能量的变化。
色光直接混合时产生新色光的能量是参加混合的各色光的能量之和。如图2-18所示,照射面积相同的两种色光——红光与绿光混合。混合后的面积依然与混合前单色光的面积相同,但光的能量却增大了,所以导致了混合后色光亮度的增加。
图2-18 色光混合
色光混合的实现方法主要分为两类:一类是视觉器官外的加色混合,另一类是视觉器官内的加色混合。
视觉器官外的加色混合是指色光在进入人眼之前就已经混合成新的色光。色光的直接匹配就是视觉器官外的加色混合。光谱上各种单色光形成白光,是最典型的视觉器官外的加色混合,这种加色混合的特点是:在进入人眼之前各色光的能量就已经叠加在一起,混合色光中的各原色光对人眼的刺激是同时开始的,是色光的同时混合。
视觉器官内的加色混合是指参加混合的各单色光,分别刺激人眼的三种感色细胞,使人产生新的综合色彩感觉,它包括静态混合与动态混合。
(1)静态混合
静态混合是指各种颜色处于静态时,反射的色光同时刺激人眼而产生的混合,如细小色点的并列与各单色细线的纵横交错,所形成的颜色混合,均属静态混合,各色反射光是同时刺激人眼的,也是色光的同时混合。细小色点并列的加色混合,如图2-19所示。
由于视锐度所限,人们不能将相隔太近,且面积又很小的色点或色线分辨出来,而将它们视为一种混合色。图2-19(a)是黄色块与青色块并列时的放大图,黄色与青色的反射光同时刺激人眼的感色细胞,使人产生的色彩感觉既不是单纯的黄色,也不是单纯的青色,而是青色与黄色的混合色——绿色。这是由于色点相距太近,人眼的感色细胞无法区分开,从而产生了综合色觉。
图2-19 色光的静态加色混合
(2)动态混合
动态混合是指各种颜色处于动态时,反射的色光在人眼中的混合,如彩色转盘的快速转动,各种色块的反射光不是同时在人眼中出现,而是一种色光消失,另一种色光出现,先后交替刺激人眼的感色细胞,由于人眼的视觉暂留现象,使人产生混合色觉。
人眼之所以能够看清一个物体,乃是由于该物体在光的照射下,物体所反射或透射的光进入人眼,刺激了视神经,引起了视觉反应。当这个物体从眼前移开,对人眼的刺激作用消失时,该物体的形状和颜色不会随着物体移开而立即消失,它在人眼中还可以做一个短暂停留,时间大约为1/10秒。物体形状及颜色在人眼中这个短暂时间的停留,就称为视觉暂留现象。正因为有了这种视觉暂留现象,人们才能欣赏到电影、电视的连续画面。视觉暂留现象是视错觉的一种表现。
人眼的视觉暂留现象是色光动态混合呈色的生理基础,如图2-20所示的彩色转盘。
在转盘上以1∶1的比例间隔均匀地涂上红、绿两种颜色。快速转动转盘,可以看到转盘上已不再是红、绿两种颜色,而是一个黄色。这是因为:当转盘快速转动时,如果红色反射光进入人眼中,就会刺激感红细胞。当红色转过,绿色反射光进入人眼中,就刺激了感绿细胞。此时,感红细胞所受刺激并没有消失,它继续停留1/10s时间。在这个瞬间,感红细胞与感绿细胞同时兴奋,就产生了综合的黄色感觉。彩色转盘转动得越快,这种混合就越彻底。
图2-20 色光动态混合
动态混合是由参加混合的色光先后交替连续刺激人眼,因此又称为色光的先后混合。
通常情况下,人眼可以正确地观察及判断外界事物的状态,如大小、形状、颜色等,但如果商品包装的颜色分布太杂,颜色面积太小或多种颜色的交替速度过快,人眼的分辨能力则受到影响,就会使所观察到的颜色与实际有所差别。
由两种色光组成的混合色中,如果一种色光连续变化,混合色的外貌也连续变化。可以通过色光的不等量混合实验观察到这种混合色的连续变化。红光与绿光混合形成黄光,若绿光不变,改变红光的强度使其逐渐减弱,可以看到混合色由黄变绿的各种过渡色彩。反之,若红光不变,改变绿光的强度使其逐渐减弱,则可以看到混合色由黄变红的各种过渡色彩。
在色光混合实验中可以看到:三原色光等量混合,可以得到白光。如果先将红光与绿光混合得到黄光,黄光再与蓝光混合,也可以得到白光。白光还可以由另外一些色光混合得到。如果两种色光混合后得到白光,这两种色光称为互补色光,这两种颜色称为补色。
补色混合具有以下规律:每一个色光都有一个相应的补色光,某一色光与其补色光以适当比例混合,便产生白光,最基本的互补色有三对:红-青,绿-品红,蓝-黄。
图2-21 物体对补色光的吸收
补色的一个重要性质:一种色光照射到其补色的物体上,则被吸收。比如用蓝光照射黄色物体,则呈现黑色,如图2-21所示。
利用这个道理,我们可以用某一色光的补色控制这一色光。例如,控制绿色,可以通过调节品红颜料层的浓度来控制其反射(透射)率,以达到合适的强度。
中间色律的主要内容是:任何两种非补色光混合,便产生中间色。其颜色取决于两种色光的相对能量,其鲜艳程度取决于二者在色相顺序上的远近。
任何两种非补色光混合,便产生中间色,最典型的实例是三原色光两两等比例混合,可以得到它们的中间色:( R )+( G )=( Y );( G )+( B )=( C );( R )+( B )=( M )。其他非补色混合,都可以产生中间色。颜色环上的橙红光与青绿光混合,产生的中间色的位置在橙红光与青绿光的连线上。其颜色由橙红光与青绿光的能量决定:若橙红光的强度大,则中间色偏橙,反之则偏青绿色。其鲜艳程度由相混合的两色光在颜色环上的位置决定:此两色光距离越近,产生的中间色越靠近颜色环边线,就越接近光谱色,因此,就越鲜艳;反之,产生的中间色越靠近中心白光,其鲜艳程度越低。
颜色外貌相同的光,不管它们的光谱成分是否一样,在色光混合中都具有相同的效果。凡是在视觉上相同的颜色都是等效的,即相似色混合后仍相似。
如果颜色光 A = B 、 C = D ,那么 A + C = B + D 。
色光混合的代替规律表明:只要在感觉上颜色是相似的便可以相互代替,所得的视觉效果是同样的。设 A + B = C ,如果没有直接色光 B ,而 X + Y = B ,那么根据代替律,可以由 A + X + Y = C 来实现 C 。由代替律产生的混合色光与原来的混合色光在视觉上具有相同的效果。
色光混合的代替律是非常重要的规律。根据代替律,可以利用色光相加的方法产生或代替各种所需要的色光。色光的代替律,更加明确了同色异谱色的应用意义。
由几种色光混合组成的混合色的总亮度等于组成混合色的各种色光亮度的总和。这一定律叫作色光的亮度相加律。色光的亮度相加律,体现了色光混合时的能量叠加关系,反映了色光加色法的实质。
以上五个规律是色光混合的基本规律。从这些规律中可以看出:以各种比例的三原色光相混合,可以产生自然界中的各种色彩。熟悉了色光混合的基本规律,就可以大体知道一个比较复杂的色光是由哪几个原色光组成的,或者几个比较单纯的色光混合起来会形成什么样的色光。这对于我们在包装色彩的设计和彩色原稿的分析中,都有着十分重要的意义。
在光的照耀下,各种物体都具有不同的颜色。其中很多物体的颜色是经过色料的涂、染而具有的。凡是涂、染后能够使无色的物体呈色、有色物体改变颜色的物质,均称为色料。色料可以是有机物质,也可以是无机物质。色料有染料与颜料之分。
色料和色光是截然不同的物质,但是它们都具有众多的颜色。在色光中,确定了红、绿、蓝三色光为最基本的原色光。在众多的色料中,是否也存在几种最基本的原色料,它们不能由其他色料混合而成,却能调制出其他各种色料。通过色料混合实验,人们发现:采用与色光三原色相同的红、绿、蓝三种色料混合,其混色色域范围不如色光混合那样宽广。红、绿、蓝任意两种色料等量混合,均能吸收绝大部分的辐射光而呈现具有某种色彩倾向的深色或黑色。从能量观点来看,色料混合,光能量减少,混合后的颜色必然暗于混合前的颜色。因此,明度低的色料调配不出明亮的颜色,只有明度高的色料作为原色才能混合出数目较多的颜色,得到较大的色域。
从色料混合实验中,人们发现,能透过(或反射)光谱较宽波长范围的色料青、品红、黄三色,能调配出更多的色彩。在此实验基础上,人们进一步明确:由青、品红、黄三色料以不同比例相混合,得到的色域最大,而这三色料本身,却不能用其余两种原色料混合而成。因此,我们称青、品红、黄三色为色料的三原色。
需要说明的是,在包装色彩设计和色彩复制中,有时会将色料三原色称为红、黄、蓝,而这里的红是指品红(洋红),而蓝是指青色(湖蓝)。
颜色是物体的化学结构所固有的光学特性。一切物体呈色都是通过对光的客观反映而实现的。所谓“减色”,是指加入一种原色色料就会减去入射光中的一种原色色光(补色光)。因此,在色料混合时,从复色光中减去一种或几种单色光,呈现另一种颜色的方法称为减色法。
我们以色光照射理想滤色片为例来说明。当一束白光照射品红滤色片的时候,如图2-22(a)所示,根据补色的性质,品红滤色片吸收了 R 、 G 、 B 三色中的 G ,而将剩余的 R 和 B 透射出来,从而呈现了品红色。图2-22(b)为青和品红二原色色料等比例叠加的情况,当白光照射青、品红滤色片时,青滤色片吸收了 R ,品红滤色片吸收了 G ,最后只剩下了 B ,也就是说,青色和品红色色料“等比例”混合呈现出蓝色,表达式为( C )+( M )=( B )。同样,青、黄二原色色料“等比例”混合得到绿色,即( C )+( Y )=( G );品红、黄二原色色料“等比例”混合得到红色,即( M )+( Y )=( R );而青、品红、黄三种原色色料“等比例”混合就得到黑色,即( C )+( M )+( Y )=( K )。三原色料“等比例”混合可由图2-23表示。
图2-22 色料减色法呈色机理
图2-23 减色混色
青、品红、黄是色料中用来配制其他颜色的最基本的颜色,称为原色或第一次色。间色是由两种原色料混合而得到的,称为第二次色。对于红色色料可以认为是黄色色料和品红色色料的混合,即( R )=( M )+( Y );同理,绿色色料有( G )=( C )+( Y );蓝色色料有( B )=( C )+( M )。这样在对间色呈色原理进行分析时,色料的间色就可以用原色来表示。复色是由三种原色料混合而得到的颜色。
色料的呈色是由于色料选择性地吸收了入射光中的补色成分,而将剩余的色光反射或透射到人眼中。减色法的实质是色料对复色光中的某一单色光的选择性吸收,而使入射光的能量减弱。由于色光能量下降,使混合色的明度降低。
三种原色料“等比例”混合,可以得到黑色,即:
( Y )+( M )+( C )=( K )⇒( W )-( R )-( G )-( B ) (2-8)
式中,⇒为色料混合后反射(透射)出的色光。
三种原色料不等量混合时,可以得到复色,其一般形式为:
C 减 = α ( Y )+ β ( M )+ γ ( C ) (2-9)
式中, C 减 为混合色料;( Y )、( M )、( C )为色料三原色的单位量; α 、 β 、 γ 为三原色料的数量。
通过混色方程,可以了解各种混合色中三原色料的比例关系,为正确调制颜料提供依据。
三原色料“等比例”混合可以得到黑色,即:( Y )+( M )+( C )=( K )。若先将黄色与品红色混合得到其间色红色,然后再与青色混合,上式可以写成:( R )+( C )=( K )。
像这样两种色料相混合成为黑色,我们称这两种色料为互补色料,这两种颜色称为互补色。其意义在于给青色补充一个红色可以得到黑色;反之,给红色补充一个青色亦成为黑色。除红、青两色是一对互补色外,在色料中,品红与绿、黄与蓝也各是一对互补色。
由于三原色比例的多种变化,构成补色关系的颜色有很多并不仅限于以上几对,只要两种色料混合后形成黑色,就是一对互补色料。任何色料都有其对应的补色料。
色料混合中,补色的应用是十分广泛的,如在绘画中,画面上某处色彩需要加暗时,并不一定要使用黑色,只要在该处涂以原色彩的补色即可。在彩色印刷过程中,调用专用墨色时,应特别注意补色的使用。当调用较鲜艳的浅色时,如不恰当地加入了补色,则会使墨色变得灰暗。
间色与其互补色色料混合呈现黑色,而间色与非互补色的原色色料混合呈色现象则较为复杂。为了更好地解释这一现象,假设1个单位厚度的原色色料能将1个单位的补色光完全吸收。以理想的红滤色片和黄滤色片叠加为例,当1个单位的白光入射时,呈色过程如图2-24所示,表达式如下:
图2-24 间色与非互补色的原色色料混合
①1个单位厚的红滤色片和1个单位厚的黄滤色片叠加:
{( Y )+( M )}+( Y )=2( Y )+( M )⇒( R ) 红色
②1/2个单位厚的红滤色片和1/2个单位厚的黄滤色片叠合:
{1/2( Y )+1/2( M )}+1/2( Y )=( Y )+1/2( M )⇒1/2( R )+1/2( Y ) 红黄
③1/4个单位厚的红滤色片和1/4个单位厚的黄滤色片叠合:
{1/4( Y )+1/4( M )}+1/4( Y )=1/2( Y )+1/4( M )⇒1/4( R )+1/4( Y )+1/2( W ) 淡红黄
间色与非互补色的原色色彩混合,随着浓度的不同,不仅明度与饱和度发生变化,而且色相也发生了变化。当混合色料浓度(厚度)大时,呈现出间色的色相;当混合色料浓度减小时,变为间色和原色的混合色相。
两种间色色料混合,随着色料的浓度不同,呈现的色彩出现了很大的变化。将理想红滤色片和绿滤色片叠合在一起,当1个单位的白光入射时,随着滤色片厚度的变化,会呈现出不同的颜色。呈色过程如图2-25所示,表达式如下:
图2-25 间色色料混合呈色
①1个单位的红滤色片和1个单位的绿滤色片叠合:
{( Y )+( M )}+{( Y )+( C )}=2( Y )+( M )+( C )⇒( BK ) 黑色
②1/2个单位厚的红滤色片和1/2个单位厚的绿滤色片叠合:
{1/2( Y )+1/2( M )}+{1/2( Y )+1/2( C )}=( Y )+1/2( M )+1/2( C )⇒1/2( Y ) 黄色
③1/4个单位厚的红滤色片和1/4个单位厚的绿滤色片叠合:
{1/4( Y )+1/4( M )}+{1/4( Y )+1/4( C )}=1/2( Y )+1/4( M )+1/4( C )⇒1/4( Y )+1/2( W ) 淡黄色
间色色料混合颜色较深,当色料浓度(厚度)较大时呈现黑色,饱和度为0,随着浓度(厚度)的减小,逐渐呈现出色彩、明度变大,饱和度迅速增加,达到一定程度后逐渐减小。
这种间色混合现象,常出现于光源亮度改变的情况下,对于某一间色混合色样(颜料层厚度不变),当照明光源的亮度改变时,同样会出现色相、明度与饱和度的变化,这对印刷色彩的再现及包装色彩的设计具有一定的指导意义。
以上是复色的几种基本混合方法。此外还有原色与复色、间色与复色、原色与黑色的混合方法,均可以得到新的复色。无论哪种混合方法,实质上都是三原色料等比例或不等比例的混合。由此,可以进一步证明:三原色料可以混合出各种颜色,这是绘画或印刷中,用少数几种色料调制出各种色彩的理论依据。
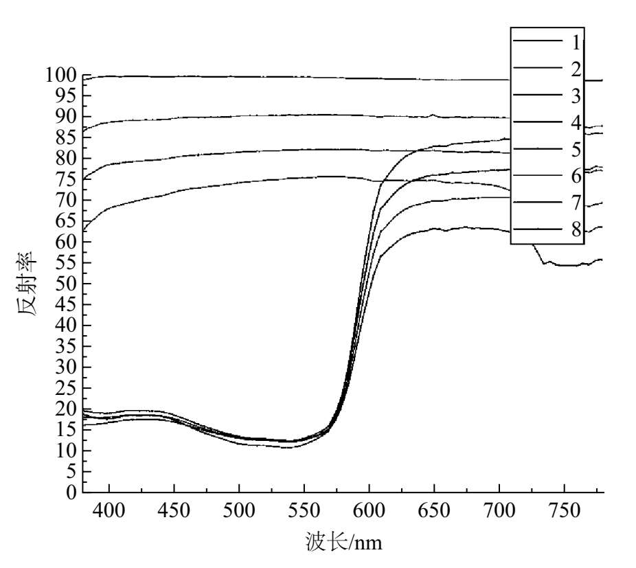
实际上色料浓度变化与光源亮度变化对颜色呈色效果的影响是有差别的。用同一种油墨印制不同墨层厚度的红色样条,测量他们的光谱反射率如图2-26所示,红色区域的反射曲线差别较小,色样吸收区域的反射曲线区别较大。光源亮度变化时某一红色色样的光谱反射率如图2-27所示,红色区域的反射曲线差别较大,色样吸收区域的反射曲线区别较小。
图2-26 墨层厚度变化时红色样条的实验光谱反射率
图2-27 光源亮度变化白板的光谱反射率(上部)及某一红色色样的光谱反射率(下部)
色光加色法与减色法都是针对色光而言的,加色法指的是色光相加,减色法指的是色光被减弱。
色光加色法与色料减色法又是迥然不同的两种呈色方法。色光加色法是色光混合呈色的方法,色光混合后,不仅色彩与参加混合的各色光不同,同时亮度也增加了;色料减色法是色料混合呈色的方法,色料混合后,不仅形成新的颜色,同时亮度也降低了。色光加色法是两种以上的色光混合刺激人的视神经而引起的色效应;而色料减色法是指从白光或其他复色光中吸收了某些色光,剩余的色光刺激人的视神经而引起的色效应。从互补关系来看,有三对互补色: R-C ; G-M ; B-Y 。在色光加色法中,互补色相加得到白色;在色料减色法中,互补色混合得到黑色。
色光三原色是红( R )、绿( G )、蓝( B ),色料三原色是青( C )、品红( M )、黄( Y )。人眼看到的永远是色光,色料三原色的确定与三原色光有着必然的联系。对人眼的视觉研究结果表明,视网膜上的中央窝内,有三种感色细胞,即感红、感绿、感蓝锥体细胞。自然界的各种色彩,可以认为是这三种锥体细胞受到不同刺激所产生的反应。在包装印刷中,我们只要有效地控制进入人眼的三原色光的刺激量,也就相对控制了各种包装的表面颜色。在色光相加混合中,通过红、绿、蓝三原色光能混合出较多的颜色,有最大的色域,为此我们选择青色来控制红光,青色是红色的补色,它能最有效地控制(吸收)红光;同理,选择绿色的补色品红来控制绿光;选择蓝色的补色黄色来控制蓝光。因为青、品红、黄通过改变自身的厚度(或面积),能够很容易地改变对红、绿、蓝三原色光的吸收量,以完成控制进入人眼的三原色光的数量。
利用青、品红、黄对反射光进行控制,实际上是利用它们从照明光源的光谱中选择性地吸收某些光谱的颜色,以剩余光谱色光完成相加混色作用,同时也是对色光三原色红、绿、蓝的选择和认定。色光三原色红、绿、蓝和色料三原色青、品红、黄是统一的,具有共同的本质,是一个事物的两个方面。它们都能得到较大的色域是必然的,因为照射到人眼的是色光。
色光加色法与色料减色法的主要区别,如表2-3所示。
表2-3 色光加色法与色料减色法的区别
在Photoshop(或Coreldraw)中,我们给出 RGB 值便可观察到 L * a *b*值(见图2-28),结果如表2-4所示。
从表2-4心理明度 L *值的大小可以看出,在设计软件中色彩的明度顺序是:白、黄、青、绿、品红、红、蓝、黑。RGB模式为加色法模式,色光混合亮度增加, RGB 的值相加数值越大色彩越明亮。CMY模式为减色法模式,色料混合光能量减小, CMY 的值相加数值越大色彩越深暗。
表2-4 色彩的明度
从组成的六色色相环(见图2-29)中可以看出,在加色法模式中,红、绿、蓝为色光三原色明度(与相邻的相比)较低的,混合后光能量增大,得到明度相对较高的黄光、青光和品红光;在减色法模式中,青、品红、黄为色料的三原色明度(与相邻的相比)较高的,混合后光能量减小,得到明度相对较低的红色、绿色和蓝色。在六色色相环中,红、绿、蓝在其区域内明度最低,青、品红、黄在其区域内明度最高。
图2-28 黄色的心理明度
图2-29 色相环中色彩的明度
物体对光的选择性吸收是物体呈色的主要原因。我们说“花是红色的”,是因为它吸收了白色光中400~500nm的蓝色光和500~600nm的绿色光,而仅仅反射了600~700nm的红色光。花本身没有色彩,光才是色彩的源泉。如果红色表面用绿光来照射,那么就呈现黑色。因为绿光波长的辐射能被全部吸收了,它不包含可反射的红光波长。可见,物体在不同的光谱组成的光的照射下,会呈现出不同的色彩。所以,“色彩”并不是物质本身的物理性实体,只有光波波长才是物理性现实存在的,物体的固有性质只是它对可见光谱中某些波段吸收或反射的能力。从这个意义上讲,世界上一切物体本身都是无色的,只是由于它们对光谱中不同波长的光的选择性吸收,才决定了它的颜色。无光则无色,是光赋予了自然界丰富多彩的颜色。
显然,物体颜色是受光源的光谱组成(光源光谱能量分布)所决定的,所以物体的颜色可以这样解释:该物体本身不发光,而是从被照射的光里选择性吸收了一部分光谱波长的色光,而反射(或透过)剩余的色光,我们所看到的色彩是剩余的色光,这就是物体的颜色,简称物体色。
长期以来,人们习惯于在日光下辨认物体的颜色。人们对物体呈现的颜色记忆和称呼随着历史的发展而固定下来。因此,我们把物体在标准日光下的颜色,称为固有色。
自然界中的一切物体都有其固有的本征频率,对入射的白光都有固定的选择吸收特性,也就具有固定的反射率和透射率。因此人们在标准日光下看到的物体颜色是稳定的。固有色给人的印象最深刻,形成了记忆,又称为记忆色。
光源所呈现的颜色为光源色。各种光源都有其特定的光谱能量分布,可以发出不同颜色的色光。光源色是影响物体颜色的重要因素。光源色的变化,势必会影响物体的颜色。由于光源自身结构和受传播空间的影响,光源色时常在变化着。表现在以下几方面:
自然光源受气候条件的影响,时刻发生亮度的变化,很不稳定,如晴天和阴天的太阳光强度相差很大。人造光源比自然光源稳定,但也有亮度的变化。例如,白炽灯,亮度增大时,颜色趋向于白;亮度减弱时,颜色趋向于红。光源的亮度变化对物体颜色有直接的影响。物体的固有色在入射光亮度适中的时候表现最充分。太亮的强光会使固有色变浅,太暗则会使固有色变灰暗乃至消失。
光源与观察者距离的变化,会使光源色发生改变。例如,白炽灯光随着距离的推远,其颜色由黄逐渐向橙、橙红、红色变化。
光传播媒质的变化也会改变光源色。由于大气厚度不断改变,太阳光的颜色也时刻在变化着。早晨、傍晚太阳光投射角度为15°左右,阳光要穿透较厚的大气层才能到达地面,由于光的散射,光谱中红、橙光透过较多,此时光源色为橙红色;白天太阳光投射角度为60°~90°,太阳光的散射作用比较均匀,透到地面的光源色为白色。
物体表面的色彩与光源的光谱成分有极大的关系。用于照明的光源色往往是极复杂的。可能是单色光,也可能是复色光。就复色光而言,其光谱成分也可能不相同。物体对入射光的吸收、反射、透射的光学特性虽然不受光源的影响,但当光源的光谱成分发生变化时,必然影响到物体的反射或透射光的光谱成分,从而使物体表面的颜色随着光源色的变化而变化。消色物体在彩色光源的照射下,会呈现彩色。白色物体在红光照射下呈现红色;在红光和蓝光同时照射下呈现品红色。彩色物体在特定光源照射下,会呈现消色。例如,在白光下为绿色的物体,在暗室的红灯照射下就几乎成为黑色的物体了。因为绿色物体只反射绿光,而红灯中没有绿光的成分,物体表面在红光照射下不能反射出绿色的光来,红光又都被吸收了,因此显出黑色,如图2-30所示。
同理,在自然光或接近日光光谱的人造光源下观察一张黄色的印样,能很清楚地看出墨色深浅和层次的传递情况。因为在标准照明条件下,黄色的图文容易与白纸区分开。如果在普通白炽灯下观察这张印样,白纸上的黄墨层就看不太清楚了,很难判别油墨的深浅和层次的好坏。这是因为在白炽灯的光谱中蓝色成分较缺乏,而使灯光偏黄,在这样的灯光照明下,黄色图文和白色纸张不容易分清。因此,图文的深浅、层次很难看清。
图2-30 同一物体在不同光源下呈现不同颜色
光源色对物体颜色的影响主要表现在物体的光亮部位。不同的光源色对物体色彩变化的影响程度各不相同,大致以红光最强,白光次之,再次为绿、蓝、青、紫等。
一般来说,物体的固有色是不变的。但是任何物体若放在其他有色物体中间,必然会受到周围邻近物体颜色(即环境色)的影响。
环境色对物体颜色的影响在物体的暗部表现得比较明显。环境色对物体颜色的影响取决于环境色的强弱、邻近物体与被观视物体的距离、被观视物体表面粗糙程度和颜色等性质。一般来说,邻近物体与被观视物体靠得越近,被观视物体表面越光滑,反射光线越强,则环境对被观视物体的颜色所施加的影响也越大。反之,与邻近物体距离越远,表面越粗糙,颜色越浅,物体受环境色的影响越小。
环境对颜色的影响还有另一种形式,如图2-31所示,中央的小方块都具有同样的灰度,但由于受到周围颜色的影响,使人们对每一个色块有着不同感受。因此,如果不把观视条件确定下来,就无法把同一色块的物理性质和它所引起的视觉感受统一起来。为此国际标准照明委员会(CIE)推荐了一套标准观视条件。
综上所述,物体的基本颜色特征是固有色,但由于光源色与环境色的影响使物体表面的色彩丰富多变。在特定的光源与环境下物体呈现的颜色称为条件色。每一物体的颜色都是物体的固有色与条件色的综合体现。
图2-31 背景对颜色的影响
一般来说,物体的固有色很容易确认,而条件色却很复杂,一幅好的艺术作品,恰恰是通过条件色来充分体现其复杂的空间关系的。因此,包装设计和色彩复制工作者,应更好地掌握条件色的变化规律,才能更真实、更准确地做好包装色彩的设计和复制工作。
1.对光源的描述有哪些方法?
2.什么是光源色温?什么是光源显色性?
3.为什么色光三原色是红、绿、蓝?
4.下列色光等比例混合呈现什么颜色?
①( R )+( G )= ②( R )+( B )=
③( B )+( Y )= ④( R )+( G )+( B )=
5.简述加色法混合的种类。
6.色光混合有哪些规律?
7.下列色料等比例混合呈现什么颜色?
①( Y )+( M )= ②( Y )+( B )=
③( C )+( M )= ④( R )+( G )=
8.什么是间色混合现象?
9.什么是补色?补色有什么性质?
10.减色法中的“色”指的是什么?加色法和减色法有什么区别?
11.设计软件中各种色彩的明度顺序是怎样的?
12.什么是固有色?固有色与光源色、物体的光谱反射率及环境色有没有关系?
13.仅当波长λ=700nm的光照射到一黄色物体上时,该物体呈现什么颜色?
14.简述光谱反射率的意义,以及其与光反射率的区别。
15.简述结构色及其产生机理。
16.色料浓度变化与光源亮度变化对颜色呈色效果影响有何不同,为什么?