购买
下载掌阅APP,畅读海量书库
立即打开
畅读海量书库
扫码下载掌阅APP

项目1.3
钳工常用量具

量具用来测量、检验零件尺寸和产品的形状误差。量具的种类较多,根据不同的工作要求,其测量范围和精度规定有多种规格。因此,在使用中应根据不同的尺寸范围和精度要求,选择合适的量具测量。

1.3.1 游标卡尺

游标卡尺是一种比较精密的量具,可直接测量工具的长度、宽度、深度以及圆形工件的内、外径尺寸等。游标卡尺根据分度值显示的方式和精度等级不同,可分为游标卡尺、带表卡尺、数显卡尺。游标卡尺按测量范围可分为 0~100 mm,0~125 mm,0~150 mm,0~200 mm,0~300 mm,0~400 mm,0~500 mm,0~600 mm,0~800 mm,0~1 000 mm,0~1 200 mm共 11 种规格。其测量精度有 0.10 mm,0.05 mm,0.02 mm,0.01 mm,精度为 0.02 mm的游标卡尺较为常用。

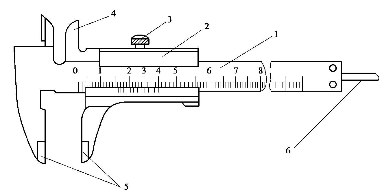
如图 1.12 所示为精度 0.02 mm的游标卡尺的结构。它由尺身、游标、深度测量杆、锁紧螺钉尺身及游标上有测量外径用的量爪和测量内径用的量爪组成。

图 1.12 I型游标卡尺

1—尺身;2—游标;3—螺钉;4—内径量爪;5—外径;6—深度测量杆

其读数原理如图 1.13 所示。在尺身上取分度值 49 mm,游标上分度值以零线至 49 mm长度作 50 等分的分度刻线值。将游标上的零位线与尺身上零位线对齐,则相对于尺身 50 mm处线相差 1 mm,也就是游标上分度值为 1/50 mm。

图 1.13 0.02 mm游标卡尺分度值原理

游标卡尺读值方法,应以游标上的零线在尺身分度线位置上的整数值和游标上分度线与尺身分度线对齐的分值之和。如图 1.14 所示,游标卡尺两量爪与工件被测表面接触。此时,游标卡尺游标上零线在尺身分度值 18 mm与 19 mm之间位置,而游标分度值上 86 处刻线与尺身上 62 处刻线对齐,正确的读值应将尺身上的分度值加上游标上分度值,故实际尺寸为18.86 mm。

游标卡尺属于精密量具,使用时不能用游标卡尺测量铸件或锻件粗糙毛坯表面。以免量具磨损失去精度。同时,游标卡尺使用应注意以下 7 点:

①测量前,应对被测工件和游标卡尺量爪做必要的清洁工作,以免切屑或毛刺影响测量的正确精度值。

图 1.14 测量值读法

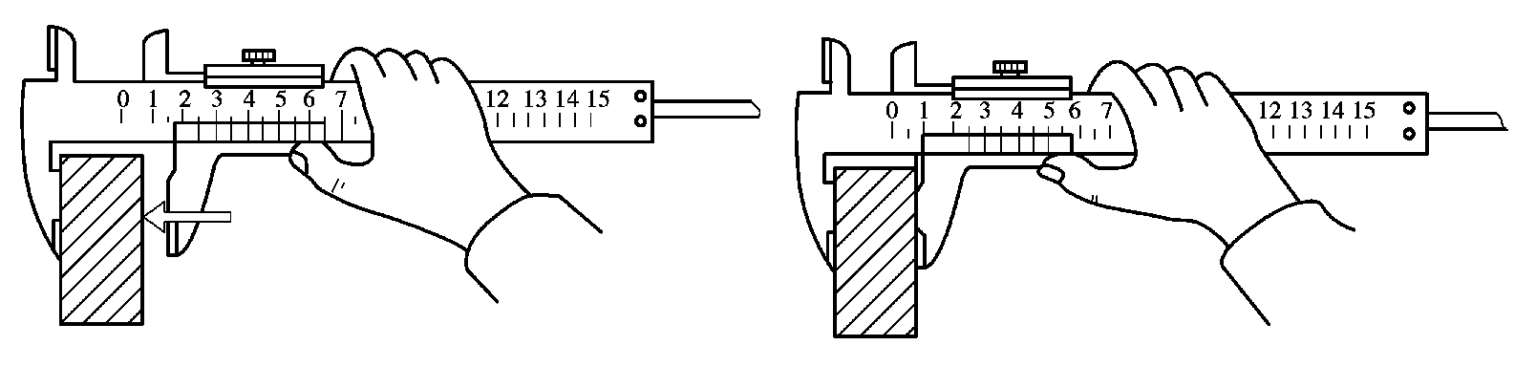
②游标卡尺正确的使用方法应如图 1.15 所示。测量工件时,右手轻握尺身,左手拿着工件或放在工作台上,测量时尺身量爪应紧贴工件被测基准表面,拇指缓缓推动游标,使游标量爪与工件被测表面贴平,锁紧螺钉读值。

图 1.15 游标卡尺正确使用方法

③测量结果与实际尺寸不符,产生测量误差的原因有以下两种:

a.测量工件时,应使尺身量爪与工件基准平面贴平,推动游标时不要用力过猛,否则会使游标量爪倾斜,出现测量误差,其原因是游标与尺身处的簧片被压缩使游标配合间隙增大所致,如图 1.16 所示。

b.测量时,应使两个量爪的宽平面与被测工件表面接触,不宜使用量爪刀口狭窄面测量,这样测量时量爪容易产生歪斜,如图 1.17 所示。

图 1.16 量爪歪斜

图 1.17 错误使用游标卡尺

如果被测工件是一狭窄面或圆柱表面,需要用量爪刀口测量时,游标卡尺应使尺身量爪与工件基准平面平行并推动游标作小范围的上下、左右摆动至游标尺显示尺寸最小的位置,固定后读数。

④测量圆柱件直径时,量爪长度应过半径,如图 1.18(a)所示;测量较大工件时,应用双手握住游标卡尺,如图 1.18(b)所示。测量时,应以尺身量爪为基准使游标至爪微微摆动至游棒卡尺显示最小尺寸,固定游标读值。

图 1.18 圆柱工件和较大工件测量方法

⑤测量工件内径时,应使用量爪刀口狭窄测量面测量,如图 1.19(a)所示。测量时应以尺身固定量爪贴平内孔表面,右手拇指带动游标向外拉,并以固定量爪为基准,游标量爪作上下缓慢摆动(见图 1.19(b)),游标卡尺上所显示的最大读值为实际尺寸。

图 1.19 内径测量方法

⑥当用游标卡尺测量工件沟槽宽度尺寸时,可用游标卡尺内径量爪测量,如图 1.20(a)所示。

⑦当游标卡尺测量沟槽深度时(见图 1.20(b)),测量时用游标卡尺端部与被测工件沟槽基准平面贴平,然后用右手拇指轻轻向下拉动游标,测量杆端面与槽底接触,锁紧游标处螺钉读值。

图 1.20 沟槽测量方法

由于游标端部接触面较小,测量时尺身容易产生歪斜。因此,测量时应将尺身作小范围摆动,游标卡尺上显示的最大读数,为槽深的实际尺寸。

1.3.2 深度游标卡尺

深度游标尺是测量深度尺寸专用量具。深度游标尺分度值及读值原理与游标卡尺的分度值和读值原理相同。常用的深度游标尺,测量范围有 0~150 mm,0~200 mm两种。

普通游标卡尺虽然也具有深度测量功能但欠精确,而深度游标尺较普通游标卡尺,量值稳定,是生产中测量深度使用较多的量具。其分度值有 0.01 mm(数显深度尺),0.02 mm,0. 05 mm,0.1 mm这 4 种。如图 1.21 所示为普通深度游标尺。使用较普遍的是以 0.02 mm和0.05 mm示值精度的深度游标尺。

图 1.21 深度游标尺

1—尺身;2—游标;3—辅助游标;4—螺钉

1.3.3 高度游标卡尺

高度游标卡尺既可用来测量工件高度尺寸,也可利用游标上的硬质合金刀块对工件作精密划线。高度游标卡尺构造如图 1.22 所示。分度值有 0.02 mm,0.05 mm,0.1 mm 3 种,生产中,使用较多的游标高度尺精度是 0.02 mm和 0.05 mm分度值。

高度游标卡尺结构和分度值原理与游标卡尺的原理基本相同。它也有尺身和游标,尺身安装在尺座上,游标和尺身组合成分度值读数。游标上有辅助游标,测量或划线时可进行微量调整。量爪上有一精密的硬质合金刀块,由螺钉固定在游标上,硬质合金刀块底平面与尺座底平面处于同一平面,可进行接触式测量工件的高度尺寸,由于量爪上镶有硬质合金刀块并带有刀刃,因此,也可用来作精密划线工具。

图 1.22 游标高度尺

1—尺身;2—辅助游标;3—螺钉;4—游标;5—螺钉;6—底座;7—量爪

1.3.4 万能角度尺

万能角度尺是测量角度的精密量具。通过角度尺上的元件不同组合,能测量工件内外误差角度。常用游标万能角度尺示值精度有 2′,5′两种。万能角度尺外形构造,如图 1.23 所示。尺身安装在扇形板上,扇形板上装有游标尺与尺身标尺组成读数系统。形板内装有小齿轮与尺身啮合,能自由调整尺身位置,由螺母夹持或放松尺身。支架分别装在扇形板和 90°角尺上,用于固定或组合 90°角尺和直尺。

图 1.23 游标万能角度尺

1—游标;2—尺身;3—紧固螺母;4—扇形板;5—90°角尺;6—直尺;7—支架

万能角度尺分度值原理:尺身上标尺间距每格为 1°,游标上标尺间距是将 29°弧长分为30 等分,即其每一分度值为 58′,因此游标上分度值与尺身上分度值相差 2′,其测量精度误差不超过±2′。

游标万能角度尺使用时可通过 90°角尺和直尺不同的安装位置和组合可分别测量 0°~50°,50°~140°,140°~230°,230°~320°的任意角度误差,如图 1.24 所示。

1.3.5 外径千分尺

外径千分尺是生产中常用的测量工具。外径千分尺的构造如图 1.25 所示。外径千分尺可根据被测对象不同的要求,只要更换测微螺杆和测砧端部形状,可测量齿轮公法线变动量和普通螺纹的中径尺寸。典型的结构有公法线千分尺、尖头千分尺和螺纹千分尺等。

千分尺规格较多,测微螺杆的螺纹有效长度基本上都是 25 mm,规格大小只是尺架宽度尺寸变化不同而已。选用时,可根据工件实际尺寸选一相应尺寸的规格。千分尺的规格以测量范围分有 0~25 mm,25~50 mm,50~75 mm,75~100 mm,100~125 mm,125~150 mm,150~175 mm等多种常用规格。

图 1.24 游标万能角度尺的应用

图 1.25 千分尺外形图

1—尺架;2—测砧;3—测微螺杆;4—隔热装置;5—锁紧装置;6—固定套管;7—微分筒;8—测力装置

千分尺读数原理及结构基本相同。固定套管外径上有基准零线,基准零线两侧刻有分度值刻线,每格分度值为 0.5 mm,固定套管内径有一精密的内螺纹与测微螺杆上螺纹配合,螺距为 0.5 mm,微分筒与测微螺杆为微量过盈配合,因此微分筒转一周测微螺杆则移动 0.5 mm距离。由于微分筒圆锥表面上刻有 50 等分度值刻线,每挡分度值为 0.5÷50=0.01 mm,因此,微分筒每转一小格表示分度值为 0.01 mm。

对千分尺读数时,先从固定套管分度线中读出mm数值,再从微分筒圆锥表面读出小数值。如图 1.26(a)所示,在微分筒左侧端面所能看到的固定套管上的刻线分度值是 10 mm,而10 mm以上分度线未能看到,微分筒上与固定套管基准线对齐的刻线分度值是 25,正确的读值应为 10.25 mm;如图 1.26(b)所示,在微分筒左侧端面所能看到的固定套管上的刻线分度值是 10.5 mm,而 10.5 mm以上分度线未能看到,微分筒上与固定套管基准线对齐的刻线分度值是 26,正确的读值应为 10.76 mm。

图 1.26 千分尺读值方法

1.3.6 百分表

百分表是比较量表,常用于测量工件的尺寸、形状和位置误差。百分表的测量结果直观、方便、灵敏度较高、应用较广的量具。百分表根据使用功能(安装在特殊的框架上)可组成专用量具,如深度百分表、测厚百分表和内径百分表等多种。按照其结构特点,可分为钟面式百分表和杠杆式百分表等。

图 1.27 钟面式百分表结构图

1—可换触头;2—量杆;3—齿轮;4—齿轮 2;5—齿轮 3;6—长指针;7—齿轮;8—短指针;9—表盘;10—转动表圈;11—拉簧

钟面式百分表结构原理,如图 1.27 所示。它由可更换淬硬触头 1 与量杆 2 螺纹联接,量杆上铣有齿条与小齿轮 3 啮合;齿轮 4 与本齿轮 3 同轴组成双联齿轮;齿轮 4 与齿轮 5 啮合,齿轮 5 上装有长指针 6 与齿轮 5 同步转动;齿轮 5 与齿轮 7 啮合,齿轮 7 下面装有盘形弹簧,起消除齿轮间隙作用,齿轮 7 上装有短指针 8,转动时带动短指针同时转动;转动表圈 10 可调整表盘与指针的相对位置。拉簧使量杆复位并有消除齿轮间隙作用。钟面式百分表传动,通过齿条与齿轮啮合传递动力带动指针(长指针、短指针)转动,由于结构上采用弹簧消隙,因此,指针能精确显示量杆量程的尺寸。

测量时,量杆移动 1 mm,大指针正好回转一周。百分表表盘上沿圆周共刻有 100 个等分格,其刻度值为 0.01 mm。测量时,大指针转过 1 格刻度,表示尺寸变化为 0.01 mm。注意,量杆要有 0.3~1 mm的预压缩量,以保持一定的初始测力,以免偏差测不出来。

1.3.7 光滑极限量规

光滑极限量规(见图 1.28)具有孔或轴的最大极限尺寸和最小极限尺寸为公称尺寸的标准测量面(测头),能反映控制被检孔或轴边界条件的无刻线长度测量器具。使用量规可检验被检尺寸不超过最大极限尺寸,以及不小于最小极限尺寸。其结构简单,通常是一些具有准确尺寸和形状的实体。它可分通规和止规,如圆柱体、圆锥体、块体平板等。

图 1.28 光滑极限量规

(1)通规

模拟最大实体边界,检验孔、轴或距离的体外作用尺寸是否超过最大实体边界,测头在允许公差内通过被检要素。

(2)止规

检验孔、轴或距离的实际尺寸是否超过最小实体尺寸,测头在允许公差内不能通过被检要素。

1.3.8 水平仪

水平仪(见图 1.29)是一种测量小角度的常用量具。它主要应用于检验各种机床及其他类型设备导轨的直线度和设备安装的水平位置和垂直位置。它也能应用于小角度的测量和带有V形槽的工作面,还可测量圆柱工件的安装平行度,以及安装的水平位置和垂直位置。按水平仪的外形不同,可分为万向水平仪、圆柱水平仪、一体化水平仪、迷你水平仪、相机水平仪、框式水平仪、尺式水平仪;按水准器的固定方式,可分为可调式水平仪和不可调式水平仪。

图 1.29 水平仪

水平仪是以水准器作为测量和读数元件的一种量具。水准器是一个密封的玻璃管,内表面的纵断面为具有一定曲率半径的圆弧面。水准器的玻璃管内装有黏滞系数较小的液体,如酒精、乙醚及其混合体等。没有液体的部分通常称为水准气泡。玻璃管内表面纵断面的曲率半径与分度值之间存在着一定的关系,根据这一关系即可测出被测平面的倾斜度。特别是在测垂直度时,磁性水平仪可以吸附在垂直工作面上,不用人工扶持,减轻了劳动强度,避免了人体热量辐射带给水平仪的测量误差。

1.3.9 量具的使用与保养

量具是技术工人在工作中不可缺少的。在使用量具时,应根据被测零件的尺寸、形状和位置精度要求合理地选择量具,以保证量具的测量范围、精度能满足被测零件的要求。使用前,必须检查量具本身精度,如发现零位不准,应交计量人员校正。在使用过程中,应轻拿轻放,严格按照各种量具的使用方法进行操作和测量,并按照计量规定按期进行量具的周检。当使用外径千分尺进行测量时,应辅以游标卡尺测量,以保证“大数”不错、“小数”精确,避免出现“0.5 mm”的误差,使工件报废或返工。

在实际检验过程中,还需根据生产性质来选择量具。在大批量及成批生产中,应尽量选用专用工具,以提高检测速度,降低劳动强度和生产成本;在单件和小批量生产中,则应选用合适的万能工具。

量具的使用和保养要注意以下事项:

①不要用油石、砂纸等硬物刮擦量具的测量面和刻度部分,若使用过程中发生故障,应及时送交修理人员进行检修。操作者严禁随意拆卸、改装和修理量具。

②不要用手抓摸量具的测量面和刻度线部分,以免量具生锈,影响测量精度。

③不可将量具放在磁场附近,以免量具被磁化。

④严禁将量具当作其他工具使用。

⑤量具用完后立即仔细擦净上油,有工具盒的要放进原工具盒中。

⑥精密量具暂时不用时,应及时交回工具室保管。

⑦精密量具不可测量温度过高的工件。

⑧量具在使用过程中,不要与工具、刀具混放在一起,以免破坏。

⑨粗糙毛坯和生锈工件不可用精密量具进行测量,如非测量不可,可将被测部位清理干净并去除锈蚀后再进行测量。

⑩一切量具均应严防受潮、生锈,存放在通风、干燥的地方。 BnzWmu0E7/mSfYzqNhwEJx+XDDqxZfxt6X6DXTpcQ7+QVY6vpbOo+RDXn5XJtq9V

点击中间区域
呼出菜单
上一章
目录
下一章
×

打开