购买
下载掌阅APP,畅读海量书库
立即打开
畅读海量书库
扫码下载掌阅APP

项目1.2
钳工常用设备

1.2.1 钳台

钳工工作位置除了机器装配外,大多在钳工工作台上进行零件加工和零部件装配工作,工作台是钳工主要工作位置。

钳工工作台(也称钳台)如图 1.1 所示,由木质材料制成或钢质材料焊接而成。如图 1.1(a)所示为钳台外形。钳台由台虎钳、防护网(防止錾削飞屑)、测量用小平板及工作灯组成。

按文明生产和操作效能的要求,操作时工量具的安放位置有一定的要求。按使用方便定位,即右手使用的工具放置在台虎钳的右侧,左手使用的工具放置在台虎钳的左侧,放置在搁板或远离手工具,工具间应安放整齐,相互间不能叠放,以免碰损工具或量具。根据安全生产要求,手工具放置在钳台上时不允许露出工作台,以免台虎钳手柄转动、损害工件或造成工伤事故。暂时不用的工具应按如图 1.1(b)所示的方式安放在抽屉内,以防止工具之间互相碰撞磨损,影响使用效能。

钳台的高度一般为 800~900 mm,为了提高锉削效能、减少体力消耗和疲劳,应根据本人身高选择适合本人高度的钳台。钳台应放置在便于工作和光线适宜的地方,钳台间的间距不应少于 800 mm,工作场地应经常保持整洁,养成文明生产和安全生产的习惯。

图 1.1 钳工操作工作台

1.2.2 台虎钳

台虎钳是用来夹持工件的通用夹具,其规格以钳口的宽度来表示,常用的有 100 mm(4 in),125 mm(5 in),150 mm(6 in)等。台虎钳有固定式和回转式两种,其结构基本相同,如图 1.2 所示。如图 1.2(a)所示为固定式台虎钳,固定式台虎钳刚性好,能承受较大的冲击载荷;如图 1.2(b)所示为回转式台虎钳,虎钳钳座可沿底座轴线任意回转,便于零件任意角度的加工。

图 1.2 台虎钳

1—活动钳;2—钳座;3—螺杆;4—螺母;5—手柄;6—压簧;7—垫圈;8—开口销;9—淬硬钳口;10—螺钉;11—底座;12—固定螺栓;13—压盘

台虎钳的正确使用与维护方法如下:

①台虎钳安装在钳台上时,必须使固定钳身的钳口工作面处于钳台边缘之外,以便在夹紧长条工件时,工件的下端不受钳台边缘的阻碍。台虎钳安装在钳台上的高度应恰好与人的手肘相齐,如图 1.3 所示。

图 1.3 选择钳台高度的方法

②台虎钳必须牢固地固定在钳台上,夹紧螺钉要扳紧,使工作时钳身不致有所松动现象,否则会影响工作。

③夹紧工件时,必须靠手的力量来搬动手柄,不可锤击或随意加套管来搬动手柄,以免对丝杠、螺母或钳身造成破坏。

④强力作业时,应尽量使力量朝向固定钳身,否则将额外增大丝杠和螺母的受力。不要在活动钳身的光滑平面上进行敲击作业,以免降低其与固定钳身的配合性能。

⑤台虎钳各滑动配合表面上要经常加润滑油并保持清洁,以防止生锈。

1.2.3 钻床及钻床附件

(1)钻床

钻床是一种常用的孔加工机床。在钻床上可装夹钻头、扩孔钻、锪钻、铰刀、丝锥等刀具,用来进行钻孔、扩孔、锪孔、铰孔、镗孔以及攻螺纹等工作。因此,钻床是钳工所需要的主要设备。常用的钻床有台钻、立钻和摇臂钻床 3 种。

1)台钻

图 1.4 台式钻床

台式钻床简称台钻,如图 1.4 所示。它是一种体积小巧,操作简便,通常安装在专用工作台上使用的小型孔加工机床。台式钻床的结构由机头、立柱、电动机、底座及电气部分组成,钻孔直径一般在 13 mm以下,最小可加工 0.1 mm的孔,最大不超过 16 mm,其主轴变速一般通过改变三角带在塔形带轮上的位置来实现,有些台式钻床也采用机械式无级变速机构,小型高速台式钻床的电动机转子直接安装在主轴上。台式钻床主轴一般只有手动进给,而且一般都有控制钻孔深度的装置,如刻度尺、刻度盘、定程装置等。

台式钻床由于其结构简单,操作方便、灵活,是生产中使用较多的设备,适用于小型零件的钻削加工。

2)立钻

立式钻床一般用来钻削中小型工件上的较大孔,钻孔直径大于或等于 13 mm。由于立钻的结构较台钻完善,功率较大,又可实现机动进给,因此获得较高的生产效率和较高的加工精度。同时,它的主轴转速和机动进给量都有较大的调节范围,可适用于不同材料的加工,以及进行钻、扩、铰孔及攻螺纹等多种方式的孔加工。

如图 1.5 所示为立式钻床。它主要由主轴、变速箱、进给箱、工作台、立柱及底座等组成。加工时,工件通过夹具安装在工作台上或直接放在工作台上,刀具安装在主轴上,由电动机带动主轴旋转又做轴向进给运动。利用操纵手柄可方便地控制钻头进给,快速退回,以及主轴正、反转等操作。进给操纵机构具有定程切削装置。当接通机动进给,钻至预定深度时,进给运动会自动断开。当攻螺纹至预定深度时,控制主轴可反转,使刀具自动退出,工作台、变速箱和进给箱都安装在方形立柱的垂直导轨上,可上下调整位置,以适合加工不同高度的工件。

3)摇臂钻床

摇臂钻床适用于对单件、小批、中批量生产的中等件和大件进行各种孔加工。由于它是靠移动主轴来对准工件上孔的中心,因此,使用时比立式钻床方便。摇臂钻床的主轴变速箱能在摇臂上作较大范围的移动,而摇臂又能绕立柱回转 360°,并可沿立柱上下移动,因此,摇臂钻床能在很大范围内工作。加工时将工件压紧在工作台上,也可直接放在底座上。摇臂钻床的主轴转速范围和走刀量范围都很广,因此可获得较高的生产效率及加工精度。下面介绍Z3040 摇臂钻床,如图 1.6所示。

图 1.5 立式钻床

图 1.6 Z3040 摇臂钻床

1—立柱;2—摇臂;3—立柱底座;4—底工作台;5—转速表;6—主轴;7—活动工作台;8—自动进给手柄;9—锁紧手柄;10—主轴箱;11—变速手柄;12—升降丝杠;13—锁紧手柄

①Z3040 摇臂钻床规格

Z3040 摇臂钻床的规格如下:

最大钻孔直径 ϕ 40 mm

主轴锥孔锥度 莫氏 4 号锥度

主轴最大行程 315 mm

主轴中心线至立柱母线最大距离 1 250 mm

主轴箱水平移动距离 900 mm

主轴端面至底座工作面距离 350~1 250 mm

摇臂升降距离 600 mm

摇臂升降速度 1.2 m/min

摇臂回转角度 360°

主轴转速 25~2 000 r/min

主轴进给量 0.04~3.2 mm/r

刻度盘每转钻孔深度 122.5 mm

主轴最大扭矩 400 N·m

主轴最大进给力 16 000 N

主电动机功率 3 kW

机床轮廓尺寸(长×宽×高) 2 170 mm×1 035 mm×2 625 mm

机床质量 3 200 kg

②Z3040 摇臂钻床结构特点

摇臂钻床如图 1.6 所示为摇臂钻床的外形构造。它由立柱、摇臂、主轴箱、立柱座及底工作台组成。由于摇臂可沿中心回转,以及主轴箱可在摇臂导轨上移动,摇臂钻床的加工范围大,适用于较大工件的钻孔、扩孔、锪孔及攻丝等加工。

摇臂钻床的结构特点是:立柱 1 安装在底工作台 4 立柱座 3 内,并由立柱顶部内的锁紧机构将立柱自动放松或锁紧。立柱 1 能沿立柱座 3 中心回转,并带动安装在立柱上的摇臂 2作水平回转,摇臂可沿立柱作 360°回转。因此,摇臂钻床安装后应用底脚螺栓固定,以免使用时机床有倾倒危险。

摇臂由立柱上的升降丝杠 12 传动可作上下运动,由摇臂上锁紧手柄 13 固定在立柱上。主轴箱 10 安装在摇臂 2 导轨上,可作手动水平移动,当其位置确定后由操纵手柄 9 将主轴箱固定在所需位置。

主轴 6 锥孔可安装莫氏 4 号锥度钻头或铰刀,最大钻孔直径为 ϕ 40 mm,可进行钻孔、扩孔、锪孔及铰孔,锥孔内安装攻丝夹头还可进行机动攻螺纹等作业。

主轴通过手柄 11 可作上下移动和变速,并通过手柄 11 可控制作手动和自动进给运动。

(2)钻床附件

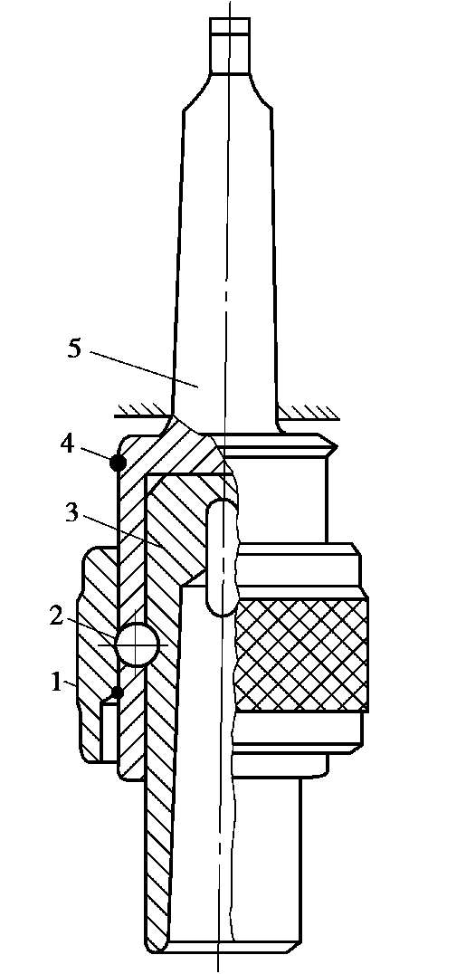
1)钻夹头

钻夹头可用来装夹 ϕ 13 mm以下的直柄钻头或铰刀的通用夹具。它可直接装在台钻的主轴上,也可安装在莫氏锥柄在立钻或摇臂钻床上使用。

钻夹头的结构如图 1.7 所示。它由铣有 3 等分槽的夹头体 1 上,分别装有内螺纹圈 5 和 3 个夹爪 4,由夹头套 2 固定,夹头套 2 一端铣有端齿,与钥匙 3 上的锥齿啮合,转动钥匙 3 带动夹头套 2 转动带动内螺纹圈 5 使夹爪 4 对钻头作夹紧和放松。

图 1.7 钻夹头

1—夹头体;2—夹头套;3—钥匙;4—夹爪;5—内螺纹圈

2)钻头套

钻头套(见图 1.8)用来装夹锥柄钻头,应根据钻头锥柄莫氏锥度的号数选用相应的钻头套。

一般立式钻床主轴的锥孔为 3 号或 4 号莫氏锥度,摇臂钻床主轴的锥孔为 5 号或 6 号莫氏锥度。

当用较小直径的钻头钻孔时,用一个钻头套有时不能直接与钻床主轴锥孔相配,此时就要把几个钻头套配接起来应用。

钻头套共有以下 5 号:

1 号钻头套:内锥孔为 1 号莫氏锥度,外圆锥为 2 号莫氏锥度。

2 号钻头套:内锥孔为 2 号莫氏锥度,外圆锥为 3 号莫氏锥度。

3 号钻头套:内锥孔为 3 号莫氏锥度,外圆锥为 4 号莫氏锥度。

4 号钻头套:内锥孔为 4 号莫氏锥度,外圆锥为 5 号莫氏锥度

5 号钻头套:内锥孔为 5 号莫氏锥度,外圆锥为 6 号莫氏锥度。

图 1.8 钻头套

把几个钻头套配接起来应用时,要增加装拆的麻烦,同时也要增加钻床主轴与钻头的同轴度误差。为此,有时可采用特制的钻头套,如锥孔为 1 号莫氏锥度,而外圆锥为 3 号莫氏锥度或更大的号数。

如图 1.8(b)所示为用斜铁将钻头从钻床主轴锥孔中拆下的方法。拆卸时,斜铁带圆弧的一边要放在上面,否则要把钻床主轴(或钻头套)上的长圆孔敲坏。同时,要用手握住钻头或在钻头与钻床工作台之间垫上木板,以防钻头跌落而损坏钻头或工作台。

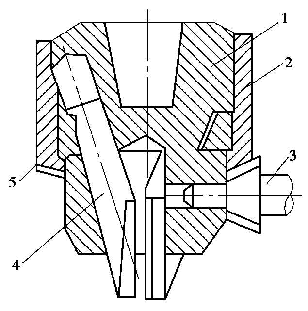
3)快换钻夹头

在钻床上加工同一工件时,往往需要调换直径不同的钻头(或铰刀等)。这时,如用普通的钻夹头或钻头套来装夹工具,就显得很不方便,而且多次借助于敲打来装卸刀具,不仅容易损坏刀具和钻头套,甚至影响到钻床的精度。

使用快换钻夹头能避免上述缺点,并可做到不停车换装刀具,大大提高了生产效率。快换钻夹头的结构如图 1.9所示。

图 1.9 中,5 是夹头体,它的莫氏锥柄装在钻床主轴锥孔内。3 是可换套,根据孔加工的需要备有很多个,并预先装好所需的刀具。可换套的外圆表面有两个凹坑,钢球 2 嵌入时便可传递动力。1 是滑套,其内孔与夹头体为间隙配合。当需要换刀具时,不必停机,只要用手把滑套向上推,夹头体上对称的两粒钢球受离心力作用使两钢球贴于滑套端部的大孔表面。此时,就可把装有刀具的可换套取出,把另一个可换套插入,并放下滑套,使两粒钢球重新嵌入可换套的两个凹坑内,可换套就装好了。弹簧环 4 可限制滑套上下时的位置。

图 1.9 快换钻夹头

1—滑套;2—钢球;3—可换套;4—弹簧环;5—夹头体

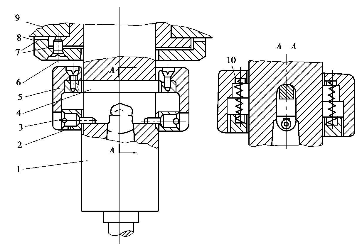
无论采用快换钻夹头或普通钻夹头和钻头套,加工完毕后从钻床主轴锥孔中退卸这些工具,都免不了一般用斜铁敲打的方法。为了避免这种缺点,可采用自动退卸装置。只要在钻床主轴上装上这个装置,就可方便地退卸钻头或钻头套等工具。其结构如图 1.10 所示。

图 1.10 自动退卸钻头装置

1—钻床主轴;2—挡圈;3—螺钉销;4—横销;5—外套;6—垫圈;7—橡胶垫;8—导向套;9—钻床主轴箱;10—弹簧

其外套 5 和挡圈 2 与钻床主轴 1 空套在一起,横销 4 穿过主轴的长圆孔并和外套固定在一起。两个螺钉销 3 卡在主轴长圆孔的下圆弧面上,将挡圈托住,在外套和挡圈之间装有两个弹簧 10,用来支承外套。

退卸钻头等工具时,只要将钻床主轴向上提起,使外套上端面碰到装在钻床主轴箱 9 上的垫圈 6,横销就会迫使钻头等工具退出。

垫圈和导向套 8 之间应留有一定的间隙。垫圈与主轴箱、导向套的接触部分要垫一个硬橡胶垫 7,以减少退卸时对主轴箱和导向套的振动,保护钻床的精度。垫圈的结构还可根据钻床的具体构造来确定。

1.2.4 砂轮机

砂轮机主要用来磨削各种刀具和工具,如錾子、钻头、刮刀、车刀及铣刀等刀具或样冲、划针等工具,还可用来磨去工件或材料上的毛刺、锐边等。砂轮机主要由砂轮、电动机、机座、托架及防护罩组成,如图1.11 所示。

为了减少尘埃污染,砂轮机最好带有吸尘装置。砂轮质地较脆,工作时转速很高,使用时用力不当会发生砂轮碎裂造成人身事故。因此,安装砂轮时,一定要使砂轮平衡,装好后必须先试转,检査砂轮转动是否平稳,有无振动或其他不良现象。使用时,要严格遵守以下安全操作规程:

图 1.11 砂轮机

①砂轮的旋转方向应正确,以使磨尘向下方飞离砂轮。

②砂轮启动后,应先观察运转情况,待转速正常后才能进行磨削。

③磨削时,操作者应站在砂轮的侧面或斜侧位置,不要站在砂轮的正面。

④磨削时工件或刀具不要对砂轮施加过大的压力或撞击,以免砂轮碎裂。

⑤要经常保持砂轮表面平整,发现砂轮表面严重跳动,应立及修复。

⑥砂轮的托架与砂轮间的距离一般保持在 3 mm以内,以免磨削件卡入向使砂轮破裂。 +qM5yAaay5bWbarXQshSMsSWjVgBDCyvVlHYdewxr+qr+PiRIu/3OdduEtvXQHjv

点击中间区域
呼出菜单
上一章
目录
下一章
×

打开