购买
下载掌阅APP,畅读海量书库
立即打开
畅读海量书库
扫码下载掌阅APP

项目2.2
锯削

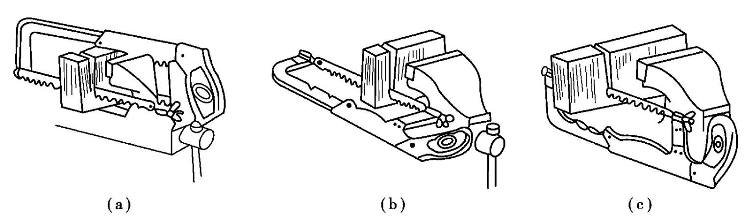
用手锯对材料(或工件)进行锯断或锯槽等加工方法,称为锯削。如图 2.33(a)所示为把材料(或工件)锯断,如图 2.33(b)所示为锯掉工件上的多余部分,如图 2.33(c)所示为在工件上锯槽。

图 2.33 锯削的应用

2.2.1 手锯

锯子是由锯弓和锯条组成的锯削工具。

(1)锯弓

锯弓是用来张紧锯条的。它有固定式和可调节式两种(见图 2.34)。

图 2.34 锯弓

固定式锯弓只能安装一种长度的锯条。可调节式锯弓则可通过调整可以安装几种长度的锯条。锯弓两端各有一个夹头,锯条孔被夹头上的销子插入后,旋紧翼形螺母就可把锯条拉紧。

(2)锯条

锯条一般用渗碳钢冷轧而成,也有用碳素工具钢或合全钢制成,并经热处理淬硬。

1)锯条长度

锯条长度是以两端安装孔的中心距来表示的,钳工常用的手工锯条长 300 mm,宽12 mm,厚0.8 mm。

2)锯路

锯条的切削部分是由许多锯齿组成的,像是一排同样形状的錾子。为了减少切割时的摩擦并避免锯割时将锯条卡在锯缝内,在制造锯条时,全部锯齿是按一定的规则左右错开,排列成一定的形状称为锯路。锯路分为交叉形和波浪形。较大齿距的锯条排列成一齿向左,一齿向右,称为交叉形锯路(见图2.35(a));如齿距较小,以 2~3 齿偏左,2~3 齿偏右的排列,称为波浪形锯路(见图 2.35(b))。这样,锯削时锯条不会被卡住,锯条与锯缝的摩擦阻力也较小,因此工作比较顺利,锯条也不致过热而加快磨损。

图 2.35 锯路

3)锯齿粗细

锯齿的粗细是以锯条每 25 mm长度内的齿数来表示的,14~18 齿为粗齿,24 齿为中齿,32 齿为细齿。粗齿锯条用于加工软材料或厚材料;中等硬度的材料选用中齿锯条;硬材料或薄材料锯削时一般选用细齿锯条。

2.2.2 锯削方法

(1)锯条的安装

手锯是在向前推进时进行切削的,而在向后返回时不起切削作用。因此,安装锯条时一定要保证齿尖的方向朝前。如图 2.36(a)所示为锯条正确的安装方向,齿尖向前安装;如图2.36(b)所示为锯条错误安装方向。

图 2.36 锯条安装

安装锯条时,松紧要适当。太紧使锯条受力太大,在锯削中稍有卡阻而受到弯折时,就很易崩断;太松则锯削时锯条容易扭曲,也很可能折断,而且锯缝容易发生歪斜。装好的锯条应使它与锯弓保持在同一中心平面内,这对保证锯缝正直和防止锯条折断都比较有利。

锯条调整紧松程度检查:用以手指轻轻扳动锯条面,如果轻轻扳动锯条面,锯条与销钉有明显的松动即显得太松;如果手指板动锯条感觉涨度太硬,则锯条安装显得太紧。锯条合理的安装涨度用翼形螺母调紧后再逆时针倒回半周,合适的涨度是用手扳动锯条时有一定弹性。

锯条安装涨度适中不仅能减少锯条折断的机会,而且对锯削质量有关,锯条涨度过松,锯削时锯弓摇摆不易掌握,会使锯缝歪斜;锯条涨度过硬,则锯削时不易纠偏,同样会使锯削时锯缝引起歪斜。

(2)锯削基本方法

1)锯弓的握法及运动方式

锯弓的握法正确与否,对锯削质量、安全生产和锯削效率有较大的影响。握锯弓时,右手紧握锯弓手把,掌心对准手把宽度方向,虎口对准手把凹陷处,当推锯弓锯削时使锯弓与手臂成一直线。左手食指、中指、无名指和小指勾住锯弓的弓架前端,拇指顶住弓背,左手稳住锯弓并控制锯条垂直锯削方向的调整。锯削时,右手推锯左手把握锯削方向,两手密切配合,如图 2.37 所示。

锯削时,锯弓前进的运动方式有两种:一种是直线运动,两手均匀用力,向前推动锯弓;另一种是弧线运动,在前进时右手下压而左手上提,操作自然,可减轻疲劳。一般锯缝底面要求平直的槽子和薄壁工件适用前一种运动方式,而锯断材料时大都采用后一种运动方式。两种方式在回程中都不应对手锯施以压力,否则会加快锯齿的磨损。

2)锯削姿势

锯削时,人体质量均分在两腿上,右手握稳锯柄,左手扶在锯弓前端,锯削时推力和压力主要由右手控制。左手所加压力不要太大,其主要任务是扶正锯弓的作用。锯弓推至终点回程中,不应施加压力,以免锯齿加速磨损。当右手推锯时身体也随之前倾,如图 2.38 所示。这样,可以身体摆动增加右手的推力,以减缓右手的疲劳,提高工作效率。

图 2.37 锯弓的握法

图 2.38 锯削姿势

3)锯削速度

锯削速度以 30~40 次/min为宜。锯削速度可根据材料的软硬程度可作相应的调整。锯削软材料时,可适当快些;锯削硬材料时,应慢些。锯削速度过快,锯条容易发热会加速磨损,使锯条移动行程距离缩短,由于锯条长度上磨损不一致,锯缝变狭会卡住锯条,引起锯条折断。因此锯削时不要集中在某一程度范围内使用,要求推锯时尽可能使 300 mm锯条长度能有效地锯削(锯削往复长度不应少于锯条全长的 2/3)。

当锯削钢质件时,可使用乳化液或煤油冷却,以减缓锯条的磨损。

4)起锯方法

起锯是锯削的开始。起锯质量好坏影响锯削质量。起锯不当还会划伤工件表面或使锯条崩齿。起锯时,以拇指作为定位点,锯条紧贴拇指导向。起锯有两种方法:如图 2.39(a)所示为远起锯,以锯条的中部或前端起锯;如图 2.39(b)所示为近起锯,上锯时使用锯条后端起锯。一般情况下,建议采用远起锯,因为此时锯齿是逐步切入材料,锯齿不易被卡住,起锯比较方便。若采用近起锯,掌握不好时,锯齿由于突然切入较深的材料,锯齿容易被工件棱边卡住,甚至崩齿。起锯时,施加的压力要小,往复行程要短,速度要慢些。

图 2.39 起锯方法

起锯时锯条与工件表面的 α 角,称为起锯角。如图 2.40(a)所示为远起锯起锯角,不会卡齿,起锯比较方便;如图 2.40(b)所示为近起锯起锯角;如图 2.40(c)所示,起锯角太大,起锯不易平稳,但起锯角也不宜太小。

图 2.40 起锯角

5)锯削方法及工件夹持方式

①棒料的锯削。

棒料的锯削断面如果要求比较平整,应从起锯开始连续锯到结束。若锯出的断面要求不高,可改变几次锯削的方向,使棒料转过一个角度再锯。这样,由于锯削面变小而容易锯入,可提高工作效率。

锯毛坯材料时,断面质量要求一般不高,为了节省时间,可分几个方向锯削,每个方向不锯到中心,然后把它折断(见图 2.41)。

图 2.41 棒料的锯削

②管子的锯削(见图 2.42)。

图 2.42 管子的装夹及锯削

锯削管子时,首先要把管子正确地装夹好。对于薄壁管子和加工过的管件,应夹在有V形或弧形槽的木块之间,以防夹扁和夹坏表面。锯削时必须选用细齿锯条,一般不要在一个方向从开始连续锯到结束,因为锯齿容易被管壁钩住而崩断,尤其是薄壁管子更应注意这点。正确的方法是锯到管子内壁处,然后把管子转过一个角度,仍旧锯到管子的内壁处,如此逐渐改变方向,直至锯断为止。薄壁管子改变方向时,应使已锯的部分向锯条推进方向转动,否则锯齿仍有可能被管壁钩住。

③薄板料的锯削。

锯薄板料除选用细齿锯条外,要尽可能从宽的面上锯下去,锯条相对工件的倾斜角应不超过 45°,这样锯齿不易被钩住。如果一定要从板料的狭面锯下去时,应把它夹在两木块之间,连木块一起锯下,也可避免锯齿钩住,同时也增加了板料的刚度,锯削时不会弹动(见图2.43(a));或者,把薄板料夹在台虎钳上,用手锯作横向斜推锯,使锯齿与薄板接触齿数增加,避免锯齿崩裂(见图 2.43(b))。

图 2.43 薄板的锯削

④锯深缝。

当工件的锯缝深度超过锯弓高度时,属于深缝(见图 2.44(a))。这时,工件应夹在台虎钳的左面,以便操作。为了控制锯缝不偏离划线,锯缝线需要与钳口侧面保持平行,距离约20 mm。工件夹装要牢靠,要防止工件变形或被夹坏,又要防止工件在锯削时弹动,从而损坏锯条或影响锯缝质量。当锯弓碰到工件前,应将锯条转过 90°重新安装,使锯弓转过工件的左侧(见图 2.44(b)),也可把锯条安装成使锯齿朝锯内进行锯削(见图 2.44(c))。

图 2.44 锯深缝

2.2.3 锯削的质量分析

(1)锯条损坏的原因分析

锯条损坏的现象有崩齿、折断和过早磨损 3 种。

1)锯齿崩齿的原因

①锯薄板料和薄壁管子时没有选用细齿锯条。

②起锯角太大或采用近起锯时用力过大。

③锯割时突然加大压力,有时也要被工件棱边勾住锯齿而崩裂。

当锯齿局部几个崩裂后,应及时把断裂处在砂轮机上磨光,并把后面二三齿磨斜,如图2.45所示。再用来锯割时,后面的齿就不会继续崩裂。如果不这样的处理,继续使用时将导致后面锯齿连续崩裂,造成无法使用。

图 2.45 锯齿崩断的处理

2)锯条折断的原因

①锯条装得过紧或过松。

②工件装夹不正确,产生振动或松动。

③锯缝歪斜后强行借正,使锯条扭断。

④压力太大,当锯条在锯缝中稍有卡紧时就容易折断;锯割时突然用力也会引起折断。

⑤新换锯条在旧锯缝中被卡住而折断口一般应改换方向再锯割。如在旧锯缝中锯割时,应减慢速度和特别细心。

⑥工件锯断时没有掌握好,致使手锯碰撞台虎钳等物,而锯条被折断。

⑦锯条长时间在短程范围内工作,齿部磨损不均匀。

3)锯齿过早磨损的原因

①锯割速度太快,使锯条发热过度而锯齿磨损加剧。

②锯割较硬材料时没有加冷却液。

③锯削时向下压力过大,也会过早地磨损材料。

(2)锯割时的废品分析

①起锯时未定位好尺寸锯线。

②锯弓未掌握好,锯缝歪斜过多,超出要求范围。

③起锯时把工件表面锯坏。

(3)锯割的安全技术

①要防止锯条折断时从锯弓上弹出伤人。因此,要特别注意工件将要锯断时压力应减小,以免因用力过大工件或锯条断裂,造成手撞击台虎钳受伤。

②工件被锯下的部分要防止跌落砸在脚上。

③起锯时施力过大,工件或手容易划伤。

复习题

1.什么叫锯条的锯路?它有何作用?

2.为什么锯条装得太紧和太松都不好?

3.锯削速度为什么不宜太快或太慢?

4.为什么远起锯一般都比近起锯要好?

5.怎样按加工对象正确选择锯条的粗细?

6.锯管子和薄板料为什么容易断齿?怎样防止?

7.分析锯条折断的原因。 +qM5yAaay5bWbarXQshSMsSWjVgBDCyvVlHYdewxr+qr+PiRIu/3OdduEtvXQHjv

点击中间区域
呼出菜单
上一章
目录
下一章
×

打开