



库存形成的原因是供给与需求不匹配。图1-3中的蓄水池水位状态代表库存。当注水速度和排水速度相同时,蓄水池的水位稳定。如果注水速度与排水速度始终相同,那么蓄水池没有必要存在。当注水速度大于排水速度时,水位上升,极端情况下水可能溢出,称为“胀库”。当注水速度小于排水速度时,水位下降,极端情况下水位可能下降至0,称为“缺货”。
图1-3 库存形成的原因
注水速度就好比供给,排水速度好比需求,供需完全匹配是理想状态,因为供给和需求都存在不确定性,所以供需不匹配才是常态。因此,供应链中通常都存在库存。
供给的不确定性受很多因素的影响,比如供给端产能约束、规模经济效应、产品价格波动、供应风险预期等。企业为了应对未来需求增加,在有限的产能下提前生产,通过储备库存,使有限的产能也能满足旺季销售需求,降低缺货成本。如果未来需求没有如预期般增长,就会产生供给过剩。规模经济效应是非常普遍的影响因素,会提高供需不匹配的程度,常发生于生产、采购和运输过程中。供应端因为规模经济效应大批量生产以获得较低的单位产品成本,需求端也可能因为诱人的批量折扣价格而进行大批量采购,大运量的运输方式可以显著降低单位运输成本,这些都可能带来大量库存。还有一些原因会形成库存,例如产品价值的波动会使部分卖家囤积居奇,又或者政府为了稳定市场而储备粮肉。除此之外,不可抗力、贸易摩擦、劳资纠纷等因素可能导致供应链中断,企业可能为了防范缺货风险而持有库存。
需求是供应链最不可控的因素之一。需求的不确定性广泛表现在数量、品类、时间、空间等方面,供应链的传导机制导致的牛鞭效应,还可能进一步放大需求的不确定性。库存优化途径之一是尽可能地降低需求的不确定性,比如通过对需求预测方法的研究,提高需求预测的精度,或者通过设计商业模式,竭尽所能地把不确定需求转化为确定需求,比如设计按订单生产模式等。
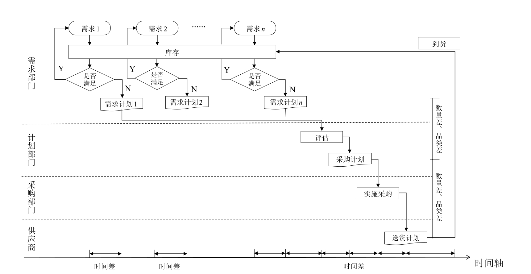
除了供应端和需求端各自的不确定性外,时间差也是供给和需求之间不匹配的重要因素,空间上的不匹配通过运输的跨越也可以转化为时间问题。图1-4展示了需求产生到被满足的过程。当需求产生时,企业首先检查是否有足够的库存满足需求,如果不满足,将形成需求计划;需求计划经过计划部门汇总和评估形成采购计划,由于受到一系列类似于规模经济效应、采购成本、可获得性、预算等因素的影响,此时的采购计划与需求计划并非完全匹配,可能形成数量差和品类差;采购部门实施一系列采购活动,最后由供应商制定送货计划,送货可能是分批次完成的,通过运输活动交付,补充库存,满足需求。受制于流程的实施和货物在空间上的移动必须消耗时间,需求产生与需求被满足之间的时间差无法完全消除。在这段时间差内,如果想要需求仍被满足,就需要持有一定库存。
图1-4 需求产生到被满足的过程
在供应链管理中,我们常常听到“零库存”模式,十分具有代表性的是丰田的准时生产(Just-In-Time,JIT)模式,那么怎么实现“零库存”呢?要理解这个说法,必须区分供应链库存和供应链某个参与者库存的区别。比如丰田的JIT模式,其实质是把过去由丰田自己持有的零部件库存转嫁给了供应商。作为链主企业,丰田通过将供需时间差缩短为0,引致大量的供应商被迫在丰田主机厂附近建立工厂,从而丰田实现了“零库存”的目标,供应商为丰田储存零部件,这仅仅是供应链库存的转移,而不是消除。图1-5展示了供应链库存转移方向,库存可能向上或向下转移,也可能双向转移。一个链主企业在供应链上转移库存实际上是向其他供应链参与者转嫁供应链库存成本,并不能带来供应链盈余水平的提高,只有供应链库存的整体优化才能实现更高水平的供应链盈余。
图1-5 供应链库存转移方向