



中国建筑为东方最显著的独立系统,渊源深远,而演进程序简纯,历代继承,线索不紊,而基本结构上又绝未因受外来影响致激起复杂变化者。不止在东方三大系建筑之中,较其他两系——印度及阿拉伯(伊斯兰建筑)——享寿特长,通行地面特广,而艺术又独臻于最高成熟点。即在世界东西各建筑派系中,相较起来,也是个极特殊的直贯系统。大凡一例建筑,经过悠长的历史,多掺杂外来影响,而在结构、布置乃至外观上,常发生根本变化,或循地理推广迁移,因致渐改旧制,顿易材料外观,待达到全盛时期,则多已脱离原始胎形,另具格式。独有中国建筑经历极长久之时间,流布甚广大的地面,而在其最盛期中或在其后代繁衍期中,诸重要建筑物,均始终不脱其原始面目,保存其固有主要结构部分及布置规模,虽则同时在艺术工程方面,又皆无可置议地进化至极高程度。更可异的是:产生这建筑的民族的历史却并不简单,且并不缺乏种种宗教上、思想上、政治组织上的叠出变化;更曾经多次与强盛的外族或在思想上和平的接触(如印度佛教之传入),或在实际利害关系上发生冲突战斗。
这结构简单、布置平整的中国建筑初形,会如此的泰然,享受几千年繁衍的直系子嗣,自成一个最特殊、最体面的建筑大族,实是一桩极值得研究的现象。
虽然,因为后代的中国建筑,即达到结构和艺术上极复杂精美的程度,外表上却仍呈现出一种单纯简朴的气象,一般人常误会中国建筑根本简陋无甚发展,较诸别系建筑低劣幼稚。
这种错误观念最初自然是起于西人对东方文化的粗忽观察,常做浮躁轻率的结论,以致影响到中国人自己对本国艺术发生极过当的怀疑乃至鄙薄。好在近来欧美迭出深刻的学者对于东方文化慎重研究,细心体会之后,见解已迥异从前,积渐彻底会悟中国美术之地位及其价值。但研究中国艺术尤其是对于建筑,比较是一种新近的趋势。外人论著关于中国建筑的,尚极少好的贡献,许多地方尚待我们建筑家今后急起直追,搜寻材料考据,做有价值的研究探讨,更正外人的许多隔膜和谬解处。
在原则上,一种好建筑必含有以下三要点:实用、坚固、美观。实用者:切合于当时当地人民生活习惯,适合于当地地理环境。坚固者:不违背其主要材料之合理的结构原则,在寻常环境之下,含有相当永久性的。美观者:具有合理的权衡(不是上重下轻巍然欲倾,上大下小势不能支;或孤耸高峙或细长突出等违背自然律的状态),要呈现稳重、舒适、自然的外表,更要诚实的呈露全部及部分的功用,不事掩饰、不矫揉造作、勉强堆砌。美观,也可以说,即是综合实用、坚稳,两点之自然结果。
中国建筑,不容疑义的,曾经包含以上三种要素。所谓曾经者,是因为在实用和坚固方面,因时代之变迁已有疑问。近代中国与欧西文化接触日深,生活习惯已完全与旧时不同,旧有建筑当然有许多跟着不适用了。在坚稳方面,因科学发达结果,关于非永久的木料,已有更满意的代替,对于构造亦有更经济精审的方法。以往建筑因人类生活状态时刻推移,致实用方面发生问题以后,仍然保留着它的纯粹美术的价值,是个不可否认的事实。和埃及的金字塔、希腊的帕特农神庙(Parthenon) 一样,北京的坛、庙、宫、殿,是会永远继续着享受荣誉的,虽然它们本来实际的功用已经完全失掉。纯粹美术价值,虽然可以脱离实用方面而存在,它却绝对不能脱离坚稳合理的结构原则而独立的。因为美的权衡比例,美观上的多少特征,全是人的理智技巧,在物理的限制之下,合理地解决了结构上所发生的种种问题的自然结果。
人工制造和天然趋势调和至某程度,便是美术的基本,设施雕饰于必需的结构部分,是锦上添花;勉强结构纯为装饰部分,是画蛇添足,足为美术之玷。
中国建筑的美观方面,现时可以说,已被一般人无条件地承认了。但是这建筑的优点,绝不是在那浅显的色彩和雕饰,或特殊之式样上面,却是深藏在那基本的、产生这美观的结构原则里,以及中国人的绝对了解控制雕饰的原理上。我们如果要赞扬我们本国光荣的建筑艺术,则应该就它的结构原则和基本技艺设施方面稍事探讨;不宜只是一味的、不负责任的,用极抽象或肤浅的诗意美谀,披挂在任何外表形式上,学那英国绅士罗斯金(Ruskin)对哥特式(Gothic) 建筑,起劲的唱些高调。
建筑艺术是个在极酷刻的物理限制之下,老实的创作。人类由使两根直柱架一根横楣,而能稳立在地平上起,至建成重楼层塔一类作品,其间辛苦艰难的展进,一部分是工程科学的进境,一部分是美术思想的活动和增富。这两方面是在建筑进步的一个总题之下,同行并进的。虽然美术思想这边,常常背叛他们的共同目标——创造好建筑——脱逾常轨,尽它弄巧的能事,引诱工程方面牺牲结构上的诚实原则,来将就外表取巧的地方。在这种情形之下时,建筑本身常被连累,损伤了真的价值。在中国各代建筑之中,也有许多这样的证例,所以在中国一系列建筑之中的精品,也是极罕有难得的。
大凡一派美术都分有创造,试验、成熟、抄袭、繁衍、堕落诸期,建筑也是一样。初期作品创造力特强,含有试验性。至试验成功,成绩满意,达尽善尽美程度,则进到完全成熟期。成熟之后,必有相当时期因承相袭,不敢也不能逾越已有的则例;这期间常常是发生订定则例章程的时候。再来便是在琐节上增繁加富,以避免单调,冀求变换,这便是美术活动越出目标时。这时期始而繁衍,继则堕落,失掉原始骨干精神,变成无意义的形式。堕落之后,继起的新样便是第二潮流的革命元勋。第二潮流有鉴于以往作品的优劣,再研究探讨第一代的精华所在,便是考据学问之所以产生。
中国建筑的经过,用我们现有的、极有限的材料做参考,已经可以略略看出各时期的起落兴衰。我们现在也已走到应做考察研究的时代了。在这有限的各朝代建筑遗物里,很可以观察、探讨其结构和式样的特征,来标证那时代建筑的精神和技艺,是兴废还是优劣。但此节非等将中国建筑基本原则分析以后,是不能有所讨论的。
在分析结构之前,先要明了的是主要建筑材料,因为材料要根本影响其结构法的。中国的主要建筑材料为木,次加砖石瓦之混用。外表上一座中国式建筑物,可明显地分作三大部:台基部分、柱梁部分和屋顶部分。台基是砖石混用。由柱脚至梁上结构部分,直接承托屋顶者则全是木造。屋顶除少数用茅茨、竹片、泥砖之外,自然全是用瓦。而这三部分——台基、柱梁、屋顶——可以说是我们建筑最初胎形的基本要素。
《易经》里“上古穴居而野处,后世圣人易之以宫室,上栋下宇,以待风雨”。还有《史记》里“尧之有天下也,堂高三尺……”可见这“栋”“宇”以及“堂”(基)在最古建筑里便占定了它们的部分势力。自然最后经过繁重发达的是“栋”——那木造的全部,所以我们也要特别注意。
木造结构,我们所用的原则是“架构制”(Framing System),如图 1-1。在四根垂直柱的上端,用两横梁、两横枋周围牵制成一“间架”(梁与枋根本为同样材料,梁较枋可略壮大。在“间”之左右称柁或梁,在“间”之前后称枋)。再在两梁之上筑起层叠的梁架以支横桁,桁通一“间”之左右两端,从梁架顶上“脊瓜柱”上次第降下至前枋上为止。桁上钉椽,并排栉比,以承瓦板,这是“架构制”骨干的最简单的说法。总之“架构制”之最负责要素是:一是那几根支重的垂直立柱;二是使这些立柱互相发生联络关系的梁与枋;三是横梁以上的构造:梁架、横桁、木椽及其他附属木造,完全用以支承屋顶的部分。
图 1-1 架构制
“间”在平面上是一个建筑的最低单位。普通建筑全是多间的且为单数。有“中间”或“明间”“次间”“稍间”“套间”等称。
中国的“架构制”和别种制度(如哥特式之“砌拱制”,或西欧最普通之古典派“垒石”建筑)之最大分别:首先在支重部分之完全倚赖立柱,使墙的部分不负结构上重责,只同门窗隔屏等,尽相似的义务——间隔房间,分划内外而已;其次立柱始终保守木质,不似古希腊之迅速代之以垒石柱,且增加负重墙(Bearing wall)致脱离“架构”而成“垒石”制。
这架构制的特征影响至其外表式样的,有以下最明显的几点:一是高度无形地受限制,绝不出木材可能的范围;二是即极庄严的建筑,也是呈现绝对玲珑的外表,结构上既绝不需要坚厚的负重墙,除非故意为表现雄伟的时候,酌量增用外(如城楼等建筑),任何大建均不需墙壁堵塞部分;三是门窗部分可以不受限制,柱与柱之间可以完全安装透光线的细木作——门屏窗牖之类。实际方面,即在玻璃未发明以前,室内已有极充分光线。北方因气候关系,墙多于窗,南方则反是,可伸缩自如。
这不过是这结构的基本方面,自然的特征。还有许多完全是经过特别的美术活动,而成功的超等特色,使中国建筑占极高的美术位置的,而同时也是中国建筑之精神所在。这些特色最主要的便是屋顶、台基、斗栱、色彩和均称的平面布置。
屋顶本是建筑上最实际必需的部分,中国则自古,不殚烦难地,使之尽善尽美,使切合于实际需求之外,又特具一种美术风格。屋顶最初即不止为屋之顶,因雨水和日光的切要实题,早就扩张出檐的部分。使檐凸出并非难事,但是檐深则低,低则阻碍光线,且雨水顺势急流,檐下溅水问题因之发生。为解决这个问题,我们发明飞檐,用双层瓦檐,使檐沿稍翻上去,微成曲线。又因美观关系,使屋角之檐加甚其仰翻曲度。这种前边成曲线、四角翘起的“飞檐”,在结构上有极自然又合理的布置,几乎可以说它便是结构法所促成的。
如何是结构法所促成的呢?简单说:例如“庑殿”式的屋瓦,共有四坡五脊。正脊寻常称房脊,它的骨架是脊桁。那四根斜脊,称垂脊,它们的骨架是从脊桁斜角,下伸至檐桁上的部分,称由戗及角梁。桁上所钉并排的椽子虽像全是平行的,但因偏左右的几根又要同这“角梁平行”,所以椽的部位,乃由真平行而渐斜,像裙裾的开展。
角梁是方的,椽为圆径(有双层时上层便是方的,角梁双层时则仍全是方的)。角梁的木材大小几乎倍于椽子,到椽与角梁并排时,两个的高下不同,以致不能在它们上面铺钉平板,故此必须将椽依次地抬高,令其上皮同角梁上皮平,在抬高的几根椽子底下填补一片三角形的木板,称“枕头木”,如图 1-2。
图 1-2 枕头木
这个曲线在结构上几乎不可信的简单和自然,而同时在美观方面不知增加多少神韵。飞檐的美,绝用不着考据家来指点的。不过注意那过当和极端的倾向常将本来自然合理的结构变成取巧与复杂。这过当的倾向,外表上自然也呈出脆弱、虚张的弱点,不为审美者所取,但一般人常以为愈巧愈繁必是愈美,无形中多鼓励这种倾向。南方手艺灵活的地方,过甚的飞檐便是这种例证。外观上虽是浪漫的姿态,容易引诱赞美,但到底不及北方的庄重恰当,合于审美的最真纯条件。
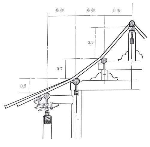
屋顶曲线不止限于挑檐,即瓦坡的全部也不是一片直坡倾斜下来,屋顶坡的斜度是越往上越增加,如图 1-3。
图 1-3 步梁举架图
这斜度之由来是依着梁架叠层的加高,这制度称作“举架法”。这举架的原则极其明显,举架的定例也极其简单,只是叠次将梁架上的瓜柱增高,尤其是要脊瓜柱特别高。
使檐沿作仰翻曲度的方法,再增加第二层檐椽,这层檐甚短,只驮在头檐椽上面,再出挑一节。这样则檐的出挑虽加远,而不低下阻蔽光线。
总的说起来,历来被视为极特异神秘之屋顶曲线,并没有什么超出结构原则和不自然造作之处,同时在美观实用方面均是非常的成功。这屋顶坡的全部曲线,上部巍然高举,檐部如翼轻展,使本来极无趣、极笨拙的屋顶部,一跃而成为整个建筑的美丽冠冕。
在“周礼”里发现有“上欲尊而宇欲卑,上尊而宇卑,则吐水,疾而霤远”之句。这句可谓明晰地写出实际方面之功效。
既讲到屋顶,我们当然还是注意到屋瓦上的种种装饰物。上面已说过,雕饰必是设施于结构部分才有价值,那么我们屋瓦上的脊瓦吻兽又是如何?
脊瓦可以说是两坡相联处的脊缝上一种镶边的办法,当然也有过当复杂的,但是诚实地来装饰一个结构部分,而不肯勉强地来掩饰一个结构枢纽或关节,是中国建筑最长之处。
瓦上的脊吻和走兽,无疑的,本来也是结构上的部分。现时的龙头形“正吻”(古称“鸱尾”),最初必是总管“扶脊木”和脊桁等部分的一块木质关键。这木质关键凸出脊上,略作鸟形,后来略加点缀竟然刻成鸱鸟之尾,也是很自然的变化。其所以为鸱尾者还带有一点象征意义,因有传说鸱鸟能吐水,拿它放在瓦脊上可制火灾。
走兽最初必为一种大木钉,通过垂脊之瓦,至“由戗”及“角梁”上,以防止斜脊上面瓦片的溜下,唐时已变成两座“宝珠”在今之“戗兽”及“仙人”地位上。后代鸱尾变成“龙吻”,宝珠变成“戗兽”及“仙人”,尚加增“戗兽”“仙人”之间一列“走兽”,也不过是雕饰上变化而已。
并且垂脊上戗兽较大,结束“由戗”一段,底下一列走兽装饰在角梁上面,显露基本结构上的节段,亦甚自然合理。
南方屋瓦上多加增极复杂的花样,完全脱离结构上任务,纯粹地显示技巧,甚属无聊,不足称扬。
外国人因为中国人屋顶之特殊形式,迥异于欧西各系,早多注意及之。论说纷纷,妙想天开。有说中国屋顶乃根据游牧时代帐幕者,有说象形蔽天之松枝者,有目中国飞檐为怪诞者,有谓中国建筑类儿戏者,有的全由走兽龙头方面,无谓的探讨意义,几乎不值得在此费时反证。总之这种曲线屋顶已经从结构上分析了,又从雕饰设施原则上审察了,而其美观实用方面又显著明晰,不容否认。我们结论实可以简单地承认它艺术上的大成功。
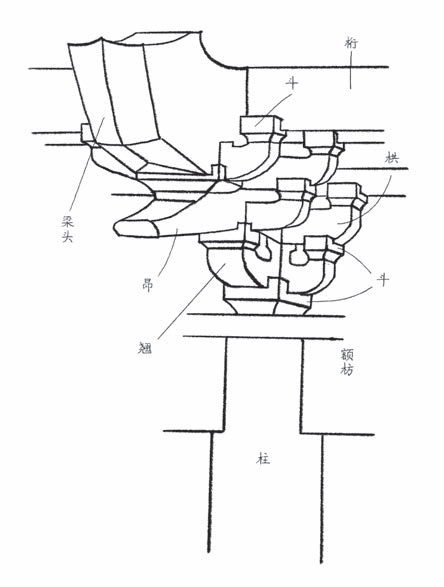
中国建筑的第二个显著特征,并且与屋顶有密切关系的,便是“斗栱”部分。最初檐承于椽,椽承于檐桁,桁则架于梁端。此梁端即是由梁架延长,伸出柱的外边。但高大的建筑物出檐既深,单指梁端支持,势必不胜,结果必产生重叠的木“翘”支于梁端之下。但单借木翘不够担全檐沿的重量,尤其是建筑物愈大,两柱间之距离也愈远,所以又生左右岔出的横“栱”来接受檐桁。这前后的木翘、左右的横栱,结合而成的“斗栱”全部(在栱或翘昂的两端和相交处,介于上下两层栱或翘之间的斗形木块称“斗”)。“昂”最初为又一种之翘,后部斜伸出斗栱后用以支“金桁”。如图 1-4。
图 1-4 斗栱部分
斗栱是柱与屋顶的过渡部分,使支出的房檐的重量渐次集中下来直到柱的上面。斗栱的演化,每是技巧上的进步,但是后代斗栱(约略从宋元以后),便变化到非常复杂,在结构上已有过当的部分,部位上也有改变。本来斗栱只限于柱的上面(今称柱头斗),后来为外观关系,又增加一攒所谓“平身科”者,在柱与柱之间。明清建筑上平身科加增到六七攒,排成一列,完全成为装饰品,失去本来功用。“昂”之后部功用亦废除,只余前部形式而已。
不过当复杂的斗栱,的确是柱与檐之间最恰当的关节,集中横展的屋檐重量,到垂直的立柱上面,同时变成檐下的一种点缀,可做结构本身变成装饰部分的最好条例。可惜后代的建筑多减轻斗栱的结构上重要,使之几乎纯为奢侈的装饰品,令中国建筑失却一个优越的中坚要素。
斗栱的演进式样和结构限于篇幅不能再仔细述说,只能就它的极基本原则上在此指出它的重要及优点。
斗栱以下的最重要部分,自然是柱,及柱与柱之间的细巧的木作。魁伟的圆柱和细致的木刻门窗对照,又是一种艺术上的满意之点。不止如此,因为木料不能经久的原始缘故,中国建筑又发生了色彩的特征。涂漆在木料的结构上为的是:首先保存木质抵制风日雨水;其次可牢结各处接合关节;最后加增色彩的特征,这又是兼收美观实际上的好处,不能单以色彩作奇特繁华之表现。彩绘的设施在中国建筑上,非常之慎重,部位多限于檐下结构部分,在阴影掩映之中。主要彩色亦为“冷色”,如青蓝碧绿,有时略加金点。其他檐以下的大部分颜色则纯为赤红,与檐下彩绘正成反照。中国人的操纵色彩可谓轻重得当。设使滥用彩色于建筑全部,使上下耀目辉煌,必成野蛮现象,失掉所有庄严和调谐,别系建筑颇有犯此忌者,更可见中国人有超等美术见解。
至彩色琉璃瓦产生之后,连黯淡无光的青瓦,都成为片片堂皇的黄金碧玉,这又是中国建筑的大光荣,不过滥用杂色瓦,也是一种危险,幸免这种引诱,也是我们可骄傲之处。
还有一个最基本结构部分——台基——虽然没有特别可议论称扬之处,不过在全个建筑上看来,有如许壮伟巍峨的屋顶,如果没有特别舒展或多层的基座托衬,必显出上重下轻之势,所以既有那特种的屋顶,则必须有这相当的基座。架构建筑本身轻于垒砌建筑,中国又少有多层楼阁,基础结构颇为简陋。大建筑的基座加有相当的石刻花纹,这种花纹的分配似乎是根据原始木质台基而成,积渐施之于石。与台基连带的有石栏、石阶、辇道的附属部分,都是各有各的功用而同时又都是极美的点缀品。
最后的一点关于中国建筑特征的,自然是它的特种的平面布置。平面布置上最特殊处是绝对本着均衡相称的原则,左右均分地对峙。这种分配倒并不是由于结构,主要原因是起于原始的宗教思想和形式、社会组织制度、人民习俗,后来又因喜欢守旧仿古,多承袭传统的惯例。结果均衡相称的原则变成中国特有的一个固执嗜好。
例外于均衡布置建筑,也有许多。因庄严沉闷的布置,致激起故意浪漫的变化;此类若园庭、别墅、宫苑楼阁者是平面上极其曲折变幻,与对称的布置正相反其性质。中国建筑有此两种极端相反布置,这两种庄严和浪漫平面之间,也颇有混合变化的实例,供给许多有趣的研究,可以打消西人浮躁的结论,谓中国建筑布置上是完全的单调而且缺乏趣味。但是画廊亭阁的曲折纤巧,也得有相当的限制。过于勉强取巧的人工虽可令寻常人惊叹观止,却是审美者所最鄙薄的。
在这里我们要提出中国建筑上的几个弱点。首先中国的匠师对木料,尤其是梁,往往用得太费。他们显然不明了横梁载重的力量只与梁高成正比例,而与梁宽的关系较小。所以梁的宽度,由近代的工程眼光看来,往往嫌其太过。同时匠师对于梁的尺寸,因没有计算木力的方法,不得不尽量的放大,用极大的安全系数(Factor of safety),以保安全,结果是材料的大靡费。其次他们虽知道三角形是唯一不变动的几何形,但对于这原则极少应用。所以中国的屋架,经过不十分长久的岁月,便有倾斜的危险。我们在北平街上,到处可以看见这种倾斜而用砖墙或木桩支撑的房子。不唯如此,这三角形原则之不应用,也是屋梁费料的一个大原因,因为若能应用此原则,梁就可用较小的木料。最后地基太浅是中国建筑的大病。普通则例规定是台明高之一半,下面再垫上几点灰土。这种做法很不彻底,尤其是在北方,地基若不刨到结冰线(Frost Line)以下,建筑物的坚实方面,因地的冻冰,一定要发生问题。好在这几个缺点,在新建筑师的手里,并不成难题。我们只怕不了解,了解之后,要去避免或纠正是很容易的。
结构上的细部枢纽,在西洋诸系中,时常成为被憎恶部分。建筑家不惜费尽心思来掩蔽它们。大者如屋顶用女儿墙来遮掩,如梁架内部结构全部藏入顶棚之内;小者如钉、如合叶,莫不全是要掩藏的细部。独有中国建筑敢袒露所有结构部分,毫无畏缩遮掩的习惯,大者如梁、如椽、如梁头、如屋脊,小者如钉、如合叶、如箍头、莫不全数呈露外部,或略加雕饰,或布置成纹,使转成一种点缀。几乎全部结构各成美术上的贡献。这个特征在历史上,除西方哥特式建筑外,唯有中国建筑有此优点。
现在我们方在起始研究,将来若能将中国建筑的源流变化悉数考察无遗,那时优劣诸点极明了地陈列出来,当更可以慎重讨论,做将来中国建筑趋途的指导。省得一般建筑家,不是完全遗弃这以往的制度,则是追随西人之后,盲目抄袭中国宫殿,做无意义的尝试。
关于中国建筑之将来,更有特别可注意的一点:我们架构制的原则适巧和现代“洋灰铁筋架”或“钢架”建筑同一道理;以立柱横梁牵制成架为基本。现代欧洲建筑为现代生活所驱,已断然取革命态度,尽量利用近代科学材料,另具方法形式,而迎合近代生活之需求。若工厂、学校、医院及其他公共建筑等为需要日光便利,已不能仿取古典派之垒砌制,致多墙壁而少窗牖。中国架构制既与现代方法恰巧同一原则,将来只需变更建筑材料,主要结构部分则均可不有过激变动,而同时因材料之可能,更作新的发展,必有极满意的新建筑产生。