



LED产品最终是通过点亮LED实现其功能的,其也是整个产品的最终输出,电路的其他部分都是围绕LED这个输出设备进行设计的,因此首先要解决的问题是LED灯板的设计(这里假设除了单个LED外其他情况均为用灯板来描述多个LED构成的输出部件,后文均使用灯板这个名称)。灯板的设计一般包括以下几个步骤。
根据使用场景的要求,确定最终输出的亮度大小。描述照明效果的几个物理量中,包括亮度(单位为cd)是指光源发光的多少,并不一定全部转化为照明环境的效果;照度(单位为lx)则与光源的距离有关;光通量(单位为lm)光源向立体空间辐射的量。后者最能反映照明效果,因此一般采用光通量来确定灯具的设计目标。
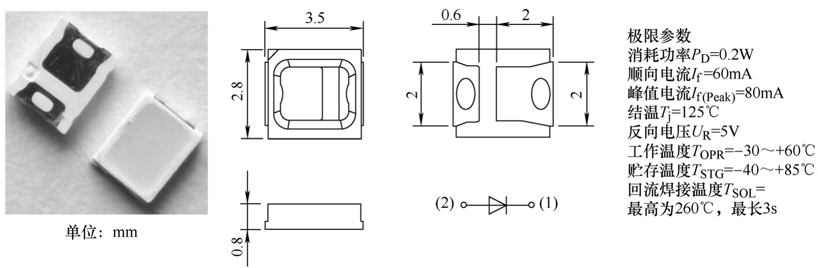
LED灯珠的规格有很多,一般可分为大功率和小功率(通常1W以上可称为大功率)。灯珠的选择要根据灯的亮度、出光面的分布特点、环境温度、寿命要求等指标,确定几者之间的关系,然后再确定LED的功率、电流大小、数量,最后在众多品牌型号的LED产品说明书中寻找合适的灯珠。具体选择时,主要考虑其电学参数(正向电压、工作电流、消耗功率)、极限参数(反向击穿电压)、光学参数(光通量、色温、显色指数),以及与工作条件有关的如热阻、光衰等参数是否达到设计的要求。例如,如果要设计射灯,则需要使用透镜聚光,适宜采用大功率LED灯珠,这样更有利于透镜设计;如果要设计一个日光灯管,由于出光面积较大,那么为了节省成本,一般采用PC罩匀光方式,适宜选用小功率灯珠,这样可以增加LED的数量,有利于增加LED覆盖的面积。图1-13所示为某品牌SMD2835贴片式白光LED的外观和主要电学参数。
扫一扫看视频
图1-13 SMD2835贴片式白光LED的外形尺寸与极限参数
根据总光通量或总功率的要求,以及所选的LED灯珠的参数,初步计算所需的LED颗数。要注意LED的参数不能以其标称的极限参数为准,而要留有足够的裕量,例如图1-13中的LED灯珠标称顺向电流(即正向额定电流)为60mA,设计时可按50mA来计算,这样才能保证灯板的可靠性。
LED的连接方式要根据驱动条件进行选取,确保灯板的工作电压和电流与驱动器输出相匹配。在相同条件下,尽量考虑减小输出电流,这样可以减轻驱动器的负担(一般情况下,输出电流越大,驱动器自身的损耗越大)。LED灯板通常采用混联方式,如果采用恒流电源,则必须确保总电流与驱动器输出电流一致,所以应先确定支路的数量,再计算每条支路的LED颗数;如果采用稳压供电,则应先确定每条支路的电压,为了减小电源的损耗,应尽量减小输出电压与灯板电压的差值,确定了每条支路的LED颗数再计算并联的支路数量。
扫一扫看视频
【例1.1】 假设驱动器输出为200mA/(1~5W)的恒流电源,设计一个LED功率为3W的灯泡(采用PC罩匀光),光源采用SMD2835贴片LED灯珠,经测试其可靠工作点为 U F =3V, I F =50mA,试确定LED的数量和连接方式。
解 (1)由于驱动器输出电流恒为200mA,每颗LED工作电流为50mA,为了匹配驱动器的输出,灯板的工作电流必须为200mA,因此需要4条LED并联支路。
(2)由于LED总功率为3W,而每颗LED功率为0.15W,故需要20颗LED。
(3)根据(1)和(2)的要求,可以确定应采用5串4并(5S4P)的接法。
【例1.2】 假设输入电压为交流220V市电,经电容降压和桥式整流后接LED灯板,已知驱动电路可提供50mA、150V的工作条件,若采用例1.1中的LED灯珠,请计算LED的颗数。
解 本题采用的是电容降压限流驱动电路,为常见小功率的LED球泡灯设计方案之一,由题意可知,由于驱动电流与LED灯珠电流一致(50mA),LED应采用单路串联方式,根据电压的大小,LED的颗数为150V/3V=50颗(注:关于电容降压限流电路实例请参考第2章)。