



门式脚手架也称为框式脚手架,是目前应用最为广泛的脚手架之一。它不仅可作为外脚手架,也可作为内脚手架或满堂脚手架。
门式脚手架由门式框架、剪刀撑、水平梁架、螺旋基脚组成基本单元,将基本单元(图3.9)相互连接,并增加梯子、栏杆及脚手板等形成脚手架,如图3.10 所示。
 
    
     图3.9 门式组合脚手架的基本单元
     
     1—门架;2—平板;3—螺旋基脚;4—剪力撑;
     
     5—连接棒;6—水平梁架;7—锁臂
    
 
    图3.10 整片门式脚手架
门式脚手架是一种由工厂生产、现场搭设的脚手架,一般只要根据产品目录所列的使用荷载和搭设规定进行施工即可,不必再进行验算。如果实际使用情况与规定有出入,应釆取相应的加固措施或进行验算。其施工荷载一般为均布荷载 1.8 kN/m 2 ,或作用于脚手板跨中的集中荷载 2 kN。
门式脚手架的地基应有足够的承载力。地基必须夯实找平,并严格控制第一步门式框架顶面的标高(竖向误差不大于 5 mm),并应逐片校正门式框架的垂直度和水平度,以确保整体刚度。在门式框架之间必须设置剪刀撑和水平梁架(或脚手板)。
(1)搭设程序及技术要点
①搭设程序:铺放垫木(板)→拉线,放底座→从一端起立门架并随装剪刀撑→装设水平梁架(脚手板)→装设梯子→装设连墙杆,如此逐层向上安装→装设加强整体刚度的长剪刀撑→装设顶部栏杆。
②搭设技术要点:
a.夯实并抄平、铺设可调底座;
b.高层门架垂直度偏差不得超过 2 mm,水平度偏差不得超过 5 mm;
c.门架顶部和底部用纵向杆和扫地杆固定;
d.门架之间须设置剪刀撑和水平锁架(脚手板);
e.整片脚手架前 3 层每层设置一道水平加固杆,3 层以上则每 3 层设置一道加固杆;
    f.架子外侧应设置长剪刀撑(
     48 mm钢管,长 6~8 m),其高度和宽度为 3 个或 4 个步距和架距,与地面呈 45°~60°,相邻长剪刀撑相隔 3~5 个架距,并沿架体全高设置;
    48 mm钢管,长 6~8 m),其高度和宽度为 3 个或 4 个步距和架距,与地面呈 45°~60°,相邻长剪刀撑相隔 3~5 个架距,并沿架体全高设置;
   
g.用连墙管(器)将脚手架与建筑物连接稳固,连墙点间距为纵向 6 m、横向 8 m。
(2)门式脚手架使用要点
①门式脚手架的搭设高度一般不超过 45 m,采取一定加固措施后可达 80 m左右;
②作用在架体上的施工均布荷载一般为 1.86 kN/m 2 ,而作用在脚手板上集中荷载不超过 2.0 kN。
(3)门式脚手架拆除要点
①门式脚手架的拆除应从上至下进行;
②应将拆散的部件捆绑后,用垂直吊运设备吊运至地面,严禁高空抛扔;
③拆下的门式脚手部件应分类集中堆码,以便重复使用。
悬吊式脚手架也称为吊篮,主要用于建筑外墙装饰装修。它是将架子(吊篮)的悬挂点固定在建筑物顶部悬挑出来的结构上,通过设在每个架子上的简易提升机械和钢丝绳,使吊篮升降,以满足施工要求。吊篮一般可分为手动吊篮和电动吊篮两大类,目前我国多采用手动吊篮。
(1)基本构造
手动吊篮由支撑设施(建筑物顶部悬挑梁或桁架)、吊篮绳(钢丝绳或钢筋链杆)、安全绳、手扳葫芦(或倒链)和吊架组成,如图3.11 所示。
 
    图3.11 双层作业的手动提升式吊篮示意图
(2)搭设要求
①吊篮的最大长度不宜超过 8.0 m,宽度一般为 0.8~1.0 m,高度不宜超过两层。吊篮平台必须设有防滑措施和 100~150 mm高的挡脚板,篮内侧防护栏杆高度不得低于 0.8 m,其他各侧防护栏杆高度不得低于1.1 m,挡脚板不低于0.18 m。吊篮顶部必须设防护棚,外侧面与两端面用密目网封严。
②吊篮的挑梁必须按设计规定与建筑结构固定牢靠,挑梁挑出长度应保证悬挂吊篮的钢丝绳(或钢筋链杆)与地面垂直。挑梁之间应用纵向水平杆连接成整体,以保证挑梁结构的稳定。
③吊篮必须设置安全保护装置,具体要求如下:
a.吊篮必须装有上下限位开关,并以吊篮平台自身去触动;
b.每根安全钢丝绳上必须装有不能自动复位的安全锁;
c.吊篮上必须有防倾斜装置,并应设置超载保护装置。
悬挑式脚手架又称为挑脚手架,是利用建筑结构外边缘向外伸出的悬挑结构来支撑脚手架的全部或部分荷载,多用于高层建筑的外脚手架。悬挑式脚手架的悬挑支撑结构必须具有足够的强度、刚度和稳定性,并能将脚手架的荷载传递给建筑结构。
(1)基本构造
悬挑式脚手架主要由悬挑支撑结构和脚手架组成部件构成,悬挑支撑结构以上部分的脚手架与一般外脚手架相同。悬挑式脚手架的高度(或分段高度)不得超过 25 m。
悬挑支撑结构一般有用钢丝绳斜拉住水平型钢挑梁的斜拉式结构[图3.12(a)]及用型钢焊接制作的三角桁架下撑式结构[图3.12(b)]两种形式。
 
    图3.12 悬挑支撑结构
(2)搭设要求
①斜拉式支撑结构可在楼板上预埋钢筋环,外伸钢梁(工字钢、槽钢等)插入钢筋环内固定,或将钢梁一端埋置在墙体结构的混凝土内。外伸钢梁另一端加钢丝绳斜拉,钢丝绳固定到预埋在建筑物内的吊环上。
②下撑式支撑结构可将钢梁一端埋置在墙体结构的混凝土内,另一端利用钢管或角钢制作的斜杆连接,斜杆下端焊接到混凝土结构中的预埋钢板上。结构中的钢筋过密,挑梁无法埋入时,可采用预埋件,将挑梁与预埋件焊接。
③上部脚手架立杆与支撑结构应有可靠的定位连接措施,以确保上部脚手架的稳定。上部脚手架的搭设要求同一般外脚手架。
附着升降式脚手架又称为爬升式脚手架,是指搭设一定高度并附着于工程结构上,依靠自身的升降设备和装置,随工程结构施工逐层爬升,并能实现下降作业的外脚手架。这种脚手架适用于高层现浇钢筋混凝土结构施工。
(1)基本构造
附着升降式脚手架主要由架体、附着支撑、提升机构和设备、安全装置和控制系统 4 个基本部分构成。
附着升降式脚手架按支撑方式可分为套框(管)式、导轨式、导座式、挑轨式、套轨式、吊套式和吊轨式等;按升降方式不同可分为单跨(片)升降式、整体升降式和互爬升降式等。
(2)搭设要求
①与建筑物应有牢固的固定措施。架体在任何状态下(使用,上升或下降),与工程结构之间必须有不少于 2 处的附着支撑点。
②升降过程均应有可靠的防倾覆措施。工程中一般采用防倾导轨控制架体的水平位移和倾覆。
③应设置安全防坠落装置和措施。一旦因断链(绳)等造成架体坠落时,能立即启动,及时将架体制停在防坠杆等支持结构上。防坠装置的制动有棘轮棘爪、楔块斜面自锁、摩擦轮斜面自锁、楔块套管、偏心凸轮、摆针等多种类型。
④应具有升降过程中的同步控制措施。工程中,常用限载来实现同步升降的要求。对升降同步性的控制应满足自动显示、自动调整和遇故障自停的要求。
在超高层建筑的主体施工中,整体升降式脚手架有明显的优越性,它结构整体好、升降快捷方便、机械化程度高、经济效益显著,是一种很有使用价值的建(构)筑外脚手架。
它是以电动倒链为提升机,使整个外脚手架沿建筑物外墙或柱整体向上爬升,如图3.13 所示。搭设高度依建筑物施工层的层高而定,一般取建筑物 4 个标准层层高加 1步安全栏的高度作为架体的总高度。脚手架为双排,宽度以 0.8~1 m为宜,里排杆离建筑物净距 0.4~0.6 m;脚手架的横杆和立杆间距都不宜超过 1.8 m,可得 1 个标准层高分为 2步架,以此步距为基数确定架体横、立杆的间距。
进行架体设计时,可将架子沿建筑物外围分成若干单元,每个单元的宽度参考建筑物的开间确定,一般为 5~9 m。具体操作流程为:施工前的准备→安装→爬升→下降→拆除。
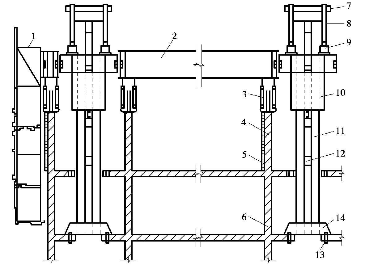
还有一种液压提升整体式脚手架-模板组合体系(图3.14),它是通过设在建(构)筑物内部的支撑立柱及立柱顶部的平台桁架,利用液压设备完成脚手架的升降,同时也可升降模板。
 
    
     图3.13 整体升降式脚手架
     
     1—上弦杆;2—下弦杆;3—承力桁架;4—承力架;5—斜撑;
     
     6—电动倒链;7—挑梁;8—倒链;9—花篮螺栓;10—斜拉杆;11—螺栓
    
 
    
     图3.14 液压提升整体式脚手架-模板组合体系
     
     1—吊脚手架;2—平台桁架;3—手拉倒链;4—墙板;5—大模板;6—楼板;7—支承挑架;
     
     8—提升支承杆;9—千斤顶;10—提升导向架;11—支承立柱;12—连接板;13—螺栓;14—底座
    
里脚手架又称内墙脚手架,是沿室内墙搭设的脚手架,它可用于内外墙砌筑和室内装修施工。当前楼层的砌筑或装修作业完成后,即将其转移到上一层楼面,进行新一层的施工作业。里脚手架用料少,装拆较频繁,要求轻便灵活,装拆方便,其结构形式有折叠式、支柱式和门架式。