



手少阴心经,起于心中,出属心系(心与其他脏器相连的组织);下行经过横膈,联络小肠。其支脉,从心系向上,夹着食道上行,连于目系(眼球连接于脑的组织)。其直行经脉,从心系上行到肺部,再向外下到达腋窝部,沿着上臂内侧后缘,行于手太阴经和手厥阴经的后面,到达肘窝;再沿前臂内侧后缘,至掌后豌豆骨部,进入掌内,止于小指桡侧末端(图4-27)。
《灵枢·经脉》:心手少阴之脉,起于心中,出属心系,下膈,络小肠。其支者:从心系,上夹咽,系目系。其直者:复从心系,却上肺,下出腋下,下循臑内后廉,行太阴、心主之后,下肘内,循臂内后廉,抵掌后锐骨 ① 之端,入掌内后廉,循小指之内,出其端。
注释:①掌后锐骨:指豌豆骨。
图4-27 手少阴心经经脉循行示意图
心痛,咽干,口渴,目黄,胁痛,上臂内侧痛,手心发热等。
1.心、胸、神志病 心痛,心悸,癫狂痫等。
2.经脉循行部位的其他病证 肩臂疼痛,胁肋疼痛,腕臂痛等。
1.极泉 * (Jíquán,HT 1)
【定位】 在腋区,腋窝中央,腋动脉搏动处(图4-28)。
【解剖】 在胸大肌的外下缘,深层为喙肱肌;外侧为腋动脉;布有尺神经、正中神经、前臂内侧皮神经及臂内侧皮神经。
【主治】 ①心痛、心悸等心系病证;②肩臂疼痛、胁肋疼痛、臂丛神经损伤等痛证;③瘰疬;④腋臭;⑤上肢痿痹;⑥上肢针刺麻醉用穴。
【操作】 避开腋动脉,直刺或斜刺0.3~0.5寸。
图4-28 极泉穴定位示意图
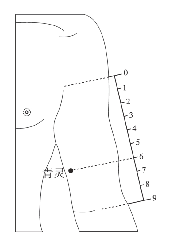
2.青灵(Qīnɡlínɡ,HT 2)
【定位】 在臂前区,肘横纹上3寸,肱二头肌内侧沟中(图4-29)。
【解剖】 当肱二头肌内侧沟处,有肱三头肌;有贵要静脉、尺侧上副动脉;布有前臂内侧皮神经、尺神经。
【主治】 ①头痛,振寒;②胁痛,肩臂疼痛。
【操作】 直刺0.5~1寸。
图4-29 青灵穴定位示意图
3.少海 * (Shàohǎi,HT 3)合穴
【定位】 在肘前区,横平肘横纹,肱骨内上髁前缘(图4-30)。
【解剖】 有旋前圆肌、肱肌;有贵要静脉,尺侧上、下副动脉,尺侧返动脉;布有前臂内侧皮神经,外前方有正中神经。
【主治】 ①心痛、癔症等心病、神志病;②肘臂挛痛,臂麻手颤;③头项痛,腋胁部痛;④瘰疬。
【操作】 直刺0.5~1寸。
图4-30 少海穴定位示意图
4.灵道(Línɡdào,HT 4)经穴
【定位】 在前臂前区,腕掌侧远端横纹上1.5寸,尺侧腕屈肌腱的桡侧缘(图4-31)。
图4-31 手少阴心经部分腧穴定位示意图
【解剖】 在尺侧腕屈肌腱与指浅屈肌之间,深层为指深屈肌;有尺动脉通过;布有前臂内侧皮神经,尺侧为尺神经。
【主治】 ①心痛,悲恐善笑;②暴喑;③肘臂挛痛。
【操作】 直刺0.3~0.5寸。不宜深刺,以免伤及血管和神经。
5.通里 * (Tōnɡlǐ,HT 5)络穴
【定位】 在前臂前区,腕掌侧远端横纹上1寸,尺侧腕屈肌腱的桡侧缘(图4-31)。
【解剖】 在尺侧腕屈肌腱与指浅屈肌之间,深层为指深屈肌;有尺动脉通过;布有前臂内侧皮神经,尺侧为尺神经。
【主治】 ①心悸、怔忡等心系病证;②舌强不语,暴喑;③腕臂痛。
【操作】 直刺0.3~0.5寸。不宜深刺,以免伤及血管和神经。
6.阴郄 * (Yīnxì,HT 6)郄穴
【定位】 在前臂前区,腕掌侧远端横纹上0.5寸,尺侧腕屈肌腱的桡侧缘(图4-31)。
【解剖】 在尺侧腕屈肌腱桡侧缘,深层为指深屈肌;有尺动脉通过;布有前臂内侧皮神经,尺侧为尺神经。
【主治】 ①心痛、惊悸等心系病证;②骨蒸盗汗;③吐血,衄血。
【操作】 直刺0.3~0.5寸。不宜深刺,以免伤及血管和神经。
7.神门 * (Shénmén,HT 7)输穴;原穴
【定位】 在腕前区,腕掌侧远端横纹尺侧端,尺侧腕屈肌腱的桡侧缘(图4-31)。
【解剖】 在尺侧腕屈肌腱桡侧缘,深层为指深屈肌;有尺动脉通过;布有前臂内侧皮神经,尺侧为尺神经。
【主治】 ①心痛、心烦、惊悸、怔忡、健忘、失眠、痴呆、癫狂痫等心与神志病证;②高血压;③胸胁痛。
【操作】 直刺0.3~0.5寸。
8.少府 * (Shàofǔ,HT 8)荥穴
【定位】 在手掌,横平第5掌指关节近端,第4、5掌骨之间(图4-31)。
【解剖】 在4、5掌骨之间,有第4蚓状肌,指浅、深屈肌腱,深部为骨间肌;有指掌侧总动、静脉;布有第4指掌侧固有神经。
【主治】 ①心悸、胸痛等心胸病;②阴痒、阴痛;③痈疡;④小指挛痛。
【操作】 直刺0.3~0.5寸。
9.少冲 * (Shàochōnɡ,HT 9)井穴
【定位】 在手指,小指末节桡侧,指甲根角侧上方0.1寸(指寸)(图4-32)。
图4-32 少冲穴定位示意图
【解剖】 有指掌固有动、静脉所形成的动、静脉网;布有指掌侧固有神经。
【主治】 ①心悸、心痛、癫狂、昏迷等心与神志病证;②热病;③胸胁痛。
【操作】 浅刺0.1寸,或点刺出血。