



工程图样是工程界的技术语言,是房屋建造施工的依据。为了统一房屋建筑制图规则,保证制图质量,提高制图效率,做到图面清晰和简明,符合设计、施工和存档的要求,适应工程建设的需要,就必须制订建筑制图的相关标准。
国家建设部批准颁布的与建筑制图相关的国家标准总共有 6 项,包括《房屋建筑制图统一标准》(GB / T 50001—2017)、《总图制图标准》(GB / T 50103—2010)、《建筑制图标准》(GB /T 50104—2010)、《建筑结构制图标准》(GB / T 50105—2010)、《建筑给水排水制图标准》(GB /T 50106—2010)及《暖通空调制图标准》(GB / T 50114—2010)。
我国国家标准简称国标,其代号是“GB”,如GB / T 50001—2017,其中,GB / T是表示推荐性国标,50001 是标准编号,2010 是发布年号。国家标准对图样的画法、尺寸标注等内容作了统一的规定,每个工程技术人员都必须掌握并严格遵守。
图纸宽度与长度组成的图面,称为图纸幅面。
建筑工程施工图一般需要装订成套,为了使整套施工图方便装订,根据《房屋建筑制图统一标准》(GB / T 50001—2017)的有关规定,图纸幅面的规格分为A0,A1,A2,A3,A4 共 5 种,其中常用的图纸幅画A2—A4 的尺寸关系可简单地用公式表示:A2 = 2A3 = 4A4,如图 1.1所示。
根据《房屋建筑制图统一标准》(GB / T 50001—2017)中的有关规定,图纸幅面及图框尺寸应符合表 1.1 的规定。表格中代号的含义如图 1.2 所示。一个工程设计中,每个专业所使用的图纸,一般不宜多于两种幅面,不含目录及表格所采用的A4 幅面。
 
    图1.1 图纸幅面
表1.1 图纸幅面及图框尺寸/ mm
 
   注:表中b为幅画短边尺寸,l为幅面长边尺寸,c为图框线与幅面线间宽度,a为图框线与装订边间宽度。
 
    图1.2 图纸幅画中主要代号的含义
如图纸幅面不够,可将图纸的边加长。图纸的短边一般不应加长,A0—A3 长边可加长,但应符合表 1.2 的规定。
表1.2 图纸长边加长尺寸/ mm
 
   注:有特殊需要的图纸,可采用b×l为 841 mm×891 mm与 1 189 mm×1 261 mm的幅面。
如图 1.3 所示为标准的A2 图幅及加长后的A2 图幅之间的对比关系。
 
    图1.3 标准A2 图幅及加长后的尺寸关系
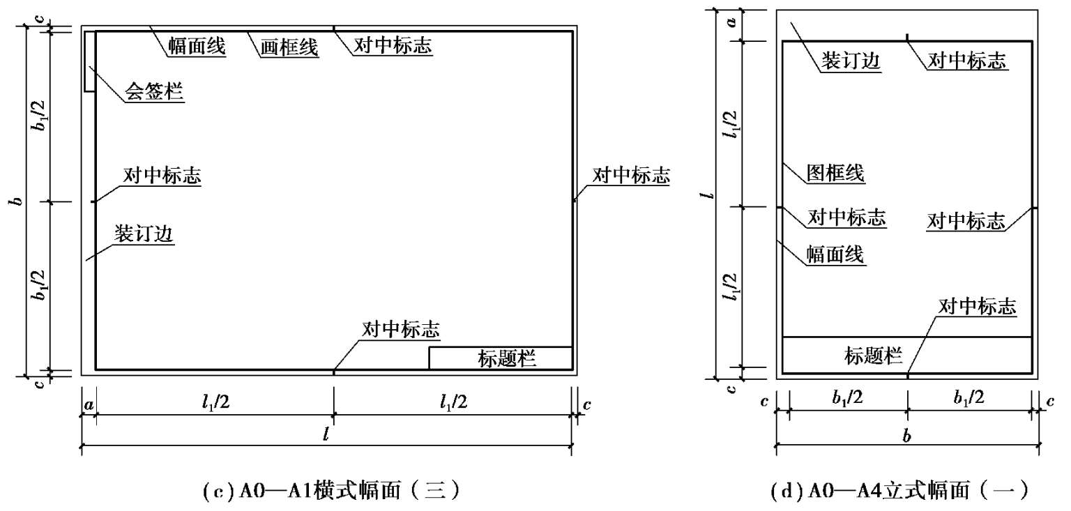
需微缩复制的图纸,其一个边上应附有一段准确米制尺度,4 个边上均附有对中标志,如图 1.4 所示。其中,米制尺度总长应为 100 mm,分格应为 10 mm。对中标志的线段,应于图框长边尺寸 l 和图框短边尺寸 b 范围内取中,如图 1.5 所示。
图纸中应有标题栏、图框线、幅面线、装订边线及对中标志。
图框线是指图纸上所供绘图范围的边线,图框线用粗实线绘制。图纸幅面的格式包括横式和立式两种。图纸以短边作为垂直边,称为横式;以短边作为水平边,称为立式。 A0—A3图纸宜横式使用,必要时也可立式使用。 A4 图纸应立式使用。
图纸的标题栏及装订边的位置,应符合下列规定:
①横式使用的图纸,应按图 1.5(a)、(b)或(c)规定的形式布置。
②立式使用的图纸,应按图 1.5(d)、(e)或(f)规定的形式布置。
 
    图1.4 图幅的对中标志和米制参考分度
 
    
    
    图1.5 横式和立式幅面
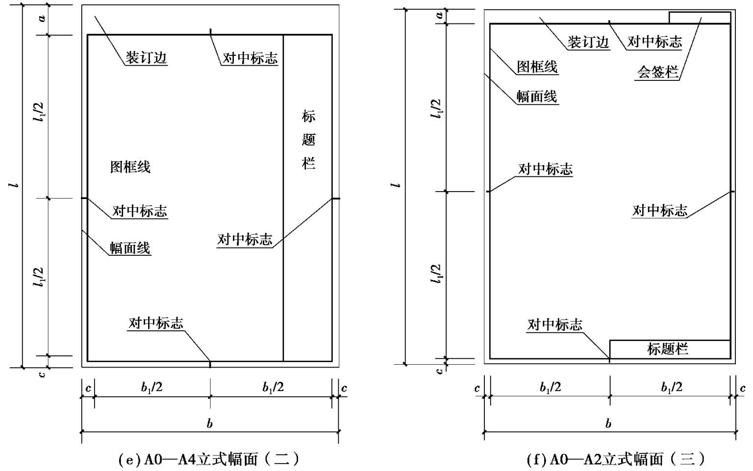
在建筑工程设计过程中,应根据工程的需要选择确定标题栏、会签栏的尺寸、格式及分区,如图 1.6 所示。当图纸幅面采用图 1.5(a)、(e)布置时,标题栏应按如图 1.6(a)所示进行布局;当图纸幅面采用图 1.5(b)、(d)布置时,标题栏应按如图 1.6(b)所示进行布局;当图纸幅面采用图 1.5(c)、(f)布置时,标题栏和会签栏应按如图 1.6(c)、(d)、(e)所示进行布局。
 
    
    
    
    
    图1.6 标题栏
签字栏应包括实名列和签名列,并应符合下列规定:
①涉外工程的标题栏内,各项主要内容的中文下方应附有译文,设计单位的上方或左方,应加“中华人民共和国”字样。
②在计算机辅助制图文件中使用电子签名与认证时,应符合《中华人民共和国电子签名法》的有关规定。
③当由两个以上的设计单位合作设计同一个工程时,设计单位名称区可依次列出设计单位名称。
比例是图形与实物相对应的线性尺寸之比,比例的符号应为“∶ ”,比例应以阿拉伯数字表示,如 1 ∶ 20,1 ∶ 50,1 ∶ 100 等。比例宜注写在图名的右侧,字的基准线应取平,比例的字高应比图名的字高小一号或二号,如图 1.7 所示。
 
    图1.7 比例的注写
一般情况下,一个图样应选用一种比例。根据专业制图需要,同一图样可选用两种比例。特殊情况下也可自选比例,这时除应注出绘图比例外,还必须在适当位置绘制出相应的比例尺。
绘图所用的比例应根据图样的用途与被绘对象的复杂程度从表 1.3 中选用,并优先选用常用比例。
表1.3 绘图所用的比例
 
   根据《建筑制图标准》(GB / T 50104—2010)中的规定,建筑专业、室内设计专业制图选用的各种比例宜符合表 1.4 的规定。
表1.4 建筑工程图绘图比例
 
   建筑工程图纸上所需书写的文字、数字或符号等,均应笔画清晰、字体端正、排列整齐。标点符号应清楚正确。
文字的字高应从表 1.5 中选用。字高大于 10 mm的文字宜采用True type字体,如需书写更大的字,其高度应按 2 的倍数递增。
表1.5 文字的高度/ mm
 
   图样及说明中的汉字,宜优先采用True type字体中的宋体字型,采用矢量字体时应为长仿宋体字型。
同一图纸字体种类不应超过两种。矢量字体的宽高比宜为 0.7,且应符合表 1.6 的规定,打印线宽宜为 0.25 ~ 0.35 mm;True type字体宽高比宜为 1。大标题、图册封面、地形图等的汉字,也可书写成其他字体,但应易于辨认,其宽高比宜为 1。汉字的简化字书写应符合国家有关汉字简化方案的规定。长仿宋体字体的示例如图 1.8 所示。
表1.6 长仿宋体字高宽关系/ mm
 
    
    图1.8 长仿宋体汉字示例
图样及说明中的字母、数字,宜优先采用True type字体中的Roman字型。
字母及数字,当需写成斜体字时,其斜度应是从字的底线逆时针向上倾斜 75°。斜体字的高度和宽度应与相应的直体字相等。
字母及数字的字高,不应小于 2.5 mm。
数量的数值注写,应采用正体阿拉伯数字。各种计量单位凡前面有量值的,均应采用国家颁布的单位符号注写。单位符号应采用正体字母。
分数、百分数和比例数的注写,应采用阿拉伯数字和数学符号。当注写的数字小于 1 时,应写出个位的“0”,小数点应采用圆点,齐基准线书写。
长仿宋汉字、字母、数字应符合现行国家标准《技术制图 字体》(GB / T 14691—1993)的有关规定。
拉丁字母、数字和罗马数字字体的示例如图 1.9 所示。
 
    
    图1.9 拉丁字母、阿拉伯数字和罗马数字示例
画在图纸上的线条统称为图线。为了使各种图线所表达的内容统一,《房屋建筑制图统一标准》(GB / T 50001—2017)对建筑工程图样中图线的名称、线型、线宽及用途都作了明确的规定,见表 1.7。
表1.7 图线
 
   续表
 
   在绘制建筑工程图时,国家标准还对图线的使用作出了以下的附加规定:
①相互平行的图例线,其净间隙或线中间隙不宜小于 0.2 mm。
②虚线、单点长画线或双点长画线的线段长度和间隔宜各自相等。
③单点长画线或双点长画线当在较小图形中绘制有困难时,可用实线代替。
④单点长画线或双点长画线的两端,不应采用点。点画线与点画线交接点或点画线与其他图线交接时,应是线段交接。
⑤虚线与虚线交接或虚线与其他图线交接时,应是线段交接。虚线为实线的延长线时,不得与实线相接。
⑥图线不得与文字、数字或符号重叠、混淆,不可避免时,应首先保证文字的清晰。
图线的基本线宽 b ,宜按照图纸比例及图纸性质从 1.4,1.0,0.7,0.5 mm线宽系列中选取。每个图样应根据复杂程度与比例大小,先选定基本线宽 b ,再选用表 1.8 中相应的线宽组。
表1.8 线宽组/ mm
 
   注:1.需要缩微的图纸,不宜采用 0.18 mm及更细的线宽。
2.同一张图纸内,各不同线宽中的细线,可统一采用较细的线宽组的细线。
大比例图纸的基本线宽 b 宜选用 1.4 mm,中比例图纸的基本线宽 b 宜选用 1.0 mm或 0.7 mm,小比例图纸的基本线宽 b 宜选用 0.5 mm。
每个线宽组的图线包括 4 种类型,分别为粗实线、中粗实线、中实线及细实线。绘制较简单的图样时,可采用两种线宽的线宽组,其线宽比宜为 b ∶ 0.25 b 。
同一张图纸内,相同比例的各图样应选用相同的线宽组。图纸的图框和标题栏线可采用表 1.9 中的线宽。
表1.9 图框和标题栏线的宽度/ mm
 
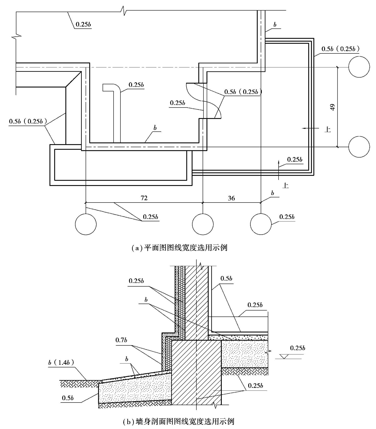
   建筑工程图图线宽度的选用应符合《房屋建筑制图统一标准》(GB / T 50001—2017)的有关规定,如图 1.10 所示。
 
    
    图1.10 图线线宽选用示例
工程图纸应按专业顺序编排,应为图纸目录、设计说明、总图、建筑图、结构图、给水排水图、暖通空调图、电气图等编排。
各专业的图纸,应按图纸内容的主次关系、逻辑关系进行分类,做到有序排列。
工程在设计阶段有设计总说明时,图纸的编排顺序为图纸目录、设计总说明、设计总说明、总图、建筑图、结构图、给水排水图、暖通空调图、电气图等。施工图设计阶段往往图纸目录与设计说明合为一项,图纸宜按专业设计说明、平面图、立面图、剖面图、大样图、详图、三维视图、清单、简图等顺序编排。