



矿井提升机作为当前我国大型矿山工程急需的重大装备,在矿业生产中担负着升降人员,提升重物,运送材料、设备和工具的任务,是沟通矿井地面与井下的重要运输设备,有“矿井咽喉”之称。矿井提升机可以分为斜井提升机和立井提升机,立井提升机又可按照钢丝绳的工作方式分为多绳摩擦式提升机、单绳缠绕式提升机和多绳缠绕式提升机。对于斜井提升机,由于其提升能力小,钢丝绳磨损快,提升效率低,因此不适用于超深井提升。我国对煤矿资源的长期开采使得地表以及浅层煤矿日益减少。当前,一些矿业强国的矿山开采深度已经达到了2000~4000m,比如南非的计划开采深度已达6000m。而我国矿山的平均开采深度在500m左右,随着浅层资源的消耗殆尽,我国未来的开采工作必定会向更深层资源发展,接下来的开采深度将达到1000~2000m,甚至更深。未来我国将出现1200~2000m的超千米深井,超深井提升的需求对我国提升装备制造业水平提出了新的挑战。
我国现有提升机械的种类有:单绳缠绕式单筒提升机、单绳缠绕式双筒提升机及多绳摩擦式提升机。单绳缠绕式提升机由于有钢丝绳自重的影响,极限提升高度随钢丝绳安全系数的不同而变化,当应用于千米深井提升时有明显的缺点,即有效载荷较小,难以保证矿井的年产量。而多绳摩擦式提升机在应用于超千米深井提升时,由于提升钢丝绳中的张力变化过大,使得钢丝绳的寿命严重缩短,制约了其在超千米深井中的应用。另外,多绳摩擦式提升机由于受到了防滑条件的限制,其最大提升高度也受到了限制。而且在用于斜井提升和凿井提升时,还必须使用钢丝绳尾绳和钢丝绳张紧平衡装置,这样就会使提升机的结构更加复杂,实现难度增大,这也正是多绳摩擦式提升机未能在斜井提升中得到广泛应用的原因。再者,多绳摩擦式提升机由于摩擦衬垫比压的要求,其最大提升高度也受到限制。
我国现有矿井提升装备的设计制造基础理论和应用技术不适用于超深矿井提升系统。传统的矿井提升机(多绳摩擦式提升机和单绳缠绕式提升机)随着井深增加,钢丝绳自重增加,有效荷载率降低、提升效率和安全性下降,不适用于超深矿井提升。为实现深部资源的有效开发和利用,必须打破现有矿井提升装备理论和技术的制约,直面超深矿井、高效率、高安全性要求等带来的挑战,深入研究超深矿井大型提升装备设计制造和安全运行的基础理论,对其原理进行创新,形成系统的设计制造理论,取得超深矿井提升装备设计制造能力。鉴于此,高提升能力的超深矿井提升装备创新结构设计及其关键基础技术研究亟待开展。
摩擦式提升机又称为“多绳摩擦式提升机”,是在单绳摩擦式提升机的基础上,为了适应矿井向深处发展、产量日益增大的需要而逐渐发展起来的。相对于同样提升能力的单绳缠绕式提升机,摩擦式提升机具有卷筒直径小、设备尺寸小、设备重量轻、提升运行的安全性高等优点,使得多绳摩擦式提升机在近几年的矿业生产中得到了越来越广泛的应用。
摩擦式提升机提升钢丝绳的两端各连接一个容器,或者一端连接容器,另一端连接平衡重锤。当提升机工作时,承受着拉力的钢丝绳必然以一定的正压力紧压在摩擦衬垫上,并产生一定的摩擦力。这样,当电动机带动主导轮转动时,主导轮上的摩擦衬垫与钢丝绳之间的摩擦力带动钢丝绳随着主导轮一起转动,从而实现容器的提升和下放运动。
摩擦式提升机根据布置方式的不同,又可以分为塔式摩擦式提升机(机房设在井筒顶部塔架上)和落地摩擦式提升机(机房直接设在地面上)两种,如图1-1和图1-2所示。
 
    图1-1 塔式摩擦式提升机
 
    图1-2 落地摩擦式提升机
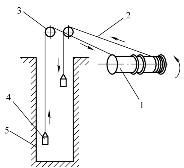
缠绕式提升机主要分为单绳缠绕式提升机和多绳缠绕式提升机两种。单绳缠绕式提升机根据滚筒数目的不同分为单滚筒(卷筒)和双滚筒(卷筒)两种,其工作原理如图1-3所示。它是通过卷筒的正反转使得钢丝绳在卷筒上结合和分离,从而实现重物的提升和下放。但是随着开采深度、提升载荷和提升速度的增加,需要的钢丝绳抗拉强度也成倍增加,表现为钢丝绳的几何直径成倍增加。对于单绳缠绕式提升机,当开采深度达到2000m时,钢丝绳的直径将达到120mm,而对于直径在70mm以上的钢丝绳,其制造、缠绕和安装都非常的困难,相应的运行和制造成本也会成倍增加,不具有工程适用性。因此,由于钢丝绳直径过大带来的种种问题,单绳缠绕式提升机也不适用于超深井提升。
 
    图1-3 单绳缠绕式矿井提升机的工作原理
1—提升机 2—提升钢丝绳 3—天轮4—提升容器 5—井筒
多绳缠绕式提升机是为了解决单绳缠绕式提升中钢丝绳直径过大带来的制造、安装、成本等问题,采用多钢丝绳的多点提升就成为实现超深井提升的有效形式,如图1-4所示。由于采用多钢丝绳的提升形式,可有效减小钢丝绳的直径,从而有效减小天轮和卷筒的体积,使得提升系统不仅在理论上适用于超深井提升,同时也具有工程适用性。因此,采用多钢丝绳的多点提升是超深井提升可行且有效的提升形式。
 
    图1-4 多绳缠绕式提升机
多绳缠绕式提升机拥有单绳缠绕式提升机的特点,在用于斜井提升和凿井提升时,不需使用钢丝绳尾绳及钢丝绳张紧平衡装置,这使得提升系统简单化,多绳缠绕式提升机也可用在双端多水平提升中。与单绳缠绕式提升机相比,多绳缠绕式提升机载荷比单绳缠绕式提升机增加一倍;多绳缠绕式提升机的结构也有所不同,该提升机有两个互呈5°~10°布置的主轴装置,两主轴间采用了超大扭矩的万向联轴器联接,如图1-4所示。该结构平衡了提升容器的张力,有效减小了电动机功率,还减小了绳偏角和井筒直径。