



随着变换器频率的不断提高,变换器体积不断减小,而磁元件的体积及重量问题日益突出,可占变换器30%以上,而减小磁元件体积的重要方法即为磁集成技术。
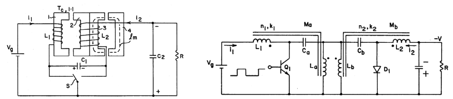
早在1928年G.B.Crouse申请了在无线电路中的滤波器内使用磁集成技术的美国专利“Electrical filter,US1920948”,如图3-24所示。在这个专利中他提出了一个为直流电路滤除交流纹波的结构。其中图a是原始结构,图b是该发明的结构示意图,二者可以达到相似的滤波效果。而图c和图d分别是图a和图b的数学简化和等效。由于去除了原始的电感7,整个系统的体积有所减小。
图3-24 G.B.Crouse提出的磁集成技术专利
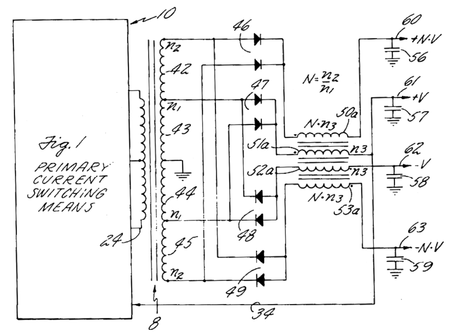
1975年Glenn C.Waehner申请的美国专利“Switching power supply common output filter,US3916286”中,提出了共模输出滤波器集成方案,如图3-25所示。用于多输出开关电源系统,其多路输出的绕组共享一个磁心,因此节约了约50%的磁心材料,降低了约30%重量,此外由于磁心耦合减小了滤波纹波,需要的滤波电容容值也有所减小。
图3-25 多路输出滤波器磁集成技术专利
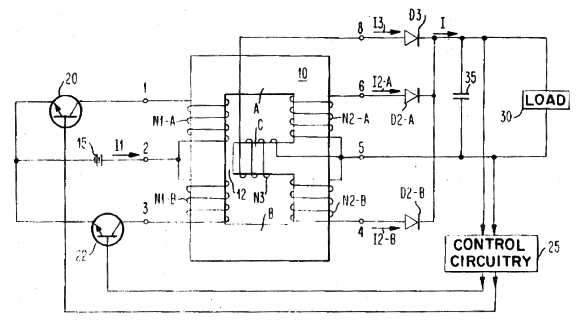
除了电感直接相互集成可以带来体积及电路性能方面的优势以外,1971年起美国IBM公司的John R.Cielo和Harry S.Hoffman提出了集成电感和变压器的新结构“Combined transformer and indicator device,US3553620”,如图3-26所示,用于dc-dc变换器,开启了多种不同磁元件集成的全新技术路线。
图3-26 电感和变压器集成技术专利
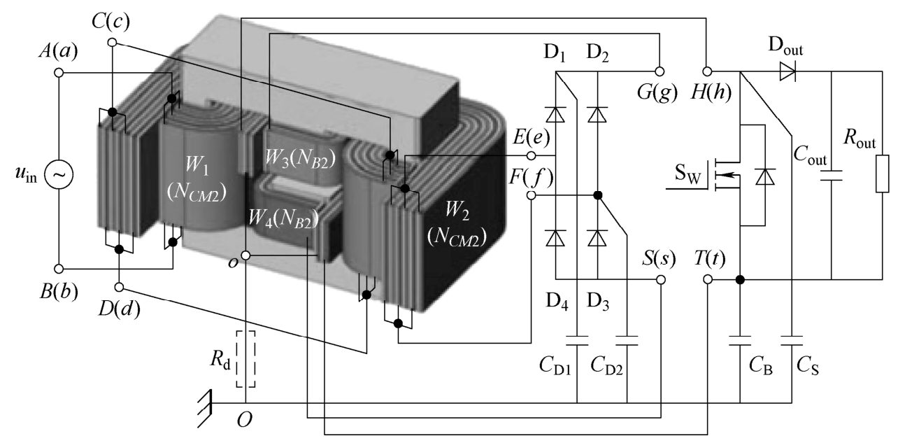
在磁集成早期发展时期做出突出贡献还有美国加州理工学院的R.D.Middlebrook教授和他的学生Slobodan Cuk教授,他们从1980年起申请了一系列相关专利 [55-58] ,旨在提升变换器效率、降低EMI干扰的同时减少使用的元器件数目,在设计得当的电路中,通过磁集成可以使得磁通脉动相互抵消,其电流甚至可以实现“零纹波”。图3-27为他们所提的部分电路,他们提出了一系列各类磁元件集成方法,极大丰富了磁集成设计思路。
图3-27 R.D.Middlebrook和Slobodan Cuk提出的磁集成电路
另一位有突出贡献的专家是Bloom associates Inc.的Gordon E.Bloom,他从1984年开始大约10年期间发表了一系列论文、白皮书及著作 [59-62] ,系统阐述了磁集成元件的分析方法,并指出磁集成技术不仅仅是针对于特定变换器的技术,而是有相当的通用性可以推广到“任意”电路拓扑当中,并仅使用“一个”磁心。
在此后的应用与实践中,磁集成技术被应用于多种多输出电源,获得了较好的应用。同时由于其工业化设计生产的难度以及参数一致性问题,其应用范围也受到限制。此后随着技术的进步,平面磁心、PCB绕组等新的磁元件形式不断出现,随之产生了平面磁集成这一新的技术分支,以弗吉尼亚理工大学CPES为代表,将这一技术应用于平面集成滤波器、矩阵变压器等结构。近年来,利用柔性PCB材料,浙江大学徐德鸿教授等提出了采用柔性PCB进行滤波器系统集成的方案 [63] ,如图3-28所示。
图3-28 柔性PCB滤波器
国内在电磁研究方面有河北工业大学杨庆新教授、李永建教授,海军工程大学肖飞教授,福州大学陈为教授,华北电力大学李琳教授,清华大学蒋晓华教授,南京航空航天大学陈乾宏教授、吴红飞教授等。