



三极管发明之后,开启了人类开发半导体器件的大门,此后,半导体器件如雨后春笋般涌现。
早期的晶体管主要用锗来制造,因为锗具有较低的截止电压,使用锗管的设备能够得到更高的灵敏度。但锗有两个主要的缺点,一个是锗容易产生“热失控”,另一个是锗管的漏电流比较大,容易产生噪声。因此,肖克利敏锐地意识到,硅将代替锗成为更适合的半导体材料。看出了巨大商机的肖克利,于1955年离开贝尔实验室去建立自己的公司——肖克利实验室股份有限公司,不幸的是,这家公司在商业上并不成功,因为绝大部分新员工很早就离开,并建立了仙童半导体(Fairchild Semiconductor)。一个主要原因是肖克利痴迷于自己的另一个发明——四层的半导体器件(思维定式,既然三层的性能很好,那么四层结构肯定也可以),它具有双稳定的特性。因此肖克利认为可以用它作为数字开关器件,这个点子很巧妙,但是用当时的技术制作四层器件太困难了,而且公司没有把开发商品化的结型晶体管作为主攻方向(它的成功机会很可能大得多),而是分兵作战,结果两者都没有取得足够的进展。四层半导体器件的荣光属于美国GE公司,1957年,GE公司开发了商用的四层半导体器件——晶闸管(1962年首次使用Thyristor,其中thyr是希腊词根“门”的意思,istor是从transistor中来的,又称为可控硅或可控硅整流器,silicon controlled rectifier,SCR)。没过几年,发明了栅极可关断的晶闸管(gate turn-off thyristor,GTO),在栅极上加一个负脉冲就可以关断晶闸管,比半控型的晶闸管灵活性大大增加。晶闸管的发明极大地方便并加快了人类对电能变换的应用,大部分学者认为,晶闸管的发明代表着电力电子技术的诞生 [6] 。晶闸管刚发明时只能承受300V电压和25A电流,而现在,可以做承受10000V电压和5000A电流,这是因为硅片越来越大,同时散热和封装技术也得到了很大进步。现在,晶闸管在常规高压直流输电中仍然是绝对担当。
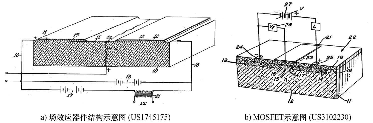
如前所述,肖克利一直在寻求场效应晶体管(它的工作方式和真空管很类似),早在1926年,波兰裔美国物理学家和发明家尤利乌斯·利林菲尔德(Julius E.Lilienfeld)申请了一项美国专利“Method and apparatus for controlling electric currents,US1745175”(于1930年1月28日获授权,相同内容之前于1925年10月22日在加拿大也申请了专利),提出了一种使用硫化铜半导体材料的三电极结构(现在被称为场效应晶体管),如图2-21a所示,当时只给出了概念的理论描述,并没有做出器件实物,因为实现该器件所需要的高纯度半导体材料以及相应的蚀刻等工具几十年后才出现,尽管如此,该制造器件的概念为后人的研究指明了方向,最终,场效应晶体管成为了现代半导体工业的基础。该专利也导致当肖克利、巴丁和布拉顿试图为他们的晶体管申请专利时,他们的大部分要求都被拒绝了。晶体管发明后,贝尔实验室的科学家们仍然对寻找场效应晶体管的目标不放弃,可惜的是,锗和硅的高密度表面态阻止了贝尔实验室科学家们制作实际的器件,在栅极上施加电压,可以在下面的半导体里诱导出高密度的电子,但是这些电子并不能自由地影响半导体电导率。也是一个偶然的机会,科学家们发现硅可以被氧化,形成高稳定性的绝缘薄膜,它具有很好的界面特性(也就是氧化物和硅之间的界面),可以很好地控制界面下的电子。1960年,贝尔实验室的Dawon Kahng和Martin M.(John)Atalla发明了金属氧化物半导体场效应晶体管(metal oxide semiconductor field-effect transistor,MOSFET),并于1960年5月31日申请了美国专利“Electric file controlled semiconductor device,US3102230”,MOSFET结构示意如图2-21b所示。MOSFET发明后,很快就被应用于集成电路里,目前,集成电路中99.9%的晶体管都是MOSFET。器件除了越做越小,同样也往更高电压、更大电流场合发展,20世纪70年代就出现了功率MOSFET,在现在中小功率场合被大量应用。讲到MOSFET,也要谈谈我们中国人的贡献,就要提到被誉为“中国功率器件领路人”、中国科学院院士、IEEE Fellow的电子科技大学陈星弼教授,他是国际半导体界著名的超结(super junction,又称为超级结,具体见美国专利Semiconductor power devices with alternating conductivity type high-voltage breakdown regions,US5216275)结构的发明人,他提出N区P区相互交替形成“超结”,解决了MOSFET阻断电压与通态电阻的矛盾,可以大幅降低MOSFET的导通电阻,现在每年超结MOS器件销售额约10亿美元。
下面该我们的绝缘栅双极型晶体管(insulated gate bipolar transistor,IGBT)隆重登场了。上文提到,20世纪70年代就出现了成熟的商用功率MOSFET,它的开关速度快,栅极驱动电流小,在中小功率低电压场合已经是比较好的功率器件了,但它的导通电阻比较大,且不能用于电压较高、电流/功率较大场合(与BJT相比,MOSFET导通电阻随着击穿电压的增加而急剧增加),而BJT则正好相反,开关速度慢,电流型驱动,驱动功率大,但导通压降低且导通电流定额大。因此,为了更好地适应高压大功率场合,将MOSFET与BJT的特点相组合起来就成为追求的目标,于是IGBT出现了。
图2-21 场效应器件结构
1968年日本三菱株式会社(Mitsubishi)的K.Yamagami首次提出了IGBT器件结构,并在日本申请了“Transistors,S4721739”的专利,提出利用一个n-MOSFET驱动一个NPN晶体管的结构。从20世纪70年代末到80年代初,一些研究小组开始关注并对这种器件结构进行研究。这里就不得不提到被称为“IGBT之父”的贾扬·巴利加(B.Jayant Baliga)。从1974—1988年,巴利加是美国GE公司研发中心成员,在那里他是高压设备和集成电路项目的经理。他早期主要研究应用于高压场合的晶闸管,我们知道启动晶闸管很容易,但要关闭它们,则要在晶闸管阳极和阴极之间施加反压,严重制约了其应用。在研究晶闸管时,巴利加发现可以把它们改造成像普通的晶体管一样工作,也即不但可以开通,也可以通过驱动信号将其关断。于是巴利加设计出了一种晶闸管状的装置,将MOSFET和双极型晶体管的最佳属性相结合,而当时,这两种器件在半导体世界中被认为是完全不相关的。在1979年发表的文献中,巴利加提出了一种垂直MOS栅极晶闸管结构,并进行了实验测量,结果显示该结构在低栅极偏置条件下表现出电流饱和,这意味着MOS栅极晶闸管相当于工作在PNP晶体管状态,也就是现在我们大家熟知的IGBT的等效工作状态,在1982年发表的文献中,巴利加报道了首个分立IGBT器件的实验测量结果。
尽管GE公司最先做出这个被誉为掌控电力世界的钥匙——IGBT,但当时的CEO杰克·韦尔奇(Jack Welch)一直不喜欢半导体业务,他认为半导体行业属于资本密集型、周期性很强的行业,于是,1988年GE公司卖掉了整个半导体业务。之后,一群虎视眈眈的企业一拥而上,首先就是西门子以及日本公司三菱和富士,几乎同时研发出IGBT,随后ABB、东芝等加入战团。时至今日,说起IGBT领域,依然是这几个巨头占据着IGBT庞大的市场份额。而从西门子拆分出来的英飞凌作为功率器件一方霸主,依然牢牢占据主导地位,甚至英飞凌的IGBT就是行业标杆。
再回头说下巴利加博士,他于1988年加入北卡罗来纳州立大学,继续从事功率半导体技术的研究,并创建了功率半导体研究中心。2016年他入选美国国家发明家名人堂,在该网站上是这么介绍IGBT影响的——“自IGBT发明以来,减少了1.5万亿加仑的汽油消耗和75000太瓦时的电力消耗,为消费者节省了24万亿美元”。我于2011年在北卡罗来纳州立大学做博士后期间听过一个不知真假的趣闻,由于IGBT对世界电力发展以及节能的巨大贡献,说每年当诺贝尔奖要公布获奖名单的时候,巴利加博士就守在家里的电话机旁。
现在,IGBT也被称为电力电子行业里的“CPU”,在可再生能源、电力传输、交通、工业、消费、医疗等众多领域中获得了广泛的应用。