



时间又回到人类对电发明的重要需求之一——照明。当爱迪生和其他人正与白炽灯丝作斗争时,一些发明家提出了利用放电制造光的概念。美国发明家彼得·库珀·休伊特(Peter Cooper Hewitt)在探索的过程中,发现往真空的灯管里添加液体汞(俗称水银),通电后液体汞蒸发变为汞蒸汽,在合适的电压作用下,汞蒸汽受电子激发而发光,发光效率要比灯丝高得多(灯丝大部分电能转化为热能了),并于1900年4月5号同时申请了关于汞蒸气灯的5个美国专利,如“Electric lamp,US682690”“Method of operating electric lamps,US682680”,并于1901年获得授权。但汞蒸汽发出的是不怎么讨人喜欢的蓝绿色光,你想象一下,到晚上家里一开灯是蓝绿色的,感觉和恐怖片差不多。但他的汞蒸气灯在摄影工作室和其他工业应用中找到了应用,摄影工作室广泛使用汞蒸气灯,在一个黑白电影时代,摄影师对光线颜色几乎没有什么要求,只需要有很强的光线就行。
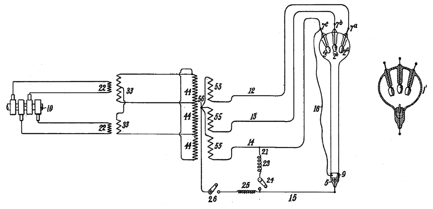
当然,休伊特发明的汞蒸气灯不是我们关注的重点,在研究汞蒸气灯过程中,休伊特很快发现这盏灯只在一个方向上导电,这意味着它可以作为整流器工作,于是,他在1902年申请了一种汞蒸汽电气设备的美国专利“Vapor electric apparatus,US989259”,如图2-11所示,他在专利文件中明确指出“I provide a rectifier for the three-phase current(where used for lighting purposes or not)”,指出它不但可以是个汞蒸气灯,也完全可以当作整流器用,也即后来大家熟知的水银整流器(mercury arc rectifier,也有称之为汞弧整流器)。
大功率整流装备在1900年左右有很大的市场需求,因为自19世纪90年代以来,逐步采用交流供电,但在19世纪80年代就已安装了不少直流供电系统,而因为经济原因已建好的直流供电系统又不能立刻拆除,就需要有从交流供电系统转换成直流电的装备。另一方面,一些工业生产中也需要大功率直流电,如电解。此外,相比于交流电机,直流电机要有大得多的调速范围,因此在各种电机驱动场合使用广泛,同样也需要从交流供电系统中整流得到直流电压。
图2-11 休伊特发明的水银整流器示意图
水银整流器发明后很快在三相电整流方面得到了应用,如1903年2月7日,休伊特的助手、美国发明家Percy H.Thomas申请了一种配电系统专利“System of electrical distribution,US783482”,如图2-12所示,即用6只水银整流器组成一个三相可控整流电路,改变触发的相位角,就可以得到不同的输出电压波形,如图2-12b所示(对此图大家都应当感到很亲切,本科电力电子课程中必学内容,只是将水银整流器换成了晶闸管)。据本书作者了解,这个专利应当是人类历史上第一个用电子器件实现三相可控整流的。
下面简单介绍下水银整流器的工作原理。最简单的水银整流器是一只抽成真空的容器,其内含有一个水银阴极和一个铁或石墨制成的阳极。利用辅助设备(如点弧阳极和励弧阳极)在水银表面建立辅助电弧,使水银阴极发射电子。如果此时阳极电压为正,阴极电压为负,即在阳极与阴极之间建立电场。在这种情况下,水银阴极所发射的电子受阳极的吸引冲向阳极。电子在其路途中与汞蒸气的分子相撞,使分子游离而分裂为二次电子和正离子,二次电子与初次电子一起冲向阳极,在其路途上又与汞蒸气的分子相撞,使其分裂出三次电子,如此接连不断地进行下去,终于在汞蒸气中造成无数的电子和正离子,使整流器内发生电弧放电作用,电子从阴极冲向阳极并进入阳极,从而形成电流通路。
图2-12 Percy H.Thomas的三相整流器专利及输出电压波形
正离子从汞蒸汽空间冲向阴极,并聚集在阴极表面附近,形成空间正电荷,空间正电荷与水银阴极表面的距离很近,于是空间正电荷与阴极之间形成很强大的电场,可使阴极发生高电场发射作用而发射出电子来。此外当正离子撞击阴极时,也可使阴极发射出电子来。阴极所发出的电子可以维持电弧放电作用,所以水银整流器中的电弧放电是一种自持放电。如果阳极与阴极之间的电压方向变为负,即与之前的方向相反,由于阳极在正常情况下不能发射电子,因此汞蒸气的游离作用终止,整流器内电弧熄灭,电流就此停止流通。可见水银整流器只能单向通过电流,可以用来将交流电转化成直流电。
那如何对水银整流器进行有序的控制呢,同样需要增加一个控制栅极,当阳极与阴极之间的电压为正时,这时如果控制栅极电压为负,则阳极不会起燃(即没有电流通过),如果此时控制栅极电压为正,则会促使阳极起燃(即有电流通过)。可见,水银整流器中的控制栅极与真空管中的控制栅极的作用不尽相同,它只能起到控制阳极的起燃时间(在阳极尚未起燃之前,通过加负的栅极电压将阳极闭塞起来),而当阳极已经起燃后,它就不能再将阳极电流关断,只有当阳极电流降低过零时阳极自然熄灭,其闭塞作用才能重新恢复。可见,水银整流器与晶闸管的工作情况几乎完全相同,对晶闸管而言,当其门极触发使晶闸管导通后,其门极即失去作用,无法将晶闸管关断,只有等晶闸管电流过零而自身关断。
相比于晶闸管,一个水银整流器可有多个阳极,如果整流器的两只阳极或多只阳极上同时加有正电压,则具有最高正电位的那只阳极将通过电流,这也就是为什么在一个水银整流器中就可以实现三相整流,六相甚至十二相整流水银整流器也都有生产。几种水银整流器照片如图2-13所示,当其工作时,上面一个圆圆的大脑袋里面发出幽蓝色的光芒,底部还有多个触手张牙舞爪,有点像外星人的黑科技。
图2-13 水银整流器照片
下面介绍下我国水银整流器的生产使用过程 [5] 。我国在1956年之前,只有在上海一个小厂里生产数量和容量很小的玻璃式水银整流器,所用的原材料,如石墨、玻璃等都依靠进口。而工业上需要的大容量水银整流器,均从苏联等友好国家进口。1955年起,在苏联的援助下,西安建立了我国第一个现代化水银整流器厂——西安开关整流器厂(演变为现在的西安西电电力整流器有限责任公司,简称西整公司),是我国一五计划(1953—1957年)期间苏联对新中国工业领域的156个援助项目之一。整流器厂于1958年下半年开始投入生产,同时锦州新生电机厂也在这个时候试制同类型水银整流器,但是产量不能满足国家需求。因此冶金工业部和化学工业部也在各属许多单位内筹备生产水银整流器。1958年,水银整流器工业在全国各地遍地建立。1960年左右已能生产5000V/300A的水银整流器,已达到当时的先进行列。除水银整流器外,还生产各种类型用途的水银整流器控制柜,其中栅极控制角已经达到140°,广泛应用于电解、轧钢、电力牵引、矿山运输等。这应当算是我国大功率电力电子行业的起步了。本书作者从旧书店里淘了一本樊元武编著的《水银整流器》,是1959年4月出版的,应当是国内学者在水银整流器方面比较早的专著了。