



关于南阳汉代画像石的概念问题,基本上有两种说法,一种是按照今天南阳市行政区域划分方式,另外一种就是按照汉代南阳郡的划分方式。本书在以往划分方式的基础上,提出南阳汉代画像石是以汉代南阳郡宛城为核心,南到今天湖北荆州的当阳,北到今天的许昌襄县,因为这些地方的汉代画像石,均源于一个祖形,并以南阳宛为中心发展起来的。前文已经提及,汉代的南阳郡与今所谓“南阳盆地”大致相当。秦昭襄王三十五年(公元前272年)秦伐楚占领此地,以宛县(南阳)为治所设置南阳郡,所辖包括今栾川、鲁山以南,汉江以北,西峡、均县以东,信阳、随县以西的地区 [4] 。汉代延续南阳郡制,除西北部的丹水、淅县在元鼎三年割予弘农,建武十五年又重归南阳外,郡境几无变化 [5] 。
要按照汉代行政区划分的话,南阳汉代画像石包含汉代的南阳郡、南郡、颍川郡。所以我们在此次南阳汉代画像石分期过程中,梳理的资料不仅局限于现在南阳市的范围之内,基本上涵盖了南阳郡、南郡、颍川郡的汉代画像石墓的资料。
根据现有考古发掘资料,南阳以及南阳周边已经发掘了119座汉代画像石墓。我们目前基本上可以把南阳一带的汉代画像石墓分为四个时期,一期——西汉中后期,二期——西汉末到王莽时期,三期——东汉早期,四期——东汉中晚期。
一期是南阳汉代画像石墓的产生期。墓葬发掘数量不多,目前仅发现7座,画像石没有纪年资料,但墓的形制和伴出器物却有鲜明的时代特征。这7座即随县聂家湾汉代画像石墓、随县王家湾汉代画像石墓、唐河湖阳镇汉代画像石墓、唐河石灰窑村汉代画像石墓、南阳杨官寺汉代画像石墓、赵寨砖瓦厂汉代画像石墓、河南省南阳市万家园汉画像石墓。
(1)湖北随县唐镇聂家湾汉代画像石墓墓葬形制。墓门方向180°。该墓为平顶多室墓,墓室系纯石结构。四个墓室共宽4.74米,各长3米、高1.62米。石料与唐镇王家湾汉代画像石墓的石门相同,亦非当地所出。所用石条和石块规格不一,都是预先经过修整的,使其五面平整,仅一面粗糙。除墓门的门扉和阑额石外,其他均无纹饰。石长0.48—1.95米、宽0.3—1.15米、厚0.14—0.3米。墓室内并列四个棺室,即东、西室和东、西侧室,皆呈长方形,其建筑结构及大小基本相同。东室为一对铺首衔环的门扉,西室一扇刻有并列的双层阙形建筑。在门额石的下半部也凿有斜方格纹,线条比较粗糙。门扉上下有轴,插入门额石和门坎石的轴窝内,由外开门。墓顶用13块近方形石,并列平铺盖顶,其衔接处均凿有阴阳衔口,两石相互扣压,相当牢固。出土6块石料,其中画像6幅。 [6]
(2)湖北随县唐镇王家湾汉代画像石墓墓葬形制。墓门方向10°。该墓平面呈近方形,分墓门、椁室、壁龛三部分。为穹隆顶石门砖室墓,长2.84米、宽1.7—1.74米。墓门有两个,另有7块长条石建筑于不同部位。此外,后壁小龛已变成规整的砖砌方形券顶小室。出土画像石7块,画像2幅。 [7]
(3)唐河县湖阳镇汉代画像石墓墓葬形制。该墓用砖石砌造,墓室、墓底和封门用砖,墓门和过道的门楣用石。该墓东西宽5.98米、南北长5.54米、高2.78米,墓室由三个并列的券洞构成,墓门由三个门楣、四个门柱、六个门扉和槛石构成。门通高1.95米、通宽6.06米。门楣画像为连弧纹。门柱和门扉部是菱形纹,但雕刻技法不同,前者是常见的斜纹衬底浅浮雕,衬底也是规则的图案。后者采用剔纹的方法,用不同的纹向使图案显示出来。椁室之间有过道相通。墓道中有一长2.24米、宽2.09米的外藏椁土坑,内置随葬品。 [8]
(4)唐河县石灰窑村汉代画像石墓墓葬形制。墓门方向213°。为石结构平顶墓,所用石料多为不规整的毛片石,墓长3.97米、宽3.34米,中间由隔墙分为两个棺室,两室之间有过洞相通,隔墙靠南端有一门洞,东西相通。东室墓门有门楣、门柱、门扉和顶门石,西室墓门仅用2块石板封堵,外用一石条支顶。此墓出土画像石5块,全作为东室墓门。两室后壁不用石材,后壁留有不规则的略呈半圆形的生土二层台以放置随葬品。出土画像石5块。 [9]
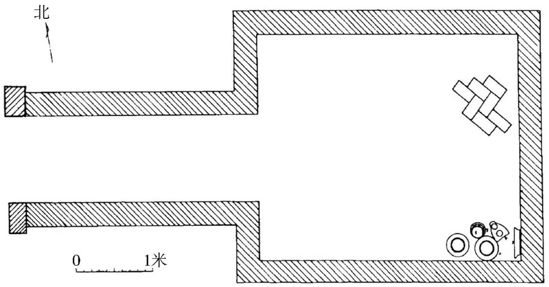
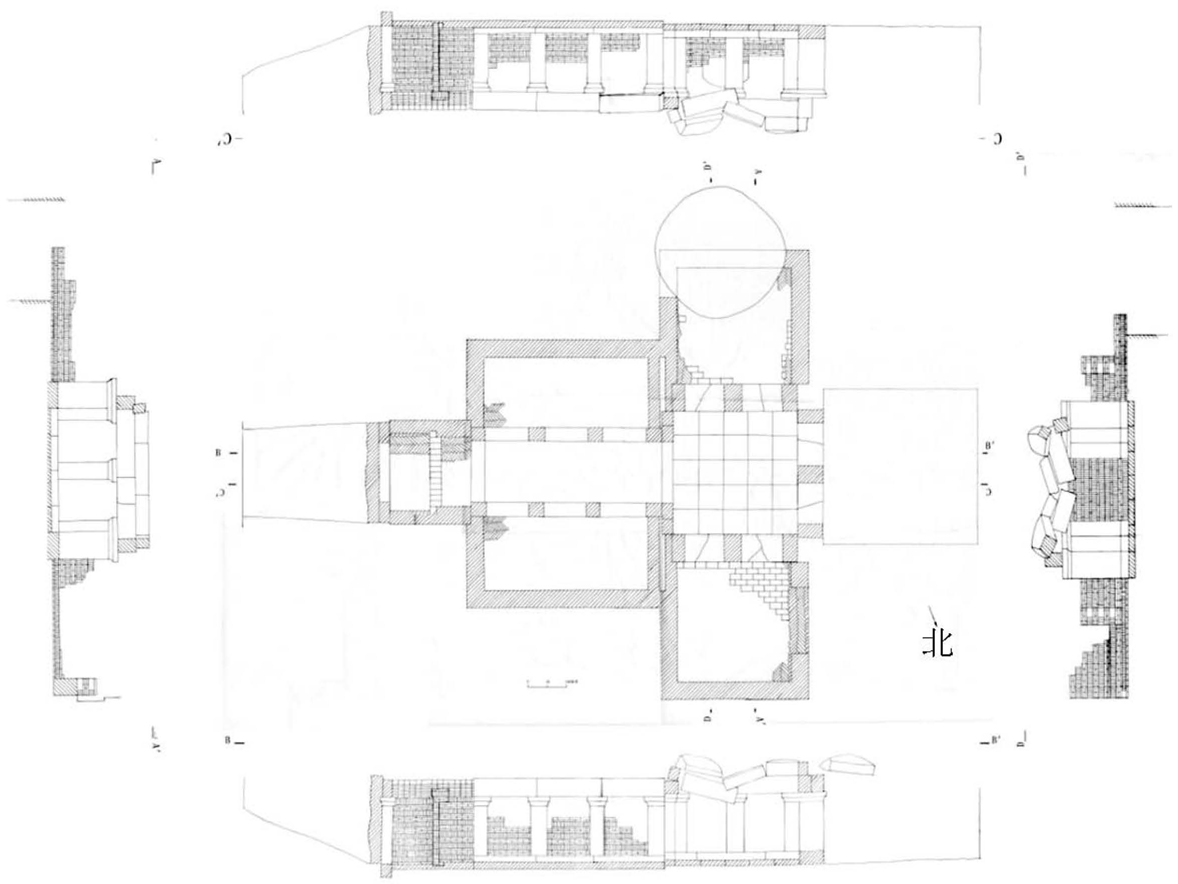
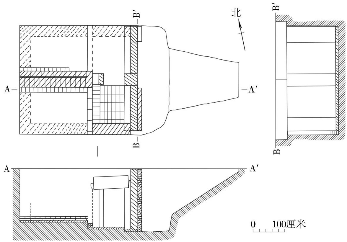
(5)南阳杨官寺汉代画像石墓墓葬形制(图4-1)。墓门方向104°。该墓为平顶纯石结构墓,墓长6.47米、宽5.6米,由前室、主室、南侧室、北侧室、后侧室组成,主室又由隔墙分为南主室和北主室。实际上,南侧室、北侧室和后室共同组成围绕主室的回廊。墓室的顶盖、周围壁墙、隔墙、门框、门扉以及封门和墓底,全用事先制好的各种大小不同的石材砌筑而成。计分顶盖44石、壁墙与隔墙199石、支柱10石、阴额8石、铺底82石、门扉4石、封阴4石,共为大小351石。这种以主室为中心、左右和后部围以回廊的墓葬,是从诸侯王等级的高级专用木椁墓形式演变而来。出土画像石14块,画像14幅。 [10]
图4-1 南阳杨官寺汉代画像石墓墓室透视示意图
(6)南阳赵寨砖瓦厂汉代画像石墓墓葬形制(图4-2)。墓门方向90°。墓室长5.86米、宽5.3米。平面近正方形,为砖石混合结构,由一前室、一后室、南北两侧室组成,前室(包括墓门和前室的南北侧壁)和南北两个侧室的天井由石板平铺的平顶构造,墓前大门并排四门,由三中柱、二侧柱和八扇门扉组合。门扉通高1.70米、厚0.08米。南北两侧的四扇门扉各宽0.45米,中间四扇门扉各宽0.52米。前堂平面呈长方形,南北长4.42米、东西宽1.42米、高2.15米。内室东西长3.88米、南北宽2.28米、顶高3.10米。后室、两个侧室的墙体为砖结构,侧室、后室为子母砖砌券顶,其余各室为石板铺砌的平顶结构。南、北侧室分别筑于内主室两厢,形制相同,长3.88米、宽0.78米、高2.15米。均无门扉装置。该墓画像石较少,仅墓大门门扉和门柱上雕有画像,其余所有石料均为素面,画像皆有彩绘痕迹。内容分楼阁、门阙两种。八扇门扉皆刻楼阁,五个门柱皆刻门阙,出土画像石13块,画像13幅。 [11]
图4-2 南阳赵寨砖瓦厂汉代画像石墓透视示意图
(7)河南省南阳市万家园汉画像石墓墓葬形制(图4-3)。该墓坐西向东,方向113°,砖石混合结构。墓葬的建筑程序是,先在地表挖出长方形竖穴土坑墓圹,在墓圹的东部又挖出梯形斜坡状墓道,墓圹长3.60米、宽4.34米,墓圹壁面平整较光滑,方向98°。从整个清理出来的墓室与墓圹看,墓室与墓圹的方向相差15°,整个墓室向西北偏,墓室与墓圹之间回填原坑土夯实。夯层厚25厘米,未见夯窝。墓室顶部已毁,情况不明。该墓总长13.24米、宽3.24米,由墓道、封门、墓门和南、北室组成。墓室主体为砖结构,封门、墙体、铺地砖均用青灰色小条砖构筑。砖分长方形和楔形两种,长方形砖有长32厘米、宽16厘米、厚8厘米和长33.5厘米、宽16厘米、厚8厘米两种,楔形砖长32厘米、宽16厘米、厚5—6厘米。石料用于墓门的门楣、门柱、门扉、垫石等部位。此墓共用石料11块。其中画像石9块、画像13幅,包括门楣2块,门柱3块、门扉4块。 [12]
图4-3 河南省南阳市万家园汉画像石墓墓葬结构图
此期墓葬画像石的雕刻技法主要是凿纹地阴线刻画浅浮雕和凿纹地凹面刻。如唐河石灰窑墓出土的汉代画像石基本上均是凿纹地阴线刻浅浮雕(图4-4、图4-5),画面讲究对称,一般情况下是横幅竖纹、竖幅横纹的表现方式。对动物或人物的刻画较为粗糙,人物面部刻画简约。与此相反的如杨官寺墓的楼阁画像,屋顶部分是用凿纹地阴线刻,画像部分均采用凿纹地凹面刻。特别值得一提的是,南阳万家园汉代画像石墓的画像,虽然画像石仅使用在墓门及其周边,数量较少,但雕刻技法已经娴熟,动物刻画栩栩如生,动感十足。此时期的画像内容主要为楼阙建筑、铺首衔环、墓门上的朱雀白虎和简单的几何图案,人物偶尔出现。总的来看,此时期的画像石图像表现方面比较简单,手法有待提升。图像的底纹处理也比较粗糙;有的画像过份对称,近似图案;人像刻画比例失当,人物站像身躯修长,而坐像则头大身小,细部刻画也极为草率。神兽刻画动感也不够生动,多为静态形象。
图4-4 墓门画像石(左扉)
图4-5 墓门画像石(右扉)
南阳地区汉画像石墓由于历史原因,众多墓葬在历史上多次被盗。在考古发掘时,几乎是盗墓贼光顾后遗留下来的一些陶器和钱币甚至一些小铜构件。更让人失望的是,有的墓葬里面空空如也,没有任何随葬品,有的墓葬遗留的全是残缺的陶片,几乎没有一件完整器。这7座墓葬中,随县王家湾墓,仅出土有陶盘、钵、屋顶、楼房等器碎片,又都不能复原,因此不作详述。随县聂家湾墓出土的有两件铜軎和8枚铜钱,8枚均为五铢,有郭的7枚,其余皆为陶器。陶器均为灰陶,有仓、双耳小罐、小炉、筒形罐、瓮、罐、灶、钵、井、耳杯以及各类家畜等。唐河县湖阳镇墓中出土器物也仅仅是陶器而已,陶器分红陶、灰陶两种。红陶施红黄釉,灰陶施绿釉,釉陶器物主要有壶、小壶、敦、方盒、仓、磨、灶、井、盆、博山炉盖,其中又以红黄釉陶居多,还有陶猪圈及猪、鸡、鸭等无釉灰陶。另外还有鎏金凤凰、鎏金龟纽铜印、玉佩等,表明了墓主人较高的身份和奢侈的生活习性。 [13] 唐河县石灰窑村墓中出土器物有陶罐、陶盆、陶仓、陶磨、陶井、陶灶以及五铢钱8枚。南阳万家园汉代画像石墓出土的器物有铜镜、铜钫壶、铜奁盒、环首铁刀等。 [14] 南阳杨官寺墓中出土有成套的鼎、敦、壶礼器。鼎又分为大、中、小三种不同的型号,且在每个鼎足的上部分别饰以老年、中年和青年三种不同年龄的人面形象。 [15] 赵寨砖瓦厂汉代画像石墓中出土的陶器为猪圈(连厕所)、灶、曾瓦、鼎、炙炉、瓮、敦盖等,另外还有仓、博山炉盖及奁盒等碎陶片。其中仅猪圈1件为豆绿釉陶,其他多为黄釉陶 [16] 。在这些墓葬中,依然有礼器出现,不过已经不再是铜器,而是以陶来代替,生活用品依然流行,并且出现了家禽家畜。在这些陶器中,绿陶和红陶以及灰陶、绿陶和红陶有带釉现象。尤其是湖阳汉代画像石墓,出现了鎏金凤凰(图4-6)、鎏金龟纽铜印、玉佩等,残留的棺椁还有漆皮的痕迹,漆皮上面还有金珀的动物造型,这向我们诉说了画像石墓在早期流行阶段部分贵族也曾使用的事实。
图4-6 鎏金凤凰
综合这7座墓的情况来看,均没有纪年材料,但墓的形制和伴出器物却有鲜明的时代特征。在7座墓中,唐河石灰窑村汉代画像石墓、随县聂家湾汉代画像石墓、南阳杨官寺汉代画像石墓均为平顶纯石结构;赵寨汉代画像石墓虽后室为券顶,但前室和耳室均为石板铺设的平顶结构。这种平顶结构,显然在形态上保持着木椁墓的特征,说明它从木椁墓演变过来不久。唐河湖阳汉代画像石墓没有明显地分出前后室,随葬品置于墓室外的外藏椁中;随县王家湾汉代画像石墓只有短而窄的棺室而无前室。这都是较早的墓形特征。从出土随葬品看,石灰窑村墓所出8枚货币最晚的为宣帝五铢,墓的时代应属宣帝或稍后。杨官寺汉代画像石墓所出陶壶与洛阳烧沟汉墓的陶壶极为相似,所出货币也皆为西汉五铢,其中一部分为磨郭钱,证明墓的年代已到西汉晚期。聂家湾汉代画像石墓所出器物与王家湾汉代画像石墓接近,其年代应大体相当,应为西汉中后期。赵寨墓所出21枚五铢、唐河湖阳墓所出百余斤五铢,都属西汉中晚期,墓的年代应为西汉晚期。 [17] 徐永斌在《南阳汉画像石的发展与分期》一文中把唐河湖阳墓定为汉武帝时期,实为不妥。 [18] 李陈广等人撰文认为唐河湖阳墓的年代大约在西汉昭帝和宣帝时期,他们的依据是,在唐河湖阳汉代画像石墓和南阳赵寨砖瓦厂汉代画像石墓中,出土有少量的金银小件饰物、铜车马饰件、铁器、玉器等。两墓均出土有西汉五铢钱,大多为昭、宣时期铸造的,仅湖阳镇汉代画像石墓中有少量的武帝五铢。 [19] 如果仅仅以钱币为依据把湖阳汉代画像石墓定为武帝或昭帝时期,也不够严谨,前朝货币到汉宣帝时期继续使用也再正常不过。较为妥善的处理方式是,综合墓葬的所有信息,包括墓葬形制、出土钱币和器物等来判断。由此可见,这7座墓的年代大体属西汉中后期,最早不过昭帝,大约在昭帝至元帝时期。 [20]
从西汉中后期出现汉代画像石墓,到成帝时期,经过四十余年的发展,南阳汉代画像石墓的数量越来越多,雕刻技法也越来越成熟。已发掘的典型墓葬有唐河针织厂汉代画像石墓、唐河县电厂汉代画像石墓、唐河汉郁平大尹冯君孺久汉代画像石墓、唐河县西冢张村汉代画像石墓、唐河县针织厂二号汉代画像石墓、唐河县湖阳罐山汉代画像石M3、唐河县湖阳罐山汉代画像石M4、唐河县湖阳罐山汉代画像石M5、唐河县湖阳罐山汉代画像石M6、唐河县湖阳罐山汉代画像M10、南阳市常庄汉代画像石墓、南阳中建七局机械厂汉代画像石墓、唐河白庄汉代画像石墓、南阳市安居新村汉代画像石墓、南阳市永泰小区汉代画像石墓、南阳市永泰小区汉代画像石墓、南阳市东风机械厂生活区汉代画像石M17、南阳市熊营汉代画像石墓、南阳陈棚汉代彩绘画像石墓、唐河县黑龙镇西刘冲村汉代画像石墓、南阳市新店乡熊营汉代画像石M3、唐河县电业局汉代画像石墓、南阳市经济适用房中心汉墓M2、南阳市四幅井建材市场汉代画像石M2、南阳市四幅井建材市场汉代画像石M3、南阳市八一路汉代画像石墓、南阳市体育中心游泳馆汉代画像石M18、南阳市张衡路汉代画像石墓、南阳市潦河镇王营汉代画像石M16、南阳市赵寨汉代画像石墓、南阳市宛城区达士营汉代画像石墓、南阳市老庄汉代画像石M3等。
(1)唐河针织厂汉代画像石墓墓葬形制。墓室为纯石结构,用特制的石料130块,在距地表深1.60米的方形土圹里砌成立方体的墓室,平面呈回字形。墓室四周及顶上均用土填封夯实。地面封上为冢。墓道被近代墓打破,已看不出形状。发掘时,发现填土中有残碎石块,证明墓的画像石是在此墓附近雕凿的。又在墓门前填土中发现铁凿一件,磨成锥状,柄端有锤打卷痕,可能是雕凿画像石所使用的工具。墓室长5.08米、宽4.52米、高2.23米,由墓门、前室、南北两主室、南北两侧室和后室组成。除两侧后端直接通往后室两端外,两侧室前门安有门楣,其他各门均安装有门框、门楣。前大门并有门扇,整个墓室建筑坚固、均衡、对称。墓门方向105°。墓门:由两侧柱、一中柱和两块门楣筑成两个南北并列的墓门,门高1.32米、宽1.16米。门框和门楣上均凿有门臼,用以安装门扇。前室:南北长方形,长4.56米、宽1.12米、高1.80米,地平比主、侧室低0.22米。顶部用方柱形石条横盖,东壁即墓门内壁,南北两壁用两块方形石板垒筑,两壁即两主室和两侧室门外壁,上有四块门楣,下有三柱分成两主室和两侧室门,门高1.14米、宽0.40米、厚0.30米。主室:长3.08米、宽1.02米、高1.58米,正中筑一道留门隔墙,分成南北两主室。主室门框的四角凿有门臼。门外封门石板被盗墓者推倒,门内倒放有两根顶门柱。北主室顶门柱一端有“下男(?)三”三字,其意不解。主室内南北壁用四块石块砌成。两主室之间用两块门楣和三根石柱筑成了门道,门高1.14米、宽0.74米,无门扇。墓底铺有石板。侧室和后室:两侧室门与前室通,仅设有门楣,无门扇,门高1.12米、宽1.58米。后室两端与两侧室相通,没有设门,长4.56米、宽0.72米、高1.58米。墓室所用的石料计:墓底32块,墓壁44块,门额8块,门扇4块,墓顶34块,封门6块,顶门柱2块,共大小石料130块,体积约33立方米。画像共计74幅。 [21]
(2)唐河县电厂汉代画像石墓。墓门方向205°。墓室用砖石混合砌筑,先在距地表深3.46米的地方,挖一近方形土圹,底部垫有厚2—4厘米的一层木炭。南边有斜坡形墓道,墓道长10米、宽3.76—4.56米。土圹中有砖石雄成的方形墓室,平面呈回字形。墓室四周和顶上填土夯实,夯层厚9—11厘米。原有土冢,早已被雨水冲刷和取土挖平。墓室南北长7米、东西宽6.55米、高2.82米,由前室、东西两主室、东西两侧室和后室组成。两侧室后端与后室两端相通,除前大门安装有门框、门楣、门扉外,主室及侧室前门仅有门框、门楣而无门扉。门楣石6块,门扉石4块,门框(柱)石10块,隔墙柱石3块,隔墙横梁石2块,垫底石11块,共用石36块。除此之外,墓室的墙和各室上部的双层拱券皆用长34厘米、宽18厘米、厚6厘米的素面灰砖砌券。墓室内地面用长37厘米、宽37厘米、厚6厘米的素面方砖平铺。整个墓室建筑坚固、均衡、对称。墓门:用一根中柱、二根侧柱、二根边柱和二根门相石构成东西并列的两个墓门,门高1.24米、宽1.40米。门框和门楣上均凿有门枢,装有两扇能够关闭的门扉。前室:东西长方形,长6.05米、宽1.70米、高2.2米。南壁即墓门内壁,北壁即两主室、两侧室门的外壁。由一根中柱、二根侧柱、二根边柱、四根门楣石构成东西并列的四个门,门高1.14米、宽1.17米、厚0.32米。东西两壁用26层灰砖砌墙,与南北两壁门楣平齐。墓顶用灰砖由门相石向上起双层拱券,东西两端由砖墙向上用双层拱券和主券成直角相交。主室:在墓室中间,长3米、宽2.6米、高1.68米。正中用立柱三根、横梁二根筑成一道隔墙,分成东西两室。中柱与后柱上的横梁断裂,下用灰砖垒柱支撑,可知是在营造时已断裂。东西两壁和北壁皆用小砖砌筑,墙高1.12米,由墙上起双层拱券,券高0.85米,券两头用立砖封堵。侧室和后室:两侧室门与前室相通,门高1.31米、宽0.86米、厚0.32米。后室两端与侧室后部连接,后室为砖券门框,室高1.42米、长2.82米、宽0.84米。后室与侧室纯用小砖砌筑。该墓出土画像石35幅。 [22]
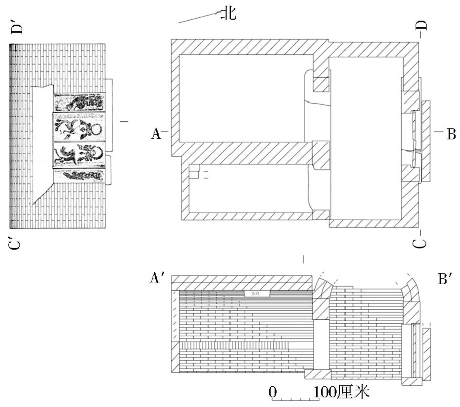
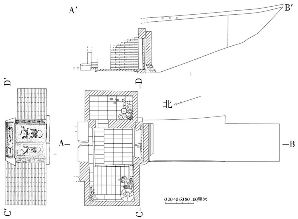
(3)唐河汉郁平大尹冯君孺久墓墓葬形制。这座墓的墓道早被四周小型画像石,墓和近代墓所打破,详情不明。墓门方向95°。墓室东西长9.5、南北宽6.15米。冯君孺久墓则是介于纯石和砖石混作墓之间的一种较特殊的墓葬形制,虽也属“回”字形墓,但结构更为复杂。该墓在前室之前又增设了一甬道和左右两耳室(车库),结构为砖石混作,除了前室、甬道及南北耳室以砖砌筑和券顶外,其他各室仍用条石盖顶,以石板砌墙体,类似纯石墓之构造,呈现出由纯石墓向砖石混作墓的过渡特征。墓室前部严重破坏,墓前大门的门楣、门柱和门扉脱离原位,门下槛石尚存。前大门至中大门的砖拱券顶全部塌陷。南、北耳室的门相、两门侧柱,以及中大门的门楣、两侧柱被弃置墓外。葬具和骨架已腐朽无存。墓室建筑分前室、中室和后室三个部分,结构严密。前室从前大门到中大门,包括前室和南、北两个车库,这一部分除各门的门框、门楣和门扉是石质外,其余皆为砖结构。中室从中大门到后主室,为一近似正方形的“天井”式“院落”建筑,除顶部用砖叠券为覆斗式之外,其余均为石结构。后室包括南、北主室,南、北、西“阁室”,为石结构。墓由大门、前室、南车库、北车库、中大门、中室、南主室、北主室、南阁室、北阁室、西阁室11个单位组成。墓门共八道,除南、北车库门和中大门上有门框、门楣而无门扉外,其他如墓大门、南北主室门、南北阁室门均有门框、门楣和门扉。墓室的后部,围绕南北主室的南、北、西三面,有三个阁室,三阁室相通,形成对称的回廊式建筑。墓大门:由南、北两门侧柱、一门楣、一门槛和两扇门扉组成。门高1.42米,宽1.40米。门楣和门槛上均凿有门臼,用以安装门枢。门外用青砖错缝平砌封堵。门楣刻二龙穿璧画像,饰朱彩,仍很清晰。南北两门侧柱刻执笏画像,南柱画像上方有阴刻题记:“郁平大尹□□□□冯孺□□无□□□”。南门扉刻白虎、铺首衔环画像。北门扉刻朱雀、铺首衔环画像,前室:平面东西呈长方形,长2.90米、宽1.76米、高2.30米。底部用方砖铺地,方砖边长36厘米。顶部为小砖拱券。室南为南车库,室北为北库房,室东为墓大门,室西是中大门,室壁用砖垒砌。南车库:由库门和库室组成。库门有一门楣、两侧柱和一门槛,无门扉。门高96厘米、宽114厘米。库室平面呈长方形,南北长1.5米,东西宽1.14米,券高1.75米。顶部由小砖拱券,底部为方砖铺地,方砖和前室铺地砖相同。北库房:平面呈长方形,建筑形式和南车库同。门高98厘米、宽104厘米,前室、南车库和北库房顶部的拱券和室壁皆用小砖砌筑。小砖分大小两种:一种长36厘米、宽16厘米、厚8厘米;另一种长32厘米、宽16厘米、厚4厘米。中大门:位于前室与中室之间。有门相、两侧柱和门槛,无门扉。门高1.34米、宽1.28米。门楣刻二龙穿璧画像。中室:南北长2.5米、东西宽2.03米。南、北两面门与阁室相通。室顶为四角钻尖式,高3.14米。砌顶用的楔形砖可分三种:一种长37厘米、宽19厘米,一端厚9厘米,另一端厚8厘米;一种长38厘米、宽18厘米,一端厚6厘米,另一端厚5厘米;一种长38厘米、宽17厘米,一端厚9厘米,另一端厚8厘米。室底部用大小不一的石板铺地。主室:东西长3米、南北宽2.56米、高1.24米。主室正中筑一道留有窗洞的隔墙,分成南北两个主室。两主室各有一门,每门有南北两侧柱、门楣和二门扉,中以中柱隔开。门框四角凿有门臼。主室隔墙由两窗楣、三窗柱和两窗台筑成。东窗口高65厘米、宽58厘米;西窗口高65厘米、宽56厘米。南阁室:阁室东西长5.90米、南北宽1.10米、高1.34米。阁门有一门楣、两门柱和两门扇。门向北与中室相通。阁室之上用石板盖顶,下用石板铺地。阁室南壁用八块石料筑成,阁室北壁即南主室南壁,东部与阁门相接,共用八块石板筑成。西阁室:也可称墓后室,其南端和北端分别与南阁室西端和北阁室西端相通。阁室南北长3.20米、东西宽0.98米、高1.34米。阁室上部用石板盖顶,下部用石板铺地。阁室南部、中部和北部在盖顶石板之下分别有三条石梁,东西横置,用以承放盖板。阁室西壁用五块石板和两梁柱筑成。北阁室:有阁门和阁室,东西长5.90米、南北宽1.1米、高1.34米。上部用石板盖顶,底部用石板铺地,西端与西阁室相通。阁室南壁即北主室北壁。东部阁门即中室之北门,中部和西部用石块垒砌。阁门有一门楣、两侧柱和两门扇。门向南,与中室相通。墓顶除了使用早期常见的石条平顶和砖券拱顶外,还出现了一种新的墓顶形式——砖券穹窿顶。冯君孺久墓除有特殊的墓室结构外,更重要的是墓中还刻有确切的纪年铭文——“始建国天凤五年十月十七日癸巳葬”等。墓室所用大小石料共计154块。其中墓顶盖板石22块,铺地石34块,门框26块,门扉10块,墓壁62块。石方共约60立方米,出土画像石35幅。 [23]
(4)唐河县西冢张村汉代画像石墓墓葬形制(图4-7)。该墓为砖石混合结构,平面呈“回”字形,方向139°。墓室通长526厘米、最宽处520厘米。由前室、南北二主室及北、西、南侧回廊组成。墓顶和墓壁上部已被破坏。石料主要用在墓门,南、北回廊与前室连通处,主室门及中间隔墙等处,其余部分均用小砖垒砌。砖均为长方形小砖,分两种:一种是菱形花纹砖,在砖的一个侧面上模印有菱形纹,另一种是素面砖。两种砖尺寸相同,均为长30厘米、宽15厘米、厚5厘米。墓室四壁均用单砖平砖错缝垒砌而成,墙壁厚15厘米。墓室四壁可能是外力挤压均向内微凹。前室:平面呈长方形,南北内长260厘米、东西内宽84厘米。主室:平面呈长方形,在主室中部用梁柱、过梁组成隔墙,将主室分成南北两主室,通过梁柱之间空间,使两墓室相通。两主室均呈东西长方形,北主室内长268厘米、内宽94厘米,南主室内长260厘米、内宽96厘米。主室南、北、西三墙壁宽均30厘米,为双平砖错缝垒砌。北、南两墙壁向内微凹。北回廊:内长456厘米、内宽80厘米。南回廊:内长444厘米、内宽78厘米。西回廊:内长334厘米、内宽40厘米。该墓现有石料15块,其中门楣1块、门柱4块、门扉2块,其他8块,画像石14块,画像15幅。 [24]
图4-7 唐河县西冢张村画像石墓平面图
(5)唐河针织厂二号汉代画像石墓墓葬形制(图4-8)。墓室为砖、石结构。石结构仅限于墓门。及前室之梁、柱,共用石30块。其余部分均用长方小砖、楔形砖砌券。清理时,在墓室东南上部发现“元祐通宝”“崇宁重宝”各一枚,并发现一铜弩机(明器)。主室、侧室券顶及隔墙绝大部分已倒塌。东墙和南墙各发现一盗洞,说明该墓曾多次被盗,上部被宋墓打破,故墓室扰乱极甚,碎砖、淤土充满其间。未见任何葬具及人骨。墓门向北,方向342°。整个墓室南北长5.20米、东西宽4.02米,由墓门、前室、两个主室、一个侧室、一个后室组成。墓门用砖、石封堵,即下部用六层横砖平砌,上部用五块石板封堵。大部分石板厚薄不一,形状不规则,未加过工。墓门东边上部用单砖平砌一南北向的女墙,其上部略高于门楣石。由于墓门紧邻针织厂厂房,墓道被压于厂房之下,未清理。墓门由一块门楣、二块侧柱、一块中柱、二个大梁北端、四扇门扉构成东西并列的两个门道。墓门高1.90米、宽3.31米。门扉皆凿有门框,门楣及门槛石上皆凿有门臼。门相石上部用砖平砌一高0.69米的女墙。墙上部距地表0.50米。前室:东西长方形,长4.18米、宽1.00米、高1.86米。顶部用柳形单砖并列砌三个券,北壁为墓门内侧,南壁为二主室。两主室间及东主室与侧室间各立一石柱,柱上各架一石梁,石梁北端一直伸到墓门外,立于墓门中。东柱上部,压在门楣石下部。石梁南端土部凿去一段,以承放两主室之门楣石。铺地砖为单砖平铺。主室:两室南北长2.56米、东西宽2.52米。正中筑一墙分为东、西两室,隔墙仅剩一段。西主室北端有一高出地面的门槛石,南端与后室隔墙留一门洞,似为过道,惜仅存西边,东边不存,不知门洞宽度。铺地砖为单砖平铺。顶为楔形单砖并列券。东侧室、后室与主室的隔墙以及顶部,已经埙级。东墙有一宽0.96米、高0.65米的盗洞,南墙有一宽0.90米,从顶一直到底的盗洞。墓砖皆青灰色,一面饰绳纹。分条砖和楔形砖两种,条砖墓本三个型号,一种长35厘米、宽16.8厘米、厚6.5厘米,一种长37厘米、宽18厘米、厚6.4厘米,一种长38.5—39厘米、宽18.5—19厘米、厚8厘米。楔形砖专为券顶烧制,长38厘米、宽19厘米、外厚7.5厘米、内厚5.2厘米。出土画像石13块,画像20幅。 [25]
图4-8 唐河针织厂二号汉代画像石墓平面图
(6)唐河县湖阳罐山汉代画像石M3墓葬形制(图4-9)。M3位于山腰中下部,是这四座墓中所处位置最高者,因采石时炸出东侧室东墙而被发现。墓顶已不见封土,墓上草皮之下是一层土杂碎石的坡积物。该墓由墓道、前室、东、西侧室、主室组成。墓室南北长528厘米、东西宽567厘米。墓道向北,方向18°。由于盗扰严重,葬具、骨架皆不存。该墓前室、东侧室、主室坐落在青石上部的风化层上,西侧室坐落在红色粉砂岩上,墓室的基础比较好,因而墓室结构基本没有变化。墓道平面为长方形,口略大于底。口长6.50米、宽1.56—1.76米。底为斜坡状,底长7.45米。填土中可见到零星的建墓时遗留于此的碎砖块及碎石,碎石质地与画像石石质相同,应是制作画像石时剥凿下来的碎石等。墓道尽头是封门墙,封门墙主要是砌券顶剩余的楔形砖与少量砌墓壁剩余的小砖混合平砌而成。封门墙高1.64米、宽1.64米、厚0.20米。封门墙后面是墓门,墓门由一块门楣、二块门柱、二个门扉、一块门槛石组成一个门道。门楣、门槛石皆凿有门臼,门扉皆凿有门枢。当我们揭去封门砖,去掉砖与石墓门之间的泥土,发现墓门画像部分仍保存有用红色颜料进行勾绘的残痕,很鲜艳,使画像显得更加生动,弥补了石刻画像细部表现差的不足,再现了当时的画像全貌。前室和东侧室基本同宽,即前室与东侧室共用一道前、后墙和一个券顶。为了区别前室与东侧室,前室的铺地砖低于东侧室铺地砖0.10米,且前室地面略呈前低后高的斜坡状,这当便于排出墓中积水。东段券顶不存,西段仅存一部分。券顶为楔形砖与长方小砖相间的混合并联券。室内上部被山水冲下的坡积物填充,下部为碎砖及零星陶片,可知其早年被盗。墓壁皆用一侧模印龙形图案、一端模印白虎、另一端模印熊的小砖错缝平砌,致使墓壁成为一个龙的海洋。铺地砖同壁砖,单层平铺。整个前室、东侧室内部东西长3.05米、南北宽1.60—1.66米、高约2.28米。其中前室进深1.62米、宽1.34米,东侧室东端略窄,东墙东边就是炸石形成的陡坡,东墙南部有一宽约0.60米的缺口,此当是炸石所致。前室西侧有一个高0.84米、宽0.66米的门洞与西侧室相通,门洞顶用素石作门楣。西侧室依山凿岩而成,该处岩石为红色砂岩,成岩性不好,易剥落坍塌,因此,该室下部堆满了由顶部塌落下来的碎岩屑,同时也保存了部分随葬品。除东段靠门洞处的随葬品被盗外,西半部器物保存完好。西侧室与墓室整体设计稍有差错,其北端稍向后偏。西侧室下部南、西、北三边有二层台,二层台高0.50米、宽0.20—0.25米。西端二层台上放置陶瓮、陶方盒、小壶,二层台下放置陶仓、陶圈厕等。西侧室东西长2.18米、南北宽1.40—1.54米。西侧室顶部大部分岩层剥落严重,顶是何样不清,估计为弧形顶,高约0.84—0.116米,前室后壁有一高1.14米、宽0.97米的石门洞与主室相通。主室门由一块门楣石、二块门柱石、一块门槛石组成。墓壁用砖和砌法同前室。东西两壁从铺地砖以上第16层砖上部开始起券,券顶用砖37列,为楔形砖与长方形砖混合并联券,其券法为:两侧各为用一块楔形砖与一块长方砖为一组各5组,再上为5块楔形砖一块长方砖为一组各一组,最顶端为5块楔形砖。楔形砖内侧皆模印龙纹画像。在券顶前端有一长1.08米的盗洞,室内堆满淤土、碎砖,无任何器物。铺地砖为小砖平铺。整个主室内侧南北长2.80米、东西宽1.81米、高1.86米。墓砖皆青灰色,分两种:一为楔形券砖,一为砌壁和铺地的长方小砖,皆一面饰绳纹。券砖,子母口楔形,长37.5厘米、宽18.5厘米、内侧厚6.5厘米、外侧厚8.5厘米。榫头长2.5厘米、宽4厘米,榫眼深2.5厘米、宽4厘米。内侧模印一龙一熊。长方小砖,长38.5厘米、宽19厘米、厚8.5厘米。一端模印白虎,一端模印熊,一侧模印二龙画像。从白虎、熊画像上的小圆点看,或有表示星象之意。 [26]
图4-9 唐河罐山汉代画像石M3墓平剖面图
(7)唐河县湖阳罐山汉代画像石M4墓葬形制(图4-10)。M4位于M3北偏西,两墓墓道相距7.6米。M4平面结构与M3基本相同,亦由墓道、墓门、前室、东、西侧室、主室组成。惜主室被窑场推土机全部推完,其门楣石、门柱石不存,仅余门槛石。前室及东西两侧室北壁亦被推土机推去,南部保留一部分,墓门幸未殃及。整个墓室残长226厘米、宽410厘米,方向198°,墓道向南(向山顶方向),分两部分,南部较规整,壁较直,北部较宽,口略大于底,底呈弧形斜坡状。口长4.76(水平距离)米、宽1.34—1.66米。墓道尽头是封门砖,封门砖大小同墓壁砖,为单砖错缝平砌,封门砖中上部较直,底部向前弯曲,上宽下窄,宽1—1.48米、高1.43米,厚0.15米。揭去封门砖,露出石墓门,墓门由一块门楣石、二块门柱石、二个门扉石、一块门槛石组成一个门道。门楣、门槛石皆凿有门臼,门扉皆凿有门枢。当我们揭去封门砖,去掉砖与石墓门之间的泥土,可见到门楣、门扉的画像上残存少量的朱涂痕迹。墓大门后即为前室,前室平面略呈梯形,内部进深1.65米、前宽1.26米、后宽1.34米。西侧室与前室共用一个券顶和前后墙,墙壁砌法为小砖错缝平砌。西侧室东西进深1.26—1.33米,南北宽1.57米,铺地砖高于前室9厘米。铺地砖为单砖平铺。西侧室南壁处幸存有陶质的方盒、鼎、盆、瓮,北部残存鸡、鸭等。前室东壁北端有一宽44厘米的门道通向东侧室,门道上部残,何种样式顶不清楚。东侧室内部南北长1.52米、东西宽0.86米。南部尚存部分残券顶,从残存券顶看,为楔形砖并联券。墙壁为小砖错缝平砌,铺地砖为单层平铺。东侧室内尚存有陶质的釜、猪、圈厕、井、盒、仓、磨等。主室被推完,仅存门道下的门槛石,从残存迹象看,门道宽约1.08米。主室长度不详,残宽约1.60米。 [27]
图4-10 唐河县湖阳罐山汉代画像石M4平剖面图
(8)唐河县湖阳罐山汉代画像石M5墓葬形制(图4-11)。M4北约90米处为M5和M6。M5与M6东西并列,两墓相距0.7米,均被窑场取土时发现并破坏。墓前已是一个起土的大坑,墓门暴露于外。M5墓室平面呈长方形,由墓道、墓门、前室、主室、东侧室组成。墓门向北,方向16°,整个墓室南北长5.24米、东西宽4米。墓门前为取土坑,坑底低于墓底,故墓道不存,但在墓门北约10米的取土坑壁上,发现距地表30厘米下有一层厚约10厘米的碎石层,碎石的石质与画像石石质相同。墓门前的封门砖仅存下半部分,已不能完全遮挡墓门。封门砖残高1.12米、宽1.75米、厚0.16米。其砌法为小砖错缝平砌。墓门由一块门楣石、二块门柱石、二个门扉、二块门槛石组成一个门道。门楣、门槛石皆凿有门臼,门扉皆凿有门枢。门楣石西端残。墓门南侧是前室,前室呈横长方形,室内东西长3.48米、南北宽1.53—1.58米。顶已残,从残存的券顶看,券顶用楔形砖双层并联券,残高2.10米。三边墓壁宽厚,为小砖错缝平砌。铺地砖全部揭完,从残存迹象看,当为单层平铺。前室地面低于主室地面16厘米。前室后壁由二块门楣石、三块门柱石、三块门槛石组成的2个石门洞通向两个墓室。西边石门洞高1.04米、宽1.05米,墓室内部宽大,南北长2.84米、东西宽2.09米、高1.68米,为主室。主室顶为楔形砖双层并联券。在西壁上部有一个东西长70厘米、南北宽55厘米的盗洞。除南边墓壁砖部分被揭去,墓室内填有窑场遗弃的废砖坯。除南边墓壁外,其余三边墓壁皆宽厚。墓壁用小砖错缝平砌,唯其下部用一周丁砖砌筑。铺地砖已不存,从残存迹象看,当为单层平铺。东边石门洞高1.04米、宽0.86米。室内长2.64米、宽1.02米。较主室短,当为侧室。侧室顶残,从残存迹象看,为单层并联券,东壁和南壁较薄,部分墓壁已基本被破坏完,室内填满窑场遗弃的废砖坯,铺地砖已不存,从残存铺地砖看,为单层平铺。 [28]
图4-11 唐河罐山汉代画像石M5平剖面图
(9)唐河县湖阳罐山汉代画像石M6墓葬形制(图4-12)。位于M5西,两墓并列。M6大门偏后于M5大门约1米。墓室平面呈长方形,由墓道、墓门、两个并列的墓室组成。墓门向北,方向20°。墓室南北长414厘米、东西宽272厘米。墓门前为窑场的取土坑,墓道已不存。墓门封门砖上部已被揭走,下半部分为小砖与楔形砖混合错缝平砌,残高92—120厘米,宽仅存94厘米,厚16厘米。墓门门楣已不知去向,仅存2个门柱、1个东扉、半个西扉、2块门槛石。墓门残高122厘米、宽164厘米。墓门南侧即东墓室。东室内长368厘米、宽112厘米。券顶已不存,墓壁仅存下部,砌法为错缝平砌。东、西两壁向下沉降,尤其西墙沉降较甚,这当于墓底地基有关。铺地砖基本被揭完,仅存后部一小部分,为丁砖铺地。从形制分析,该室应分前后室,前室南边应至西室门道南柱,铺地砖可能为平铺。如是,东室长约247厘米。前室西壁有石质门道通向西室,门楣已不存,仅剩两个门柱、一块断裂的门槛石。西室内长358厘米、宽95厘米。券顶不存,墓壁残甚,西南部已到生土,铺地砖皆不存。由于M6盗扰严重,仅见到零碎的陶器残片,从这些陶器残片中可看出的器形有鼎等。另有零星的鎏金小铜饰件。墓砖皆青灰色,一面饰绳纹,分小砖和券砖两种,小砖长33.3厘米、宽16厘米、厚5.7厘米。券砖为楔形,32.8厘米、宽16厘米、外侧厚4.5厘米、内侧厚3厘米 [29] 。
图4-12 唐河罐山汉代画像石M6平剖面图
(10)南阳市常庄汉代画像石墓墓葬形制(图4-13)。该墓位于常庄窑场西南角,坐东朝西,方向294°。墓葬平面呈长方形,为砖石混合结构墓,总东西长1094厘米,南北宽442厘米。由墓道、墓门、三前室、主室门及三主室组成。墓室主体为砖结构,券顶、封门、墙体、铺地均用小条砖构筑。砖分两种,一种为长方形小青砖,长32厘米、宽16厘米、厚5厘米;另一种为楔形砖,长32厘米、宽16厘米、厚5—7.5厘米,这种砖主要用于券顶的垒砌。石料主要用于门楣、门柱、门扉、过梁等部位。墓道:位于墓室的西部,近长方形斜坡状墓道。东西长600厘米,宽约270厘米,坡度20°。墓门:为砖石混合结构。北、中两墓门为石结构,由两门楣、三门柱、三垫石组成并列两个墓门,墓门无门扉,均用小砖二顺一丁垒砌封堵。而南墓门仅用砖封堵。北门高125厘米、宽104厘米;中门高125厘米、宽94厘米。北门楣长149厘米、宽40厘米、厚32厘米;中门楣长154厘米、宽40厘米、厚32厘米。三门柱大小相同,均为高125厘米、宽30厘米、厚30厘米。另外,在门楣上有一女墙,从下往上为5排平砖错缝、一丁三顺、一丁二顺垒砌,高88厘米。前室:平面呈长方形。东西长180厘米、南北宽442厘米、高228厘米。由过梁和梁柱把墓室分成北、中、南三前室,并在过梁下正中间用小砖砌成的方柱来支撑,以承托着前室三并列券顶之间相接部位,并在砖柱下垫有垫石。墙高162厘米,为三顺一丁垒砌,券顶高66厘米,用楔形砖并列砌成三个拱形券顶,券顶与三主室的券顶相通,为同一方向。前室底比主室底低25厘米,铺地砖为竖排错缝平铺。主室墓门:位于前室和主室之间。由两门楣、三门柱、两门槛石及四扇门扉组成并列的北、中室两个墓门,而南后室无门。北门高155厘米、宽104厘米;中门高155厘米、宽105厘米。北门楣长154厘米、宽35厘米、厚26厘米;中门楣长140厘米、宽34厘米、厚27厘米。三门柱高和宽尺寸相同,高均为155厘米、宽30厘米,北门柱厚30厘米、中门柱和南门柱厚28厘米。四门扉尺寸相同,高均为154厘米、宽51厘米、厚5厘米。北门槛石长104厘米、宽23厘米、厚10厘米;中门槛石长110厘米、宽23厘米、厚10厘米;南门槛石长108厘米、宽25厘米、厚10厘米。主室:平面成长方形,长250厘米、宽442厘米。在主室中部筑有两隔墙,将主室分为北、中、南三室。隔墙宽32厘米,为平砖错缝垒砌。北主室内宽104厘米、中主室内宽108厘米、南主室内宽108厘米。墙高138厘米,为三顺一丁垒砌,券顶高66厘米,与三前室的券顶相通。后室底比前室底高25厘米,铺地砖为竖排错缝平铺。 [30]
图4-13 南阳市常庄汉代画像石墓平剖面图
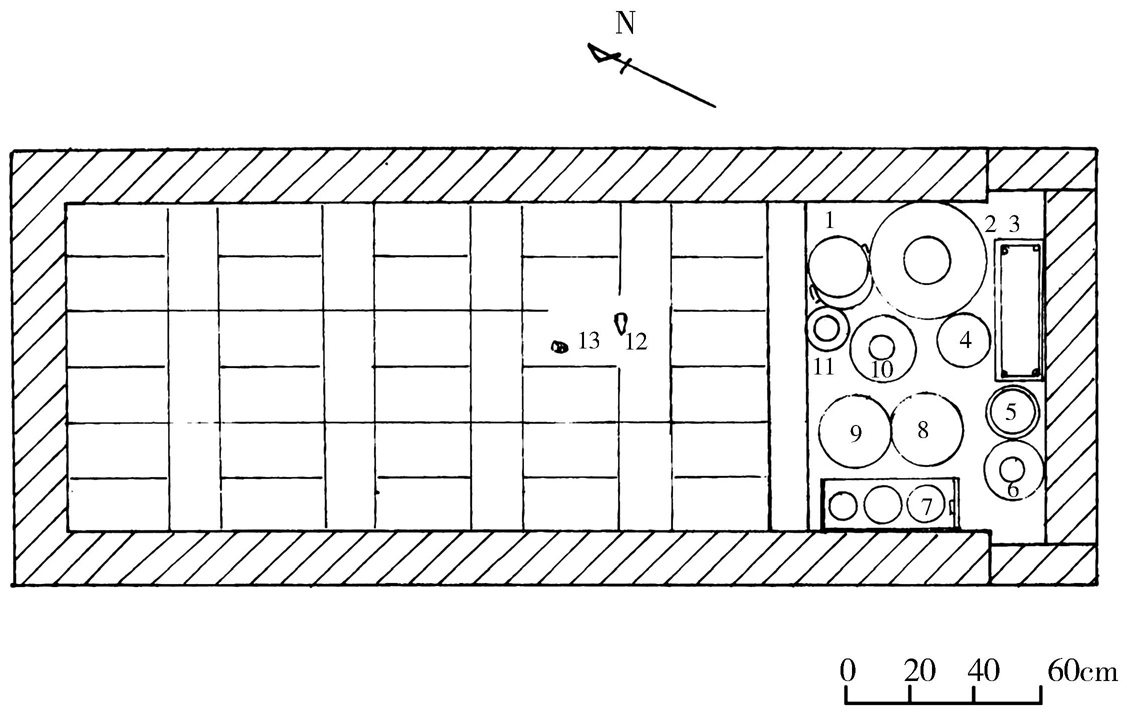
1、22、23.奁;2、4、9.仓;3、5、46.仓盖;6.鼎;7、38.盆;8、39.方盒;10、12、14.博山炉盖;11、13、19—21、36.罐;15—18、35、37、49.钵;24、25.汲水小罐;26、52.小盆(灶上);27.甑(灶上);28.釜(灶上);29.灶;30.铜镜;31、34.盒;32.瓮;33.磨;40.壶;41.狗;42、44.鸭;43.鸡;45.猪;47.圈厕;48.井;50.铜钱;51.绿松石玉珠
(11)南阳中建七局机械厂汉代画像石墓墓葬形制(图4-14)。该墓所处的位置高于周围地区,墓顶距地表60厘米,坐西向东,方向76°。平面成长方形,东西长3.87米(不含墓道),最大宽度是4.16米。该墓为砖石混合结构,由墓道、墓门、前室、北主室、南侧室、中主室六部分组成。石料主要用于门楣、门柱、过梁、梁柱等六部分。墓道:位于墓门正前方。由于地表建筑物占压,所以只清理约250厘米。从所清部分看,墓道平面呈梯形,接触墓门部分最宽与墓最大宽度一样,向前逐渐变窄,开口宽度也大于底部。底部分两层,上层为阶梯墓道,用白土回填,行夯;阶梯由花土夯筑而成。从墓门到第一阶约150厘米,这部分与墓室底同深。每阶宽和高约35—40厘米。阶梯底部为斜坡墓道,坡度约30°。在墓道两壁有10—30厘米的花土,与墓道所填白土呈明显的分离状,厚度从墓门向前越来越薄。根据这些情况分析,该墓道应为两次挖填。即第一次为斜坡墓道,回填花土行夯;第二次挖成阶梯墓道,回填白土行夯。墓门:由南、北、中三部分组成。三门皆用砖石混筑而成。其中门楣、门柱、门槛用石料共12块。封门用小砖(长31厘米、宽15.5厘米、厚5.5厘米)砌筑,均无门扉。封门砌法是最下两层为平砖错缝顺砌,向上全部是一顺一丁。门高136厘米,南门宽88厘米,中门和北门宽91厘米。三门分别通过前室与三后室相通。画像石主要集中在这一部分。前室:位于墓门和三后室之间,长方形,南北长333厘米,东西宽108厘米,底距地表275厘米,低于三后室底23厘米。底部除中门柱和后梁柱之间垫为石质外,其余均用小砖错缝顺铺而成。前室的上部被中主室通往墓门的二过梁分为三部分,顶部被三后室延伸至墓门的三个券顶所封盖。前室是随葬品的主要存放地之一。北主室:位于三后室的最北边。长方形,东西长229厘米,南北宽91厘米,高156厘米,底部用小砖平铺而成,铺法是东西错缝顺铺。南壁厚31厘米,北、西壁厚15.5厘米,三壁皆平砖错缝顺砌,北壁向前延伸至墓门成为前室北壁。墓顶用楔形砖对砌券成。该券顶前端前室上方部位有一62厘米×50厘米的盗洞。该室为停放尸骨的地方。中主室:形状和长宽、铺底、券顶、墙壁、砌法都与北主室相同,只是南北二壁厚均为31厘米,在其券顶前端前室上方部位也有一100厘米×80厘米的盗洞。该室也是停放尸体的地方。南侧室:长方形,东西长229厘米,南北宽88厘米,高152厘米,南壁和西壁厚15.5厘米,底部铺法及墙壁砌法与中北室相同。该室应是存放随葬品的地方之一,在其券顶前端也有一62厘米×60厘米的盗洞。 [31]
图4-14 南阳中建七局机械厂汉代画像石墓平剖面图
(12)唐河白庄汉代画像石墓墓葬形制(图4-15)。该墓位于唐河县张店镇白庄村西约150米。墓为砖石混合结构,共用17块石材和大量的青砖和楔形砖混筑而成。方砖长30厘米、宽15厘米、厚5厘米,楔形砖长30厘米、宽15厘米、上部厚5.5厘米、下部厚4厘米,该墓坐西向东,方向93度。墓室平面近正方形,由墓道、墓门、前室、主室门、主室、侧室六部分组成。墓道位于墓室的东部,为长方形斜坡形。残长140厘米、上部宽230厘米、底宽220厘米。墓门高190厘米、宽226厘米。前室南北壁、底部都破坏严重,底部仅剩几块砖。南壁残高43厘米、北壁残高20—190厘米、前室南北横宽428厘米、进深198厘米。主室门门高176厘米、南门宽96厘米、中门宽116厘米、北门宽抖厘米。主室二道隔墙把其分为大小略同的三个主室。墙壁均用单顺砖错缝平砌,墓室隔墙用双顺砖平砌,铺地为“人”字形。侧室东西长270厘米、南北宽60厘米,北壁东部留一小门与南主室相通。小门由二门柱、一门相构成,高172厘米、宽46厘米。侧室北壁双顺砖错缝平砌,其余三壁均单顺砖平砌,铺地为“人”字形。 [32]
图4-15 唐河白庄汉代画像石墓平面图
(13)南阳市安居新村汉代画像石墓墓葬形制(图4-16)。该墓为砖石混合结构,由墓道、墓门、两前室和两后室组成。墓室所用砖均长32厘米、宽16厘米、厚6厘米。画像石等主要用于门楣、门柱、过梁、梁柱、门槛等部位。墓室平面近“T”字形,东西长4.44米、南北宽2.84米,方向114度。后室券顶已被毁坏,后室和前室的地砖铺设均为竖排东西向错缝顺铺,墙壁均用单顺平砖错缝垒砌,后室隔墙则用双顺平砖错缝垒砌,后室墙壁上有厚0.5厘米的白灰。葬具和骨架已腐朽无存,仅能看出残留的棺漆皮。墓道:位于墓室的东部,因紧靠居民楼,仅发掘了0.5米,全长不明,坡度28°。墓门:由南北两门柱、一斗形梁柱、两门楣、两垫石构成南、北两墓门。门高1.6米、宽1.1米。两门共用8块石料,其中6块石料上有14幅画像。封门用青砖砌筑,但砌法不同,南封门底部为7层平砖错缝垒砌,向上则是一丁顺砌筑;北封门为一顺一丁砌筑。门柱底部为2块素条石。墓门的斗形梁柱则是由斗和正方体立柱两部分组成。斗上部边长43厘米、高10厘米,四周刻二方连续菱形套连纹。下部呈弧形,边长35厘米、高9厘米。过梁东部采用透雕形式表现出龙的唇齿等部位,并且与侧面两个龙首的相应部位吻合。前室:底部除梁柱底部之间垫有2块不规整的素条石外,其余均用小砖竖排东西错缝顺铺而成。前室南北长2.84米、东西宽1.53米,其底低于后室底0.24米。前室西壁有2块门楣,中有一梁柱,下有两门槛石形成两后室门。门高1.34米、宽0.94米。前室上方的过梁放置在墓门斗形梁柱、前室梁柱和后室梁柱上,置于两门楣正中处,把前室分为两部分。顶部为小砖券顶所封盖。在南前室南墙高1.22米处有两个与过梁南侧相对应的长方形小孔,此孔可能用来放置木制构件,用以装饰墓顶,孔长10厘米、高6厘米、深16厘米。北前室过梁和北壁未见这种小孔。过梁两侧刻龙首,梁柱四面刻画像。后室:正中筑一道有门隔墙,分成南、北两后室。东西长2.74米、南北宽2.52米、高1.92米。底部用砖竖排东西错缝顺铺,隔墙厚0.32米、南北墙厚0.16米。墙壁上有一层厚0.5厘米的白灰。从出土的黑色漆皮看,后室应为停放尸骨的地方。墓葬共用13块画像石、4块素石。 [33]
图4-16 南阳市安居新村汉代画像石墓平面图
(14)南阳市永泰小区汉代画像石墓(图4-17)。该墓大致呈长方形,坐西向东,墓向69°,为砖石混合结构。墓室长4.16米,宽2米,底距地表3.34米。由墓门、前室、后室和耳室组成。石料用于门柱、门楣、垫石和门槛等部位。墓室主体为砖结构,砖长32厘米、宽16厘米、厚6厘米。墓门:为砖石混合结构。石料主要用于门楣、门柱和垫石,共5块,画像石3块,画像3幅。封门均用砖砌筑(无门扉)。从下往上为四层平砖错缝,上为四组一丁一顺垒砌,门高1.50米、宽2.02米。前室长方形,长1.04米、宽2米,底低于后室底部0.22米。墙高1.18米,平砖错缝垒砌,底到券顶高2.14米,为拱形券。铺地砖为竖排错缝平铺。后室:长方形。长2.12米、宽2米,在门口部位放置一门槛石(但画像已漫漶,无法看出画像内容)。墙高0.96米,为平砖错缝垒砌,底到券顶高1.92米,拱形券。铺地砖为竖排错缝平铺。耳室:近方形。位于后室西部,长0.70米,宽0.78米,高0.54米,底到顶高0.76米,顶部用四层平砖叠错封顶。共用石料6块,其中画像石4块。 [34]
图4-17 南阳市永泰小区汉代画像石墓平面图
(15)南阳市永泰小区汉代画像石墓M35墓葬形制(图4-18)。该墓呈长方形,墓向160°,为砖石混合结构。墓室长336厘米、宽134厘米,墓底距地表318厘米。由墓门、前室和后室组成。共用石料4块,均为画像石。石料主要用于墓门两门柱、门楣和后室门槛石1块。墓室主体为砖结构,砖均为长方形小条青砖,长32厘米、宽16厘米、厚6厘米。墓门:为砖石混合结构。封门均用砖砌筑(无门扉),为平砖错缝垒砌。门高166厘米,宽132厘米。石料长均为132—133厘米、宽32—32.5厘米、厚12—12.5厘米。石料3块,主要用于门楣和2门柱,画像3幅,其中南门柱画面已漫漶。 [35]
图4-18 南阳市永泰小区画像石墓M35平面图
(16)南阳市东风机械厂生活区汉代画像石M17墓葬形制(图4-19)。M17为砖石混合结构,由墓道、墓门、前室、左主室、右主室及左侧室、右侧室等部分组成。墓门方向为106°,从墓室的外部轮廓来看,其平面形制呈长方形,整体上宽度大于长度。墓室东西长度为4.64米(不含墓道),南北宽度5.64米,墓底距地表深度为5米左右,墓室结构基本保存完好(仅在右主室墓顶后侧发现一直径约50厘米的盗洞)。该墓共有石材23块,主要用于墓门、主室门、左、右侧室门及前室过梁等处,其他部位则用砖垒砌,除墓顶部分为楔形砖外,墓壁及其余地方均为长方形条砖,砖的规格一般为:32厘米×16厘米×6厘米。墓道:位于墓门的正前方,呈长方形斜坡状,坡度15度左右,口宽368厘米,底宽348厘米,最深处近5米。由于种种原因,墓道向前只清理了一小部分。墓门:砖、石混筑而成,主体框架部分用石材,由二侧柱、一中柱、二门楣、四门扉及二门槛石等构成两个门道。在三个门柱与门楣之间,叠压有前室过梁的梁头,每个门道高164厘米、宽116厘米,门扉有门枢,门楣及槛石上都凿有臼窝,门柱上凿有凹槽,每扇门扉均向外侧开启,门道前有双层砖垒砌而成的封门砖墙,门楣石上部有用砖砌成的矮墙。前室:亦可称作前厅,介于墓门与主室及左、右侧室之间,有门与之相通,南北长2.52米,东西宽1米。除墓底和墓顶外,前室均为石材构筑,借用其他墓室及墓门的门柱,承托着南北并列的三条过梁,过梁之上是前室的墓顶,墓顶为两个拱形券顶,用楔形砖垒砌,墓底铺砖为顺砖平铺,从墓底至墓顶高度为2.28米。在清理过程中,我们还发现在铺底砖之上有一层厚约2厘米的白灰面。主室:南北并列两室,大小基本相等,均为长方形,砖、石结构。主室门由两门楣、三门柱及二门槛石(其下还有两块垫石)等构成两个门框,在三个门柱与门楣之间,叠压有前室过梁的梁头,门楣之上垒砌有四层砖墙把主室与前室的墓顶隔开(北侧门楣石已断裂)。每个主室长2.72米,宽1.10米,墓底高出前室26厘米,底部铺砖呈“人”字纹,同时在墓底也铺有一层2厘米厚的白灰面;墓顶为拱形券顶,用楔形砖对缝垒砌,与前室券顶高度基本一致,墓壁用双层顺砖错缝平砌。侧室:两个侧室南北向对称,大小基本相等,结构亦相同,均为长方形,砖、石结构。侧室门偏在一侧(两门相对应),由两门柱和一门楣构成一个门框,其中门楣与前室过梁共用,每个侧室长4米、宽0.92米;墓底与前室墓底为同一个平面,底部铺砖呈“人”字纹,墓顶用楔形砖对缝垒砌成拱形券顶,墓壁用双层顺砖错缝平砌。 [36]
图4-19 南阳市东风机械厂生活区汉代画像石M17平剖面图
(17)南阳市熊营汉代画像石墓墓葬形制(图4-20)。此处为高地,是一处画像石墓较集中的区域,以前曾陆续发现和发掘过一批汉代画像石墓。此墓坐西向东,方向110°。为平顶砖石混合结构。墓葬先在地表开挖近方形的竖穴土坑,在其东部又挖出斜坡墓道。土坑东西长3.4米、东南北宽3.12米、深3.6米。坑底用8块石板平铺,然后在石板周边用砖石修筑墓室,墓室与土坑之间的空隙回填夯实,墓室顶部填土已被扰乱,情况不明。该墓总长6.46米,由墓道、封门、墓门和两个并列的墓室构成。两墓室以过梁和梁柱间隔。墓室总长3.16米、宽2.87米。石料主要用于墓顶、门楣、门扉、门柱、过梁、梁柱、垫石和铺地等,而小砖则用于墓室西、南、北三面墙壁和封门。砖分两种,一种长27.5厘米、宽13.5厘米、厚4厘米,另一种长32.5厘米、宽16厘米、厚7.5厘米。墓道呈长方形斜坡状,位于墓室东部,宽2.9米。因受发掘范围的限制,只清理了2.5米长。依据墓道前段呈40°的斜坡推算,墓道长约3.3米。后段在靠近墓门处呈水平状,填土为五花土。封门位于墓门东部。砖结构,由25层平砖错缝垒砌而成。墓门位于墓室东部,为石结构,由1块门楣、3根门柱、4扇门扉和2块垫石组成,共用石料10块,其中画像石8块,刻有画像8幅。门高1.55米、宽1.06米。门扉外侧有门枢,门楣下和垫石上均凿有门柱窝,门扉以两扇为一组,可以开闭。门楣南部被村民挖墓穴时砸断。墓室平面呈长方形,长3.16米、宽2.87米、高1.4米,为砖石混合结构。由过梁和门柱、梁柱、垫石把墓室分成南、北二室,两室相通。墓室墙高1.2米、宽0.32米,南、北、西三墙(从下往上)为10—12层平砖错缝、一丁砖、2—4层平砖错缝垒砌,并分别在南、北墙上部平放着厚11厘米、宽30厘米的2块石板,墓顶用6块石板盖住,墓底则平铺8块石板。南室内放置一棺,棺痕长2米、宽0.82米。该墓共用石料24块,其中画像石14块,刻有画像21幅。 [37]
图4-20 南阳市熊营汉代画像石墓平面图
(18)南阳陈棚汉代彩绘画像石墓墓葬形制(图4-21)。此墓坐东向西,方向280°。砖石混合结构。墓葬的建筑程序是,先在地表挖出近方形的竖穴土坑,在竖穴土坑的西部又挖出斜坡墓道。土坑东西长500厘米、南北宽520厘米、深450厘米。坑底用砖石构筑墓室,墓室与土坑之间的空隙回填原坑土,夯实。墓室顶部填土因被推土机推毁,情况不清。该墓总长1215厘米,由墓道和三个并列墓室构成,每个墓室均由墓门、前室、后室门、后室组成。三墓室以石柱间隔。墓室略呈“‘T’字形”,东西长480厘米、南北最大宽度495厘米。墓室主体为砖结构,券顶、封门、墙体、铺地均用长方形小砖构筑,砖长32厘米、宽16厘米、厚6厘米。石料用于门楣、门柱、门扉、门槛、过梁、梁柱、垫石等主要部位。墓道:斜坡状,位于墓室西部,墓门正前方。因受地表现代建筑限制,只清理240厘米。从发掘现场看,墓道应为一次挖成,平面呈梯形,西窄东宽,开口宽度略大于底部,两壁平整。依据斜坡度推算,该墓道长约720厘米、宽500厘米,前段约40°斜坡,长660厘米;后段靠近墓门处改为水平,填五花色沙土。在近西部处,发现一个盗洞,盗洞口近圆形,深直达墓道底部,向中室墓门挖进,并进入墓室。三墓门:位于三前室西面,三门皆用砖石混筑而成。石料主要用于门楣、门柱、垫石共10块,画像石7块,画像18幅,其中彩色画像14幅。封门均用砖砌筑,为五组一丁三顺垒砌。门高160厘米、北门宽113厘米、中门宽115厘米、南门宽114厘米。三前室:位于墓门和后室门之间,呈长方形。南北宽495厘米、东西长160厘米、高225厘米。共用石料6块,画像石4块,画像8幅,其中彩绘画像6幅。由南、北二梁和梁柱把墓室分成南、中、北三室,中室通过门柱、梁柱和后室门柱空间与南、北二室相通。南前室南墙和北前室北墙均为四组三顺一丁垒砌,上为四层平砖错缝顺砌,墙高160厘米。以上起券,券顶被后室门楣和上部的两排横立砖分成前后两部分,券高65厘米,为单层拱券。前室底低于后室底24厘米。底部除垫石之外,为竖排横立砖东西错缝铺地,底距地表425厘米。北前室位于墓室最北边,宽124厘米,西北部有一长96厘米、宽32厘米、高18厘米的平台,其平台用途目前尚不清楚。在发掘该墓时,北室券顶已被推土机推毁,并压断了北后室门楣。从现场看,室内未淤满积土,因此可以推断,北室券顶顶部应未有盗洞。中前室宽115厘米,在西南角铺地砖上残留一片长约30厘米、宽约20厘米的朱红色矿物质颜料遗迹,应是当时艺术工匠施彩时在地上堆放颜料或调色时遗留的。南前室宽126厘米。三前室是随葬品的主要存放地之一。三后室门:石结构。由三门楣、四门柱、六门扉、三门槛和三垫石组成,共用石料19块,画像石16块,画像28幅,其中彩色画像16幅。门高128厘米、三门宽均为114厘米。门扉有门枢。门楣底面凿有直径9厘米、深7厘米的圆形门柱窝,以便利于门扉启闭。三后室门均为双扇,南后室和中后室门扉大小相同,但北后室门扉则一宽一窄。南后室的北门扉和北后室的南、北门扉均已断为数块。中后室门扉则半开半掩,似为盗墓者启动所致。三后室:平面呈长方形,南北宽472厘米、东西长310厘米、高196厘米。前室南、北二梁通过后室门与后室南、北二梁相连接,并和梁柱把后室分成南、中、北三室。共用石料16块,画像石12块,画像29幅。三室大小相同,均呈长方形。中后室通过门柱和四根梁柱空间与南、北二室相通。南后室南墙、北后室北墙和三后室的东墙均为三组三顺一丁垒砌,上为四层平砖错缝顺砌,墙高126厘米,以上起券,拱券高70厘米。仅在南后室西部门楣上方发现一盗洞,长112厘米、宽70厘米。底部除垫石之外,均用平砖竖排东西错缝铺地。由于该墓曾多次被盗,棺木不存,未见人骨。只在墓底部出有大量红黑漆皮和零乱的棺木痕迹。三室均应为放置人骨的地方。此墓共用石料51块,有画像石39块,包括门楣6块、过梁6块、门扉6块、门柱8块、梁柱10块、门槛石3块;画像83幅,其中彩色画像36幅,分别位于门楣、门槛、前室梁柱、后室门柱正面,门扉正、背面,前室门柱和过梁的正、侧面。 [38]
图4-21 南阳陈棚汉代彩绘画像石墓平面图
(19)唐河县黑龙镇西刘冲村汉代画像石墓墓葬形制(图4-22)。该墓坐西朝东,方向119°。平面呈长方形,由南北两墓道、南北两墓门、前室和两主室等部分组成。墓葬为砖石混合结构,共用27块石材和大量的长条形青砖和楔形砖混筑而成。青砖长0.35—0.36米、宽0.16米、厚0.06米;楔形砖长0.35—0.36米,宽0.16米,上部厚0.06米、下部厚0.04米。墓室东西长5.16米,南北宽3.56米。墓道:位于墓门东端。中间有一生土隔子,分墓道成南、北双墓道,分别对应南北并列的两个墓门。两墓道平面均呈梯形,底为斜坡状,近墓门处较宽。南墓道宽1.24米,北墓道宽1.36米。墓道上部遭到破坏,残长2.40米。墓门:由内外双墓门组成,分别由两门楣、三门柱石构成南、北并列的两部分主体门框。南、北内侧墓门下各有一块门槛石,南门框高1.18米、宽1.22米,北门框高1.18米、宽1.10米。每个门框的外侧内沿均刻有凹槽,门楣石下凿有门枢窝,用于安装门扉,而发掘时门扉已无存。另外在墓门两主体门框的外侧(东侧)再设一重“辅助”门框,构成外侧门框,也由南北两部分组成,由三门柱、两门楣和三门柱垫石筑成,无槛石,亦不见门扉。由于人为破坏,清理出来时,构筑外侧两门框的石材已脱离原来位置,只有外侧南门柱保持原位。在墓门外侧不见有封门砖。前室:为横前室,呈南北向长方形,南北宽3.24米,进深1.16米,底低于主室底0.20米。南北两壁均用长条砖砌筑,自下而上为单顺砖错缝平铺垒砌,中间夹两层立砖;西壁为主室门外壁,东壁为墓门内壁。前室无铺地砖。另外,前室墓顶破坏不存,墓顶形制不明。主室墓门:由南、北并列的两部分组成,两主室各对应一门。由两块门楣、三块门柱、两块门槛石构成南北主室门框,南主室门框高1.1米、宽1.04米,北主室门框高1.1米、宽0.96米。主室:中间一道留门隔墙把其分为南宽北窄的两个并列主室,进深3.14米,南主室宽1.72米,北主室宽1.04米。主室南、北两壁及后壁均为单顺砖错缝平砌而成,隔墙由两过梁、三立柱、两垫石构成。两室底部近平,北主室无铺地砖,南主室铺地砖为“人”字形平铺。南室墓顶已塌陷,但仍能看出为弧形拱券顶,北室墓顶保存较好,用楔形砖错缝券筑成弧形拱券顶,高1.74米,从残存痕迹看,南室顶部高出北室顶部约0.40米。该墓葬共用石材27块,主要用于前室墓门、主室墓门和隔墙等位置,其中有画像的6块,主要在前室墓门处,共雕刻画像8幅。 [39]
图4-22 唐河县黑龙镇西刘冲村汉代画像石墓平剖面图
(20)南阳市新店乡熊营汉代画像石M3墓葬形制(图4-23)。该墓平面呈吕字形,为并列平行双室砖石混合结构墓,方向200°。墓室长370厘米、宽299厘米,底距地表320厘米。由墓道和东、西两室组成,两室之间平行相距33厘米。墙均为平砖错缝垒砌,券顶为竖排对缝起券。因该墓严重扰乱,未出随葬品。墓室所用砖分两种:一种用于垒墙的长方形小青砖,长30厘米、宽15厘米、厚5厘米。另一种则用于垒砌券顶的楔形砖,砖长30厘米、宽15厘米、厚3.5—5厘米。墓道:已破坏,仅能看出有墓道。西室:平面呈长方形。由墓门、前室和后室组成。长370厘米、宽126厘米、高186厘米。墓门由一门楣、两门柱、一槛石组成,无门扉、无封门砖。门高130厘米、宽94厘米,在门楣上有高20厘米的女儿墙,为平砖错缝垒砌。前室长124厘米,墙高120厘米、券高66厘米,底低于后室底20厘米。铺地砖为竖排错缝平铺。后室长246厘米,在门口处有门槛石,墙高100厘米,券顶高66厘米。铺地砖为人字形平铺,底高于前室底20厘米。在室内发现有漆皮痕迹。东室:平面呈长方形。由封门、前室和后室组成。长352厘米、宽120厘米。封门用平砖错缝垒砌成弧形。前室长124厘米,铺地砖为横排对缝平铺。后室长220厘米,铺地砖为横排错缝平铺。前、后室底相平,仅在两室之间用一排横立砖隔开,横立砖高于底平面8厘米。此墓室毁坏严重,仅存7厘米高的墙体。此墓现存石料5块。其中画像石4块,包括门楣1块、门柱2块、槛石1块。共4幅画像,其中2幅已漫漶看不清。 [40]
图4-23 南阳市新店乡熊营画像石M3平剖面图
(21)南阳市八一路汉代画像石墓墓葬形制(图4-24)。该墓坐北向南,方向180°,砖石混合结构。由墓道、墓门、前室、后室墓门及后室组成,总长12.18米。其中墓室平面呈“T”字形,由前室、后室等组成,墓室南北总长5.18米,东西最宽5.7米,墓口至墓底深4.02米。墓室共用石料25块以及大量长方形青砖砌筑,砖长30—32厘米,宽15—16厘米,厚5—6厘米。墓道:位于墓室南侧偏西,与后室的中室和东室相对应。墓道口平面呈长方形,长7米、宽2.7米。斜坡底,两壁陡直。墓门:砖石混合砌筑。东西并列两个墓门,共由两块门楣、三块门柱、四块门扉、两块门栏以及南端前室过梁组成。西门洞宽1.1米、高1.62米,由两块门扉石封门,西门扉宽0.56米、高1.60米,东门扉宽0.54米、高1.60米;东门洞宽1.06米、高1.62米,西门扉宽0.52米、高1.60米,东门扉宽0.54米、高1.60米。四个门扉均有门轴。墓门外保存有高约1.86米的封门砖墙,其砌法为两平一丁相间。前室:横前室,东西内壁长5.4米、南北宽1.6米。前室为拱形券顶,南北两侧分别自前室门楣和后室门楣之上起券,墓底至券顶高2.64米。前室东、西两侧向两端超出后室1.12米、0.75米,形成两耳室,墙壁为平砖错缝砌筑而成。前室中门柱和后室的东室与中室之间的立柱通过一过梁相连接。前室底部低于后室0.22米,低于耳室0.18米,前室中部为人字形铺底砖,两端为平砖错缝平铺。后室墓门:砖石混合砌筑。东西并列三个墓门,共由三块门楣、四块门柱、三块门栏和三块垫石以及前室北端过梁组成。三个墓门均没有门扉。西门洞宽0.92米、高1.36米;中门洞宽0.98米、高1.36米;东门洞宽0.98米、高1.36米。后室:东西三室并列。东室长2.88米、宽0.98米、高1.72米;中室长2.88米、宽0.98米、高1.72米;西室长2.86米、宽0.92米、高1.72米。三室四壁均为平砖错缝砌筑而成,人字形砖铺底,先铺地后筑墙,拱形券顶。该墓共用石料25块,主要用于门楣、门柱、门扉以及过梁、门栏等位置,可以分辨出的画面有33幅。 [41]
图4-24 南阳市八一路汉代画像石墓平面图
(22)南阳市张衡路汉代画像石墓墓葬形制(图4-25)。该墓为近“甲”字形砖室墓,方向185°,总长约12米,其中墓室 T 形,墓口至墓底深约4.3米。墓道位于墓室南部偏东,长方形斜坡墓道,上层已被破坏,宽2.1米,残长7.5米。该墓为砖石混合结构,但破坏严重,石料及砖多数已被取出,墓室四壁及铺地砖保存无几,仅存的砖墙均为平砖错缝砌筑而成。该墓墓室可以分为前室、中室和后室三部分。横前室,东西宽6.06米,进深1.52米,东西两端分别超出中室和后室约0.55米,南侧与墓道连接。中室位于前室和后室之间,东西长4.96米,南北宽约1米,与后室的自东第二侧室两壁相对应的位置,保存有四根立柱,立柱下有近方形垫石,其中北侧两立柱应为后室的门柱,南侧两立柱是前室北墙的一部分。后室位于最北端,为四室并列,南北长2.88米,各室东西宽均为0.95—1.05米,后室的西侧室东门柱位置保存有一块近方形垫石,后室墓底高出中前室约0.36米,墓底保存有少量人字形铺地砖。前室和后室为拱形券顶,中室顶部结构不详。另外后室填土中及四壁保存有少量白灰。该墓出土画像石16块。 [42]
图4-25 南阳市张衡路汉代画像石墓平剖面图
(23)南阳市赵寨汉代画像石墓墓葬形制(图4-26)。该墓上部原是居民住宅区,这次修路墓室上部又毁坏一部分,现仅存下半部分,但墓葬形制还算清晰,为砖石混合结构墓,由前室和三后室组成。该墓坐北向南,方向200°。墓室长498厘米、最宽处444厘米、残高56厘米,残存的墓圹开口距地表约150厘米。室内填有五花土、碎砖块、陶片、石渣等。因该墓毁坏严重,是否有墓道,不清楚。墓室所用砖均为长方形小条砖,长32厘米、宽16厘米、厚5厘米。该墓因扰乱严重,仅在墓室内清理出灰陶残片(器形有圈厕、方盒、博山炉盖、壶等)。墓门:从前室门口的3块门槛垫石看,推测应有墓门。前室:呈长方形,东西横长444厘米,南北宽130厘米,残高56厘米。东、西两壁宽32厘米,为一丁二顺垒砌。铺地砖南部为竖排对缝平铺,在近中后室处铺地砖改为三排横砖对缝平铺。在前室填土中有倒放的柱石1块、石料1块(推测这两块石料应为墓门上的门柱石和门楣石)。后室:呈长方形,长366厘米、宽410厘米,残高56厘米。从后室底部铺地的石条看,后室应有后室门和两隔墙,隔墙使其成为东、西、中三后室。从隔墙下的垫石看,垫石长236厘米。在后室北部铺地砖,为三排横砖对缝平铺。西室铺地砖为竖排对缝平铺;中室为横排错缝平铺;东室南部为横排错缝平铺、北部两竖排对缝平铺。后室墙宽32厘米,为一丁二顺垒砌。该墓现存的14块石料看,有槛石3块、垫石6块,其中5块石料原位置不明,均为画像石。其中画像石5块、画像5幅。 [43]
图4-26 南阳市赵寨汉代画像石墓平剖面图
(24)南阳市宛城区达士营汉代画像石墓墓葬形制(图4-27)。该墓呈长方形,墓向190°,为纯石结构墓。墓室长3.54米,宽1.54米,墓口距地表0.35米,底距地表2.70米。此墓由墓门、前室和后室组成(墓门前部已被破坏,未见墓道)。墓壁均用不规则石条垒砌,较规整。石料现存有10块。主要为封门石2块、墓门门柱2块、后室门槛石1块以及盖顶石5块。墓门由2个门柱组成。门外用2块石板封门。东、西门柱均高1.05米,宽0.27米,西柱厚0.20米,东柱厚0.16米。前室呈长方形,长0.84米,宽1.54米,底低于后室0.20米。墓壁高1.05米,宽0.27—0.35米,石片厚0.10—0.20米。墓底未铺。后室呈长方形,长2.70米,宽1.54米,门口有一门槛石。墓壁高1.05厘米,宽0.27—0.35米,石条厚0.10—0.20米。墓底未铺。此墓共有汉代画像石3块。 [44]
图4-27 南阳市宛城区达士营汉代画像石墓平面图
(25)南阳市老庄汉代画像石墓M3墓葬形制(图4-28)。南阳市老庄汉代画像石墓M3是一座“T”字形砖石混合结构墓,方向195°。由墓道、封门、前室和并列双后室组成。墓室长524厘米、最宽处410厘米,墓顶距地表深230厘米、底距地表474厘米。由于该地为黄褐色沙质土,土质疏松,墓室不易修建,故建造时首先在地上平铺一层平砖,这样起到加固墓室的作用。然后在铺地砖上开始砌筑墓壁,整个墓室墙壁均为双层,宽32厘米,但砌法不太规则,为平砖错缝顺砌间以平砖纵向垒砌,这样平砖顺砌两层墓壁厚度为32厘米(16厘米×2厘米)与平砖纵向铺的砖长32厘米正好相等。砖均为长方形小条砖,分两种,一种砖较大(仅用于封门最下面两层),长34厘米、宽20厘米、厚8厘米;另一种砖稍小于第一种,长32厘米、宽16厘米、厚6厘米。墓道:因占压未发掘。封门:遭破坏严重,据观察有内外两层封门,为两次封堵而成。内层封门与前室东西壁相连,为一个整体。大部分已被破坏,从残存的部分看,砌法及用砖与墓室墙壁基本相同,但下部有两层大立砖。外层封门西半部存留,东半部被破坏,砌法及用砖与墓室墙壁基本相同。前室:平面呈长方形,东西长410厘米、南北宽260厘米。东西两侧长度不对称,西侧比后室宽1墙32厘米,东侧则比后室宽90厘米。西墙壁砖残存较多,墙高178厘米,从痕迹看前室为拱形券顶,残高62厘米。铺地砖为西北—东南斜向平砖错缝平铺。前室底低于后室底17厘米。在前室北部出土陶方盒1件。后室:平面呈长方形,为砖石混合结构。在墓室中部筑有一道隔墙,将后室分为东西两室。南北长280厘米、东西通宽288厘米、墙高138厘米、券顶残高56厘米。在隔墙北部有一小券洞,使两后室相通,小券洞高86厘米、宽44厘米。两后室铺地砖均为东北—西南斜向平砖错缝平铺。后室底高出前室底17厘米。后室门口处仅存门槛石两块,均为画像石。据观察、推测后室门间原应有三个石门柱,现均不存。推测后室墓门应为画像石构筑而成。该墓因严重扰乱,仅在主室门口处残存有两块门槛,均为画像石,画像2幅。 [45]
图4-28 南阳市老庄汉画像石墓M3平剖面图
此时期的汉代画像石在雕刻技法上分为两类,唐河一带的均是剔地浅浮雕并不饰底纹。南阳市区均是凿纹减地浅浮雕,并饰横线或竖线的底纹。在目前南阳地域以及南阳周边地域发现的汉代画像石,也只有唐河与湖北北部的画像石墓葬中存在剔地浅浮雕并不饰底纹的现象。所以,这种剔地浅浮雕技法是唐河与湖北北部的地方性特点。而南阳市区一带此时期的画像石,已运用凿纹减地浅浮雕技法。通过对图像的对比,发现在图像内容方面已经出现了较大的变化,楼阙建筑已退居次要地位,车骑出行、属吏谒拜、门吏、乐舞百戏、仙人神怪、历史故事、天象等内容大量出现。画像的装饰面积也不断增多,墓门、墓壁、墓顶均已经开始装饰画面。画像内容的装饰也开始更加讲究,一般是属吏谒拜、乐舞百戏、田猎,历史故事安排在室壁,天象安排在墓顶,门扉上则为铺首衔环,门柱上为门吏和仙人。门额出现二龙缠尾、虎食恶鬼和车骑出行。与西汉中后期(宣帝至元帝时期)画像石相比,在雕刻技巧方面有了较大改善。叙事程序逐渐复杂,出行图一般都是车马列骑,神兽图中的神兽也多成群出现,特别是历史故事,往往一个故事的基本情节均罗列出来,画面显得异常丰富。
西汉末到新莽时期的南阳汉代画像石墓中,随葬器物仍以陶器为主。而这些陶器主要是带釉红黄陶、不带釉泥质灰陶、不带釉泥质红陶三种。陶器的种类主要有:方奁盒、博山炉盖、罐、井、瓮、灶、磨、猪圈、壶、仓、陶楼房及各类家畜家禽明器。冯君孺久墓中已经出现了铁刀一件、铁镰、车軎2件、钱币12枚,其中“大泉五十”9枚,“小泉直一”。陶器有罐、大瓮、小瓮、井、方、仓、灶、案、炙炉、博山炉盖、鸭、鸡、鸟、楼阁、猪圈、环、甄、俑头、壶、仓、狗、敦、高足盘、耳杯、勺等。另外还出土有残俑及俑头,这表明王莽时已有随葬陶俑的风俗。 [46] 唐河针织厂汉代画像石墓,由于早年被盗,随葬遗物保存甚少。 [47] 唐河县电厂汉代画像石墓出土13枚钱币外,其中有一枚为“大布黄千”,其余皆为“大泉五十”。其他主要是陶器,有陶磨、陶灶、陶缸、陶仓盖、陶鸡、陶鸭、鼎盖等,皆出土于侧室和后室。 [48]
此批画像石所属诸墓,唐河郁平大尹冯君孺久墓有明显纪年,其时间为始建国天凤五年(即公元18年)。唐河针织厂汉代画像石墓二桃杀三士和虎食恶鬼(图4-29)等内容画像与洛阳发现的西汉晚期空心砖墓壁画(图4-30)内容一致 [49] ,其时代应属西汉末。唐河电厂汉代画像石墓与冯君孺久汉代画像石墓同属一类形制,不同的是各室皆为券顶,画像内容也与冯君孺久墓大体相同,特别是蹶张画像(图4-31、图4-32)和门额上的二龙穿璧画像(图4-33)与冯君孺久墓的(图4-34)如出一手,所出的13枚货币也全部为王莽铸币,其时代也应属王莽时期。 [50] 因此,本组画像石的上下限,大约为西汉末到新莽时期。
图4-29 虎食恶鬼
图4-30 洛阳发现的西汉晚期空心砖墓壁画
图4-31 唐河电厂汉代画像石蹶张
图4-32 唐河郁平大尹冯孺久汉代画像石墓蹶张、熊
图4-33 唐河电厂汉代画像石二龙穿璧
图4-34 唐河郁平大尹冯孺久汉代画像石墓二龙穿璧
此期为南阳汉代画像石墓的鼎盛期。已发掘的墓葬数量最多,有南阳草店汉代画像石墓、南阳市七里园汉代画像石墓、南阳军帐营汉代画像石墓、南阳英庄汉代画像石墓、南阳市中原技校汉代画像石墓、南阳石桥汉代画像石墓、南阳县王寨汉代画像石墓、邓县长冢店汉代画像石墓、方城东关汉代画像石墓、方城县城关镇汉代画像石墓、南阳县英庄汉代画像石墓、南阳蒲山一号汉代画像石墓、南阳市刘洼村汉代画像石墓、南阳西郊麒麟岗汉代画像石墓、南阳县辛店乡熊营汉代画像石墓、南阳市第二化工厂三十号汉代画像石墓、南阳蒲山二号汉代画像石墓、南阳桑园路东汉画像石墓、南阳市邢营二号汉代画像石墓、南阳市高新区标准件厂汉代画像石M10、南阳高新区标准厂房汉代画像石墓、南阳市汉景小区汉代画像石M11、唐河县古城乡井楼汉代画像石墓、郏县黑庙汉代画像石墓、南阳市兵工新城汉代画像石M5、南阳市兵工新城汉代画像M6、方城县南兰高速公路汉代画像石M1、南阳市万盛地产汉代画像石M8、南阳城区大屯教师公寓汉代画像石M3。
(1)南阳市七里园汉代画像石墓墓葬形制。该墓为长方形,用砖和条石构成并列券合葬的画像石墓。根据残存形状看,分前后两室,方向北偏东16°,前室低于后室0.2米,全长5.31米、宽5.4米。前室结构长2.17米、宽5.31米,用长约32厘米、宽16厘米、厚5厘米的小砖及石条构成。券残高1.62米,其券法是以石条三根竖立作柱,柱上有横石两块,长1.7米、宽0.36米。南北两壁用小砖砌成。西壁用九块石条构成通往后室的四个过门。(中间三柱长1.52米、宽0.36米,两边二柱宽0.28米。)中间门宽1米,两侧宽0.7米、高1.32米。后室在紧接前室的四个过门处用大砖和小砖券成并列弧形券四个,中间二券为主室,用长36厘米、宽18厘米、厚6厘米的大砖砌成,两边耳室用小砖砌成,券长3.28米、高1.32米。券顶倒塌,券内充满淤泥。前后两室均用小砖铺底。该墓出土汉代画像石29幅。 [51]
(2)南阳军帐营汉代画像石墓墓葬形制(图4-35)。该墓之上原有高冢,因在村北,故称“后冢”。墓门向北,墓门方向5°。该墓分前后两室,前室东西宽3.80米,进深1.78米、壁高2.10米;室的前壁用石条筑城两个并列的大小相同的墓门。墓门各高1.36米、宽1.26米。墓门全用小砖平砌封堵。前室后壁有两个通往后室的砖券门,门各宽1.16米、高1.96米,后室两门之间竖有中柱,与前门中柱相对应。在前后两中柱的顶部,横架一根长2.4米的石梁,石梁前端凿有与门楣石相吻合的卯口,与前室横梁相应的地面,铺有石条。根据四壁上部残留的小砖券筑情况看,前室应属于“四角攒尖”顶。底部用小砖顺行平铺。后室:分两个并列的大小相同的砖券墓室,每室宽1.16米,进深2.90米。后室的墙壁采用平砖错缝的砌法,上部为并列券顶,后室的底部较前室稍高。后室两门各置有一块门槛石。在墓内所用的12块石条中,除3块没有画像外,其他9块均雕有一幅或两幅画像。在部分画像上,还涂有红白颜色,使得画像生动醒目。 [52]
图4-35 南阳军帐营汉代画像石墓平面图
(3)南阳英庄汉代画像石墓(图4-36)。这座墓葬早年曾遭破坏,封土堆早已不存。墓顶距地表0.65米。墓门向东,方向为93°。墓道位于墓室之东,未作清理。墓室东西长3.75米、南北宽3.07米、高2.34米,平面呈长方形,由墓门、前室、南北二主室组成。墓室的建筑材料,除墓门、顶盖、二主室门及隔墙为纯石结构外,其余各壁和铺地皆用长36厘米、宽14厘米、厚5厘米的灰色小砖砌筑。墓门由一中柱、两侧柱、两门楣、两门槛及四门扉用11块石材构成南北并列的二门。门楣之上用单砖错缝横砌五层作女墙,用以遮挡前室的盖顶石。门通高1.34米、总宽3.12米。四扇门扉大小相同,高1.54米、宽1.04米。每个门框的外侧内沿一周均刻有凹糟,其上下凿有门枢窝,以安装门扉,门可启闭,其中北门南扉被盗墓人打破三分之二。二次入葬时用小砖竖砌成弧形墙壁封堵墓门。前室略宽于二主室,南北宽2.45米、进深1.26米、高1.88米。地平低于二主室20厘米,铺地砖为小砖平铺,顶部系用四块长方形石材东西覆盖,其中北边的一块石材被盗墓人撬离原位。前室东壁即墓门背面,西壁为二主室之门,南北两壁系用小砖错缝砌筑。二主室两门的结构与墓的二大门相同,但无门扉,门口各宽0.9米、高1.26米。二室之间由三根立柱和二根石梁构成隔墙,分主室为大小略同的南北二室,进深2.22米、宽0.93米、高1.08米。南主室西、南两壁和北主室西、北两壁皆用小砖错缝横砌,铺地砖的铺法与前室相同,二主室顶部各用三块长方形石材南北覆盖。该墓多次被盗,墓门被砸烂,墓顶也撬有盗洞。墓中的随葬器物仅留有灰陶狗一件和少量陶器残片。出土画像石15块,画像20幅,其中墓门正面9幅、背面7幅,前室顶部4幅。 [53]
图4-36 南阳英庄汉代画像石墓平面图
(4)南阳石桥汉代画像石墓墓葬形制。该墓室为砖石结构的“T”字形。墓的结构分墓道、前室、二主室和二耳室等六部分。墓道:位于墓室的东部,呈前高后低的斜坡形,残长33.40米、宽3.20米。在墓道的土壁上,发现有挖筑墓道时遗留的铁
痕迹。墓门:系用石材构筑成两个高1.50米、宽1.05米南北并列的墓门。两门之间有一根方柱,两侧各有一根方形门框,其上各置门楣。共用五块石料筑成两个并列的石门框,在门框石的外侧棱处,各凿有一周直角形的门扉口凹槽,并在门楣和门槛的靠边处凿有对称的门枢窝以装石门扉。墓门的每块石材构件的正背两面(除两门楣背面外)均雕刻画像。墓门的外边用小砖封堵,其中北门的封砖规整,南门的封砖作“人”字形。前室:为南北长方形,宽2.43米、进深1.22米、高2.16米。前室的后壁,有通往两个主室的石门,其结构和墓门基本相同,但没有门扉。在石门楣两侧和砖壁相接处,钉有两个对称的小铁钩。前室的两壁有左右耳室门。两门各由两根侧柱和一块门楣构成。在墓门中柱和主室中柱的顶端架有一根石梁,它不仅起到联结墓门与主室门石材构件的稳固作用,而且承托着前室顶部用小砖错缝券筑的两个并列券顶的中间相接部分,券顶的两端底部,是放置在左右耳室的门楣上,从而使整个墓室相互联结得甚为牢固。前室系用小砖铺地。主室:中间有一砖筑隔墙,把主室分为大小略同的南北两个主室,每室进深2.80米、宽1.04—1.07米、顶高1.88米。主室各壁系用小砖作一竖三卧砌筑。两个主室的券顶和前室并列券顶相连接,形成前室与主室相通连的并列券顶,地面用小砖平铺。北主室的顶部和周壁上,均涂有一层厚约1厘米的石灰面,并在高0.58米的周壁处,用土黄色颜料绘制宽8厘米的带条,顶部绘有菱形图案。耳室:左右耳室大小略同,皆为长方形,进深2.30米、宽1.04米、顶高1.66米。顶部为小砖错缝券筑,券顶的方向和前室券顶相垂直。两室的地面,也用小砖平铺。该墓出土画像石17块,画像28幅。
[54]
(5)南阳县王寨汉代画像石墓墓葬形制(图4-37)。墓葬早年曾遭破坏,封土不存,墓顶残陷。墓为砖石结构,石材主要用于墓门及主室部分,其余全用小砖砌筑。墓顶距地表30厘米左右。墓门向西,方向260°。斜坡墓道,西窄东宽,东西长5.5米、前端宽2.8米、接近墓门处宽3.4米。墓道填土分层夯实,每层厚约10厘米。夯窝直径8厘米、深2厘米。墓道壁上有铁
挖掘痕迹。墓室东西长4.76米、南北宽2.26米、通高2.36米。平面呈“T”字形。墓由墓门、前室、两主室和两侧室组成。该墓虽遭破坏,但画像的位置没有移动,墓室各部保存尚好。墓门南北并列二门,由一中柱、二侧柱、二门楣、二门槛及四门扉共11块石材组成。门高1.6米、总宽3.2米。四门扉各高1.24米、宽1.1米。门楣和门槛石上皆凿有门臼。北门两扉上部被盗墓人打破一洞,南门南扉上部亦被打破。门外用券墓剩下的楔形砖、长方砖混合封堵墓门。前室南北宽3.2米、进深1.8米、高2.54米,地平比主、侧室低0.22米。铺地砖铺为人字形。顶部是从墓门门楣和主室门楣上开始用小砖起券,与两侧室连成南北统一的拱形券。西壁即墓门内壁。南北两壁即两侧室之门,东壁即两主室之门。在墓门两门楣石和主室两门楣石的衔接处,架有一道石梁。石梁两端的下面,皆凿有与门楣石相吻合的榫口,扣缝叠压,使墓室牵拉得更加牢固。主室东西长2.68米、南北宽2.26米,正中筑一道留有小门的隔壁,分成南北并列的两个主室。主室门是由一中柱、两侧柱、二门楣和二门槛组成,无门扉。门口为正方形,二门高、宽均为0.96米。两室隔壁间的小门高0.58米、宽0.96米。门楣西端架在主室门中立柱上,东端另设一柱支撑。从而使墓门、主室门及隔壁小门互相连接,形成了一个整体的石骨架,增加了墓室的牢固程度。其余壁顶部分,皆用小砖券筑。从残存的南主室看,二室为东西并列的两个拱形券顶。墓底至顶高1.9米。壁砖为横三竖一砌筑,底为小砖错逢平铺。侧室分南北两侧室,二门与前室两端相连。除门槛石外,其他部分全部用小砖砌筑。两室大小基本一致,宽1.2米、进深1.32米、高2.32米。壁、底砌筑方法与主室相同。墓砖为一长方形,青灰色,一面有绳纹,一般长30—32厘米、宽16—17厘米、厚6—8厘米。另外,还有券顶用的楔形砖。该墓出土汉代画像石20块,画像23幅。
[55]
图4-37 南阳县王寨汉代画像石墓平面图
(6)邓县长冢店汉代画像石墓(图4-38)。该墓位于邓县城西6千米的长冢店村北200米处,地表留有封土堆,南北并列三个墓家连在一起,使封土形成一个两头高,中间稍低的枕形长冢,村名因之而得。我们在发掘时,北面的两座墓葬早已损坏。长家南北长37米、宽12.7米、高4.7米,堆土分层夯实,每层厚12—14厘米,层次分明。墓门朝东,方向125°。墓道位于墓门之东,长方形斜坡,长7.5米、宽2.25米。在墓道两侧的壁上当时铁
痕迹历历可辨。墓葬券顶高出地面约1.5米。墓室系用63块石灰岩条石与大量小砖混合砌筑而成,分墓门、前室、二主室及四侧室八个部分。平面呈“品”字形。墓室内全长5.88米、宽8.24米、高3.56米。墓门用门楣、槛石和二立柱构成,高1.3米、宽1.14米。门框内沿雕凿凹槽和门枢窝,安装门扉两扇。前室方形,南北阔2.69米、东西进深2.75米、高3.56米,地面低于二主室及四侧室0.24米。前室东壁即墓门内壁,南、西、北三壁分别为南二侧室、二主室和北二侧室之门。顶部用小砖券筑为盈顶。底部用小砖平铺作“人”字形。小砖为灰色泥质,长34厘米、宽17厘米、厚6厘米。主室长方形,中间用石柱和石梁隔离成南北并列的两室。两室的前边用二门楣、二槛石、三立柱构成并列的二门,各安装门扉两扇。门高1.08米、宽1.03米。作为两室隔壁用的三立柱之间有二小门可以相通。两室各长2.75米,南主室宽1.02米,北主室宽1米,通高1.55米。两室后壁及南主室南壁和北主室北壁均用小砖砌成。两室顶部用砖券作东西并列的两个拱形券。券顶系用小砖和斧刃砖相间券筑而成,斧刃砖刃厚3.5厘米。铺底砖的铺法与前室相同。侧室前室南北两侧各有并列的二侧室,大小与二主室相同。
[56]
图4-38 邓县长冢店汉代画像石墓平面图
(7)方城东关汉代画像石墓墓葬形制(图4-39)。墓室为砖石结构,石结构用于墓门部分,其余部分全用砖砌。券顶已塌,顶距地表20厘米左右,墓门向东,方向为110度。斜坡墓道东窄西宽,东西长17.5米、前端宽3.2米、墓门处宽4.4米。墓道内填土分层夯实,每层厚12厘米左右,一般夯窝径约8厘米、深约2厘米。墓室全长7.1米、宽7.8米、残高1.83米。由墓门、两前室、两主室、两侧室和后室八部分组成,互相通连,整个墓室建筑均衡、对称。因墓室破坏严重,现仅存墓门、两侧室和两主室。墓底铺砖。墓门:南北并列两座,由一中柱、两侧柱、四块门楣、两块门限及四块门扉石筑成。门通高2.53米、共宽4.86米,两合门扉各高1.74米、宽1.90米。门框和下门楣及门限石上,皆凿有门臼,用以安装门扉。前室:南北长方形,中间有一东西隔墙,分成南北两前室,隔墙留有1.26米宽的门,使二前室互通。隔墙残高1.18米,双砖平砌。每室进深3.28米、宽1.88米,地平比主室低0.22米,小砖错缝铺地。东壁即墓门内壁,南北两壁即侧室门外壁,西壁即两主室门。主室:位于墓室正中,前室的隔墙延伸到主室,又把它分为相等的南北两主室,进深现残存1.02米、各宽1.86米。墓壁的砌法为小砖错缝平砌。侧室和后室:分南北两侧室,门与两前室相毗连,门高1.58米、宽0.92米。地平比前室高0.06米。可惜外壁及其他部分已毁。从痕迹看,后室两端和两侧室相通。墓砖为长方形,青灰色,一面有绳纹,一般长33—36厘米、宽14—17厘米、厚5—8厘米。除素面砖外,还有少量的菱形纹砖。该墓共有画像石9块,刻有画面13幅。 [57]
图4-39 方城东关汉代画像石墓平面图
(8)方城城关镇汉代画像石墓墓葬(图4-40)。墓室为砖石结构。石结构仅限于墓门和西主室前门,共用石20块,其余部分均为砖砌。清理时,中前室顶部发现一南北长约1.6米的盗洞,西主室前门门楣被打碎为两块散落于淤土中,门扉则碎为数块散见于两个前室中,其余皆保存完好。葬具和骨架已腐朽,由于扰乱较甚,已看不出葬具的痕迹,仅在三个主室及两个前室的淤土中发现零星碎骨。墓顶距地表0.56米。墓向182°。此墓由墓门、前室、主室三部分组成,墓室全长4.7米、宽4.93米,主室高1.6米、前室高2米。除东主室四壁及顶用单砖砌券外,余皆用双层砖砌券。墓道压在房基下,未清理。墓门高2.4米、宽4.13米,由四块门楣、两块边柱、两块中柱、四块门扉、三块门限石构成。形式为东西并列的两个门洞。门楣、门限石上均凿有门臼,装有四扇能够关闭的门扉。封门砖用单砖错缝平砌。前室由一堵南北墙隔为中、西二室,隔墙上有券洞可以相通。两室均长方形,地面分别低于西主室26厘米、中主室31厘米,铺地砖错缝平铺,各二层。从墓壁第二十五层砖开始起券。中室东壁正中有券洞与东主室相通。西壁即隔墙,北壁有门通中主室。在东、西二门洞下各有一长106厘米、高19厘米的台阶。西壁即墓壁,北壁有门通西主室。主室有东、中、西三室,均长方形。东、中、西主室两壁分别由第二十一、十八、十九层砖开始起券。墓壁为一顺一横平砌,券顶为错缝砌。铺地砖皆错缝平铺,各三层。三室仅西室有石门,但门楣、门扉均被盗墓者打碎。石门原由一块半圆形门楣石、两块门柱、一块门扉及一块门限石组成。门楣、门限石上均凿有门臼,安装一扇可以开闭的素面门扉。从中主室前的遗迹看,中主室前应有木门。墓砖均青灰色,一面有绳纹。大部分砖一侧饰菱形图案,有些饰菱形乳钉图案,部分砖三个侧面饰菱形图案。砖分两种:砌墙、铺地砖为长方形,部分有子母口,一般长34.6—35.5厘米、宽15.8—17厘米、厚5.6—6.3厘米,券顶砖为子母口楔形砖,一般长33.2—35.5厘米、宽16.3—17厘米、背厚5.7—6.5厘米、里厚4.1—4.8厘米。一般榫长1—1.4厘米、眼深1.3—2厘米。该墓共用石20块,画像13幅。 [58]
图4-40 方城城关镇汉代画像石墓平面图
(9)南阳县英庄汉代画像石墓墓葬形制(图4-41)。该墓长5.22米、宽3.67米、墓底距地表3.30米;墓向200°;由墓门、前室、东西两主室组成。墓系砖、石结构:墓门、主室门桅、门柱、前室大梁、主室隔墙等主要部位共使用25块石料,其他部分系砖砌。清理时墓顶、后室墓壁和铺地砖已拆毁。据群众反映,墓室为券顶。前室顶高于后室顶。前室地面低于主室地面0.24米。东墓门用单顺砖平砌,西墓门用砖封成半圆形。前室墓底用顺砖平铺。后室墓底用竖砖成人字形铺砌。前室、主室东西两壁用单顺砖砌筑,主室后壁用双顺砖平砌。墓门门楣上有残缺的女墙。除墓顶和西墓门封堵用楔形绳纹砖外,其他部分全用绳纹长方砖。墓门由二侧柱、一中柱、二门相、四门扉构成。门高2.22米、宽3.67米。门扉有门枢,门楣及槛石均凿有白窝。前室东西长2.84米、宽1.14米。其南壁即墓门内壁。其北壁即两主室外壁,上有两块门楣,下有三柱,形成两主室门。东主室门高1.18米、宽1.07米,西主室门高1.18米、宽1.02米。前室上方有一大梁,梁两端分别放置在墓门门楣和主室门楣正中处。主室正中筑一道留门隔墙,分成东西两主室。东主室长2.68米、宽1.20米。西主室长2.70米、宽1.17米。该墓共出土53幅画像。 [59]
图4-41 南阳县英庄汉代画像石墓平面图
(10)南阳蒲山一号汉代画像石墓墓葬形制(图4-42)。蒲山汉画像石墓(M1)曾遭盗掘和破坏,墓葬上面的封土堆已不复存在,东西两主室的券顶及前室的东壁也全部坍陷。该墓为砖石结构,由墓道、墓门、前室及东、西两主室四部分组成,全长9.96米,宽2.96米,墓底距地表2.96米,方向215°,共有石料27块,主要用于墓门、主室门、主室隔梁及前室墓顶等部位,其余部位用砖垒砌,除墓顶部分为楔形砖外,墓壁及其他地方均为长方形条砖,规格为长32厘米、宽16厘米、厚6厘米。墓道在墓门的正前方,呈斜坡式,坡度为14°,长6.26米。墓道口宽1.2米,墓道底部无规则地放置着四块石板,这些石板大小厚薄、形状样式不一,大概是填土时随意扔进去的。墓门:由二侧柱、一中柱、二门楣、四门扉、二门槛构成。门高1.9米,宽2.96米,门扉有门枢,门楣及槛石上均凿有臼窝,东墓门没有发现封砖,西墓门的封砖为倾斜的立砖垒筑,下垫一大石块。前室:介于墓门与主室之间。其顶部为四块画像石所覆盖,但发掘前已被搬离原位。前室西壁为单顺砖垒砌,东壁已不存在,东西长2.64米,南北宽0.94米,墓底铺砖为一横两竖平铺。主室:为砖券顶,主室门由两门楣及三门柱构成。主室正中筑一道留门隔墙,将主室分为东、西两部分,此隔墙上为一隔梁,下有三柱,南端立柱和主室中门柱共用,三柱共承一雕龙大梁,龙头为透雕,突出到前室,被主室的门楣所压。龙的造型逼真,富有立体感。遗憾的是,突出的龙头部分已遭破坏。主室的东、西墓壁及后壁为单砖顺砌,墓底铺砖和前室基本相同,东、西两主室大小相等,长度均为2.28米,宽度0.92米,底部较前室高出20厘米。需要指出的是,在清理此墓的过程中,我们发现西主室的填土中有一块画像石,图像漫得不清,在墓中的原始位置不明。墓共出土画像石24块,雕刻画像35幅。 [60]
图4-42 南阳县蒲山汉代画像石墓平面图
(11)南阳市刘洼村汉代画像石墓墓葬形制(图4-43)。该墓为砖石混作,地表的封土早已无存,墓顶距地表约0.4米,前室部分券顶砖已坍塌于墓底,主室的券顶砖尚好。石材主要用于墓门及主室,其余全用小灰砖砌筑。墓室二墓门、前室、二主室门和二主室组成,平面呈“T”字形。墓门向东。墓道由于压在房下无法清理,主室的后墙已毁坏。墓东西残长3.56米、前室南北宽2.80米、两主室总宽2.20米、墓门、主室门宽均为0.80米、前室底距地表深2.30米。清理过程中在填土内发现残铁犁铧一件并发现该墓已两次被盗,但画像石的位置并无移动。墓门:分南北二门,由一根中柱(柱顶端另外加一拱石),南北各有一根侧柱、二门楣、二门槛石共八块条石组成。门高1.7米、宽0.80米。没有门扉,系用长方形小灰砖四平一立错缝封堵。前室:南北室2.80米、进深1.60米、高2.30米前室地平比主室低10厘米,铺地砖为斜平铺、南北两壁皆用单平砖错缝砌筑,中间有炭梁,长1.94米,东西两端分别放置于墓门中立柱和主室的中立注上。石梁上端用两平砖砌筑后,又用楔形砖南北并列券顶,使前室主室连成一个整体。前室券顶比主室高0.4米。主室:残长1.96米、总宽2.20米、高1.85米。用两平砖砌筑的墙壁间隔成南北并列的两主室。由七块条石构成二主室门,门高1.50米、宽0.8米。南壁和北壁约系单平砖错缝砌成,然后用楔形砖券作南北并列的两个拱形券顶,铺地砖与前室相同。 [61]
图4-43 南阳市刘洼村汉代画像石墓平面图
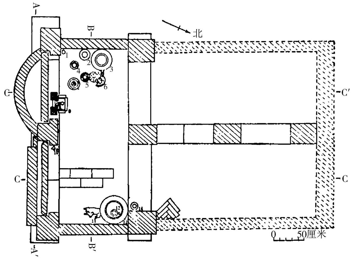
(12)南阳麒麟岗汉代画像石墓墓葬形制(图4-44)。该墓为拱券顶的砖石混砌结构,墓顶略低于地表,墓葬的骨架结构全部用石条、石板构筑,墓门方向274°。墓道为斜坡形,宽3.2米,坡长已被扰乱,从清理时的现场看,该墓南大门门楣上方与前室拱券顶结合部位有一个不规则的圆形盗洞,近年地质钻探时,钻机又钻在前室上部。因此,墓前室拱券顶部破坏严重。该墓由二大门、前室、南主室、中主室和北主室五部分组成,墓室平面呈“而”字形。墓顶:把墓顶封土完全清理后,可以看到墓顶结构是一横三纵的四个拱券的第一层墓顶。一横券下面为前室,三纵券下面分别为南、中、北三主室。此三室每个拱券均采用小砖并列成券。以北主室顶为例,共用八道小砖券连接而成。每道券之间砖不错缝连接,即各券之间不相互楔接。前室则用小砖错缝砌筑券顶。清除小砖拱券顶之后,前室和中、北二主室露出了第二层石质墓顶结构。前室第二层顶系用9块石板覆盖而成,中主室用盖顶石板4块。北主室用盖顶石板6块。二大门:墓二大门用小砖封堵在表面,北大门上部条石门楣的为外表用小砖三层贴封,下部用小砖“闸”封。南大门门楣石刻裸露,封门砖相当错乱,拆除封门砖,原来的四扇石门扉已经被盗墓者全部砸毁,碎块散存于前室和封土中。由此看出,盗墓者曾从墓大门进入墓室盗掘,墓葬被盗不止一次。墓葬二大门系用二门楣石、南北二立柱、中柱和两块下槛石构成。南门高1.42米、宽0.96米。北门高1.37米、宽1.12米。二门的上下槛各刻凿有两个门枢窝以安装石门扉。二门楣石的上边用小砖砌筑女墙。女墙宽3.08米,高0.58米。在南、北立柱的边缘,紧贴立柱用小砖各砌筑砖墙一段,用以堵挡两侧泥土。前室:二大门的背面即为前室西壁。在南大门的南段另用一门楣,一立柱与南大门南立柱砌成一假门,此假门不与不通,但增加了前室的横宽。前室宽4.04米、进深1.36米、高1.45米(至石板顶)。前室北壁系用二侧柱、一中柱、二门楣石与下槛石构筑成东西并列的两个假门,假门外侧各用两块石板堵砌。前室南壁与北壁的砌筑方法相同。前室东壁即南、中、北三主室之门。前室顶部用9块宽窄不同的石板东西纵铺、构筑成顶。在每块盖顶石两端的下部与三主室的门楣石上部雕刻有榫卯,用以加固墓顶结构。前室地平用小砖和盗墓砸碎的石门扉铺砌,铺砌很不规则。三主室:南、中、北三主室之门即前室东壁。用二门楣、四立柱和下槛石构成南北并列的三个门。北主室和中主室门的门槛内侧边缘皆刻凿“L”形槽,并在二门的门楣和下槛上各刻一对门枢窝,以安装门扉。北主室北壁系用三门槛、四立柱和下槛石构成东西并列的三个假门。假门外侧各用石板堵砌。北主室南壁即中主室北壁,系用三门楣、四立柱和下槛石构成东西并列的三门。三门皆与南主室互通。其东壁的砌筑方法系在该室南、北二壁最东边的立柱外边,用两块石板堵砌而成。北主室上部用石板南北横向平铺成顶。石板顶之上用小砖再砌筑东西长的拱券顶。北主室地平用小砖南北横铺。该室进深2.74米、宽0.94米(石柱距)、高0.94米(至石板顶)。地至砖顶高1.54米。中主室北壁即北主室南壁。中主室南壁用三门楣、四立柱、门下槛石砌筑成东西并列的三门。东边一门安装一扇石门扉,可与南主室互通。其他二门以石板封堵,成为假门。其东壁及室顶的砌筑方法与北主室相同,进深2.74米、宽0.95米、高0.92米。南主室砌筑方法与北、中二主室相同,不同之处是该室南壁的三个假门内系小砖砌筑。墓顶部分仅有东西向小砖拱券顶而未筑石板顶。南主室西部墓底用小砖铺砌一个平台,台长1.72米、高0.42米。平台与南主室等宽。在该墓室门槛石上用小砖铺砌有一道南北向排水沟。该墓总长4.10米、宽3.58米。该墓共出土画像石111块,画像153幅。 [62]
图4-44 南阳麒麟岗汉代画像石墓平面图
(13)南阳县辛店乡熊营汉代画像石墓墓葬形制(图4-45)。该墓长4.54米,宽3.24米,墓底距地表3.15米,方向206°。由门、前室、东西两主室组成。墓系砖石结构:门、主室门楣、门柱、前室大梁、主室隔墙、门槛石等主要部位共使用22块石料,其他部分系砖砌。封门砖封门砖残高0.42米,用顺砖错缝平砌。前室过梁已拉出墓室。墓券顶绝大部分已被毁掉,前室券顶已不存,主室后部残存七纵砖。券高0.32米,砖为楔形砖。砖上部厚6厘米、下部厚4.2厘米、长31.5厘米、宽15厘米。前室墓底低于主室11厘米。其东部用顺砖平铺,横排直缝,西部除中间有两行纵排平铺外,其余铺法同东部。东壁残高0.92米,砌法平砖立砖交用。西壁残高1.10米,砌法同东壁。西主室铺地砖为纵铺法,东主室铺地砖较乱,自南而北依次为两顺砖一纵砖七顺砖平铺。砌法主室东壁自铺地砖以上平砖与立砖交用。西壁、后壁砌法皆同东壁。主室隔墙南部则用石料砌一通道,北部则用砖砌,即长0.82米,高1.42米。砌法同东壁。墓门由二侧柱,一中柱,二门楣,四门扉,二门槛石构成。门高1.55米,宽1.18米。门扉有门枢、门楣及槛石均凿有臼窝。前室东西横阔2.55米,进深1.5米。其南壁即墓门内壁,其北壁即两主室外壁。主室门由两门楣,三门柱构成。东主室门高1.37米、宽0.98米,西主室门高1.39米、宽0.98米。前室上方有一大梁,梁两端分别放置在墓门楣和主室门楣正中处。主室门由三门柱、两门楣、两门槛石构成室正中南部筑一道留门隔墙,北部为砖墙。分成东西两主室。通门高0.715米、宽0.713米。该墓共出土40幅画像,画面皆有彩绘痕迹。 [63]
图4-45 南阳县辛店乡熊营汉代画像石墓发掘现场图
(14)南阳市第二化工厂三十号汉代画像石墓墓葬形制。墓葬坐东向西,方向287°,砖石结构。平面呈正方形,由墓道、甬道、前室、南北主室组成。石材主要用于墓门、甬道门、前室墓门、两主室的墓门及隔墙,其余各处及铺地皆用灰色小砖砌筑。墓门由一中立柱、两侧柱、两门楣组成,无门扉。墓门后为甬道。甬道仅存一立柱、一横梁。前室略宽于两主室,地平低于两主室,底部为小砖平铺,南、北两壁用小砖错缝砌筑。主室分为南北两主室。主室门由一中立柱、两侧柱、两门楣、两门槛组成。两主室之间由三立柱、二石梁构成隔墙。南主室东、南两壁和主室东、北两壁皆用小砖错缝横砌。主室墓顶在清理时已坍塌,前室墓顶已无。该墓共用石材20块,画像28幅。 [64]
(15)南阳蒲山二号汉代画像石墓墓葬形制(图4-46)。该墓为砖石结构,平面呈长方形,由墓道、墓门、前室、主室四部分组成。墓门朝南,方向195°。墓室总长4.06米(含封门墙)、宽2.8米、墓门宽3.2米、墓底距地表2.6米。整个墓除墓门、前室及主室隔墙等部位使用石材并雕刻有各种画像外,墓室墙壁和铺地均用长30厘米、宽15厘米、厚5厘米的长方形灰砖砌筑。墓道:位于墓室的南部,为南高北低斜坡状。底部宽于口部,平面呈梯形。残长2.35米、口宽1.1米、底宽1.45米。底部与封门墙间留有0.25米宽的空间。墓门:由二侧柱、一中柱、二门楣、四门扉、二槛石和前室大梁南端构成。门高1.72米、宽3.2米。门扉有门枢、门楣及槛石,均凿有臼窝。东门用两块未加工不规则的石板封堵。西门下部用石板,上部用方砖封堵。封砖为人字形砌法。前室:东西长方形,长2.8米、宽1米。上部中间一石梁,南端伸到墓门外,立于中门柱上,压在门楣石下。东西两壁均用单顺砖错缝平砌,铺地为顺砖平铺。主室:中间一道留门隔墙把其分为大小略同的东西两个主室。东室长2.42米、宽1.1米;西室长2.42米、宽1.05米。底部高于前室0.2米,与前室连接处有两块门槛垫石。隔墙由三立柱架一石梁构成。墙壁均系单顺砖错缝平砌,底部用方砖错缝平铺。 [65]
图4-46 南阳蒲山二号汉代画像石墓平面图
(16)南阳桑园路东汉画像石墓墓葬形制(图4-47)。该墓封土堆不存,墓顶距现地表仅0.84米。长方形券顶砖室墓,坐北朝南,方向184°。砖石混砌结构,长4.85米、宽2.92米、深1.86米,由前室和东西两个主室构成,墓门前还筑一道封门墙。前室长1.96米、宽2.92米,室内中间由2个立柱和过梁石组成过门。主室地面高出前室0.32米,被一道宽约0.32米的隔墙分为东西两室,门口立2块条石,形成门槛。墓壁砖砌而成,墓顶为双列双层拱券,铺地砖直行错缝立铺。砖的规格为长31—32.5厘米、宽16—16.5厘米、厚6厘米。墓室周壁及顶部均涂抹一层厚约l厘米的白灰面,多已剥落。画像石集中在前室,为过梁石、立柱以及两个主室的门槛。另有一块斜竖在前室,原来位置不详。该墓发现画像石6块,上刻画像16幅。 [66]
图4-47 南阳桑园路东汉画像石墓平面图
(17)南阳市邢营二号汉代画像石墓墓葬形制(图4-48)。该墓为砖石结构,由墓道、墓门、甬道、主室四部分组成,平面呈“凸”形,全长15.60米,坐东朝西,方向278°。该墓用石材五块,且集中于墓门上。墓室由青砖和绳纹砖构筑,其砖大小不一。墓道在墓室西端,长斜坡土坑竖穴式,长8.40米、宽1.50—1.80米、深0.30—3.84米。墓门:砖石结构,由女墙、拱券、门楣石、左右立柱和二封门画像石构成,无门扉装置。砖砌拱券门洞,高1.80米、宽1.04米。在门楣石上起券,其上为单层错缝平铺的女墙,高0.88米、宽2.05米、厚0.16米。二立柱之间为砖铺门下槛,高于甬道底0.06米。甬道:平面呈长方形,室内长3.10米、宽1.15米、高1.76米。墓壁在1.10米处即第15层砖起券收缩成双列错缝砌拱券顶,券高0.66米。在顶的砖缝之间挤有砖楔,内壁尚平整,外壁则参差不平。南北两侧壁采用小砖三横一丁错缝平铺砌筑。其底与主室底在同一平面上,地面皆用小砖铺为“人”字形图案。主室:平面为长方形,室内长3.45米、宽2.99米,最大深度3.45米,墓壁厚约0.30米。墓顶采用四隅券进式砌成穹窿顶,墓室四壁的基本砌法为三横一丁,从第19层砖起券,四隅各平置一砖,砌为抱角,同时券进收缩,至墓顶中心交汇,形成长方形砖框抱心。整个墓顶券法为单列立砖直缝顺砌成穹窿顶,砖缝间挤有砖楔,内壁尚平整,外侧凹凸不平,券高1.69米。在东、南、北三壁的中间部位各形成一个大“人”字形砖缝图案。 [67]
图4-48 南阳市邢营二号汉画像石墓平面图
(18)南阳高新区标准厂房汉画像石墓墓葬形制(图4-49)。从发掘的情况看,该墓早年已遭毁坏,上部已不存在,但残存的形制还是比较清晰的。墓葬平面布局略呈“凸”字形,为砖石混合结构墓。由墓道、甬道、前室和后室组成,方向106°。墓室长890厘米、最宽处330厘米,墓口距地表深40厘米,墓底距地表深380厘米。墓壁均为双砖平砖错缝垒砌,砖均为长方形小青砖,长30厘米、宽15厘米、厚6厘米,铺地砖均为“人”字形平铺。在室内扰土中出有仓2件、耳杯1件、方盒1件和一些残陶片(能看出器形的有鼎、方盒、磨、圈厕、器盖等)。墓道:因有障碍而无法清理。甬道:呈长方形。长230厘米、宽194厘米。墙高166厘米,为双平砖错缝垒砌。底低于后室底26厘米、与前室底相平。前室:位于甬道西部,与甬道和后室相通。长270厘米,宽330厘米。墙高180厘米,券残高48厘米,为穹窿顶。底低于后室底26厘米,与甬道底相平。前室西部出有铜镜1面、铜矛1件。后室:呈长方形。长390厘米、通宽298厘米。墙高182厘米,为双平砖错缝垒砌,从残存的券顶看为穹窿顶,墓室残高270厘米。后室中间有一隔墙,将后室分为南北两室,隔墙宽52厘米,为平砖错缝垒砌。底高于甬道和前室底26厘米。前后室之间用双券门相连,形成了后室两门,券门高170厘米、宽均96厘米,在门口处用两块画像石作为门槛石,券顶为双层拱形券顶。 [68]
图4-49 南阳高新区标准厂房汉画像石墓平面图
(19)唐河县古城乡井楼汉代画像石墓墓葬形制(图4-50)。该墓坐西朝东,方向107°,由墓道、墓门、前室和主室几部分组成。墓道因障碍未清理,墓室平面呈“T”字形。墓葬为砖石混合结构,石材主要用于墓门和主室门,其余全部用长方形青砖和楔形砖砌筑。墓顶距现地表50厘米左右。长方形砖长32厘米、宽16厘米、厚6厘米;楔形砖长35—36厘米、宽16厘米,上部厚6厘米、下部厚4厘米。墓室东西长460厘米(不含墓道)、南北宽570厘米。墓内填土为砂质五花土,因扰乱严重,填土中夹杂有墓砖、石块和少量碎陶片等。墓道:位于墓门正前方,底部宽176厘米,因障碍未发掘,长度不详。墓门:从残存情况看,墓门由一门楣、二门柱、二门扉组成。墓门下有门槛石,门楣和门槛石上皆凿有门枢窝,用于安装门扉,而发掘时除门槛石外其他石材已被挖掉拉出。门外有封门墙,残高50厘米,单顺砖错缝平砌。前室:为横前室,呈南北长方形,南北宽570厘米、进深118厘米。墓壁均用长方形小条砖砌筑,自下而上为平砖错缝平砌,铺地砖为直缝平铺。另外,前室墓顶及墓壁上部破坏不存,墓壁下部残高45厘米。主室门:从清理情况看,主室门也由一门楣、二门柱、二门扉组成。墓门下有门槛石,门楣和门槛石上凿有门枢窝,用于安装门扉。发掘时除门槛石外其他石材均被挖掉拉出。主室:东西长250厘米,南北宽125厘米。主室南、北两壁及后壁均为单顺砖错缝平砌而成,铺地砖为直缝平铺。主室墓顶保存较好,用楔形砖错缝券筑成弧形拱券顶,高165厘米,从残存痕迹看。该墓葬石材主要用于前室墓门、主室墓门位置,现场收集画像石4块,共雕刻画像4幅。 [69]
图4-50 河南唐河井楼汉代画像石墓平剖面图
(20)郏县黑庙汉代画像石墓墓葬形制(图4-51)。该墓位于发掘区中南部,为带斜坡墓道的 “甲”字形,为砖石混合结构,由墓道、甬道、前室和后室组成。墓向278°。墓口距地表深0.40米,墓长11.70米,宽1.04—4.40米,墓深1.79米。墓道位于甬道西端,为斜坡墓道,长5.66米,宽1.04—2.12米,底坡长6米,底端深1.80米。封门砖位于墓道与甬道之间,用整砖和残砖上下叠压错缝叠砌而成。砖长36厘米,宽12厘米,厚6厘米。墓门:由石门楣、门柱、门扉和垫石组成,共6块,其中带画像者5块,门高1.17米,宽0.56米。甬道连接墓道与前室,呈长方形,长1.06米,宽0.98米,墙高0.78米,为小砖错缝垒砌。拱形券,券高1.24米。底部为小砖错缝平铺。前室为长方形,券顶与北壁早期坍塌,南北长4.30米,宽2.22—2.26米,墙残高1.22—1.32米,为平砖错缝叠砌。前室四壁为砖石结构,石料用于门楣、门柱,共3块画像石,其中门楣1块、门柱2块。底部用砖错缝平铺。后室为长方形,由右、中、左三个墓室组成,均为拱形券。右室券顶保存完整,中、左二室券顶局部早期坍塌。底用小砖错缝平铺。长4.24—4.40米,宽2.68—2.70米,墓底距地表2.20米,为小砖错缝垒砌。墓门为砖石混合结构。左室,长2.60米,宽1.03米,券顶高1.20米。底用小砖错缝平铺。葬具为单棺,木质结构,腐朽严重。从棺灰痕可知,棺长2.08米,宽0.56—0.60米,厚0.06米。人骨架腐朽严重,可以看出头西足东。中室,长2.60米,宽0.92—0.96米,券顶高1.20米。底砖为错缝平铺。葬具为单棺,木质结构,腐朽严重。右室,长2.58米,宽1.12—1.16米,券顶高1.20米。底砖错缝平铺。葬具为单棺,木质结构,腐朽严重。从棺灰痕可知,棺长1.84米,宽0.50—0.60米,厚0.06米。该墓石料用于门楣、门柱,共7块画像石,其中门楣3块、门柱4块。 [70]
图4-51 河南郏县黑庙M79平面图
(21)南阳市兵工新城汉代画像石墓M5墓葬形制(图4-52)。M5位于整个发掘区的西侧中部,是一“中”字形砖、石混合结构墓。方向186°。墓室长804厘米,最宽处330厘米,墓口距地表20厘米,墓底距地表深135厘米。由墓道、甬道、前室和两后室组成。该墓葬破坏较严重,墓室顶部已全部毁坏,墓框保存较好。墓葬所用砖规格均为长30厘米、宽15厘米、厚6厘米的长方形小青砖。墓道:位于墓室南部。呈梯形斜坡状。仅发掘一部分,南北长130厘米、北宽150厘米、南宽120厘米,底距地表135厘米。填土为较纯净的黄沙土,未夯打。甬道:平面呈长方形,长154厘米、宽128厘米。甬道前端用砖垒砌成横人字形来封门,封门墙厚30厘米。墙残高27厘米、宽15厘米,东、西两壁砌法相同,均为三顺一丁垒砌,丁砖均为半截砖。甬道底低于后室底15厘米,与前室底相平。铺地砖为“人”字形平铺。前室:平面呈长方形。长270厘米,宽328厘米。墙残高56厘米,宽30厘米,为三顺一丁垒砌。前室底低于后室底15厘米,与甬道底相平。室内扰土中出有陶狗头等陶片。铺地砖为“人”字形平铺。后室:平面呈长方形,长245厘米、宽270厘米。中部用隔墙将后室分为东、西两室,隔墙宽40厘米。从整个清理的情况看,后室应有后室门,为石结构,现存有一中门柱和(后室墓底倒放有)一门扉(素面)。后室底高于甬道底和前室底15厘米。墙高106厘米、宽15厘米,为三顺一丁垒砌,丁砖均为半截砖。铺地砖在两后室门口处有一排横立砖并与后部“人”字形铺地砖相连。该墓石料仅存2块(包括门扉1块、门柱1块),画像1幅。 [71]
图4-52 南阳市兵工新城汉代画像石墓M5平剖面
(22)南阳市兵工新城汉代画像石墓M6墓葬形制(图4-53)。M6位于整个发掘区的西南部、M5的西南方。因M6前室部分已被破坏,是否有墓道、甬道已不可知,从发掘现场看,该墓是近“凸”字形砖、石混合结构墓,由前室和后室组成。方向98°。墓室长610厘米、最宽处356厘米、墓口距地表170厘米、墓底距地表深260厘米。该墓葬破坏较严重,墓室顶部已全部毁坏,前室仅存部分南壁和铺地砖、后室墓框保存较好。墓葬均用长方形小青砖,长30厘米、宽15厘米、厚6厘米。前室:呈长方形,东西长312厘米,南北宽356厘米。南墙残高88厘米,南墓壁宽30厘米,为一丁三顺垒砌。前室底低于后室底15厘米,铺底砖为 “人”字形平铺法。在室内扰土之中出有红釉陶仓盖等陶片。后室:呈长方形,为砖、石混合结构。东西长298厘米,南北宽290厘米。墙残高72厘米,南、北墓壁宽30厘米,为一丁三顺垒砌。西壁宽15厘米,为一丁三顺垒砌,丁砖为半截砖。从整个发掘情况和墓室看,后室未见有隔墙痕迹,但在后室门口中部立有一柱石,柱石下有一垫石。后室底高于前室底15厘米,铺地砖在后室门口处有一排横立砖并与后部“人”字形铺地砖相连。该墓石料仅存2块,包括门柱1块、垫石1块,其中画像1幅。 [72]
图4-53 南阳市兵工新城汉画像石墓M6平、剖面图
(23)方城县南兰高速公路汉代画像石墓M1墓葬形制(图4-54)。该墓早年被严重盗掘破坏,墓顶毁坏,后室墓壁现已不存,墓室上部现距地表约0.5米。墓葬为砖石混合结构,平面呈“甲”字形,坐西朝东,方向102°,由墓道、墓门、两前室和双后室组成。墓室为长方形,前、后室等宽,东西长3.85米,南北宽3.45厘米,墓底距地表深1.64—1.86米。墓道为斜坡形,位于墓室东部,长3.07米,宽1.1—3.45米,最深处2米。墓道前部平面呈梯形斜坡状,长2.2米,宽1.1—2米,墓道坡度33°;近墓门处渐宽,呈喇叭状,最西端与墓室等宽,底部与墓门底相平。墓道与前室之间设置有墓门,用石材砌筑而成,共用石材9块,由北、中、南三立柱和两门楣、两门扉、两垫石构成。墓门分南、北两扇门,分别对应南、北两前室,高度为1.54米,宽度各为1米,由两门楣石、三块门柱石和两门槛石构成。南门楣石长1.9米、宽0.36米、厚0.22米,北门楣石长1.85米、宽0.36米、厚0.22米;北、中、南三门柱石规格分别为1.54米×0.5米×0.22米、1.54米×0.38米×0.42米、1.54米×0.42米×0.22米;两门扉石规格各为1.54米×1米×0.22米。墓门外用小砖错缝平铺砌墙封门加固,北部残缺不存。前室平面呈横长方形,中间由两立柱支撑一石质过梁,分前室为南、北两室,东部立柱与墓门中门柱共用,上端西部挖出一槽放置过梁。过梁西端下部有凸出的榫卯结构,推测可能与后室过梁相连接,现后室过梁不存。过梁石和西立柱石规格分别为1.1米×0.4米×0.36米、1.2米×0.36米×0.15米。前室进深长1.2米,南北前室横阔内宽分别为1.2米、1.17米,前室底低于后室底0.22米。前室墓壁已破坏不存,仅在南部墓底残存三层砖墙,用长方形条砖横竖交错平铺,墙宽0.36米。南前室铺砖保存完好,近后室处用一组平砖南北向纵铺,东部平砖齐缝横铺。北前室铺砖无存。后室毁坏最为严重,墓壁砖墙不存,形制已不太清楚,仅依据现存情况进行推测,应为南北两主室组成。后室中部底残存三层东西向隔墙,隔墙宽度为0.51米,仅剩0.12米高,分后室为并列南北两室,进深约1.96米,南主室宽约0.98米,北主室宽约1.1米。后室与前室交接处用平砖横铺砌成门槛,南部残存两层,用砖为带有榫卯的子母砖。后室铺地砖铺不存,从隔墙两侧残存铺砖看,为单层砖横向平铺。墓内用砖一致,规格为0.31米×0.16米×0.06米。该墓所用石材均未雕刻画像,只在正面刻出横竖纹衬底。 [73]
图4-54 方城县南兰高速公路汉画像石墓M1平、剖面图
(24)南阳市万盛地产汉画像石墓M8墓葬形制(图4-55)。M8坐南朝北,方向15°。开口于地表扰土层下,墓口距地表210厘米。该墓平面略呈“L”字形,为砖、石混合结构墓,由墓道、墓门、东耳室和东、西两主室几部分组成。全墓南北长445厘米(不包括墓道),东西宽250—394厘米,墓底距地表356厘米。砖均为长方形小条砖,长30厘米、宽15厘米、厚5厘米。墓道:位于墓门之北。未完全清理,仅清理了靠近墓门的一部分,长128厘米、宽290厘米、坡长142厘米。口深286厘米,底深356厘米,坡度37°。从清理出的墓道看为长方形斜坡状。在墓道南部,靠近墓门的东部还残留有砖砌的挡土墙,墙为平砖错缝垒砌,残存部分长54厘米、宽15厘米、高64厘米。墓门:从整个发掘现场看,墓门由石结构筑成。现残存两门楣石、一门柱石、二门槛石。石面较粉,部分画面漫漶。东门楣石长170厘米、宽30厘米、厚36厘米;西门楣石长152厘米、宽30厘米、厚40厘米;门柱石长124厘米、宽30厘米、厚30厘米。西门槛石长130厘米、宽30厘米;东门槛石长80厘米、宽30厘米,两垫石因埋入地下,厚度不详。因墓遭破坏,门楣石已失去原位,倾斜放置。门高190厘米。东耳室:位于东主室北部,向东开一耳室,东西长145厘米、南北宽132厘米、高124厘米。墙高70厘米,为平砖错缝垒砌,券顶部为拱券,为竖排对缝起券。铺地砖从残留的一列看,应为横立砖铺底,但铺法不明。主室:平面呈长方形,南北长445厘米、东西宽250厘米、高145厘米,为砖石混合结构。在主室中部用过梁和梁柱把主室分成东西两室。北部过梁石将其北部放在墓门中柱之上、东西门楣之下。过梁石之上还残留有三排小砖,应为券顶砖,但两主室券顶已不存。北过梁石长170厘米、宽28厘米、厚36厘米。在主室南部还残留有垫石。墙为错缝平砌,宽15厘米。从残留的一列看铺地砖为立砖,但铺法不明。西主室内宽100厘米。东主室内宽88厘米。填土中出土较多断裂的石块,上面均刻有画像,推测是原来用于主室内的画像石,但已遭到破坏。该墓因严重毁坏,现存石材8块,其中画像石4块,画像8幅。 [74]
图4-55 南阳市万盛地产汉画像石墓M8平、剖面图
(25)南阳城区大屯教师公寓汉代画像石墓M3墓葬形制(图4-56)。从清理过程看,该墓已扰乱,墓内填土中夹杂有碎砖、陶片、石碴等,但墓葬形制结构保存较好,为砖石混合结构。全墓由墓道、封门、甬道、前室、两后室组成。残存的墓圹开口距地表160厘米,南北方向,墓道朝南,方向190°。全墓长1070厘米、最宽处360厘米、高140厘米,底距地表300厘米。墓壁均为三顺一丁垒砌;铺地砖为“人”字形平铺。砖均为长方形小条砖,长30厘米、宽15厘米、厚5厘米。墓道:位于墓室南部,墓门正前方。平面呈梯形,南窄北宽,斜坡状,斜坡约30°。墓道长380厘米,南宽100厘米,北宽156厘米,距地表300厘米,填五花土。墓门:封门已不存在,仅存墓门门槛石一块(素石,中部已断裂)。槛石长156厘米、宽30厘米、厚20厘米。甬道:位于前室南端。平面呈长方形,长160厘米、宽156厘米、高126厘米。前室:平面近方形。南北长320厘米、东西宽360厘米、残高60厘米。底低于后室底,且与甬道相平。后室:呈长方形。南北长210厘米、东西宽300厘米,残高68厘米。由中门柱和隔墙将后室分为东西两室。两室大小相同,均呈长方形。隔墙宽50厘米。其底高于前室和甬道底20厘米。该墓现存石料3块,其中画像石1块,画像1幅。 [75]
图4-56 南阳城区大屯教师公寓汉代画像石墓M3平、剖面图
东汉早期的南阳汉代画像石墓与西汉晚期至新莽时期的汉代画像石墓有着较大的区别,此时期主要表现在画像石数量逐渐减少。墓室营建方式也发生了变化,主要表现在墓室用砖石两种材料建墓,而画像石主要配置在墓门、主室门、耳室门或侧室门、前室门楣及主室隔墙等,画像石在整个墓室中起到一种结构作用。与以往不同的是,以前无画石材屡有发生,而此期凡是在墓中能看到的石面,基本上都刻有画像,一石多画的现象非常普遍。内容比以前更加丰富,各类题材的布局也更加严谨。历史故事也有出现,而神仙、祥瑞和辟邪升仙的画像非常普遍。这是此一时期画像内容方面的显著特点。另外,此时墓室内的立柱上配置了大量的侍女奴婢图。这种图像在西汉时期的画像石墓中极少见到。东汉早期的画像石,雕刻技法更加成熟,基本上是一种技法,大多采用横幅底纹是竖纹,竖幅底纹是横纹。画面雕刻与底纹处理十分和谐。另外在艺术表现方面,也达到了前所未有的高度,尤其是一些动态强的画面,形象生动、线条流畅、布局合理,把汉代绘画艺术水平推向了一个新的高度。此时期汉代画像石墓艺术水平最高的当属南阳麒麟岗汉代画像石墓。
东汉早期的画像石墓,画像石的画面与以前相比也更加丰富,随葬品的种类和数量与以前相比也发生了较多变化,数量不仅多而且种类也很丰富,说明此时在南阳一带,发达的经济基础为丧葬提供着雄厚的物质条件。遗憾的是,此期大量的墓葬已经多次被盗,仅剩一些残缺的陶器,主要器形有仓房、磨、猪圈、瓮、灶、釜、奁盒、罐、熏炉、豆、灯等,个别墓葬出土了鼎、敦、壶等陶礼器。各类家畜有鸡、鸭、狗等,陶狗也是此时期各个墓葬必配的随葬品,其姿态各异,造型极为生动。另外,有些墓葬出土了数量不等的陶钱,主要有“大泉五十”“五铢”和无文钱等。表明在南阳一带“冥钱”之风俗更加流行。
此期的画像石墓,全部为石门砖室结构,从墓葬的形制来看,处于汉代画像石的兴盛期,与西汉末到新莽这段要晚一些。其中唐河针织厂二号汉代画像石墓所出的货币,最晚的都是王莽铸币。南阳英庄汉代画像石墓所出的两枚五铢,一枚属西汉,一枚属东汉早期。方城城关汉代画像石墓和江苏邗江永平十年广陵王刘荆墓及其家属墓相似,均应属东汉早期。 [76] 此时期的画像石的艺术更加精练,与西汉末年的相比,更加成熟。综合以上信息,我们可以大致把此时期的画像石墓定为东汉早期。
本期是南阳汉画像石墓的衰亡期。此期的墓葬数量明显减少,目前发掘的墓葬主要有:当阳县郑家大坡东汉画像石墓、南阳北关中原技校汉代画像石墓、新野县前高庙村汉代画像石墓、襄城茨沟汉代画像石墓、南阳县高庙汉代画像石墓、桐柏县安棚汉代画像石墓以及方城县党庄汉代画像石墓。
(1)当阳县郑家大坡东汉画像石墓(图4-57)。刘家冢子一、二号墓相距约20米,都有高约2米的夯筑封土堆。因一号和二号墓形制相近,现以二号墓为例。墓门方向180°,甬道:长1.8米,宽1.77米,高2.0米。前室:长3.30米,宽2.84米,高4.28米。前室与甬道相接处设有石门,两石柱立于石槛上,柱上置石横额。后室:长3.42米,宽东3.05米,西3.10米,高残4.60米。与前室相接处为石门;三柱立于石槛上,南北两柱与前、后室的砖墙连接,横额由两块条石组,相接处置于中柱上,两端置于南、北柱上,没有门扉。南、北耳室:长2.00米,宽1.63米,高1.45米。置于前室左、右两侧,结构大小相同。四壁用条砖错缝平砌,砌至40厘米处开始起券,为券顶。出土画像石2块。 [77]
图4-57 当阳县郑家大坡东汉画像石墓平面图
(2)襄城茨沟汉代画像石墓墓葬形制(图4-58)。该墓通高6.6米(由上冢顶点至后室铺地砖的高度),通长23.04米,方向273°。墓室结构是由墓道、甬道和七个砖室组成的。封土:现存高出附近地面约4米余,呈椭圆形,东西长17米、南北宽约9.4米。土为黄褐色,比较坚实,但不成层次,只在接近前室券顶的西部发现小片夯上,共九层,总厚31厘米。夯痕为圆形,平夯,每层厚3—5.5厘米、直径4—5厘米。封土中发现的遣物有东周时期的筒瓦和板瓦残片,汉代陶房的房脊残片。在前室和右前室顶上的封土中,发现有造墓时掘土工具的遗迹,长8—10厘米、宽5—7厘米,颇似
痕。土塚中央偏西的地方,发现一处盗洞,直径约1米。洞内填土松虚而较黄,其中遗留有少量夹纻漆器残片和汉代陶片。这个盗洞破坏了中室穹窿顶的北部,盗者从此进入墓内,将各室扰乱,墓内的随葬品遭到损失。墓道:为斜坡式,位于墓门和甬道之西,长9.4米、宽1.12米。它的西端距地表深2.4米,东端深0.9米。甬道:墓道与墓门之间,设有砖砌甬道,长2.04米、宽1.28米、残高0.82米。南北两壁以II式花纹砖(各式花纹砖或素面砖详后)平铺顺砌。砖长37厘米、宽17厘米、厚7.5厘米。铺地砖已被破坏。在墓道与甬道相接处,尚可见到一层封门砖,是利用三块半砖逐层平铺垒砌、封堵于甬道口。残存的一层封门砖平面排列呈弧形。砖长42厘米、宽17厘米、厚7厘米。墓门:位于前室之西,高1.45米、宽1.25米。门楣是由石1、门柱石2和门槛石1构成。门楣石长1.8米、宽0.23米、厚0.42米,正面刻画像一幅,向下的前侧棱处,刻一道门框槽。框槽的左右两端各刻一门枢窝,窝径10厘米、深0.45厘米。左右两门柱石表面粗糙,皆作方柱形,高约1.48米、厚0.24米,宽度则因下粗上细不等,右柱宽10—14厘米、左柱宽16—19厘米。门槛石的两端皆埋于土圹内,可知的长度为1.6米、宽0.29米、厚0.18米,已断成两截。发掘时已不见两扇石门。墓室:系砖石混合桔构,长11.6米,最宽处9.22米,由7个墓室构成。它的平面布局是:前室、中室和后室建筑在同一条中轴线上,皆设有石门可通。前室之北设一券门通往右前室;前室之南垒砌石门通往左前室。左前室之东砌有左后室,中间亦有券门可通。中室之北券砌右耳室;中室之南砌券门二以通左后室。前室:平面呈长方形,长3.87米、宽1.14米、高2.02米。南北两壁以小花纹砖平铺顺砌九层,然后发券,以“交错拜列券法”将室顶砌成弧券顶。南北两壁至室顶所砌花纹小砖的花纹是完全对称的,今举北壁为例,说明各层花纹砖的式样:最下砌XIX式小砖一层,其上依次砌V式砖一层、XIX式砖二层、V式砖一层(此层兼砌以素面小砖)、素面砖七层、V式砖八层(偶有将带花纹的砖侧砌向壁内的)、III式砖二层、V式砖一层、III式砖五层、V式砖一层、III式砖一层、III式与VI式砖混合券砌五层,券顶中央为III式和V式砖交错券砌。上述VI式花纹砖上印有“大吉”两字,砌时皆两两相对地砌入券顶上。或者每两块VI式砖间砌以一III式砖。铺地砖仅残存一部分,排列呈人字形,砖长40厘米、宽17厘米、厚8厘米。中室:位于前室之东,平面呈方形,东西长2.78米、宽2.44米、残高2.38米。西壁与前室相接处没有石门,门高1.32米、宽1.24米。门楣石已断为两截,残长约2.4米、宽0.28米、厚0.4米。石的正面和背面各刻画像一幅,向下一面前棱处,也刻出直角的门框槽,两端也各刻门枢窝一个。此石出土时,长的一段已倒塌于右耳室门外的淤土中,短的一段倒置于通往左后室的西券门之外。左右两门柱石形制与墓门的相似,高皆约1.32米,厚约0.26米;左柱最宽处0.2米,右柱最宽处0.24米。门槛石外露的长1.24米、宽0.26米、厚0.18米。此门在发掘时亦未发现有石门。中室北壁以XIX式小砖交错顺砌,现残存17层。在靠近西北隅的地方以XIX式及XXI万式小砖砌成双弧券门,即为右耳室门,门高1.06米,最宽处1.02米。券门顶上尚承托残存的中室穹窿顶砖18层,其砌法以XII式、XIII式、XI式、XII式、XIV式、XVII式、XVIII式小花纹砖逐层叠涩垒砌,但每向上垒砌一层其圆周半径皆缩小4—6厘米。中室南壁券砌两个并列的券门以通往左后室。由于室顶和券门塌毁,残高0.6—0.9米。南侧门宽0.84米,北侧门宽约0.96米。两门皆系双弧券。两门间所夹的砖柱亦以IX式小砖垒砌,东西长0.58米、南北宽0.8米、残高0.7米,用以承托穹窿顶南部和支撑左后室盝顶北部。中室东壁中央设石门一道,通往后室,门高约1.52米,最宽处约1.12米。门楣石已不存,左右门柱石与上述两门的相似,高约1.14米、厚约0.23米、宽0.2米。门槛石长约0.85米、宽0.26米、最厚处0.22米。此门左右两侧的东壁皆以XIX式小砖错缝顺砌,唯门右(东壁右边)壁面上曾涂白粉,上施朱绘,已模糊不清。门券顶上亦残存穹窿顶,大体皆以VII、VIII、XII、XIV、XVI、XVIII等式花纹砖混合逐层垒砌,共砌法与右耳室券门上部相同。小砖印有花纹的一端皆砌向室内,印有文字的一端皆朝向室外。由于中室的下部为方形,顶为穹窿形,故穹窿顶四隅衔接处,全用特制的花纹小砖垒砌。从中室穹窿顶塌陷的花纹砖可以推知四隅结构与后室完全相同,系以VII—XIII式花纹砖混合垒砌的。中室铺地砖有两层,上一层为长宽36厘米、厚7厘米的方形砖。纵铺六行,横铺七行。周边皆不与四壁紧密接联,而高出壁基约7厘米。北壁下留有较宽的空隙,露出第二层铺地砖。下一层系小砖并列横铺,砖长42厘米、宽17厘米、厚7厘米。后室:位于中室之东,平面亦呈方形,东西长2.64米、南北宽2.68米、残高2.55米。它与中室之间的门道,西砌石门东砌小砖券门,门道长0.44米、南北宽1.1米、高1.83米。从残存部分砌砖看,其券法是以XIX式砖平铺顺砌14层后开始起券。券上是砌以XXI式砖一层、II式砖一层,XXI砖二层,II式砖一层,最后以XXI式砖砌成双弧券顶。券顶之上,以并列的数块子母砖平铺垒砌。甬道铺地砖亦以四块方形砖平铺成甬路式。后室四壁平直,皆用XIX式小砖错缝顺砌至17层后,再用特制小砖将方形的四隅缩成弯窿顶。四壁和穹窿顶衔接的结构保存较佳,尤以西北隅最为完整。系以VII—XII式砖混合逐层叠涩垒砌,尤其IX式砖有花纹的一端有“中间角”三字,X式砖有花纹的一端有“右行”两字,Xl式砖有花纹的一端模印有“左行”两字的特殊结构(后两式砖有花纹的一端是斜面,但它们又是对称的),将西、北两壁相接处由直角逐渐转成弧形角而垒砌为穹窿顶。从后室券顶倒塌的残砖可以看出,它和中室穹窿顶的砌法是相同的,所砌的小花纹砖也是XIV—XVII式。发掘时曾在后室中部残砖中,发现一块圆形画像石,直径38厘米、厚22厘米,石面粗糙,仅向下的一面刻出直径24厘米的圆形平面,周刻宽边,中刻蟾蜍一只。此石出上时刻有画像的一面向下,但蟾蜍的头部向东、尾向西。据此推知此石系用以结后室弯窿顶的。根据《太平御览》卷九四九引张衡《灵宪》“羿请不死之药于西王母,姮娥窃之以奔月,……遂托身于月,是为蟾蜍”的记载,推知此一图像应是象征月亮的。也许中室穹窿顶的中央原用刻有“金乌”图像的画像石封堵。后室券门之北(西壁的北边)有朱绘遗迹,现已模糊不清。后室铺地砖与中室同,但下层为纵铺方形小砖,多残碎长短不齐。右前室:位于前室的北边,东西长2.14米、南北宽2.02米、高2.6米。它与前室之间设有券门,门高0.75米、门道长0.86米。此门券法两面不同:由前室向北看为小砖单券;由右前室向南看则系小砖双券。门道的铺地砖为并列横铺呈甬路式。此室四壁皆以花纹小砖平铺顺砌,大约砌至八层,即逐层缩小,并使之平衡上升,四面结顶,所以四壁和盝顶比较尖陡。此室四壁所砌小花纹砖,亦有规律,以北壁为例:最下砌V式砖二层,其上砌IV式砖五层,V式砖一层,V式与III式砖交错顺砌三层、V式砖九层、III式砖一层、II式砖一层、III式砖一层、II式碑砖一层、II式砖一层、II式砖二层、III式砖二层,最高处以II式砖三块封顶。室内铺地砖接近四壁的部分,皆并列斜铺,其一端被压在壁基下,另一端斜翘向室内,因此室内地面作甬路式,中间皆铺成人字形。右耳室:位于中室之北,平面作长方形,南北长3.27米、宽1.03米、高1.32米。此室券门在叙述中室北壁时已经提及,由于券顶之上增加了一层弧券,所以从中室北望为双券,但此室券顶实为单券。其东西两壁所砌花纹碑完全一致,以西壁为例:由下而上砌XIX双式砖十一层,然后砌II式砖一层、XIX式砖一层、II式砖一层、XXI式砖二层、II式砖一层、XXI式砖十一层、II式砖一层,XXI式砖二层,最高处砌II式砖一层。不过,第十七层砖为交错并列顺砌,以上的券顶结构则用并列券法。北壁为单砖顺砌,砖皆素面。上部略向室内倾斜,且稍高于券顶。此室内壁及券顶皆以白粉涂刷,在涂白粉之前,西壁南部书有“天下囜山”“大”“豆亽”等文字;东壁书有“七月”两字。字皆朱书隶体。另外有几处笔迹为白粉所掩,剔出后仍然模糊不清。室内地面以素面小砖铺砌呈人字形,两边稍低于中央。东西两壁各有三块砖的一角向上伸出,略高于铺地砖。左前室:位于前室之南,平面呈方形,南北长2.55米、东西宽2.22米、残高1.7米。北壁以石条砌一门,门洞高约0.84米、宽1米。门楣石长1.62米、宽0.35米、厚0.4米。此石向北的一面有朱绘画像,因未镌刻,彩色已经脱落,模糊不清,仅能看出一虎。向南的一面,有画像一幅。此石的下面外侧角处,也刻出直角的门槽,两端也凿有门枢窝各一个,窝径9厘米、深7.5厘米,且被砸毁。门柱石二,西柱宽24厘米、厚34厘米、高87厘米;东柱宽22厘米、厚34厘米、高86厘米。门槛石已断成两截,长90厘米、厚12—16厘米,最宽处36厘米,最仄处32厘米,剖面呈阶状。除门楣石经过雕凿外,其他各石皆为糙面。此室四壁亦为小花纹砖逐层顺砌,大约砌至1.16米以上,然后平衡上升,缩成四面结顶。但从坍毁的残迹看,四壁的曲度比右前室为舒缓,盝顶也较右前室宽大。东、西、南三壁皆素面小砖(长42厘米、宽22厘米、厚7厘米)错缝顺砌13层,然后砌II式砖二层、V式和IV式礴六层,其上已坍毁。北壁门柱石以东的砌砖是IV式砖一层、II式砖一层、lV式砖五层、V式砖一层、IV式砖一层,其上皆为V式砖。室内铺地砖损毁严重,仅靠四壁尚残存一部分,其铺法与右前室相同。这室的东壁南侧砌一双券门,以通左后室。门洞东西长1.54米、南北宽0.9米、高1.27米。门洞的东、西两口,告以六块子母砖(砸掉子榫,长40厘米、宽22厘米、厚7厘米)交错垒砌。但券门内的南北两壁自下而上砌五层素面砖以后,在第六层的中央顺砌IV式砖各一块,其上以素面小砖或楔形砖砌成券顶。以这种IV式花纹砖砌门洞壁,南北两壁是一致的。左后室:位于中室之南、左前室之东,平面亦呈正方形,长宽皆2.4米、高3.04米。其形制与右前室同,仅北壁砌两个券门,以通中室。两门之间设有方形砖柱以顶托北壁的上顶,唯盝顶已倒塌。四壁皆砌花纹砖。以残存的东壁为例:最下砌素面小砖16层,其上砌II式砖四层、III式砖一层、II式砖二层、III式砖一层、II式砖二层、IV式傅三层、III式砖一层、II式砖二层、III式砖一层、II式砖三层、III式砖一层、I式砖一层、II式砖一层、III式砖一层、II式砖一层、III式砖一层、II式砖一层,最高处以两砖封堵,做成盝顶。通往左前室的券门保存较好,门额为双弧券。室内铺地碎已被损毁。上述七个墓室的内壁皆涂刷白粉。除右耳室东、西壁白粉下发现文字外,在中室北壁的中部(即右耳室阴口的东边)白粉之下的砖壁上,有朱书隶体字两行,右行字迹较大,文曰:“永建七年正月十四日造砖工张伯和”。左行字迹较小,文曰:“口石工褚置”五字。此字书于六块顺铺的素面砖上,其中“造”字下的一块砖而已毁,文字恐有脱漏。该墓出土画像石5块。
[78]
图4-58 襄城茨沟汉代画像石墓平面图
(3)新野县前高庙村汉代画像石墓墓葬形制(图4-59)。Ml为砖、石并用,因早年被盗掘,故损毁严重。基顶不存,有的墓室中的砖壁保留很少。葬式不明,残存的少量骨骼也很零乱。此墓南北长8.34米、东西宽8.90米。墓门向北,方向48°。由墓门、前室、近正方形的中室、西侧窒、东侧室、后室几部分组成。墓门仅有两门扉。门楣、门柱下落不明。门宽1.70米、高约1.80米。门扉为白虎铺首衔环。根据群众反映,门楣为二龙穿壁,门柱无画像。前室宽1.18米、纵深1.98米。中室门位于中室北壁,由门楣、两门柱组成,宽1.11米、高1.1米,门楣正面刻二龙穿壁。背面刻两组二龙交尾,中室宽2.85米、长2.90米。其东、西、南三壁分别是东、西侧室及后空的室门。西侧室为双室,每室宽1.04米、长2.52米,其中南室的门楣石上刻二龙穿壁。东侧室为单室,宽1.22米、长2.30米。东例室门的南部壁上,也砌有门楣、门柱,但门用砖封堵,未建墓室。这两门楣背面分别刻有二龙交尾图,两图中间的壁分刻在两石上,各占一半。后室为双室,大小相等,皆宽0.91米、长2.26米,其西室门相刻二龙穿壁。前室、中室铺地砖为人字形错缝平铺。 [79]
图4-59 新野县前高庙村汉代画像石墓平面图
(4)桐柏县安棚汉画像石墓墓葬形制(图4-60)。这座墓早年曾遭严重破坏,封土不存,墓顶残陷。墓葬坐北向南,方向196°,砖石结构。平面布局呈“十”字形。南北长12.61米(不含墓道),东西宽13.81米,由墓道、甬道、墓门、前室、后室、左右侧室等12部分组成。墓道位于前室甬道正前方。由于墓道上面埋有现代坟墓,故未予清理。石材用于前、后室墓门部位,其他部分均用砖砌筑。现将详细情况介绍如下:甬道,包括前室、后室、左右侧室四个甬道。前室甬道位于前室门前,长2.9米,宽1.66米。砖砌墙,砌法为三平一丁,墙宽0.36米。底部用平砖铺,呈“人”字形。顶部不存,但从两侧墙体可知为拱形券顶。前端封门完整,用平砖错缝砌筑,略呈弧状。左侧室甬道,位于前室和左侧室之间,长1.82米,宽1.26米。砖砌墙,三平一丁砌法,墙宽0.36米。拱形券顶已不存。底用平砖错缝顺铺。左端留有木制门位置。右侧室甬道与左侧室甬道结构相同,只是铺底为“人”字形。后室甬道位于前室和后室之间。南北长1.3米,东西宽1.8米。墙壁、铺底和顶部与前室甬道相同。墓门有三重,第一重在前室甬道前与封门砖之间,高1.68米,宽度不详。根据各种情况分析,可能为一木制墓门。第二重位于前室与其甬道之间,即前室门,门宽1.04米,高1.4米,由门柱、门楣、门槛四部分组成,门楣和门槛石上内侧皆凿有门臼,二门柱内侧凿有门槽,说明门向内开,但没有发现门扉。第三重位于后室甬道前端,宽1.52米,高1.36米,由门柱、栌斗、门楣、门槛五部分组成。栌斗置于二门柱上方,厚0.18米,其下面有臼槽与柱体吻合。门楣已掉落于前室中部。前室:长方形,东西长3.46米,南北宽3.56米。墙壁除南北两道石门外,其余用砖砌筑,砌法为三平一丁。底面用砖平铺成“人”字形。顶部已残,从所留部分看墓顶为穹窿顶。室内堆满碎砖、扰土和器物残片。中部发现一楔形石块,当为墓室顶部用件。在东南、西南二角距墓底1.6米的壁中各砌一石羊。石羊面向前室中部。侧室:对称分布于前室左右两侧。均有甬道与前室相通。左侧室进深3.02米,宽2.98米,全部用砖砌筑。墙的砌法为三平一丁,墙厚0.36米。底面用砖平铺成“人”字形,高出前室底0.16米。顶部已残,但可看出是用四隅捻尖法砌筑而成的穹窿顶。右侧室已全部残。室内填满碎砖碴。从其残留痕迹看,结构形状等与左侧室相同。后室,东西长3.48米,南北宽3.44米,全部用砖砌筑。墙体下半部为三平一丁或四平一丁,上部为平砌错缝,墙宽0.36米。底面用砖平铺成“人”字形,高于前室底0.1米。顶部同其他各室一样。在后室底部有一用砖砌成的略呈弧状的不规则墙体,该墙与底墓室后壁连接处有一方形柱(36厘米×36厘米),其用途尚不清楚。这座墓共用画像石7块,雕刻画像及其他纹饰图案11幅。 [80]
图4-60 桐柏县安棚汉画像石墓墓葬形制平面图
(5)南阳市中原技校汉代画像石墓墓葬形制(图4-61、图4-62)。墓门方向45°。墓室通长10.9米。甬道长1.36米,宽1.68米。二耳室位于前室南北两侧,大小略同。前室长2.00米,宽1.18米。前室西边是中室门。中室长3.08米、宽3.12米,中室南边为两侧室。中室与后室之间并列两个假门,后室长3.08米、宽2.98米。整座墓室均用素面灰砖铺作“人”字形。该墓纯石多室墓结构。由墓门、甬道、前室、二耳室、中室、二侧室和二后室组成。出土画像石10幅。 [81]
图4-61 南阳市中原技校汉代画像石墓透视图
图4-62 南阳市中原技校汉代画像石墓平面图
(6)唐河县西冢张村画像石墓M2墓葬形制。该墓位于M1的北部,为砖石混合结构墓,方向214°。由墓道、甬道、前室和两后室组成。墓室长790厘米、最宽处316厘米。石料主要用于墓门、后室门、后室中间的隔墙,其余用小砖砌成。墓壁残高42厘米,除后室后壁为单平砖错缝垒砌外,余为双平砖错缝垒砌,墙宽32厘米。使用的小砖均为长方形小条砖,长30厘米、宽16厘米、厚6厘米。墓道:平面呈梯形,北宽南窄,为长斜坡状。墓道坡长670厘米,北部宽160厘米、南部宽140厘米,坡度14°。甬道:呈长方形,南北内长164厘米、东西内宽80—100厘米,铺地砖为平砖错缝斜向铺。东、西两壁向内微凹。前室:平面近方形。在门口处用一排横立砖作门槛。南北内长264—272厘米、东西内宽240—254厘米。从残存的铺地砖看,为平砖错缝斜向铺。东、西两壁中部均向内微微凹。后室:平面呈长方形。南北内长240厘米,中间有隔墙分为东、西两室,东室内宽94厘米,西室内宽100厘米。北、东、西三壁均向内微微凹。墓壁向内凹可能是外力挤压所致。葬具、葬式不详。因严重毁坏,随葬品无存。 [82]
(7)方城党庄汉画像石墓墓葬形制(图4-63)。墓室建筑为砖、石混合结构,平面为长方形,由封门墙、墓门、甬道、中室和双主室五部分组成。整个墓室南北通长9.16米,东西宽3.3名米。墓门向南,方向北偏东5°。封门墙:建于墓门之外,并与墓门紧密相接,上下以21层平砖错缝砌筑,底部同墓门之下的门槛平齐,上部高出墓门之上门相底边一砖。通高1.32米。平面砌作弧形,东面宽1.16米。同墓门两侧立往内壁相衔。墓门:由门楣、两门柱和门槛组成,无门扉。门道通高1.24米、东西宽1.12米。门楣和两门柱南面均刻二方连续菱形穿环图案,门槛为素面,上面同墓内铺地砖相平。甬道:平面作长方形,南北长2.74米、东西宽1.12米、通高1.92米。南部与墓门相接,北部直通中室。底部为平砖铺地,作“人”字形。东西两壁用砖砌筑,以双砖垒砌,砌法为“三横一竖”,即先以横砖错缝平砌三层,再以一层横砖平砌竖立,壁高1.24米。其顶为单层拱券,券高68厘米。中室:平面近方形,南北长2.83米、东西宽2.79米、壁高约1.57米。清理时,已遭破坏,绝大部分砌砖和大部分石材均被拉出,使一些建筑结构情况不够确切,只能依据现存的石材、铺地砖、残存遗迹以及参与挖掘者的介绍来复原确定。中室的平面范围,因南与角道相接,北同双主室相连,而甬道、双主室保存尚好,其南北情况可以确定。东壁尚存一块铺底石,东壁位置亦容易确定。唯西壁破坏较重,幸喜中室西部铺地砖保存完好,又因为西壁铺底石痕迹尚存,所以西壁的位置也可确定。中室底部,用砖平铺,其铺法与甬道同。北壁为双主室门,南壁中部与甬道相通,两侧宽出部分为砖壁,砌法不明。东西两壁据挖掘群众介绍,其建筑形式是先用石料搭出骨架,其间用砖垒砌。两壁之底,皆用石条铺地。石条之上,两壁中部和南端均有石柱直立,北端柱石借用双主室东西两侧门柱石,柱石之上,横架石梁,梁上起券。墓顶可能砌作盈顶。中室所用石材,除铺底石为素石外,其余石材面向室内一侧均刻二方连续菱形穿环图案。主室:墓室后部为两个东西并列的主室。东主室长2.83米、宽0.98米、壁高1.10米;西主室长2.82米、宽0.92米、壁高1.10米,券高68厘米,清理时,西主室的墓顶基本全部塌陷,东主室墓顶后部也已塌陷,西主室墓底铺地砖亦部分遭到破坏,这显然是早年盗掘时造成的。双主室之门,建造特殊,是南阳汉代画像石墓所仅见。两主室门均由门楣、门柱和门槛组成,无门扉。主室东门宽97厘米、西门宽90厘米、高皆为1.12米。主室门的底部以条石铺地,以象征门槛。铺地石之上,在两主室门的东西两侧和两主室门之间,设置三个立柱,即两侧柱和中柱。三立柱之下与铺地石相接处,在铺地石之上又增设了柱础石,柱础石均作方斗形。门帽、门柱南面皆刻二方连续菱形穿环图案。两主室的底部用砖铺地,其铺法与中室、甬道相同。两主室后壁和东、西两侧壁,皆用砖垒砌,砌法与甬道壁不同,为平砌错缝砌筑。两主室之间,设有一道隔墙,隔墙之底以条石铺地,它的中部和南、北两端设立三个石柱,三石柱之上用二块条石横架石梁,使偏垮形成南北两个门洞,二块横架石梁便成为两门洞之门楣,造成两主室相通。北门洞宽79厘米,南门洞宽2.24米,高皆为70厘米。墓顶从两门橱之上起券,为单层券顶。隔墙的三立柱和两门相的东、西两侧,均刻二方连续菱形穿环图案。墓内所用砌砖,均为素面灰色,大体可为两种:一种为墓壁砌砖,大小基本一致,只是在尺寸上稍有差异,或稍薄稍厚,或稍长稍短,或稍宽稍窄,这可能为烧制时不大规整造成的,但一般都是长36厘米、宽17.5厘米、厚6厘米,一种为墓顶所用券砖,即楔形砖,大小亦基本相同,也是仅在具体尺寸上有些差异,一般都长36厘米、宽17厘米、厚侧6.5厘米、薄侧5厘米。墓内所用石材,除铺地用的石材为素石外,其余图案画像石的雕刻技法,皆为剔地浅浮雕。该墓出土画像石7块。 [83]
图4-63 方城党庄汉画像石墓平面图
(8)邓州市梁寨汉代画像石墓墓葬形制(图4-64)。该墓位于梁塞村东南角的一处高地上,坐东朝西,方向276°。墓葬由墓道、墓门以及南北主室组成。墓室全长365厘米,最大宽度324厘米,墓室平面呈“曰”字形。该墓为砖石结构,共用19块石材和大量的小青砖混砌筑成。墓道:呈长方形斜坡状,口宽340厘米,底宽330厘米,最深270厘米。因积水墓道仅清理150厘米左右。墓门:砖石混合砌筑。南北室各有一墓门,共由两块门楣、三块门柱、两块门槛组成门框,南室门框高141厘米,宽106厘米,北门框高141厘米,宽100厘米。墓门均无门扉,南室保存有一部分封门砖,其砌法为一横一丁相间。由于人为的破坏,墓门清理出来时两块门楣已脱离原来位置。墓室:南北两室均为砖石结构。两室之间由三块立柱及三块立柱垫石、中门柱、三段过梁及三块铺石组成一隔墙,这样形成南北两室,南北室其余墓壁均由小青砖砌筑而成,砌法与封门砖相同,即一横一丁。南北墓室长均为335厘米,南室宽106厘米,北室宽100厘米。两室铺底砖均已不存在,在南室紧靠门槛处保存有一段立砖对缝顺砌的铺底。由于人为破坏,两室墓顶均已塌陷,但仍能看出其原为拱形券筑,高约265厘米。另外南室南壁及北室北壁因积水严重变形,都向墓室内挤压,呈向内突出的弧形。同样,过梁也有不同程度的破坏,其中西段过梁清理出来时,也脱离原位。该墓共有画像石11块,雕刻画像21幅。 [84]
图4-64 邓州市梁寨汉代画像石墓平面图
(9)宝丰县廖旗营墓地东汉画像石墓M9墓葬形制(图4-65)。该墓为长斜坡墓道三室砖墓,由墓道、墓门、甬道、前室和双后室组成,通长12.1米、深2.4米,方向175°。墓壁均用34厘米×13厘米×6厘米的小砖单层错缝平砌而成。墓道:平面近似梯形,长5.72米、宽1.14—1.65米、深0—2.4米。斜坡底,坡度22°,底坡斜面长6.12米。墓门:宽1.52米、高1.62米、厚0.24米。由六块画像石组成,为门楣1块、门柱2根、门扉2扇、门槛1块。门楣长1.7米、宽0.34米、厚0.32—0.38米。两扇门扉规格相近,右门扉宽0.51米、高1.1米、厚0.16米,左门扉宽0.57米、高1.1米、厚0.16米。两根门柱规格相同,宽0.23米、高1.05米、厚0.28米。门槛长1.66米、宽0.32米、厚0.16米。甬道:位于墓门与墓室之间,进深1.25米、宽1.1米、高1.14米。券顶,从第14层开始起券,券高0.37米。铺地砖东西向错缝平铺。甬道内发现有罐、壶、灶、甑、奁、博山炉、碓坊等陶器。前室:平面呈长方形,顶部塌陷。南北长2.6米、东西宽2.44—2.52米、残高0.86米。铺地砖呈“人”字形排列。双后室位于前室后部,东西并列,券顶。除中间墓壁为一平一丁相间砌成外,其余墓壁为单层错缝平铺;从第7层起券,券高0.34米。铺地砖或纵向排列或横向错缝平铺。东室长2.24米、宽0.92米、高1.24米。 [85]
图4-65 宝丰县廖旗营墓地东汉画像石墓M9平面图
(10)宝丰县廖旗营墓地东汉画像石墓M10墓葬形制(图4-66)。M10为长斜坡墓道双室砖墓,由墓道、墓门、前甬道、前室、后甬道、后室组成,通长11.76米、深2.56米,方向95度。墓壁均用30厘米×12厘米×6厘米的小砖单层错缝平砌而成。墓道:平面近刀把形,口部向南弯曲,长4.42米、宽1.3—1.4米、深0—2.56米。斜坡底,底坡斜面长5.6米。填土内发现铁刀1件。墓门:宽1.42米、高1.64米、厚0.22米。由六块画像石组成,即门楣1块、门扉2扇、门柱2根、门槛1块。门楣长1.76米、宽0.44—0.5米、厚0.2米。左侧门扉宽0.56米、高1.02—1.06米、厚0.08米,右侧门扉宽0.52米、高1.04—1.08米、厚0.08米。两门扉雕刻的图案相同。左侧门柱宽0.22米、高1.02米、厚0.1米,右侧门柱宽0.22米、高1.04米、厚0.1米。两者均刻有一位戴冠、着长袍、拱手相向而立的小吏。门槛长1.6米、宽0.22米、厚0.11米。画像雕刻技法与M9同。石墓门外又以小砖墙贴护,残存13层。前甬道:位于墓门与前室之间,平面呈长方形,进深0.98米、宽1.2米、高0.96—1.2米。券顶,残存两排砖券,从16层开始起券,券高0.36米。铺地砖横向错缝平铺。前室:平面近正方形,顶部塌陷,东西长2.44—2.52米、南北宽2.42—2.48米、残高1.34米。铺地砖横向错缝平铺。后甬道:位于前、后室之间,平面呈长方形,券顶塌陷,进深0.66米、宽1.16米、残高1.44米。铺地砖横向错缝平铺。后室:前接后甬道,南壁与后甬道南壁相连为一条直线。平面呈长方形,墓顶塌陷,长2.54—2.58米、宽1.94米、残高0.96米。铺地砖已被破坏,仅在东南角有数块残砖,呈“人”字形排列。 [86]
图4-66 宝丰县廖旗营墓地东汉画像石墓M10平面图
(11)南阳牛王庙村八一星旺幼儿园M20墓葬形制(图4-67)。该墓坐西朝东,方向110°。由墓道、墓门、甬道、三前室、三中室和后室组成,平面呈“十”字形。墓葬的建筑程序是,先在地表挖出近“十”字形的竖穴土坑,又在竖穴土坑的东部挖出斜坡墓道。土坑东西通长1920厘米(墓道因障碍仅清理一部分)、南北最宽处1162厘米。先在坑底用砖、石铺地,再在铺地砖上垒砌墙体构筑墓室,墓室与土坑之间的空隙回填原坑土,夯实。墓室东西长1590厘米,南北最宽处1162厘米,墓口距地表276厘米,底距地表556厘米。墓葬所用的砖均为长方形小条砖,长30厘米、宽15厘米、厚5厘米。除中室用方形石板铺地外,其余均用砖铺地,铺地砖大小分两种,一种长30厘米、宽12厘米、厚5厘米,另一种长32厘米、宽16厘米、厚5厘米。铺地石边长64厘米、厚15厘米。石料主要用于墓门、隔梁、铺地石(门柱、门楣、槛石、斗、垫石、梁柱、梁、铺地石)等主要部位。墓道:墓道位于墓室之东。平面呈梯形。由于墓道上有建筑物障碍,因此仅清理了一部分,东西长330厘米,西宽260厘米,东宽224厘米,墓道口距地表深276厘米,底距地表556厘米。底呈斜坡状,坡度约25°。在填土中出土陶泡钉1件。墓门:位于墓道之西。墓门由封门砖和石门组成。石门由门楣1、栌斗2、门柱2、门槛1组成。石面均凿有纵向条纹,无画像。栌斗石面上未凿纵向条纹。石门高220厘米、宽260厘米。封门砖的砌法为:最下部为一丁二顺,上部均为一丁一顺垒砌。朝向墓内的一面砌得平整,朝向墓道的一面不平整,砖有凸有凹,说明原来封门内面有门。门楣石朝向墓内的一侧抹有石灰。甬道:呈长方形。东西长260厘米、南北宽270厘米、残高215厘米。南北两墙用砖砌筑而成,均为一丁三顺垒砌,甬道顶遭破坏,从残存的部分看,应该为砖砌拱券顶。墙高170厘米、券高45厘米。在距门楣104厘米处的甬道南北两壁上各有一个凹槽,凹槽下部对应的铺地砖处也形成了一个凹槽,其凹槽与南北两墙上的凹槽相连。南北墙上的凹槽上端宽大、下端窄,最宽处46厘米,窄处18厘米,高200厘米,进深6厘米,墓底凹槽宽30厘米、深12厘米。推测此处原来可能装有木门,现已腐朽。南北墙凹槽东部墙宽34厘米、凹槽西部墙宽44厘米。墓底为砖铺地,先横排错缝平铺一层,再在其上用横立砖“人”字形铺一层,底共厚20厘米。但在凹槽处的地面只有一层平砖,无立砖。甬道与中前室底相平,低于南前室和北前室底16厘米,低于中室底5厘米。甬道靠近墓门处的砖壁上涂有石灰、红色颜料,大部分已脱落。三前室:呈长方形。东西长506厘米、南北宽698厘米、高200厘米。现存石料28块,包括梁柱八、斗八、垫石六、横梁六(均为素石)。由南北二梁和梁柱把墓室分成北、中、南三室,中室通过梁柱空间与北、南二室相通。南、北墙和南前室东墙宽45厘米,南前室西壁、北前室东壁和西壁墙厚31厘米。中前室底与甬道相平,低于南前室和北前室底16厘米,低于中室底5厘米。前室铺地砖分两种,中前室所用砖为长30厘米、宽12厘米、厚5厘米;南前室和北前室所用的铺地砖却大于中前室铺地砖,砖长32厘米、宽16厘米、厚5厘米。中前室铺地砖分为两层,下层为横排错缝平铺,上层为横立砖“人”字形平铺,而南前室和北前室铺地砖与中前室上层铺地砖铺法相同,为横立砖“人”字形平铺。梁柱高130厘米、宽36—40厘米、厚34厘米。每个栌斗石尺寸略有差异,大体上近似,栌斗石宽40—52厘米。横梁长160—168厘米,宽48厘米,厚34厘米。垫石长152—168厘米,宽34厘米,厚25厘米。在南前室门处的两根梁柱间的填土中出有方形石板2块。方形石块边长64厘米、厚15厘米。结合中室也出有类似方形石板,但在中室铺地所用的方形石板排列整齐,无一块缺失,故推测方形石块为盖顶石,与盖顶石条、转角处的三角形石块共同构成了墓顶。所以据此推断前室顶也为方形石板盖顶,南前室门处发现的方形石板即为前室盖顶石遭破坏后留下的。中室门:为石结构,现存石料16块,其中画像石2块,画像4幅。由双门柱4、柱础4、斗4、垫石2、门扉2组成。门高178厘米、宽160厘米。在中室门2个立柱下部的柱础石上各雕有一高浮雕龙。但画面剥落较严重,保存情况较差。门柱石长130厘米、宽40厘米、厚30厘米;柱础石高20厘米、宽40厘米、厚30厘米;斗高24厘米、上边长48厘米、厚38厘米;门扉石较薄而宽,长178厘米、宽78厘米、厚9厘米;门楣长260厘米、宽28厘米、厚46厘米。三中室:位于前室之西。平面呈长方形,长352厘米(带门)、宽1162厘米、高266厘米。由南北梁柱和过梁把墓室分成北、中、南三室,中室通过梁柱空间与南、北二室相通。现存梁柱六、斗六[其中北中室东梁柱与中室门北(外侧)门柱上的斗、北中室西梁柱与后室门北门柱上的斗、南中室东梁柱与中室门南(外侧)门柱上的斗、南中室西梁柱与后室门南门柱上的斗是用一块石头刻成的连体斗,其外形似一个心形。这种连体斗形状极为罕见,它的运用巧妙地使四角更加牢固,并增强了支撑盖顶石的能力]、垫石四、横梁四块、铺地方石板25、三角形角石4块和部分盖顶石(均为素石)。北中室西墙、北墙和南中室西墙、南墙墙厚45厘米,仅在南中室东墙南部和北中室东墙北部有140厘米长墙宽为30厘米,其余部分墙厚为45厘米。中室:为纯石结构,平面呈长方形。其北为北中室,西为后室门,南为南中室,东为中室门。东西长352厘米、南北宽320厘米、残高256厘米。顶部已毁,仅余部分石条和四角转弯处的三角形石块,因此中室顶是用石条叠涩而成的顶。该室底是用25块方形石板平铺而成(铺地石保存较好,无一缺失),方石板边长64厘米、厚15厘米。在铺地石上还有多块同样的石料,从整个发掘清理情况看,这些石料应是从顶部塌落下来的。因为墓葬曾被严重扰乱,后室也遭到了严重破坏,所以后室铺地石才出现在中室铺地石上。南中室和北中室:长388厘米、宽420—427厘米。位于中室南北两侧。顶部均已毁。从残存的墙体看,为三顺一丁砌法,墙厚46厘米。砖均为长30厘米、宽15厘米、厚5厘米。两层铺地砖,先竖排错缝平铺一层,再在其上用横立砖“人”字形平铺一层。北中室铺地砖均为长30厘米、宽12厘米、厚5厘米;南中室铺地砖长32厘米、宽16厘米、厚5厘米。在北中室北壁上有一壁龛,呈拱形,宽120厘米、高76厘米、厚30厘米。壁龛西壁距北侧室西壁内侧116厘米,下部距铺地砖50厘米。壁龛遭破坏严重,原来是用砖砌成的。龛内无一物。南中室南部被一近现代圆形水井打破,水井直径340厘米。水井券所用的砖均与墓砖相同,应是用拆毁墓室的砖砌成的井壁。南中室南部又打破M21。北、南两过梁长160—180厘米不等,宽36厘米左右,厚48厘米。梁柱石高128厘米,宽34—46厘米不等,厚68厘米。栌斗石宽46—60厘米,高24厘米。垫石长220—244厘米不等,宽70厘米,厚34厘米。后室门:由门柱3、斗3(其中北中室西梁柱与后室门北门柱上的斗、南中室西梁柱与后室门南门柱上的斗是用一块石头刻成的连体斗)、门楣2、槛石2组成。门宽330厘米、高142厘米。柱石高130厘米、宽36厘米、厚68厘米;斗高23厘米、上宽84厘米。后室:位于中室之西。平面近方形。除后室门外,其余部分已全毁。仅在后室上层扰土中出土一些大型石条、三角形石块。据后室的墓圹范围可知后室长470厘米、宽400厘米。该墓出土画像石2块,画像4幅。 [87]
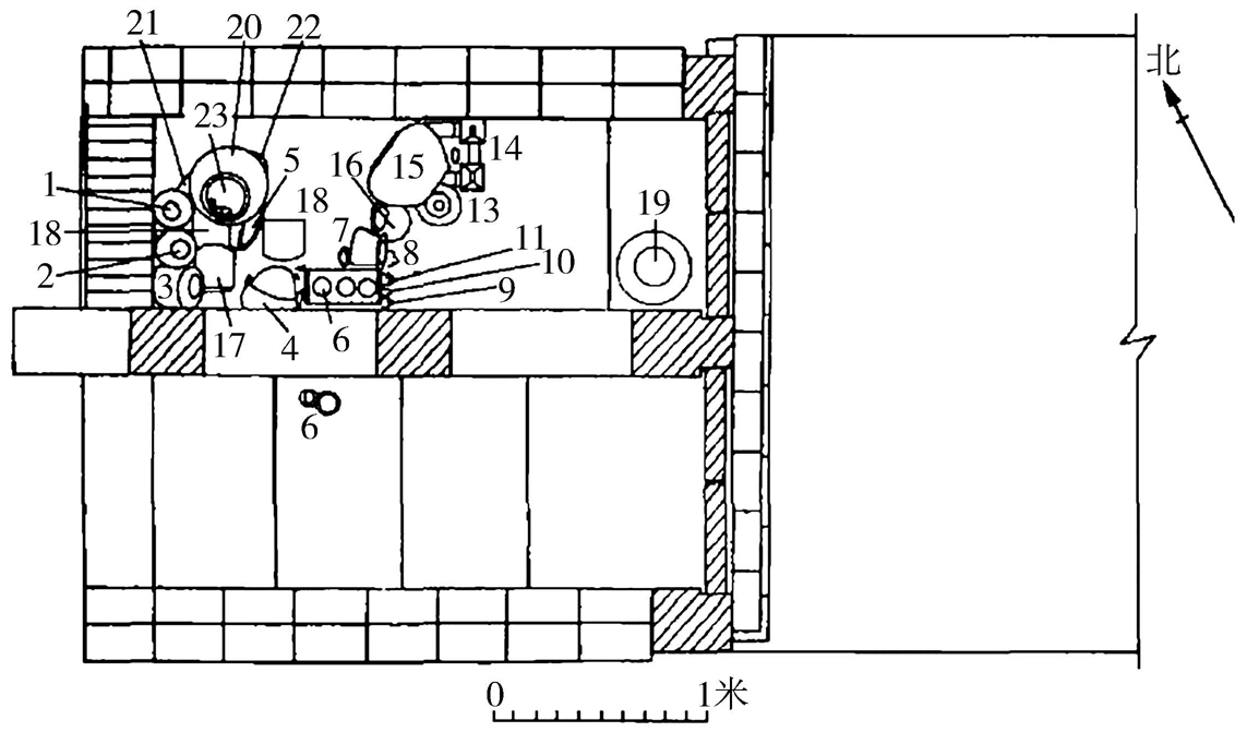
图4-67 南阳牛王庙村八一星旺幼儿园M20平剖面图
(12)南阳县高庙汉代画像石墓墓葬形制。该墓为纯石结构。墓室平面为长方形,南北长4.46米、东西宽2.93米(不含墓道)。坐东向西,方向300°,由墓道、墓门和南北中三室等五部分组成。其中墓道位于三墓室前,为弧形斜坡墓道。墓门为三座,分别位于三个墓室前。该墓出土石料61块,画像60余幅。 [88]
东汉晚期是南阳地区汉代画像石墓发展的尾声期。通过考古发掘,发现墓内使用汉代画像石的数量逐渐在减少。最为显著的例子是在襄县发现的东汉中期偏后的茨沟汉画像石墓。此墓是个大型墓,由8个墓室组成,但令人不可思议的是,仅出土5块画像石。由此说明,画像石墓开始走向尾声。在三国墓中发现的许阿瞿墓志画像石,说明东汉末期灵帝“建宁三年”,南阳一带仍流行画像石墓。其他的几座画像石墓,有画像的也不多。此时期虽然也有精品画像石,但精品的数量已经远不如以前,画像中几何图案、二方连续菱形穿环图案、二龙穿璧、二龙交尾画像居多。在此特别值得一提的是,一些大型墓室,在穹窿顶中央的结顶石下方平面上出现了如蟾蜍、莲花或莲子等画像。众所周知,莲花作为佛教的标志性图案,在画像石墓中出现,说明了东汉晚期佛教已经在南阳传播,并对丧葬文化产生影响。特别值得一提的是,作为南阳地域特色的天文星象图,在东汉中后期的墓葬中依然大量出现,其中南阳县高庙汉代画像石墓的雷神击鼓图、双首朱雀图、星云图等星象图就别出心裁,说明了星象作为汉代画像石墓中天象的重要部分,在东汉中后期依然流行,并且受到汉代画像石制作工匠的高度关注。
按照通常的思维,画像石墓到晚期,墓葬规模会越来越小。但与之相反的是,东汉中期以后,南阳汉画像石墓的形制更加讲究,规模也更大。而画像石在墓室中的数量在减少,说明此时厚葬依然在流行,雕刻画像已经不是人们那么疯狂追求的一种习俗了。
此期的墓葬,基本上都是大型墓,但墓内遗留极少,残留的几乎是一些陶器,如楼房、耳环、勺、斗、壶、瓮、罐、盘、盒、案、鼎、釜、奁、灶、磨、猪圈、井、瓦当及各种家畜等。鼎在个别墓中仍存在,但形制已有变化。出现侈口、无耳,且铺首装饰。灶为二连灶、三连灶并有灶上的釜与灶体烧结在一起的现象。大量的墓葬仍有陶俑出现,说明依然流行。此时期的另外一个特殊之处是,就是精致陶楼的出现,这种模型陶器,在以前的画像石墓中也有出现,但此时的陶楼更加复杂精致。东汉晚期的画像石墓中出土了具有标志性的钱币——剪边五铢铜钱,这正是东汉晚期流行的一种钱币。
东汉中后期画像石墓,有准确纪年的有当阳郑家大坡墓的刻铭“永元六年八月”,即公元94年;襄城茨沟汉画像石墓的刻铭“永建七年正月”,即公元132年;许阿瞿墓志画像石的刻铭建宁三年,即公元170年。另外在新野前高庙村墓所出130枚货币中,发现了大量的东汉剪边五铢,说明该墓已经是东汉晚期。所以,本组画像石墓的年代,只能从总的方面来断定它们大体属于东汉中晚期。
南阳汉代画像石墓,发掘数量之大,分布区域之广,再次向世人证明了南阳在西汉与东汉的经济地位和社会影响力。我们将南阳汉代画像石墓分为四期,一期大约在西汉中后期也就是武帝以后,此时的汉代画像石墓在唐河县与湖北交界的地方开始兴盛,宛城地区针对此种墓葬形式也有响应。不过根据目前的发掘来看,似乎汉画像石墓最早在唐河县湖阳镇(西汉时为湖阳县)和随枣走廊一带流行。二期大约在西汉末到王莽时期,此时南阳汉代画像石墓,唐河县与宛城两地的汉代画像石墓基本上是平分秋色,呈现双峰屹立的现象。三期大约在东汉早期,此时南阳已经成为“帝乡”与“陪都”,无论在经济方面与政治方面,其他地域均无法比拟。所以南阳地区汉代画像石墓以宛城为中心点向周边辐射,而且宛城一带的汉代画像石题材之多、技艺之精湛、艺术水平之高,令人叹为观止。四期为东汉中晚期,创新题材逐渐减少,几乎在原有之路上发展,尤其到东汉晚期,墓葬用石块虽多,但画像已经很少,并且图像也十分单调。三国至魏晋时期,发现了利用原汉墓中的画像石材作建筑材料重新建造画像石墓的现象,从此之后,刻画画像石来建筑墓葬的习俗已经终止。