



有了基本理论,就可以根据给定的几何空间、刚度、力来确定弹簧的几何尺寸;同时也必须计算出应力的大小。现就较深入地介绍弹簧应力选取的方法。
对于大多数机械零件,只要查出许用应力[τ],设计的应力不大于这个值就可以通过了。对于弹簧来说,这样的设计经济性很差。因为一般取安全系数为1.5,[τ]为0.67倍的τs,按照这种方法,设计出的弹簧需要足够的空间和重量。进一步提高[τ]相当于降低安全系数,也不是简单的问题。在这种情况下是否还有可利用的因素呢?结论是肯定的。
我们注意到大多数机械零件,如齿轮、链轮等,它们每一个局部的受力过程的应力都是由0到最大应力;再由最大应力到0。每一个循环都这样重复一次。那么它的最小应力与最大应力的比值永远是0。而弹簧就不是这样了。对于动载荷的弹簧,它的应力总是在不等于0的最小应力和最大应力之间循环,并且方向一致,没有正负之分。这样就有了一个循环特征r
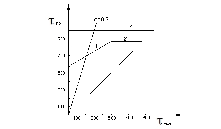
r的最大值为1,就是静载荷的情况;r的最小值对弹簧来说必须大于0(特殊情况可以为负值)。这种应力的选择有一定的规律。如图2-4。
图2-4
这种图称为Goodman图,也称为最小最大应力图。图中:横坐标表示最小应力;纵坐标表示最大应力;曲线2表示屈服极限;曲线1表示动态应力的上限;上端是循环特征r的坐标(0-1)。中间的区域是可选范围。对于动载荷弹簧先计算出最小应力和最大应力,在横坐标上找到最小应力,然后向上找最大应力,如果最大应力在中间区域内就是安全的。最大应力越靠近曲线2弹簧的重量轻体积小。曲线1也反映出r越小,许用的最大应力也越小。曲线1是在一个确定的循环次数下的试验结果,如10 6 、10 7 、10 8 等,所以曲线1不止一条。最常用的是以10 7 为准。有了循环特征,动载荷的弹簧就有了设计思路,r应尽量靠近0.5。这样综合性能比较好。
关于Goodman图有两种渠道可以找到,一种是较为通用的,先进的工业国家都有专用的弹簧标准。另一种是一些特别优秀的线材生产企业有自己的试验结果,发布高于国家标准的企业标准。
参考资料:BS EN13906-1-2013;BS EN13906-2-2013;BS EN13906-3-2013