



直接将覆盖物和围岩搬移,揭露出矿体进行开采的矿山,称为露天开采矿山。为开采矿石,从地表开劈到采矿工作面、地面工业场地、卸矿点、废石场、火工材料库以及各开采工作面之间的联系道路、堑沟、井巷、采矿工作面的空间及附属工程等总称为露天矿山开拓。为揭露矿体进行搬移表土和围岩的生产过程称为剥离,开采矿石的生产过程称为采矿。露天矿山投入生产以前的剥离称为基建剥离,投入生产后的剥离称为生产剥离。投入生产前的剥离与采矿总量称为基建工程量,即为基本建设投资部分的剥离量。
露天开采的矿山分为山坡开采露天矿山和凹陷开采的露天矿山。在地表封闭圈以上的山坡进行开采的露天矿称为山坡露天矿;在地表封闭圈以下的深凹部分进行露天开采的称为凹陷露天矿。
(一)山坡露天矿山构造特点
山坡露天矿山,由于在地表封闭圈以上的山坡上进行剥离开采工作,因受高山地形千变万化的影响,有以下特点。
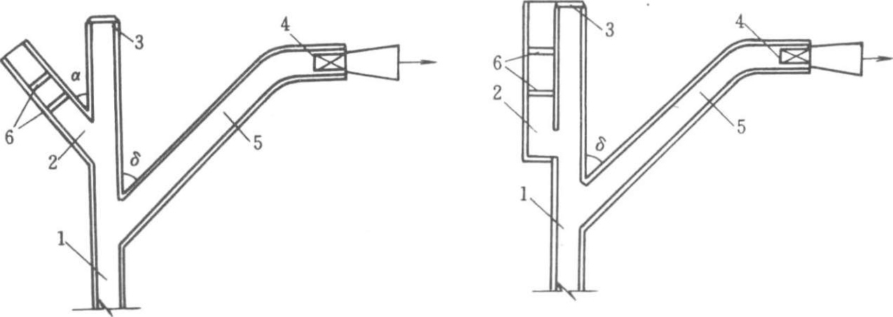
1.运输方式的选择是山坡露天矿开采的主要问题。开采水平与工业场地高差小、坡度缓的山坡露天矿山多采用汽车、机车或胶带运输方式。可直接将各水平采出的矿石运到工业场地贮放处。剥离的土岩可由剥离水平直接运到排弃场。矿区的地形复杂,坡度陡,开采水平与工业场地或主要运输水平高差大,一般在 200m以上,筑路展线困难,工程量大,应尽量利用地形地貌,选用溜槽、溜井、平硐开拓方式。开采矿石运到卸矿水平倒入溜槽,经溜井上部喇叭口进入溜井,由溜井下部贮矿仓放出,装车或破碎后由胶带运输机经平硐运到工业场地贮存处。对于地势复杂、运输量较小的矿山,可选用架空索道运输方式。
2.山坡露天矿山各开采水平的出入沟和连通各阶段的总出入沟,除了少数地段为双壁路堑外,大部分为单壁路堑。运输为重载下坡,空载上坡,动力消耗低。剥离废右可沿多水平排弃。
3.在露天矿山开采境界内工程正式开工前,必须先由工业场地或主要运输水平向开采境界内修建一条设备上山道路。该条道路属措施工程,不属临时设施项目。
4.需在开采境界周围建造的防洪及截水设施工程也属措施工程。该工程和设备上山道路的费用,均应列入工程造价的直接费内。
(二)凹陷露天矿山构造特点
凹陷露天矿山由于在地表封闭圈以下,其地表地形一般较平缓,其特点是:
1.运输条件较山坡露天矿好。
2.自地表封闭圈以下,每向下延伸一个阶段,都需先开一个楔形下坡双壁堑沟,作为该阶段剥采的出入沟。当达到设计的阶段高度时,再沿矿体走向开掘一条水平双壁沟段,待掘到规定的长度后,进行扩帮,开始进行该阶段的剥离与开采。
3.通向各阶段的出入沟称为总出入沟。总出入沟是根据开拓方式、运输设备等条件开凿的,有直进式、折返式和螺旋式等。对于规模不大,展线有困难的矿山,还可在矿坑一端建斜坡卷扬机道,利用卷扬机将矿车提升到地表。
4.运载设备为重载上坡、空载下坡运行,动力消耗大。
5.采场境界内易积水,需建疏、防、排、泄水等设施和工程。
(三)露天矿山构造要素
各要素的具体位置,详见图1.4.1和图1.4.2。
1.露天矿开采境界。是采场开采到某时期或终了时形成的空间轮廓。对凹陷露天矿而言,是指露天矿边帮与底部所围成的空间。上部境界线是边帮与地表轮廓的交线,底部境界线是边帮与露天矿坑底的交线。露天矿采完形成的底部称为露天矿坑底,坑底有水平的,有台阶状的。对于山坡露天矿来说,开采后有些境界线被采掉。因此,开采境界不太直观,最后由部分残留的边帮和底部形成的境界是不封闭的。
2.台阶。为适应采掘及运输设备的安全正常作业,将覆盖层、围岩及矿体划分成一定高度的分层,称为台阶(或称为阶段或水平)。
3.边帮。是由采场内诸台阶、倾斜干线的坡面及平台组成的采场四周的坡面总体。位于矿床顶板一侧称为顶帮,位于底板一侧的称为底帮,位于两端的称为端帮,由剥离开采工作台阶组成的边帮称为工作帮,由非开采工作台阶组成的边帮称为非工作帮。
4.边帮角。采场地表境界与底部境界之间连线构成的倾斜平面与水平面之夹角称为边帮角。
5.各种平台名称。在工作帮台阶上设有主要采掘和运输设备及保证正常生产所需的平台称为工作平台,在非工作帮上通过运输设备的平台称为运输平台,在非工作帮上为保持边帮稳定和阻截滚石下落而设置的平台称为安全平台,在非工作帮上供清除落石而设置的平台称为清扫平台。
6.开采深度或开采高度(山坡露天矿)。采场内最高开采水平的顶点至最低开采水平的底的垂直深度称为开采深度,其走向深度是不相等的。
7.台阶各部名称。台阶朝向采空区一侧的倾斜面称为台阶坡面,台阶坡面与水平面的夹角称为台阶坡面角。台阶上部平台与坡面的交线称为坡顶线,台阶下部平台与坡面的交线称为坡底线,台阶上部平面与下部平面的垂直间距称为台阶高度。
8.采掘带。在工作台阶上按顺序采掘的条带称为采掘带。组成采掘带的各部名称为:把采掘带分成互不影响、具有独立采掘设备的若干区段的区段长度称为挖掘机的工作线长度,采掘带的实体宽度称为采宽,实体采掘带爆破以后形成的松散物料堆称为爆堆。
图1.4.1 凹陷露天矿剥采境界
(一)地下开采矿山概述
距地表较深的矿床,在岩层或矿体内开凿一系列通道和硐室进行开采矿石的场所称为地下开采矿山,这些通道和硐室称为井巷工程。井巷工程主要是为开采地下矿物进行提升、排水、通风、运输、动力供电和行人等服务用的。为满足地下开采矿石的要求,需开拓一些主要巷道,包括竖、斜井井筒、平硐硐身,位于井筒或平硐之间的联络巷道与硐室,井底车场巷道和位于井底车场范围内的硐室,衔接井底车场和采区巷道的各类开拓巷道,采区中的平巷、斜巷、天溜井和硐室等工程。这些工程的总称为地下矿山井巷开拓,属地下矿山基本建设工程,其数量称为基建工程量。属于基本建设投资建造和需进行工程造价管理的工程。
1.地下矿山开拓方式。影响地下矿山开拓方式的因素较多,主要有矿床贮存条件、地形、地貌、地质与水文地质、技术和经济等。就开拓方式而言,有单一的竖井开拓、斜井开拓、平硐开拓和多种井型的联合开拓,大体情况分述如下:
(1)竖井开拓。直通地表的垂直巷道称为竖(立)井。用于提升矿石的竖井称为主井,用于提运人员、设备、材料、废石和进风的竖井称为副井,专门用于通风的竖井称为风井,进入新鲜空气的井称为入风竖井,排出井下污浊空气的井称为回风竖井。这些竖井都与地面相通,由其中两个以上竖井加井底车场巷道和硐室及其他开拓巷道和硐室开拓的矿床为竖井开拓。
矿床赋存于地下较深,冲击层厚,水文地质条件复杂的水平及缓倾斜矿床或急倾斜矿床,适用于竖井开拓方式。按井筒布置的位置有集中式和分散式。集中式是主、副井都布置在一个工业场区内,两井筒相距一般为 30~40m。这种开拓方式有简化地面和井下运输、集中排水、基建工程量小的优点,但通风阻力大。分散式是根据地形、矿床赋存及地面运排废石、工人村等因素,将主井布置在有破碎和选矿的工业场区内。而副井布置在矿区的边界中部或两个风井布置在矿区边界的两个对角。这种开拓方式的运输线和排水不集中,但有利于通风。
(2)斜井开拓。直通地表,且倾角大于 5°的倾斜巷道称为斜井。用于提升矿石的斜井称为主井,用于提运人员、废石、设备、材料和进风的斜井称为副井,专门为通风用的斜井称为通风井,进入新鲜空气的称为入风斜井,排出井下污浊空气的称为回风斜井。以两个或几个斜井加井底车场巷道和硐室及其他开拓巷道和硐室开拓的矿床称为斜井开拓。
图1.4.2 山坡露天矿基建工程
矿床赋存离地表较浅、表土层不厚、水文地质情况简单的缓倾斜或急倾斜的矿床,适用斜井开拓。开拓方式为:在一个工业场区内平行开主、副两条斜井,主副斜井间距以 20~40m为宜,中间用横川联通。还有分散式布置,方法和用途与竖井分散布置相同。
斜井开拓施工较竖井开拓简单,投资少、见效快,但提升能力小,生产力低。
(3)平硐开拓。直通地表的水平巷道称为平硐,起到井筒的作用。故在工程造价管理中,把平硐硐身划为井筒期。为全矿或几个中段运输矿石的平硐称为主平硐;用于运送人员、设备、材料、废石并敷设管道、电缆等的平硐称为副平硐或辅助平硐,专门为通风用的称为通风平硐,以平硐为井筒加井底车场巷道和硐室及其他开拓巷道和硐室开拓的矿床称为平硐开拓。
当矿床赋存于地表以上的高山中,因受矿体、地形、地貌影响和技术、经济等因素的限制,不能用其他形式开拓的矿床,适用于平硐开拓。用平硐开拓的矿山,可充分利用矿石自重下放,多中段排弃废石,便于通风和排水,生产安全,见效最快,比其他任何开拓方式都经济。所以当矿床全部或局部的储量能满足平硐开拓条件时,应尽量选用平硐开拓。
(4)联合开拓。当矿床贮存条件复杂、埋藏较深和山区地形地貌多变时,结合地面生产系统布置,采用单一开拓方式不能满足通风、安全及辅助提升等不同情况的需要,技术经济也不合理,此时应采用联合开拓方式。联合开拓方式的种类较多,主要有:主、副井分别为竖井和斜井联合开拓;主、副井为竖井,风井为斜井或主、副井分别为竖井和斜井,风井为竖井联合开拓;主、副井为斜井,风井为竖井联合开拓;主、副井为平硐,风井为竖井或斜井联合开拓;平硐与暗竖井或暗斜井联合开拓。
2.井筒和巷道断面形状。
(1)井筒断面形状。矿山工程造价管理把竖井井筒、斜井井筒、平硐硐身均划归井筒施工期,但斜井和平硐的断面形状和巷道基本相同,这里只介绍竖井的断面形状。竖井井筒的断面形状有圆形、长方形、椭圆形、多边形、弧形。
圆形井筒抗压性强、耐久、井壁隔水性好、通风阻力小,适用砖、料石、混凝土等材料砌筑,断面利用率较低。目前大中型矿山普遍用圆形断面竖井。断面尺寸净径一般为3~8m,6m及其以内者每 0.5m一档次,大于 6m者不限;长方形井筒,井壁多用木材支护,也有用钢筋混凝土框架和混凝土及钢筋混凝土支护,断面利用率高,开凿量小,井壁易渗水、通风阻力大、服务期短,只用于小型和开采期短的矿山。
(2)巷道断面形状。倾角大于5°的巷道为斜巷,小于5°的巷道为平巷。斜井和斜巷,平硐和平巷的断面形状是一样的。其形状按构成轮廓有矩形、梯形、不规则形、三心拱形、半圆拱形、弧形、马蹄形、椭圆形、圆形等,见图 1.4.3。
确定巷道断面形状的主要因素有巷道的用途、服务年限、围岩的坚固性、地压大小、支护方式与支护材料等。
(3)天溜井断面形状。连接上下两个中段,运输人员、设备和材料溜井或通风的井叫天井;连接上下两个中段,把上中段采取的矿石溜到下中段的井称为溜井。天井和溜井的倾角一般为45°~90°之间。最小倾角应大于松散矿石安息角,以使矿石能靠自重溜到下中段。
天溜井的断面形状有方形、矩形、梯形、圆形等。天溜井断面大小应满足行人、运送设备、材料或通风的需要。
图1.4.3 巷道断面形状
(二)井筒工程
1.竖井井筒构造。竖(立)井井筒由井颈、井筒身、井底水窝三部分组成,见图 1.4.4。
(1)井颈。位于竖井井筒上端,井筒第一个壁座以上(包括壁座)的井筒部分称为井颈。一般开在表土和松软岩层中,且受相当大的垂直与水平的静、动负荷及钢丝绳罐道的张力,因此壁厚要比井筒身部分的壁厚大得多。其深度由覆盖在基岩上部的冲积层和风化岩层厚度而定。一般情况下,井筒的第一个壁座位置设在表土和风化岩层下的基岩内2~3m处。如果表土层太厚,第一个壁座可设在致密的土层中。井颈以下分段砌筑的井壁与壁座称为井颈部分的“辅助井壁与壁座”。井颈一般分为2~3段,每段高度2~4m。井颈上部井壁加厚部分叫锁口圈(盘),顶部高出地表0.3m,防止地表积水流入,下部应在冻结线以下,底面积越大承受载重就越大,所用材料有混凝土,也有砖。当井颈下部的壁座砌筑好后,向上砌井壁到井口处与锁口圈结合一起组成井壁,见图 1.4.5。
壁座(也称壁基、基座),是支撑上部永久井壁与悬吊下部临时支护用的。壁座的种类很多,形状和规格主要是依据围岩的物理机械性质决定的,有单锥形、双锥形、复锥形、混合形、喇叭形等,见图 1.4.6。
(2)井筒身。井颈以下至马头门或装载硐的一段井筒称为井筒身。井筒断面形状和大小是由产量和服务年限、提升容器、深度、围岩稳定性等决定的,产量小,深度小、服务期短、围岩稳定可采用矩形、多角形断面;产量大、服务年限长、深度大、围岩不稳定、压力大采用圆形断面。用混凝土、钢筋混凝土、料石、混凝土砖等材料砌筑永久井壁。每段高度根据井筒穿过岩层性质和水文地质情况确定,围岩硬度大、整体形好、涌水量小一般为30~40m;岩层软、涌水大,一般为20~30m。井壁厚度是根据围岩性质、受力大小、断面、支护材料等因素决定的,一般为300~600m m。
马头门。由井筒开始向井底车场开的一段巷道,连接井筒和井底车场称为马头门。
(3)井底水窝。井筒底部,托罐梁或清理井底散矿平台以下,用以汇集井筒内滴水 2~5m的井筒叫井底水窝。井底水窝的形式和深度,取决于井筒滴水量、井筒用途、井筒是否需延伸、罐道形式及提升容器类别等。箕斗井应在清理散矿平台以下 4m;需延伸的井筒一般为 10~15m,并在底部井壁设壁座。水窝底部做成弧形混凝土锅底,是为了清底方便和防止涌水,见图 1.4.7。
图1.4.4 竖井全貌
1—井颈混凝土壁;2—混凝土壁座;3—井筒身混凝土壁;4—马头门混凝土拱碹;5—井底水窝;6—井底水窝混凝土壁;7—水窝壁座;8—水窝混凝土弧形底
2.斜井井筒构造。斜井井筒的断面形状和支护形式是根据所穿过的岩层稳定程度而定。一般有拱形、梯形、弧形(马蹄形)等,断面的大小根据井筒的用途如行人、提升运输矿石、废石、下放器材、管线布置、排水、通风、动力线、检修人行道等确定。
斜井井筒内的设施除轨道与提升设备外,还要设水沟、人行道、避人硐、管路、电缆等。井筒涌水段以下和井底与井底车场连接处,胶带机接头硐室下方布的横截水沟和断面的大小有关系。井筒断面有关尺寸:行人侧宽度应大于 700mm,非行人侧宽度应大于 200mm,乘车平台两车之间为200mm,600mm轨距的人车和矿车间隙为210mm,900mm轨距的人车和矿车的间隙为260mm,行人台阶长 500~600mm,管线应视情况而定。
提人车的斜井井筒,在井筒上部和井筒下部乘车平台处的人行道还兼做站台用,此处人车的外缘至井壁面间距不小于 1000mm,上下站台的长度为人车总长度的 1.5~2.0 倍。
在矿车提升或箕斗提升的斜井中,提升时一律不得行人,为了保证行人和检修人员的安全,在斜井井筒内每隔 30~40m设宽×高×深=1 ×1.8× 1.2m的避人硐室。
斜井井筒倾角为 7°~15°时,斜井的人行道要设栏杆,15°~30°时应设栏杆和砌台阶,30°~45°时需设栏杆和扶手,并砌筑台阶,人行道的宽度应大于 1200mm,台阶高度为 180mm,大于 45°时需设梯子间。
矿车提升斜井井筒断面布置有单钩和双钩提升两种方式。
图1.4.5 竖井井颈
1—锁口圈;2—井颈壁;3—壁座;4—井筒身井壁
图1.4.6 硬岩层及中硬岩层的壁座形状图
胶带运输机的斜井两侧均应设人行道,一侧宽应大于 800mm,另一侧宽应大于 900mm。
斜井铺轨的轨距有600mm、762mm、900mm三种。倾角小于30°的斜井道床铺设与平巷相同。矿车提升斜井一般采用石碴道床;服务年限超过20年的大中型矿箕斗提升或胶带运输机斜井检修道均采用固定道床。
为减少通风阻力,斜风井一般为砌碹拱形断面或光面爆破或锚喷支护,断面大小根据通风量而定。兼作安全出口的斜风井,在行人一侧设台阶和扶手,出口部分为井筒、风硐、行人通道,在人行通道中设两道风门及防爆门,见图 1.4.8。
3.平硐硐身构造。平硐硐身的断面形状、支护类型及用途和斜井一样,只不过一个是倾斜的,一个是水平的。平硐的运输方式一般为电机车和胶带运输两种,小型矿山也有人工推矿车和无极绳运输等。一般情况下,运输设备可直接将矿石由平硐运至工业场区,将废石运至排弃场,其运输、通风、排水都比较简单,故平硐硐身内的设施也较斜井简单得多。如:人行道可不设栏杆、扶手和台阶,不需设排水管道。其他如斜井铺轨类型、胶带运输的布置基本相同。
(三)井底车场各类巷道及硐室
连接矿井主要提升和井下主要运输的一组巷道和硐室称为井底车场。它联系着井筒提升和井下运输两大生产环节,是井下运输的枢纽,为提矿、运送废石、下料、通风、排水、供电和升降人员等各项服务。
根据开拓方式不同,井底车场可分为竖井井底车场和斜井井底车场两大类。
1.竖井井底车场。竖井开拓井底车场有环行式和折返式两种基本形式。
井底车场内硐室的布置主要与矿井地质条件、硐室的用途和生产需求等因素以及矿井生产能力、提升方式等有密切关系。环行刀式车场内硐室的布置方式具有一定的代表性。
主井系统硐室有:翻车机硐室,位于主井空、重车线连接处;矿仓,上接翻车硐室,下连箕斗装载硐室,常为一条倾斜巷道分成两个间隔,一间贮矿,另一间行人;箕斗装载硐室与竖井井筒直接相连,一般位于井底车场水平之下;清散矿硐室和斜巷,将箕斗撒到井底的矿石清理出来再倒入矿仓;在主井井筒下部一侧开一个水泵房,将井底积水通过井底车场水沟排入水仓。
图1.4.7 箕斗井斜式井筒接受仓井窝示意图
1—通过式箕斗装载硐室;2—斜式井筒接受仓钢筋混凝土板;3—斜式井筒接受仓;4—水窝;5—装载点;6—泵房
副井系统硐室有:马头门,是副井井筒与井底车场巷道连接部分,人员、设备、材料、废石等均经过此处进出罐笼。考虑到井下排水用电量大,减少输电损失以及和副井联通方便,将中央水泵房和中央变电所联合布置在副井附近。中央水泵房的排水管经管道进入副井至地面(副井深度大,在副井中间设转水泵房),由井筒引进的电缆经此进入中央变电所,二者之间设有防火铁门并各有通道与井底车场相联。水仓由两条独立的巷道组成,进口为低于井底车场巷道标高的斜巷,并铺设窄轨,以便清理杂物,末端经吸水小井与水泵房相联;等候室设在副井附近,供人员升井候罐休息之用;工具硐室设在等候硐室一边,以方便领换工具;调度室设在井底车场进车线的入口处,负责井底车场内的车辆调度;电机车库及电机车修理硐室设在井底车场进出车和通风方便处,用墙与井底车场巷道隔开;防火硐室多布设在副井空、重车线与马头门相近的单轨巷道内,并设有两道防火铁门,一旦井下或井口发生火灾,便用以隔断风流;另外根据需要还设有防水硐室、医疗室等其他硐室。
图1.4.8 斜风井井口布置
1—风井井筒;2—人行道;3—防爆门;4—风机;5—风硐;6—风墙
2.斜井井底车场。斜井井底车场也分为环行式和折返式两大类。根据用途可分为主斜井井底车场和副斜井井底车场。
斜井环行车场分为卧式、斜式和立式三种,其线路结构、调车方式以及硐室的布置等与竖井井底车场基本相同。斜井折返式井底车场,因开拓和主斜井提升方式不同,其形式是多样化的,常见的有主、副斜井均为串车提升折返式车场和主斜井为胶带输送机或箕斗提升副斜井为串车提升的折返式车场,见图 1.4.9~图 1.4.11。
图1.4.9 斜井折返式车场之一
1—主斜井;2—副斜井;3—主井重车线;4—主井空车线;5—副井重车线;6—副井空车线;7、8—调车线;9—绕道;10—主要运输大巷
图1.4.10 斜井折返式车场之二
1—主斜井;2—副斜井;3—主井重车线;4—主井空车线;5—副井重车线;6—副井空车线;7、8—调车线;9—绕道;10—主要运输大巷
图1.4.11 斜井折返式车场之三
1—主斜井;2—副斜井
(四)采区巷道和硐室
1.采区各类巷道。井巷工程辅助费预算定额中的施工工期划分,除了井筒、井底车场(包括主要运输石门和主要回风石门)以外的巷道和硐室均划为第三期工程,称为巷道期,所以这里把主要运输大巷和主要回风巷等开拓巷道也划入采区巷道内。采区巷道和硐室是:为某一开采阶段运输服务的运输平巷,在阶段运输水平以上的斜巷(上山),或在阶段运输水平以下的斜巷(下山),把上下两个中段连接起来的急倾斜或垂直巷道(天溜井),直接用来切割开采矿块的切割巷道,如拉底巷道、开切眼、放矿漏斗以及阶段回风天井及回风巷等均属采区巷道。
2.采区范围内各类硐室。在采区布置的硐室主要是为采区开采矿石服务的。有采区变电所、绞车硐室(包括钢丝绳斜道)、放矿硐室、电耙硐室、厕所等。
(五)井筒装备和巷道铺轨
1.井筒装备。安装在整个井筒内,为保证提升容器高速安全运行和其他设施间隔的结构物称为井筒装备,包括:提升容器间的罐道、罐道梁,梯子间的主副梁、爬梯、围栏,管道间的排水,压气管路,电缆,通风间和延伸间有关设施以及井底金属结构物、托罐梁、电缆支架、过卷装置等。这里简要介绍井筒装备的主要部分。
罐道和罐道梁是竖井井筒装备的主要组成部分,是保证提升容器安全运行的导向设施。其作用是消除容器提升过程中产生的横向摆动,当提升钢丝绳断裂或提升过卷时,阻止容器坠落并使之安全制动。按结构和材质分为刚性和柔性两种装备,刚性罐道由型钢或硬木制成,柔性罐道由钢丝绳制成。
2.巷道铺轨。井下多采用电机车牵引矿车进行运输,而上、下山多用绞车提升或下放矿车,这就需要在井底车场、运输大巷、上下山和阶段运输平巷等处建筑窄轨铁路,称为巷道铺轨,轨距有 600mm、762mm、900mm三种。双轨线路之间距离,应按电机车或矿车最大宽度加大 200mm间隙。线路坡度通常为 3‰~5‰。