购买
下载掌阅APP,畅读海量书库
立即打开
畅读海量书库
扫码下载掌阅APP

四、汽车电子元器件信号类型及波形

汽车电控系统中存在五种基本类型的电子信号,这五种基本的汽车电子信号称为“五要素”。“五要素”是电控系统中各个传感器及执行器、ECU/ECM和其他设备(如故障诊断仪器)之间相互通信的基本语言。

1. 直流信号

(1)直流信号的特点

直流信号(DC)是一种模拟信号,汽车上产生直流信号的电子元器件包括:蓄电池提供的电源、ECU/ECM提供的参考电源(12V/5V/8V/9V等);产生模拟信号的传感器,如温度类的传感器(冷却液温度等)、电位计类的传感器(节气门位置传感器等)、热线(热膜)式空气流量计(产生频率信号的车型除外)、进气压力传感器(产生频率信号的车型除外)。

(2)直流信号的波形

图1-1-45是电位计式节气门位置传感器产生的直流信号波形,是1条连续的线条,信号根据对应传感器部件的位置变化而变化。

图1-1-45 直流信号波形(电位计式节气门位置传感器)

2. 交流信号

(1)交流信号的特点

交流信号(AC)是一种模拟信号,汽车上产生交流信号的电子元器件包括:磁电(磁感应)类的传感器,如曲轴位置传感器、轮速传感器等;其他产生交流信号的传感器,如爆燃传感器等。

(2)交流信号的波形

图1-1-46是磁电式曲轴位置传感器产生的交流信号波形,信号形状根据传感器的信号齿圈齿数及整理电路的类型有区别,图中跳跃增大的波形是上止点位置。

图1-1-46 交流信号波形(磁电式曲轴位置传感器)

3. 脉冲频率调制信号(PFM信号)

(1)脉冲频率调制信号的特点

脉冲频率调制信号是一种具有变频特性的数字信号,汽车上产生脉冲频率调制信号的电子元器件通常是传感器,如通用汽车的热线(热膜)式空气流量计、福特汽车的“石英振荡晶体”进气压力传感器、卡门涡旋式空气流量计,以及光电式、霍尔式转速传感器等。

(2)脉冲频率调制信号的波形

图1-1-47是霍尔式曲轴位置传感器产生的脉冲频率调制信号波形,波形是方形的,因此俗称“方波”。脉冲频率调制信号是固定的脉冲信号,在发动机运转中,波形的频率(图1-1-47中①的指示)发生改变,每个工作循环的占空比(%DUTY CYCLE)不会发生变化,但脉冲宽度(ms PULSE WIDTH)会随频率变化而变化。

图1-1-47 脉冲频率调制信号波形(霍尔式曲轴位置传感器)

4. 脉宽调制信号(PWM信号)

(1)脉宽调制信号的特点

脉宽调制信号也是数字信号的一种,汽车上产生脉宽调制信号的电子元器件通常是ECU/ECM输出控制执行器的驱动信号,如喷油器、点火线圈、电磁阀,以及控制模块之间的简单指令信号等。

(2)脉宽调制信号的波形

图1-1-48是电子燃油喷射系统的喷油器控制信号波形,在喷油器工作过程中,脉冲宽度(即喷油器喷油时间)是会随着发动机工况变化而变化。

图1-1-48 喷油器控制信号波形

图1-1-49是通用汽车动力控制模块PCM与点火模块ICM之间的点火正时控制信号波形,图中由点火模块给PCM的点火参考信号是脉冲频率调制输入信号,频率(即转速信号)会变化,但占空比不会变化;由PCM给点火模块的点火正时信号是脉宽调制输出信号,脉冲宽度(即点火正时)会随着发动机工况变化而变化。

图1-1-49 通用汽车的点火正时控制信号波形

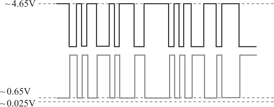
5. 串行数据信号

(1)串行数据信号的特点

串行数据信号也称序列信号,汽车上产生串行数据信号的电子元器件包括:ECU/ECM输出自诊断信号(即早期车型第一代诊断系统OBD-I故障指示灯的“闪光码”),以及与其他控制模块或诊断仪器通信的诊断K线、L线和CAN系统的通信数据;其他采用CAN系统通信的传感器,如电子稳定系统ESP的偏转率/横向加速度传感器等也是输出串行信号。

(2)串行数据信号的波形

图1-1-50是CAN系统通信的波形,从波形中只能判断信号传输是否正常,传输信号的内容需要利用诊断仪器根据通信协议转换成可阅读的数据(即诊断仪器的数据流)。

图1-1-50 CAN系统通信的波形 wC79vJ6PP1iDUJVpmDEHYx1IEkOsDmwpzrCeHSL8719/YkJnvo3QDseN1Ey/j/pY

点击中间区域
呼出菜单
上一章
目录
下一章
×