购买
下载掌阅APP,畅读海量书库
立即打开
畅读海量书库
扫码下载掌阅APP

二、汽车电子元器件的类型、应用及检测方法

汽车电子元器件从结构原理的角度,可分为开关、电阻器、磁电元件、霍尔元件、压力检测元件、电磁线圈、电动机、集成电路等类型,以下介绍各类型电子元器件在汽车上的应用及检测方法。

1.开关

(1)开关在汽车上的应用

开关的词语解释为开启和关闭,从汽车电气系统的角度是指一个可以使电路开路、使电流中断或使其流到其他电路的电子元器件。最简单的开关有两片金属触点(接点),触点接触时使电路形成回路,触点不接触时电路开路。

开关在汽车上的应用有手动操作开关和自动控制开关两种主要类型。

1)手动操作开关: 手动操作开关包括旋转式开关(如传统汽车的点火开关等)、按钮开关(如危险警告灯开关、空调开关、电子稳定系统ESP开关等)、交互式转换开关(如门锁开关等)、操作杆式开关(如灯光开关、变速器档位开关、制动灯开关、刮水器开关等),通过手动操作接通或断开对应部件的控制电路。

图1-1-2是传统汽车的点火开关;图1-1-3是电子稳定系统ESP控制开关。

图1-1-2 点火开关

图1-1-3 电子稳定系统ESP控制开关

2)自动控制开关: 自动控制开关通过感测压力(如空调制冷循环系统或液压助力转向系统的压力开关等)、温度(如电子冷却风扇控制的温控开关等)、液位(如机油、冷却液的液位开关等),自动接通或断开对应部件的控制电路。

图1-1-4是液压助力转向系统的压力开关;图1-1-5是电子冷却风扇的温控开关。

图1-1-4 液压助力转向系统的压力开关

图1-1-5 电子冷却风扇的温控开关

(2)开关的检测方法

开关量信号是通过开关断开和导通所引发的信号,即跳跃变化的电压信号,是最简单的脉冲信号,广泛应用于现代电子技术信号处理中。

开关及开关量信号的电子元器件检测方法如下:

1)电阻: 采用万用表的电阻档检测电阻,通常在开关断开时电阻为无穷大,导通时电阻接近0Ω。

注意: 测量电阻时,被测电路应独立(断开),不带电。

2)电压: 采用万用表的电压档检测电压,通常开关连接电源或者搭铁。开关连接电源一侧电压为12V,连接搭铁一侧电压为0V。当开关闭合时,开关另一侧等电位,同为12V或者0V。若开关闭合或断开,另一侧电压无变化,则可说明开关损坏。

3)数据流: 采用诊断仪器读取对应电控系统的数据流,通常在开关断开时数据流显示“OFF”或“OPEN”,导通时数据流显示“ON”或“CLOSE”。

2. 电阻器

(1)电阻器在汽车上的应用

电阻器的种类有很多,在汽车电子元器件中的应用包括固定电阻器、可变电阻器、热敏电阻器等类型。

1)固定电阻: 固定电阻的电阻值在本体温度、压力等条件发生变化时不会发生变化,或者变化很小。固定电阻在汽车上主要用于电路的分压或整流,如早期本田车型保护低电阻喷油器线圈的分压电阻、丰田汽车燃油泵控制电路的分压电阻(实现油泵两种转速),以及电动汽车高压系统的预充电阻、车载局域网络CAN系统的终端电阻等。

图1-1-6是丰田汽车燃油泵控制线路上分压的固定电阻;图1-1-7是具备终端电阻(数据传递终端)的CAN系统示意图。

图1-1-6 丰田汽车燃油泵控制线路的固定电阻

图1-1-7 具备终端电阻的CAN系统

2)可变电阻: 汽车用的可变电阻为电位计(也称电位器)。电位计是一种典型的接触式传感器,一般为滑动变阻器,通过可调电阻改变输出电压,即电位计的电阻值/信号电压随着元件的动作发生变化。某些电控发动机的节气门位置传感器、加速踏板位置传感器,以及大部分的位置传感器均为此类型的传感器。

图1-1-8是电位计式的节气门位置传感器;图1-1-9是装备位置传感器的废气再循环(EGR)阀。

图1-1-8 节气门位置传感器

图1-1-9 装备位置传感器的EGR阀

3)热敏电阻: 热敏电阻是开发早、种类多、发展较成熟的敏感元器件。热敏电阻由半导体陶瓷材料组成,其原理是根据温度变化引起内部电阻产生相应的变化。

热敏电阻一般包括负温度系数(NTC)热敏电阻、正温度系数(PTC)热敏电阻以及临界温度热敏电阻(CTR)。

①负温度系数热敏电阻的电阻值随着NTC热敏电阻本体温度的升高而减小;温度越高,电阻值越小。NTC热敏电阻广泛应用于温度检测、温度补偿等场合,如用于检测汽车发动机冷却液温度的冷却液温度传感器、用于检测汽车进气温度的进气温度传感器等。

②正温度系数热敏电阻的电阻值随着PTC热敏电阻本体温度的升高而增大;温度越高,电阻值越大。正温度系数热敏电阻在汽车上应用不多,通常用于加热部件,如电动汽车暖风系统PTC加热器等。

③临界温度热敏电阻具有负电阻突变特性,在某一温度下,电阻值随温度的增加急剧减小,具有很大的负温度系数。临界温度热敏电阻在汽车上的应用很少,应用场合与温控开关类似。

图1-1-10是热敏电阻的温度传感器(内部结构);图1-1-11是电动汽车暖风系统的PTC加热器。

图1-1-10 温度传感器内部结构图

图1-1-11 电动汽车暖风系统的PTC加热器

(2)电阻器的检测方法

以下介绍电阻器类型的电子元器件检测方法。

1)电阻: 采用万用表的电阻档检测电阻,对于固定电阻,直接检测电阻值;对于可变电阻、热敏电阻、压敏电阻等,则需要检测在不同的条件下,如位置(开度或角度)、温度、压力、真空度等发生变化时对应的电阻值,并与正常值进行比较。

2)电压: 采用万用表的电压档检测电压,检测参考电源经过电阻器以后的电压降或电压信号,并与正常值进行比较。

3)数据流: 采用诊断仪器读取对应电控系统的数据流,观察在不同的条件下,如位置(开度或角度)、温度、压力、真空度等发生变化时对应的数据值,看传感器是否对工况变化有正确响应,并与正常值进行比较。

3. 磁电式传感器

(1)磁电式器件在汽车上的应用

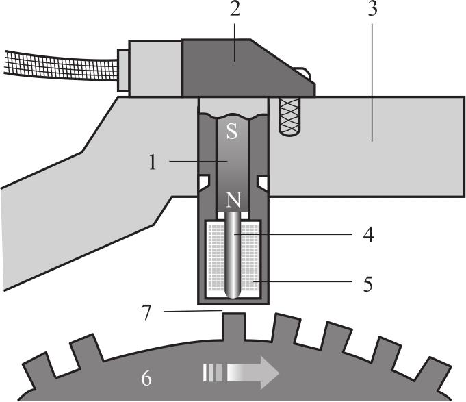
磁电式传感器是利用电磁感应原理,将输入的运动速度转换成线圈中的感应电势输出。它直接将被测物体的机械能量转换成电信号输出,工作不需要外加电源,是一种典型的无源传感器。在汽车上典型的应用如曲轴/凸轮轴位置传感器、车轮速度传感器等。这种传感器一般由永磁体、线圈、软铁心等组成。传感器与信号齿圈(齿形转子)之间的气隙也很重要,如果装配不当时会影响信号输出。

图1-1-12是磁电式曲轴位置传感器结构示意图,有两条电气导线。图1-1-13是磁电式曲轴位置传感器波形,图中曲线1和曲线3是信号齿圈上非缺口(正常齿)处产生的波形;图中曲线2是缺口处产生的畸变波形(上止点基准标记),ECU通过判别该处齿形缺口的信号来识别曲轴位置。通常信号齿圈上有58个齿,缺口处少2个齿。

图1-1-12 磁电式曲轴位置传感器结构示意图

1-永久磁铁 2-传感器壳体 3-发动机壳体 4-软铁心 5-线圈 6-信号齿圈(基准标记)7-气隙

图1-1-13 磁电式曲轴位置传感器波形

1-正常齿波形(+)2-缺口波形(上止点基准标记)3-正常齿波形(-)

(2)磁电式传感器的检测方法

磁电式传感器通过转子与线圈的相互作用,在线圈内产生交变的电压信号。磁电式传感器检测方法如下。

1)电阻(静态测量)。 采用万用表的电阻档检测线圈电阻。检测时,将传感器插接器拔下,使用电阻档测量传感器两个针脚之间的电阻,将测量值与标准值进行对比。磁电式曲轴位置传感器的电阻值一般为1000Ω左右,如别克凯越的曲轴位置传感器电阻800~1200Ω,丰田凯美瑞的曲轴位置传感器电阻1150~1450Ω。以上对线圈电阻进行测量属于静态测量。在维修实践中,除了静态测量,还要结合动态测量才能准确判断元器件的好坏。

2)波形测试(动态测量)。 采用示波器测试波形(交流波形),可以很准确地判定器件是否有故障。测量时,传感器接入电路,被测部件或系统正常工作,将示波器测试探头连接传感器的两个端子测试波形。正常波形为均匀变化的交流波形。

3)数据流(动态测量)。 采用诊断仪器读取对应系统的数据流,可以判断该传感器是否有正常信号输出。测试转速的传感器会以转速的形式在数据流列表中呈现。通常维修电工会改变发动机转速或者轮速,观察数据流是否同步变化。

4. 霍尔式传感器

(1)霍尔式器件在汽车上的应用

霍尔传感器是利用霍尔效应制成的传感器,通常有开关型霍尔和线性霍尔两种类型。

霍尔效应是电磁效应的一种,这一现象是美国物理学家霍尔(E.H.Hall, 1855—1938)于1879年在研究金属的导电机制时发现的。当电流垂直于外磁场通过半导体时,载流子发生偏转,垂直于电流和磁场的方向会产生一个附加电场,从而在半导体的两端产生电势差,这一现象就是霍尔效应,这个电势差也被称为霍尔电势差。

图1-1-14是霍尔效应的原理图。对于一个给定的霍尔器件,当偏置电流 I 固定时,霍尔电压 U h 将完全取决于被测的磁场强度 B 。磁场强度 B 越大, U h 越大。

图1-1-14 霍尔效应原理

霍尔传感器在汽车上的应用很广泛。开关型霍尔可以用于门控开关、无刷电机、转速检测、流量检测、无接触定位等。线性霍尔可用于节气门位置、加速踏板位置的位移检测,转角传感器的角度检测,以及电器线路的电流检测等。

1)开关型霍尔: 图1-1-15是开关型(单级)霍尔的特性图。单级霍尔需要指定一个磁极,一般都是指定S极。当磁场靠近时霍尔元件导通,输出低电平;磁场远离时霍尔元件断开,输出高电平,而另一磁极始终保持高电平的状态。根据单级霍尔这种特性,可以使用一个磁铁或者类似的磁场来进行各种应用。

图1-1-15 开关型霍尔的输出特性

图1-1-16是宝马汽车采用的一种轮速传感器,图1-1-17显示了其内部结构。在车轮轴承密封件中安装了48对磁极。车轮转速传感器由2个霍尔传感器和1个电子分析装置组成。这类传感器输出方波波形,有别于传统的磁电式传感器波形。

图1-1-16 宝马轮速传感器

1-插接器 2-传感器本体

图1-1-17 宝马轮速传感器内部结构

1-磁极 2-霍尔传感器 3-电子分析装置

2)线性霍尔: 如图1-1-18所示,线性霍尔的输出电压与传感器自身的磁场强度成正比,根据磁场特性和强度其输出电压上升或下降。图1-1-19是宝马汽车的加速踏板位置传感器,图1-1-20是该传感器的输出特性,该传感器有2组线性信号输出,同步增大或减小。

(2)霍尔传感器的检测方法

霍尔传感器是一种有源传感器,任何检测之前都需要测量传感器的供电是否正常。霍尔传感器检测方法如下:

1)电压测量: 采用万用表的电压档检测传感器的供电参考电压。供电电压正常的,进一步使用万用表测量其输出信号电压。开关型霍尔传感器输出方波信号,当有信号输出时,利用电压档可测量有无信号输出。电压测量的弊端是不能精准判定器件是否有故障。因为普通型万用表电压档采用平均值响应进行测量,只能看到信号的平均值,不能看到信号的细节,所以存在电压测量误判的情形。

图1-1-18 线性霍尔输出特性

图1-1-19 宝马汽车加速踏板位置传感器

图1-1-20 宝马汽车上的线性霍尔传感器输出特性

1-传感器电压 2-传感器1在怠速下的信号电压 3-传感器2在怠速下的信号电压 4-传感器1输出信号变化过程5-传感器2输出信号变化过程 6-不断增大的制动踏板力特性线 7-不断减小的制动踏板力特性线(减速)8-由于强迫降档开关开始提高制动踏板力或由于强迫降档结束减小制动踏板力 9-不带强迫降档的满负荷位置10-强迫降档关闭 11-强迫降档接通 12-加速踏板角度 13-制动踏板力

2)波形测试: 采用示波器测试波形,可以很准确地判定霍尔器件是否有故障。测量时,传感器正常接入电路,被测部件或系统正常工作,将示波器测试探头连接传感器的信号输出端子进行测量,负极搭铁。波形为方波波形。通过波形测量能方便、快速、准确地判定器件是否存在故障。图1-1-21所示是霍尔式凸轮轴位置传感器波形。

3)数据流: 采用诊断仪器读取对应系统的数据流,可以判断该传感器是否有正常信号输出。如测量转速的曲轴位置传感器(霍尔式)、凸轮轴位置传感器(霍尔式)、轮速传感器(霍尔式)等传感器,均可以利用数据流来观察传感器是否正常工作。

图1-1-21 霍尔式凸轮轴位置传感器波形

1-进气凸轮轴 2-排气凸轮轴 3-进气凸轮轴信号 4-排气凸轮轴信号5-气缸1上止点参考标记 6-气缸编号

5. 压力传感器

压力传感器通常是采用半导体压阻效应制成的传感器,这是半导体压力传感器的主要类型。早期大多是将半导体应变片粘贴在弹性元件上,制成各种应力和应变的测量仪器,随着半导体集成电路技术的发展,出现了由扩散电阻作为压阻元件的半导体压力传感器。这种压力传感器结构简单可靠,没有相对运动部件,传感器的压力敏感元件和弹性元件合为一体,免除了机械滞后和蠕变,提高了传感器的性能。

常用的半导体压力传感器选用N型硅片作为基片。先把硅片制成一定几何形状的弹性受力部件,在此硅片的受力部位,沿不同的晶向制作四个P型扩散电阻,然后用这四个电阻构成惠斯通电桥,在外力作用下电阻值的变化就变成电信号输出。这个具有压力效应的惠斯通电桥是压力传感器的心脏,通常称为压阻电桥。图1-1-22是惠斯通电桥的模型。

图1-1-22 惠斯通压阻电桥模型

压力传感器在汽车上的应用非常广泛。压力传感器可用于测量气体、流体的压力。在汽车上,主要有进气压力传感器、增压压力传感器、空调制冷剂压力传感器、机油压力传感器、高压燃油压力传感器、制动压力传感器、真空压力传感器等。

与压力开关不同的是,压力开关只能向电控单元ECU提供断开或导通信号,而半导体压阻效应式的压力传感器则可以提供整个监测范围内的线性压力信号。

图1-1-23是空调制冷循环系统压力传感器;图1-1-24是发动机进气系统的进气压力传感器。图1-1-25是压力传感器的线性输出特性曲线。

图1-1-23 空调制冷循环系统压力传感器

图1-1-24 进气压力传感器

图1-1-25 压力传感器的线性输出特性曲线

6. 电磁线圈

(1)电磁线圈在汽车上的应用

线圈是由导线一圈靠着一圈地绕在绝缘管上,导线彼此互相绝缘,而绝缘管可以是空心的,也可以包含铁心或磁粉心。

电感线圈是利用电磁感应的原理进行工作的器件。当有电流流过一根导线时,就会在这根导线的周围产生一定的电磁场,而这个电磁场的导线本身又会对处在这个电磁场范围内的导线发生感应作用。对产生电磁场的导线本身发生的作用,称为“自感”,即导线自己产生的变化电流产生变化磁场,这个磁场又进一步影响了导线中的电流;对处在这个电磁场范围的其他导线产生的作用,称为“互感”。

1)继电器: 继电器是利用电磁线圈工作的常用电气元件。它的主要功能是实现小电流控制大电流,并实现电气隔离。如图1-1-26a所示,继电器常见的类型是4脚继电器,85和86是线圈的两端,30是常电源供电端,87是继电器电源输出端。这种类型的继电器是常开触点继电器。当线圈通电时,有电流流过电磁线圈,线圈产生电磁吸力,将触点闭合,继电器工作。图1-1-26b所示是5脚继电器,其中87a端子是常闭触点,87是常开触点。继电器不工作时,常闭触点保持闭合;继电器工作时,87a断开,87触点闭合。

图1-1-26 继电器结构

图1-1-27(大众汽车J329继电器)中,1号脚是线圈正极,2号脚是线圈负极接地,3号脚接正极,5号脚是继电器输出端。

图1-1-27 继电器的另一种标注方式

在实际的继电器中,内部还有续流二极管或电阻,其功能是在继电器线圈断开时将线圈的能量释放掉。

2)点火线圈: 点火线圈是发动机点火系统的重要组件。点火线圈由初级线圈和次级线圈组成。当初级线圈通电时,能量蓄积。储能结束后,初级线圈断开,在初级线圈内产生自感,电压可以上升到几百伏。次级线圈和初级线圈的匝数比可达80~100,由于互感效应,在次级线圈可以产生高达30kV的感应电动势。

图1-1-28是点火线圈实物;图1-1-29是点火线圈电路图,1和3针脚之间是初级线圈,2和4脚之间是次级线圈。

图1-1-28 点火线圈

图1-1-29 点火线圈电路

3)电磁阀: 电磁阀工作原理是当电磁线圈通电时,阀芯和阀体就会产生相对位移,以改变流体流量,起到调节、通断等作用。

电磁阀在车辆中的应用也十分广泛。最常见的是喷油器、高压燃油系统流量调节阀、废气再循环电磁阀、空调压缩机流量调节阀、炭罐电磁阀、自动变速器中的换档电磁阀、液压系统中的压力调节阀等。

喷油器是典型的电磁阀,图1-1-30是喷油器实物图,图1-1-31是喷油器内部结构图。

图1-1-30 喷油器实物图

图1-1-31 喷油器内部结构图

(2)电磁线圈的检测方法

1)静态检测: 使用万用表测量继电器、喷油器线圈、电磁阀线圈等类型线圈的电阻值,线圈不能出现断路、短路故障;检测线圈与壳体的绝缘情况,不能存在搭铁故障。电磁线圈电阻根据类型、车型不同而不同,测量时的温度对测量值影响也很大。因此,电磁线圈静态检测不能代替动态检测。

2)动态测量: 继电器除了测量线圈电阻外,还需要通电进行动态测试,以判断触点的动作情况。点火线圈除测量线圈电阻外,还要配合火花塞进行点火测试。对于电磁阀,可使用诊断仪器动作测试功能,检测电磁阀是否动作。

注意: 有的车型电磁阀是使用5V或者PWM脉冲信号供电,电磁阀不能使用12V电压直接供电测试。

7. 电动机

(1)电动机在汽车上的应用

电动机是一种常见的电气部件,在汽车上的应用非常广泛。电动机在汽车上的应用主要有直流电动机、交流电动机和步进电动机3种类型。

1)直流电动机: 采用直流电动机的部件包括:起动机、刮水器电动机、门锁电动机、车窗玻璃升降电动机、天窗电动机、座椅调节电动机、转向助力电动机、鼓风机电动机、电子风扇电动机、油泵电动机等。

图1-1-32是刮水器电动机,图1-1-33是门锁电动机。

图1-1-32 刮水器电动机

2)交流电动机: 采用交流电动机的系统包括有些车型的燃油泵电动机、新能源车型的空调电动机、驱动电机等。

图1-1-34是电动汽车上用为驱动电机的交流电机。

图1-1-33 门锁电动机

3)步进电动机: 采用步进电动机的包括空调系统的风门电动机、怠速调节电动机、增压压力调节电动机等。

图1-1-35是空调风门步进电动机,图1-1-36是怠速步进电动机。

图1-1-34 交流驱动电机

图1-1-35 空调风门步进电动机

图1-1-36 怠速步进电动机

(2)电动机的检测方法

1)静态检测: 使用万用表测量电动机定子线圈阻值,测量线圈与壳体之间的绝缘情况,不得有短路、断路、绝缘失效等情况。

2)动态测量: 电动机最常见的动态测试方式是通电检测,观察电动机是否动作;或者使用诊断仪器的动作测试功能,观察电动机是否运转。

8. 集成电路

(1)集成电路在汽车上的应用

集成电路(integrated circuit)是一种微型电子器件或部件,采用一定的工艺,把一个电路中所需的晶体管、电阻、电容和电感等元器件及布线互连一起,制作在一小块或几小块半导体晶片或介质基片上,然后封装在一个管壳内,成为具有所需电路功能的微型结构。其中所有元器件在结构上已组成一个整体,使电子元器件向着微小型化、低功耗、智能化和高可靠性方面迈进了一大步。

集成电路在汽车上的应用非常多,主要在电子控制单元内部使用。芯片针脚要看芯片上的标记,有标记处是第1个针脚,一般按逆时针方向进行排列。

汽车上的集成电路包括微控制器、功率半导体器件、电源管理器件、LED驱动器、总线驱动器等,应用非常广泛。

图1-1-37是某型号汽油直喷发动机ECU内部结构示意图。在ECU内部,使用了很多集成电路,中间是微处理器,下方是传感器,上方是电源供给,PMIC是电源管理芯片;左侧是总线(CAN、LIN、FlexRay)收发器;右侧是功率输出级,包括H桥驱动(Half-bridge)和低边驱动(low-side driver)。图1-1-38、图1-1-39分别是LIN驱动芯片针脚和实物。

以上ECU内部结构可以划分为5个板块,一是电源板块,二是传感器信号输入板块,三是总线通信板块,四是功率输出级板块,最后也是最重要的微控制器(MCU)板块。

图1-1-37 缸内汽油直喷发动机ECU内部结构示意图

图1-1-38 LIN驱动芯片针脚

图1-1-39 LIN驱动芯片实物

(2)集成电路的检测方法

集成电路的检测方法如下:

1)检测电阻判别法。 可用万用表电阻档检测各针脚与接地(搭铁)端的电阻值,并与标准值比较,若电阻值不符合要求,则说明集成电路有故障。这种方法需要有标准电阻值表,且进行的是静态检测,可用于故障的初步判断。

2)电压测量判断法。 对有可疑的集成电路,测量其针脚电压,将测量的结果与已知数值或经验数据进行比较,进而判断出故障范围。这种方法需要有标准电压值表,且进行的是动态检测。

3)信号检查法。 利用示波器及信号源,检查电路各级的输入和输出信号。对于数字集成电路主要是通过信号来查清它们的逻辑关系。对集成运算放大器来说,需要弄清其放大特性。故障点一般发生在正常与不正常信号电压的两测试点之间的那一段。

4)KGU法。 KGU法即已知良好单元替换法。对有可疑的集成电路,判断是否存在故障的最快办法是采用同型号的、完好的集成电路做替代试验。

注意: 替代试验前,要确保没有过电压、过电流输入或输出,避免烧坏集成电路。 Q1U7F6M+BjZ9u7cm8bl/WibSyc6q1NdIM7Bp+XKHwNbUcPK8XWXa3I8bg8bT1KNp

点击中间区域
呼出菜单
上一章
目录
下一章
×