购买
下载掌阅APP,畅读海量书库
立即打开
畅读海量书库
扫码下载掌阅APP

1.1 资讯

提示:认真学习以下内容,完成资讯后面的学习成果检测。

1.1.1 隔离开关概述

隔离开关基本知识

1)隔离开关的用途

隔离开关是我国电力系统中使用量最大、用途最广泛的高压开关设备。隔离开关又称隔离刀闸,因为它没有专门的灭弧装置,所以不能用来切断负荷电流和短路电流,使用时应与断路器配合。隔离开关的主要用途如下:

(1)隔离电源

在电气设备检修时,先用断路器断开电流后再断开隔离开关,隔离开关有明显可看见的断开点,确保检修设备与带电电网隔开,保证检修工作的安全进行。

(2)改变运行方式

隔离开关与断路器配合,按系统运行方式的需要进行倒闸操作,以改变系统运行接线方式。例如,利用等电位间没有电流通过的原理,用隔离开关将电气设备从一组母线切换到另一组母线上。

(3)接通或断开小电流电路

在运行中,隔离开关可以进行以下操作:

①接通和断开正常运行的电压互感器和避雷器。

②接通和断开励磁电流不超过 2 A的空载变压器,如35kV级1600kV·A及以下或10kV级 320 kV·A及以下的空载变压器,但当电压在20kV及以上时,应使用户外垂直分、合式的三联隔离开关。

③接通和断开电容电流不超过 5 A的空载线路,如 35 kV户内三联隔离开关可分、合5 km以下的线路,户内三联隔离开关可分、合电压10 kV、长度 1 km以内的空载电力电缆。

④接通和断开未带负荷的汇流空载母线。

⑤户外三联隔离开关可分、合电压为 10 kV及以下,且电流在 15A以下的负荷电流。

⑥与断路器并联的旁路隔离开关,当断路器在合闸位置时可接通和断开断路器的旁路电流。

⑦接通和断开变压器中性点的接地线。当中性点接消弧线圈时,只有在系统确认无接地故障时才可进行。

⑧户外带消弧角的三联隔离开关可接通和断开电压为 10 kV及以下,电流为 70A以下的环路均衡电流。

2)隔离开关的种类及型号

隔离开关根据安装地点、极数、电压等级等的不同,有多种分类形式。

①按安装场所分为户内式和户外式两种。

②按相数分为单相式和三相式两种,如图 1.2 所示。

③按每极支柱绝缘子的数目分为单柱式、双柱式和三柱式,如图 1.3 所示。

④按隔离开关的动作方向分为闸刀式、旋转式、伸缩式、摆动式、插入式等。

⑤按所配操动机构分为手动式、电动式、气动式和液压式等。

⑥按使用环境分为普通型和防污型两种。

⑦按断口两端有无接地装置及附装接地开关的数量不同,分为不接地、单接地和双接地三种。

⑧按使用特性的不同分为一般用、快分用和变压器中性点接地三类。

⑨按结构形式不同可分为双柱水平旋转式、双柱V形水平旋转式、单柱双臂垂直伸缩式、三柱水平旋转式、单柱单臂垂直伸缩式、双柱水平伸缩式、三柱(或五柱)组合式。

图 1.2 按相数分类的隔离开关

国产隔离开关的型号及含义如图 1.4 所示。

如GW4-126D/ 1250-40各部分含义为:G表示隔离开关,W表示户外,4为设计序号,额定电压为 126 kV,D表示有接地隔离开关,额定电流为 1250 A,额定峰值耐受电流(热稳定电流)为 40 kA。

3)隔离开关的技术参数

隔离开关的技术参数有额定电压、额定电流、动稳定电流和热稳定电流。

①额定电压:隔离开关能承受的正常工作线电压,单位为kV。

②额定电流:隔离开关可以长期通过的工作电流,单位为A。隔离开关长期通过额定电流时,其各部分的发热温度不超过允许值。

③动稳定电流:隔离开关在闭合位置时所能通过的短路电流峰值,称为动稳定电流,也称为额定峰值耐受电流,单位为kA。它表明隔离开关在冲击短路电流作用下承受电动力的能力。这个值的大小由导电及绝缘等部分的机械强度所决定。

图 1.3 按每极支柱绝缘子的数目分类的隔离开关

图 1.4 隔离开关的型号及含义

④热稳定电流:隔离开关在规定时间内允许通过的最大电流,单位为kA。它表示隔离开关承受短路电流热效应的能力,以短路电流的有效值表示。隔离开关的铭牌上规定了一定时间(1 s,2 s,4 s)的热稳定电流。

4)隔离开关的基本结构

如图 1.5 所示,隔离开关的基本结构由导电部分、绝缘子、传动机构、支持底座和操动机构组成。

(1)导电部分

导电部分包括触头、闸刀、接线座。其作用是传导电路中的电流。导电部分通过支持绝缘子固定在支持底座上,用于关合和断开电路,主要包括由操作绝缘子带动而转动的刀闸(动触头或导电杆)、固定在支持底座上的静触头和用来连接母线或设备的接线端。刀闸常由两条或多条平行的铜板或铜管组成,铜板的厚度和条数由隔离开关的额定电流决定。电压等级较高的隔离开关对地距离较高,为了便于母线和电气设备的检修,隔离开关还带有接地刀闸,用其来代替接地线,还要在两者之间装设机械闭锁装置,以保证操作顺序的正确性。

(2)绝缘子

绝缘子包括支持绝缘子和操作绝缘子。其作用是将带电部分和接地部分绝缘开来,并能可靠地承受隔离开关合分单元重力及与之相连接的导线拉力,以及故障电流所产生的电动力、风力、地震引起的振动力,部分或全部绝缘子同时也用作传动机构。隔离开关的绝缘主要有对地绝缘和断口绝缘两种。对地绝缘一般是由支持绝缘子和操作绝缘子等构成。它们通常采用瓷质绝缘子,有的也采用环氧树脂、硅橡胶或环氧玻璃布板等作绝缘材料。具有明显可见的间隙断口的绝缘,通常以空气为绝缘介质。隔离开关断开后,断口间的击穿电压必须大于相对地之间的击穿电压,这样当电路中发生危险的过电压时,首先是相对地发生放电,从而避免触头间的断口先被击穿,保证检修人员安全。

图 1.5 隔离开关的基本结构

(3)传动机构

其作用是接受操动机构的力矩,并通过拐臂、连杆、轴齿或操作绝缘子,将运动传动给触头,以完成隔离开关的分、合闸动作。可根据运行需要,采取三相联动或分相操动方式。

(4)支持底座

该部分起支持和固定作用,其将导电部分、绝缘子、传动机构、操动机构等固定为一体,并使其固定在基础上。支持底座常用螺丝固定在构架或墙体上。

(5)操动机构

其作用是通过手动、电动、气动、液压向隔离开关的动作提供能源。操动机构需准确地执行操作指令,将指令转换为操作能源相应的动作,将手动或电机转动转换为符合要求的机构输出轴的转动,并通过操作传动机构传递至导电部分以执行相应的分、合闸功能。杠杆式手动操动机构用于额定电流小于 3000 A的隔离开关;蜗轮式手动操动机构用于额定电流大于 3000 A的隔离开关。操动机构由电动机、机械减速传动系统、电气控制系统及箱壳组成,可进行远方控制,也可就地电动控制或利用手柄进行人力操作。

5)隔离开关的操动机构

隔离开关的操动机构是独立于高压开关(包括断路器、隔离/接地开关、负荷开关等)本体以外,对高压开关进行操作的机械操动装置。其主要任务是将其他形式的能量转换成机械能(力和行程或力矩和转角),使高压开关准确地进行分、合闸操作。

(1)隔离开关的操动机构的结构、型号及分类

隔离开关的操动机构的基本构成包括操作能源系统、分闸与合闸控制系统、传动系统及辅助装置 4 个部分。操动机构的型号和含义如图 1.6 所示。

图 1.6 操动机构的型号及含义

操动机构按操动方式或传动介质分类,可分为手动机构、电磁机构、弹簧机构、电动机构、液压机构、气动机构等类型。

①手动机构(CS型):用手动直接合闸的操动机构。

②电磁机构(CD型):用电磁铁合闸的操动机构。

③弹簧机构(CT型):事先用人力或电动机使弹簧储能实现合闸与分闸的操动机构。

④电动机构(CJ型):用电动机合闸与分闸的操动机构。

⑤液压机构(CY型):用高压油推动活塞实现合闸与分闸的操动机构。

⑥气动机构(CQ型):用压缩气体推动活塞实现合闸与分闸的操动机构。

在以上类型的操动机构中,气动机构、弹簧机构、电磁机构、液压机构主要用于断路器,手动机构和电动机构主要用于隔离开关。

(2)隔离开关操动机构的原理及结构

①手动操动机构。手动操动机构是靠手动直接合闸的操动机构,主要用来操作 220 kV以下高压隔离开关的分、合闸。手动操动机构主要由基座、操作手柄、定位装置和辅助开关组成,一般配有电磁锁装置,可实现隔离开关、接地开关与断路器三者之间的电气连锁,防止误操作。手动操动机构的优点是结构简单、价格低廉、维护工作量少。但是,采用手动操动机构时,必须在隔离开关安装地点就地操作。随着电力自动化程度的提高、智慧变电站的发展,能够实现程序控制的电动操动机构应用更加广泛。电动操动机构既可以电动操作,也可以手动操作。

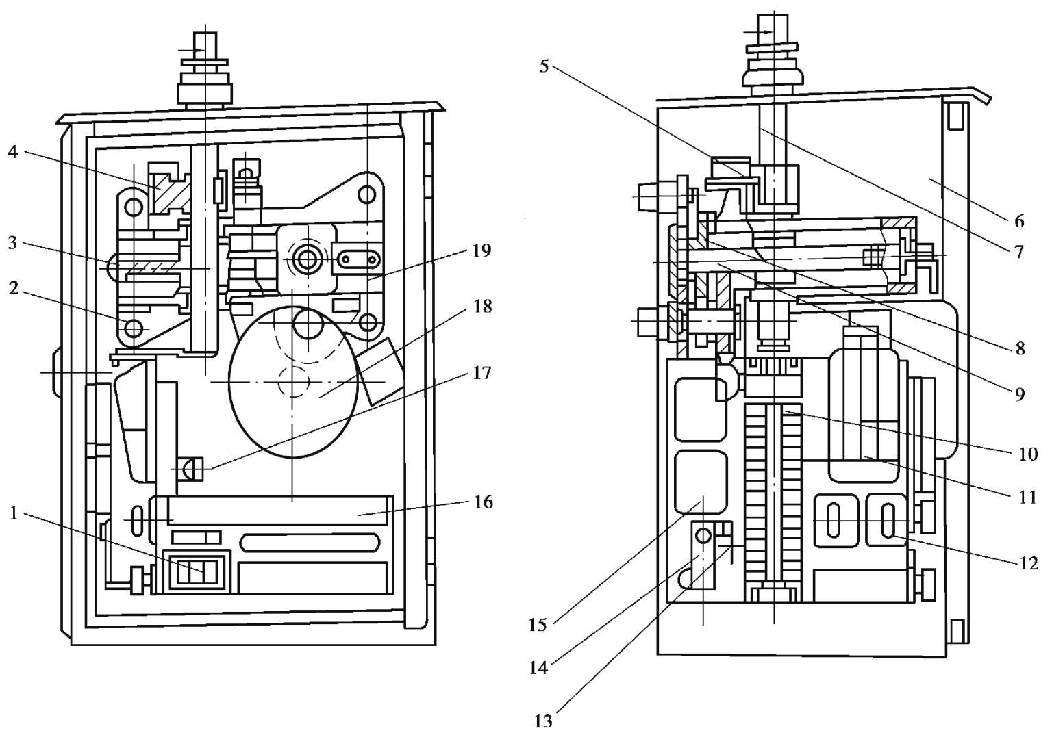
②CJ型电动操动机构。电动操动机构主要由电动机、传动齿轮、蜗轮、蜗杆、转轴、减速装置、定位装置、辅助开关控制电器、保护电器等组成。电动操动机构一般装于密封金属箱内,机构箱采用三面开门结构,便于维护和检修,打开前门后,从箱内两侧拧开蝶形螺母后,即可打开两侧门。 CJ型电动操动机构可在现场控制和远方遥控,以CJ6型电动操动机构为例,其内部结构如图 1.7 所示。 CJ6 型电动操动机构主要由电动机、传动齿轮、蜗轮、蜗杆、转轴、辅助开关及电动机控制附件等组成,机构箱体由钢板或不锈钢板制成,起支撑及保护作用,为便于安装和检修,在正面和侧面各开一门。此操动结构由三相交流电动机驱动,通过齿轮及蜗轮减速输出的动力供操作隔离开关和接地开关之用,可进行远方控制,也可就地电动控制或利用手柄进行手动操作。箱内装设手动与电动连锁装置,以实现手动操作与电动操作之间的电气连锁。

图 1.7 CJ6 电动操作机构内部结构图1—按钮;2—框架;3———蜗轮;4—定位件;5—行程开关;6—箱;7—主轴;8—齿轮;9—蜗杆;10—辅助开关;11—刀开关;12—组合开关;13—加热器;14—热继电器;15—接触器;16—接线端子;17—照明灯座;18—电动机;19—手动闭锁开关

电动机为三相交流异步电动机。机械减速传动系统包括齿轮、蜗杆、蜗轮及输出主轴。蜗杆端部为方轴,可装手动摇柄进行手动操作。为使传动灵活和提高机械可靠性,在蜗杆及齿轮轴两端支承处均装有滚动轴承。

电气控制部分包括低压断路器、控制按钮(分、合、停各一个)、旋钮开关(就地/远方选择)、交流接触器、行程开关、温度控制器、加热器及辅助开关等。低压断路器具有过载及断路保护功能,可对整个控制回路及电动机进行保护。行程开关与机构限位缓冲装置在一起,当机构分、合闸到位后用来切断电动机的控制回路,使其停止。辅助开关具有 6对或 8对常开触头、6对或 8对常闭触头,主要供用户电气联锁及信号指示用,触头对数也可根据用户要求供应。为保证手动操作人员安全,机构设置了手动、电动相互闭锁。手动操作时,用摇把直接操作蜗杆轴,进行分、合闸操作。摇把插入电动机构蜗杆时,摇把使得串联在控制回路中的微动开关打开,控制回路失电,此时能手动操作,不能电动操作;将摇把拔出时,串联在控制回路中的微动开关合上,控制回路得电,即可进行电动操作。这样就实现了手动、电动相互闭锁,可防止手动操作时电动机突然工作使手柄旋转伤人。

电气控制系统控制电动机,电动机通过两级齿轮减速及一级蜗杆-蜗轮减速,带动输出主轴转动。齿轮减速使用规格不同的齿轮可组成两种传动比,使总的传动也有两种,第一种传动使电动机机构分闸或合闸一次动作时间为 7.5 s(180°)或 3.75 s(90°),第二种传动使电动机机构分闸或合闸一次动作时间为 3.5 s(180°)。

操作操动机构时,先将电源转换开关接通电源。分闸时,按下分闸按钮(就地或远方),将分闸用接触器的控制线圈接通,分闸接触器触点闭合,使三相交流电接通,电动机向分闸方向旋转,通过二级齿轮变速,再经蜗轮、蜗杆减速后将力矩传送给机构主轴,使主轴旋转180°。当主轴转至分闸终点位置时,主轴上的定位件使微动开关动作,切断分闸接触器的控制线圈电流,触点分开,电动机三相电源相应被切断。

合闸时,按下合闸按钮(就地或远方),将合闸用接触器的控制线圈接通,合闸接触器触点闭合,主轴按分闸相反方向旋转使隔离开关合闸,原理与分闸相同。

除了分、合闸按钮,还设有停止按钮以满足异常情况下使用。当发生异常情况时,可立即按“停”,使机构停止转动。操作就地/远方选择旋钮,可以实现就地操作时不能进行远方控制操作及远方控制操作时不能进行就地操作的转换。

机构主轴下还装有动合、动断辅助开关,供电气连锁及信号指示用。箱内控制板上还装有热继电器、低压断路器,可以对电动机进行短路、过载保护,低压断路器的热保护功能还能起断相保护,以避免当电机过载、机械卡死或发生其他意外情况而烧毁电动机。低压断路器的电流整定值范围为 1.6 ~ 2.5 A,使用时应将低压断路器整定为电动机的额定电流值。为防止机构箱内电气控制元件受潮和在寒冷情况下操作,机构箱内还装有加热驱潮装置,并根据温湿度自动控制,必要时也能进行手动投切。加热器接成三相平衡的负荷,且与电机电源分开。为方便维护和检修,机构箱内装有照明灯。控制电缆进线孔在机构箱底部,为了便于接线,电缆进线孔与接线端子间距离不小于 150 mm。

1.1.2 认识GW4 型隔离开关

GW4 型隔离开关可配手动或电动操动机构,三相联动操作,电动操作可实现就地和远方控制。根据需要还可配装接地开关。该型隔离开关结构简单紧凑,尺寸小,质量轻,广泛用于 10 ~ 110 kV配电装置中。由于闸刀在水平面内摆动,因此对相间距离的要求较大。

(1)GW4-126 型隔离开关的结构特点

GW4-126 型隔离开关按结构形式属于双柱水平旋转式、电动操作三相联动隔离开关。结构上由接线座装配、触指臂装配(左触头)、触头臂装配(右触头)、绝缘子、底座装配、轴承座装配、接地刀杆和接地开关底座、传动系统、操作机构等组成,如图 1.8 所示。导电系统由电动(或手动)操动机构操动,接地隔离开关由手动操动机构操动。

图 1.8 GW4-126 型隔离开关外观图(合闸状态)

(2)GW4-126 型隔离开关的动作原理

GW4-126 型的分、合闸操作,由传动轴通过连杆机构带动两侧柱型瓷柱沿相反方向各自回转 90°,使闸刀在水平面上转动,实现分、合闸。根据使用需要可在单侧或两侧安装接地隔离开关,也可以不安装接地隔离开关。装设接地隔离开关时,当导电系统分开后,利用接地隔离开关将待检修设备或线路接地,以保证安全。导电系统与接地隔离开关间设有防止误操作的机械闭锁装置,并配置微机五防锁和辅助开关,构成电气防止误操作联锁回路,以实现机械闭锁和电气联锁,来达到防止误操作的目的。

(3)GW4-126 型隔离开关的技术参数

GW4-126 型隔离开关的技术参数见表 1.1。

表 1.1 GW4-126 型隔离开关的技术参数

续表

1.1.3 隔离开关的运行维护知识

(1)隔离开关的检查和维护

隔离开关在运行中必须巡视检查以下项目:

①标志牌名称、编号齐全、完好。

②绝缘子完整清洁,无破裂、无损伤放电现象;防污闪措施完好。

③导电部分触头接触良好,无过热、变色及移位等异常现象;动触头的偏斜不大于规定数值;接点压接良好,无过热现象,引线驰度适中。

④传动连杆无弯曲、连接无松动、无锈蚀,开口销齐全;轴销无变位脱落、无锈蚀、润滑良好;金属部件无锈蚀,无鸟巢。

⑤法兰连接完好,无裂痕,连接螺丝无松动、锈蚀、变形。

⑥接地刀闸位置正确,弹簧无断股、闭锁良好,接地杆的高度不超过规定数值;接地引下线完整且可靠接地。

⑦机械闭锁装置完好、齐全,无锈蚀变形。

⑧操动机构密封良好,无受潮。

⑨接地装置标志色醒目,螺栓压接良好,无锈蚀。

(2)隔离开关的操作要求

①隔离开关操作前应检查断路器、相应接地刀闸确已拉开并分闸到位,确认送电范围内接地线已拆除。

②隔离开关电动操动机构操作电压应为额定电压的 85%~ 110%。

③手动合隔离开关应迅速、果断,但合闸终了时不可用力过猛。合闸后应检查动、静触头是否合闸到位,接触是否良好。

④手动分隔离开关开始时,应慢而谨慎。当动触头刚离开静触头时,应迅速拉开后检查动、静触头断开情况。

⑤隔离开关在操作过程中,如有卡滞、动触头不能插入静触头、合闸不到位等现象时,应停止操作,待缺陷消除后再继续进行。

⑥在操作隔离开关过程中,若瓷瓶有断裂等异常状况时应迅速撤离现场,防止人身受伤。对GW6 型、GW16 型等隔离开关,合闸操作完毕后,应仔细检查操动机构上、下拐臂是否均已越过死点位置。

⑦电动操作的隔离开关正常运行时,其操作电源应断开。

⑧操作带有闭锁装置的隔离开关时,应按闭锁装置的使用规定进行,不得随便动用解锁钥匙或破坏闭锁装置。

⑨严禁用隔离开关进行下列操作。

a.带负荷分、合操作。

b.配电线路的停送电操作。

c.雷电时,拉合避雷器。

d.系统有接地(中性点不接地系统)或电压互感器内部故障时,拉合电压互感器。

e.系统有接地时,拉合消弧线圈。

(3)操作隔离开关的注意事项

①操作前检查断路器三相应在分闸位置,以防带负荷拉合隔离开关。

②隔离开关、接地刀闸和断路器之间安装有防误操作的闭锁装置,倒闸操作一定要按顺序进行。如被闭锁不能操作时,应查明原因,正常情况下不能随意解锁。

③操作中,如发现有绝缘子严重破损、隔离开关传动杆严重损坏等缺陷,不得进行操作。

④远方控制操作完毕应检查隔离开关的实际位置,以免因控制回路中传动机构故障,出现拒分、拒合现象,同时应检查隔离开关的触头是否到位。

⑤即使发生错合隔离开关,甚至在合闸瞬间发生了电弧,也不准再将隔离开关拉开,否则会造成带负荷拉隔离开关的恶果,此时应将隔离开关合好后切断断路器,再拉开错合的隔离开关。

⑥发现错拉隔离开关时,在隔离开关(触头)刚刚断开而弧光未被拉断时,应立即将隔离开关合上,以避免造成弧光短路事故。但当隔离开关全部拉开时,则不能将隔离开关再合上。

1.1.4 隔离开关的检修知识

(1)隔离开关检修的分类及周期

根据交流高压隔离开关设备的状况、运行时间等因素来决定是否应该对设备进行检修。

①小修:对设备不解体进行的检查与修理。一般应结合设备的预防性试验进行,但周期一般不应超过 3 年。

②大修:对设备的关键零部件进行全面解体的检查、修理或更换,使之重新恢复到技术标准要求的正常功能。对未实施状态检修且未经过完善化改造、不符合国家电网公司《关于高压隔离开关订货的有关规定》和《交流高压隔离开关技术标准》的隔离开关设备,应该对其进行完善化大修。对未实施状态检修但经过完善化改造、符合国家电网公司《关于高压隔离开关订货的有关规定》和《交流高压隔离开关技术标准》要求的隔离开关设备,推荐每 8 ~10 年对其进行一次大修。

③临时性检修:针对运行中发现的危急缺陷、严重缺陷及时进行检修。

④对实施状态检修的高压隔离开关设备,应根据对设备全面的状态评估结果来决定对隔离开关设备进行相应规模的检修工作。

(2)隔离开关的检修项目

隔离开关的小修包括以下项目:

①清除动、静触头表面氧化物,然后涂抹导电脂(导电脂的型号根据厂家要求)。

②检查动、静触头的插入或夹持深度,动、静触头之间的压力,并测量隔离开关和接地刀闸回路电阻。

③检查并清扫操作机构和传动部分轴承、轴套、齿轮、蜗轮、蜗杆等,必要时加润滑脂。

④检查传动部分与带电部分的距离是否符合要求;定位器和制动装置是否牢固,动作是否正确;检查传动机构的运转情况,各部位是否动作顺利、终止位置是否准确,必要时进行调整。

⑤检查各连接部分的紧固件,并按规定的力矩进行紧固。

⑥对绝缘子表面进行清洗和清扫。

⑦对电气操作回路、辅助触点、防误闭锁装置进行检查、校验。

⑧测量电动机构动力电源的绝缘性。

⑨检查隔离开关的底座是否良好,接地是否可靠。

为了解高压隔离开关设备在检修前的状态以及为检修后试验数据进行比较,在检修前,应对被检隔离开关进行检查和试验。隔离开关的检修前检查和试验应包括以下项目:

①隔离开关在停电前、带负荷状态下的红外测温。

②隔离开关主回路电阻测量。

③隔离开关的电气传动及手动操作。

高压隔离开关的大修包括以下项目:

①导电部分的检修包括主触头的检修、触头弹簧的检修、导电臂的检修、接线座的检修。

②操动机构和传动部分检修。

③绝缘子检查。隔离开关的大修项目与技术要求见表 1.2。隔离开关大修后应按表1.3的项目和技术要求进行调整及试验工作。

表 1.2 隔离开关的大修项目与技术要求

表 1.3 隔离开关大修后的调整及试验工作

(3)检修后隔离开关的投运

隔离开关在检修后,在投运前应进行以下工作:

①对所有紧固件进行紧固。

②接好隔离开关引线,接线端子及导线对隔离开关不应产生附加拉伸和弯曲应力。

③对所有相对转动、相对移动的零件进行润滑。

④金属件外表面除锈、着漆。

⑤清理现场,清点工具。

⑥整体清扫工作现场。

⑦安全检查。

⑧投运。

资讯学习成果检测

任务 1 咨讯检测答案

一、填空题

(1)隔离开关又称___,因为它没有专门的___,所以不能用来切断___和___。

(2)隔离开关可接通和断开励磁电流不超过___的空载变压器、电容电流不超过的空载线路。

(3)隔离开关接通和断开变压器中性点的接地线时,但当中性点接消弧线圈时,只有时才可进行。

(4)隔离开关按每极支柱绝缘子的数目分为___、___和___。

(5)隔离开关所配操动机构主要有___式和___式。

(6) GW4-126D按绝缘子数目分类属于___式,按动作方式分类属于式。

(7)热稳定电流是指隔离开关在规定时间内,允许通过的最大电流为___,单位为kA。

(8)隔离开关的基本结构由___、____、____、___、等组成。

(9)电动操动机构主要由、____、____、___、____、减速装置、定位装置、辅助开关和控制、保护电器等组成。

二、看图填空

图 1.9

图 1.10 T7vIYN6ynQFJTeR1k3PB+6J8YknKkOG0z9jeRmolhyTJ/aiX7Up7hd02zd6X9Lx7

点击中间区域
呼出菜单
上一章
目录
下一章
×