



胫骨平台后倾角的测量方法包括X线片和MRI测量,两者之间的测量数值差异较大。内、外侧平台后倾角并不相同,外侧大于内侧。
X线片测量后倾角是目前最为广泛应用的测量方法,通过拍摄负重位全长侧位X线片(图5-4)测量胫骨骨干轴线及胫骨平台关节面,这种方法有时由于胫骨内外侧平台在X线片上重叠,无法区分外侧和内侧后倾角(EOS技术,图5-4)。
图5-4 全长侧位X线片测量平台后倾角
通过EOS技术拍摄标准全长侧位X线片,通过近端和远端的“双圆法”确定胫骨骨干轴线,另外标记胫骨平台的切线,切线与胫骨骨干轴线的垂线之间的夹角,即为胫骨平台后倾角。
MRI测量方法的优点是可以将外侧和内侧后倾角进行分别测量,同时不需要进行胫骨全长扫描。
见图5-5。
图5-5 确定胫骨近端轴线
选取平面需满足以下三个要求:①可见髁间棘;②可见后交叉韧带止点;③胫骨近端呈倒凸字形。画一圆,与胫骨近端、前后侧皮质相切,在该圆的圆周上找一点作为圆心,画一个与前后侧皮质相切的圆,两圆圆心的连线为轴线。
见图5-6。
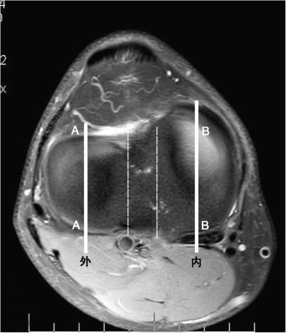
图5-6 选取测量平面
分别选取内侧平台或外侧平台中间层面测量内侧或外侧平台后倾角,AA为外侧,BB为内侧。
见图5-7。
图5-7 测量胫骨平台后倾角
胫骨平台前后缘最高点的连线与胫骨轴线垂线的夹角为胫骨平台后倾角。前后缘连线位于垂线下方为正值,否则为负值。A.外侧后倾角;B.内侧后倾角。
可以分别测量内侧或外侧胫骨平台前移的数值,本章节介绍外侧胫骨平台前移的测量方法。测量可以通过常规的MRI进行(图5-8),如有条件,可以进行负重位MRI测量(图5-9)。
图5-8 外侧胫骨平台前移的MRI测量
选择腓骨头显影的第一个层面,或股骨外侧髁后方正圆(红色)的层面;测量股骨后髁(蓝线)与胫骨平台后缘(绿线)软骨下骨之间的距离。
图5-9 常规MRI与站立位MRI测量胫骨前移数值的比较
A.常规平卧位MRI测量胫骨前移数值为3mm;B.同一患者站立位MRI测量胫骨前移数值为9mm。