



用户可以将由某些对象围成的封闭区域转变为面域。这些封闭区域可以是圆、椭圆、封闭二维多段线、封闭样条曲线等,也可以是由圆弧、直线、二维多段线和样条曲线等构成的封闭区域。
面域是具有边界的平面区域,内部可以包含孔。
1.执行方式
命令行:REGION(快捷命令:REG)。
菜单栏:选择菜单栏中的“绘图”→“面域”命令。
工具栏:单击“绘图”工具栏中的“面域”按钮
。
功能区:单击“默认”选项卡“绘图”面板中的“面域”按钮
。
2.操作步骤
布尔运算是数学中的一种逻辑运算,用在AutoCAD绘图中,能够极大地提高绘图效率。布尔运算包括并集、交集和差集3种,其操作方法类似,一并介绍如下。
1.执行方式
命令行:UNION(并集,快捷命令:UNI)或INTERSECT(交集,快捷命令:IN)或SUBTRACT(差集,快捷命令:SU)。
菜单栏:选择菜单栏中的“修改”→“实体编辑”→“并集”(差集、交集)命令。
工具栏:单击“实体编辑”工具栏中的“并集”按钮
(“差集”按钮
、“交集”按钮
)。
功能区:单击“三维工具”选项卡“实体编辑”面板中的“并集”按钮
、“交集”按钮
和“差集”按钮
。
2.操作步骤
选择对象后,系统对所选择的面域进行并集(交集)计算。
选择对象后,系统对所选择的面域进行差集计算,运算逻辑是主体对象减去与参照体对象重叠的部分。布尔运算的结果如图3-85所示。
图3-85 布尔运算的结果
本实例绘制如图3-86所示的垫片。本实例主要通过矩形命令、圆命令、布尔运算中的并集和差集命令来绘制。
绘制步骤
(1)单击“默认”选项卡“图层”面板中的“图层特性”按钮
,打开“图层特性管理器”选项板,新建如下两个图层。
①第一图层命名为“粗实线”图层,线宽为0.30,其余属性默认。
②第二图层命名为“中心线”图层,颜色为红色,线型为CENTER,其余属性默认。
(2)将“中心线”图层设置为当前图层。单击“默认”选项卡“绘图”面板中的“直线”按钮
,绘制直线。端点坐标分别为{(-55,0),(55,0)}和{(0,-55),(0,55)};单击“默认”选项卡“绘图”面板中的“圆”按钮
,绘制圆。圆心坐标为(0,0),半径为35,绘制结果如图3-87所示。
图3-86 垫片
图3-87 绘制中心线
(3)将“粗实线”图层设置为当前图层。单击“默认”选项卡“绘图”面板中的“圆”按钮
,绘制圆。圆心坐标分别为(-35,0)、(0,35)、(35,0)、(0,-35),半径为6的圆;重复圆命令绘制圆心坐标分别为(-35,0)、(0,35)、(35,0)、(0,-35),半径为15的圆;重复圆命令绘制圆心坐标为(0,0),半径分别为15和43的圆,绘制结果如图3-88所示。
(4)单击“默认”选项卡“绘图”面板中的“矩形”按钮
,绘制矩形。角点坐标分别是(-3,-20)和(3,20),绘制结果如图3-89所示。
图3-88 绘制圆
图3-89 绘制矩形
(5)单击“默认”选项卡“绘图”面板中的“面域”按钮
,创建面域,命令行提示与操作如下。
(6)单击“三维工具”选项卡“实体编辑”面板中的“并集”按钮
,将直径86的圆与直径30的四个圆进行并集处理,命令行提示与操作如下。
并集处理效果如图3-90所示。
(7)单击“三维工具”选项卡“实体编辑”面板中的“差集”按钮
,以并集对象为主体对象,直径为30的中心圆为对象进行差集处理,命令行提示与操作如下。
效果如图3-88所示。
技巧: 布尔运算的对象只包括实体和共面面域,对于普通的线条对象无法使用布尔运算。
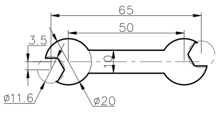
动手练一练——绘制扳手
利用面域相关功能绘制如图3-91所示的扳手。
图3-90 并集处理
图3-91 扳手
思路点拨
源文件:源文件\第3章\扳手.dwg
利用一些基本的绘图命令来绘制扳手,然后利用面域命令创建面域,最后利用差集命令完成图形的绘制。