



圆类命令主要包括“圆”“圆弧”“圆环”“椭圆”及“椭圆弧”命令,这几个命令是AutoCAD中最简单的曲线命令。
1.执行方式
命令行:CIRCLE(快捷命令:C)。
菜单栏:选择菜单栏中的“绘图”→“圆”命令。
工具栏:单击“绘图”工具栏中的“圆”按钮
。
功能区:
单击“默认”选项卡“绘图”面板中的
“圆”下拉菜单(如图3-20所示)。
图3-20 “圆”下拉菜单
2.操作步骤
命令行提示与操作如下。
3.选项说明
选项含义如表3-2所示。
表3-2 “圆”命令选项含义
注意:
选择菜单栏中的“绘图”→
“圆”命令,其子菜单中多了一种
“相切、相切、相切”的绘制方法,当选择此方式时(如图3-22所示),命令行提示与操作如下。
注意:
对于圆心点的选择,除了直接输入圆心点外,还可以利用圆心点与中心线的对应关系,利用对象捕捉的方法选择。按下状态栏中的“对象捕捉”按钮
,命令行中会提示命令行中会提示“命令:<对象捕捉开>”。
图3-22 “相切、相切、相切”绘制方法
本例绘制挡圈,如图3-23所示。本例要绘制一个简单的二维图形,主要利用圆命令和偏移命令进行绘制。圆命令用于绘制挡圈外轮廓及定位孔;偏移命令用于绘制形状相同而尺寸不同的对象。
图3-23 挡圈
绘制步骤
(1)单击“默认”选项卡“图层”面板中的“图层特性”按钮
,
打开“图层特性管理器”对话框。
单击“新建图层”按钮
,
新建“中心线”和“轮廓线”两个图层,图层设置如图3-24所示。
图3-24 “图层特性管理器”对话框
(2)将“中心线”层设置为当前图层,单击“默认”选项卡“绘图”面板中的“直线”按钮
,绘制中心线,命令行的提示与操作如下。
绘制结果如图3-26所示。
图3-25 捕捉中点
图3-26 绘制中心线
(3)将“轮廓线”层设置为当前图层。单击“默认”选项卡“绘图”面板中的“圆”按钮
,绘制同心圆,命令行的提示与操作如下。
采用同样的方法,绘制R180和R190的同心圆,如图3-27所示。
(4)单击“默认”选项卡“绘图”面板中的“圆”按钮
,绘制定位孔,命令行的提示与操作如下。
图3-27 绘制同心圆
绘制结果如图3-28所示。
(5)将当前图层转换为“中心线”层。单击“默认”选项卡“绘图”面板中的“直线”按钮
,绘制定位圆中心线,命令行的提示与操作如下。
绘制结果如图3-29所示。
(6)单击状态栏中的“显示/隐藏线宽”按钮
,显示图线线宽,最终绘制结果如图3-23所示。
动手练一练——绘制盘盖
利用“直线”和“圆”命令绘制如图3-30所示的盘盖。
图3-28 绘制定位孔
图3-29 绘制定位圆中心线
图3-30 盘盖
思路点拨
源文件:源文件\第3章\法兰.dwg
先设置图层,然后利用“直线”命令绘制中心线,然后利用“圆”命令绘制轮廓。
图3-31 “圆弧”下拉菜单
1.执行方式
命令行:ARC(快捷命令:A)。
菜单栏:选择菜单栏中的“绘图”→“圆弧”命令。
工具栏:单击“绘图”工具栏中的“圆弧”按钮
。
功能区:
单击“默认”选项卡
“绘图”面板中的
“圆弧”下拉菜单(如图3-31所示)。
2.操作步骤
命令行提示与操作如下。
3.选项说明
(1)用命令行方式绘制圆弧时,可以根据系统提示选择不同的选项,具体功能和利用菜单栏中的“绘图”→“圆弧”中子菜单提供的11种方式相似。这11种方式绘制的圆弧分别如图3-32(a)~(k)所示。
图3-32 11种圆弧绘制方法
(2)需要强调的是:“连续”方式绘制的圆弧与上一线段圆弧相切;继续绘制圆弧段,只提供端点即可。
注意:
绘制圆弧时,注意圆弧的曲率是遵循逆时针方向的,所以在选择指定圆弧两个端点和半径模式时,需要注意端点的指定顺序,否则有可能导致圆弧的凹凸形状与预期的相反。
由于图形中出现了两种不同的线型,所以需要设置图层来管理线型。利用直线和圆弧命令绘制图形,如图3-33所示。
图3-33 销
绘制步骤
(1)单击“默认”选项卡“图层”面板中的“图层特性”按钮
,
打开“图层特性管理器”对话框。
新建“中心线”和“轮廓线”两个图层,如图3-34所示。
图3-34 图层设置
(2)将当前图层设置为“中心线”层,单击“默认”选项卡“绘图”面板中的“直线”按钮
,绘制中心线,端点坐标值为{(100,100),(138,100)},结果如图3-31所示。
(3)将当前图层转换为“轮廓线”图层,单击“默认”选项卡“绘图”面板中的“直线”按钮
,绘制坐标点为(104,104),(@30<1.146)和(104,96),(@30<-1.146)的直线,绘制的效果如图3-35所示。
(4)单击“默认”选项卡“绘图”面板中的“直线”按钮
,分别连接两条斜线的两个端点,结果如图3-36所示。
图3-35 绘制斜线
图3-36 连接端点
注意:
绘制直线,一般情况都是采用笛卡儿坐标系下输入直线两端点的直角坐标来完成,例如:
但是对于绘制与水平线倾斜某一特定角度的直线时,直线端点的笛卡儿坐标往往不能精确算出,此时需要使用极坐标模式,即输入相对于第一端点的水平倾角和直线长度,“@直线长度<倾角”,如图3-37所示。
图3-37 极坐标系下“直线”命令
(5)单击“默认”选项卡“绘图”面板中的“圆弧”按钮
,绘制圆弧顶,命令行提示与操作如下。
图3-38 指定第二点
图3-39 圆弧顶绘制结果
最终结果如图3-33所示。
注意:
系统默认圆弧的绘制方向为逆时针,即指定两点后,圆弧从第一点沿逆时针方向伸展到第二点,所以在指定端点时,一定要注意点的位置顺序,否则绘制不出预想中的圆弧。定位销有圆锥形和圆柱形两种结构。为保证重复拆装时定位销与销孔的紧密性和便于定位销拆卸,应采用圆锥销。一般取定位销直径d=(0.7~0.8)d2,d2为箱盖箱座连接凸缘螺栓直径。其长度应大于上下箱连接凸缘的总厚度,并且装配成上、下两头均有一定长度的外伸量,以便装拆,如图3-41所示。
图3-40 指定夹角
图3-41 定位销
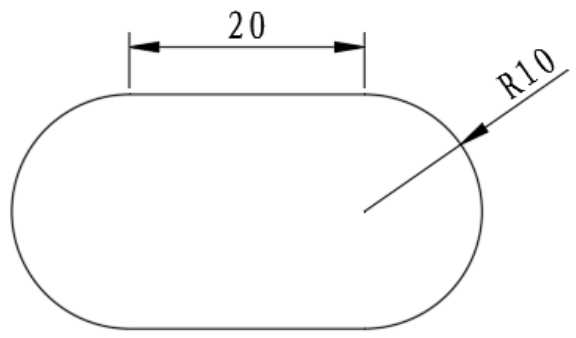
动手练一练——绘制圆头平键
绘制如图3-42所示的圆头平键。
图3-42 圆头平键
思路点拨
源文件:源文件\第3章\圆头平键.dwg
首先利用“直线”命令绘制两条水平线,然后利用“圆弧”命令绘制两边圆头。
1.执行方式
命令行:ELLIPSE(快捷命令:EL)。
菜单栏:选择菜单栏中的“绘图”→“椭圆”→“圆弧”命令。
工具栏:单击“绘图”工具栏中的“椭圆”按钮
或“椭圆弧”按钮
。
功能区:单击“默认”选项卡“绘图”面板中的“椭圆”下拉菜单(如图3-43所示)。
图3-43 “椭圆”下拉菜单
2.操作步骤
命令行提示与操作如下。
3.选项说明
选项含义如表3-3所示。
表3-3 “椭圆与椭圆弧”命令选项含义
注意:
椭圆命令生成的椭圆是以多义线还是以椭圆为实体,是由系统变量PELLIPSE决定的,当其为1时,生成的椭圆就是以多义线形式存在。