



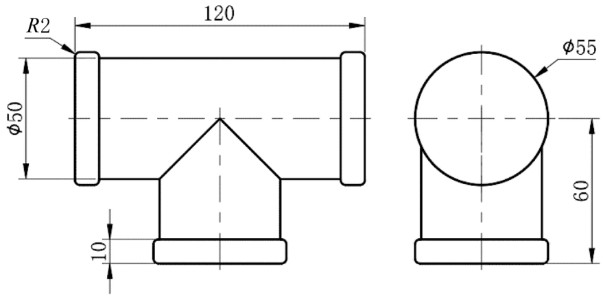
本节以1个简单的实体造型为例,产品结构图如图2-87所示。
图2-87 产品结构图
(1)启动UG 12.0,单击“新建”按钮
,在弹出的【新建】对话框中,把“单位”设为“毫米”,选择“模型”模块,把“名称”设为“ex2-7”。单击“确定”按钮,进入建模环境。
(2)单击“菜单|插入|设计特征|拉伸”命令,在弹出的【拉伸】对话框中单击“绘制截面”按钮
。以
YC-ZC
平面为草绘平面、
Y
轴为水平参考线,绘制第1个圆形截面(50mm),如图2-88所示。
(3)单击“完成”按钮
,在【拉伸】对话框中,对“指定矢量”选择“-XC↓”选项。在“开始”栏中选择“值”选项,把“距离”值设为0mm;在“结束”栏中选择“值”选项,把“距离”值设为50mm;对“布尔”选择“
无”选项。
(4)单击“确定”按钮,创建第1个拉伸特征,如图2-89所示。
图2-88 绘制第1个圆形截面
图2-89 创建第1个拉伸特征
(5)单击“菜单|插入|设计特征|拉伸”命令,在弹出的【拉伸】对话框中单击“绘制截面”按钮
。以
YC-ZC
平面为草绘平面、
Y
轴为水平参考线,绘制第2个圆形截面(
R
55mm),如图2-90所示。
(6)单击“完成”按钮
,在弹出的【拉伸】对话框中,对“指定矢量”选择“-XC↓”选项。在“开始”栏中选择“值”选项,把“距离”值设为50mm;在“结束”栏中选择“值”选项,把“距离”值设为60mm;对“布尔”选择“
合并”选项。
(7)单击“确定”按钮,创建第2个拉伸特征,如图2-91所示。
图2-90 绘制第2个圆形截面
图2-91 创建第2个拉伸特征
(8)单击“边倒圆”按钮
,创建边倒圆特征(
R
2mm),如图2-92所示。
(9)单击“菜单|插入|关联复制|阵列特征”命令,在弹出的【阵列特征】对话框中。对“布局”选择“
圆形”选项,对“指定矢量”选择“ZC↑”选项,把“指定点”设为(0,0,0)。在“间距”栏中选择“数量和跨距”选项,把“数量”值设为3、“跨角”值设为180°。
(10)按住键盘上的Ctrl键,在“部件导航器”中选择
、
和
选项。
(11)单击“确定”按钮,创建阵列特征,如图2-93所示。此时,3个拉伸特征之间没有相交线,互相独立。
(12)单击“菜单|插入|组合|
合并”命令,组合3个圆柱体,如图2-94所示。此时,圆柱之间出现了相交线。
图2-92 创建边倒圆特征
图2-93 创建阵列特征
图2-94 组合3个圆柱体
总结: 在设计产品造型时,尽量用阵列、镜像等方式来绘制实体上相同的特征,可以减少绘制实体的步骤。