购买
下载掌阅APP,畅读海量书库
立即打开
畅读海量书库
扫码下载掌阅APP

2.2刀具切削部分的几何参数

2.2.1刀具切削部分的组成

金属切削刀具的种类很多,总体结构上包含刀头和刀杆。它们切削部分的几何形状与参数都有着共性。国际标准化组织(ISO)以车刀切削部分为基础,制订了一套便于制造、刃磨和测量刀具角度的用以确定金属切削刀具工作部分几何形状的一般术语。刀具切削部分的构造要素如图2.9所示,其定义和说明如下。

前刀面( )———切下的切屑沿其流出的表面,简称前面。

主后刀面( )———与工件上过渡表面相对的表面,简称后面。

副后刀面( )———与工件上已加工表面相对的表面,简称副后面。

主切削刃(S)———前面与主后面的交线。它承担主要的金属切除工作并形成工件上的过渡表面。

副切削刃(S′)———前面与副后面的交线。它参与部分的切削工作,配合主切削刃并最终形成工件上的已加工表面。

刀尖———主、副切削刃的交点。但多数刀具将此处磨成圆弧或一小段直线,如图2.10所示。

图2.9刀具切削部分的构造要素

图2.10刀尖形状

2.2.2刀具角度标注的参考系

要确定金属切削刀具的刀面和刀刃的位置,首先必须建立位置坐标参考系。每一段刀刃都可采用其上的一点(选定点)作参考系原点,再依据切削运动的方向来建立角度标注的参考系。切削运动的方向应按照刀具所处的状态来确认。

在设计、绘制和制造刀具时,刀具尚处于静止状态,这时可以比照刀具实际工作时的主运动方向、进给运动方向和刀具的安装位置建立假定条件的参考系,这就是刀具的静止参考系;当刀具在工作时,可以依据实际的合成切削运动方向、进给运动方向和刀具的安装位置来确认,这样建立的参考系就是刀具的工作参考系。因此,刀具角度分两类:在静止参考系内的称为刀具的静态角度,也称标注角度,通常也是标注在刀具的设计图上的刀具角度;在工作参考系内把刀具的安装条件同工件和切削运动联系起来的称为刀具工作角度,当合成切削运动方向或刀具的安装位置有所变动时,刀具工作角度也会有所改变。可见,刀具工作角度能直接反映刀具的工作状况。

建立刀具角度静止参考系时,要作如下假设:

①运动条件:不考虑进给运动的影响,用主运动向量v c 近似代替合成速度向量v e ;然后再用平行和垂直于主运动方向的坐标平面构成参考系。

②安装条件:刀具的刀尖与工件的中心等高,安装时车刀刀柄的中心线垂直于工件轴线。

(1)正交平面参考系

基面(P r )———过切削刃上选定点并垂直于该点切削速度向量v c 的平面。对于车刀,基面为过切削刃选定点的水平面。

切削平面(P s )———过切削刃上选定点作切削刃的切线,此切线与该点的切削速度向量v c 所组成的平面。对于车刀,切削平面一般为铅垂面。

正交平面(P o )———过切削刃上选定点,同时垂直于该点基面P r 和切削平面P s 的平面。对于车刀,正交平面一般也是铅垂面。

显然,对于切削刃上某一选定点,该点的基面P r 、切削平面P s 和正交平面P o 构成了一个两两互相垂直的空间直角坐标系,称之为正交平面参考系,如图2.11所示。

图2.11正交平面参考系

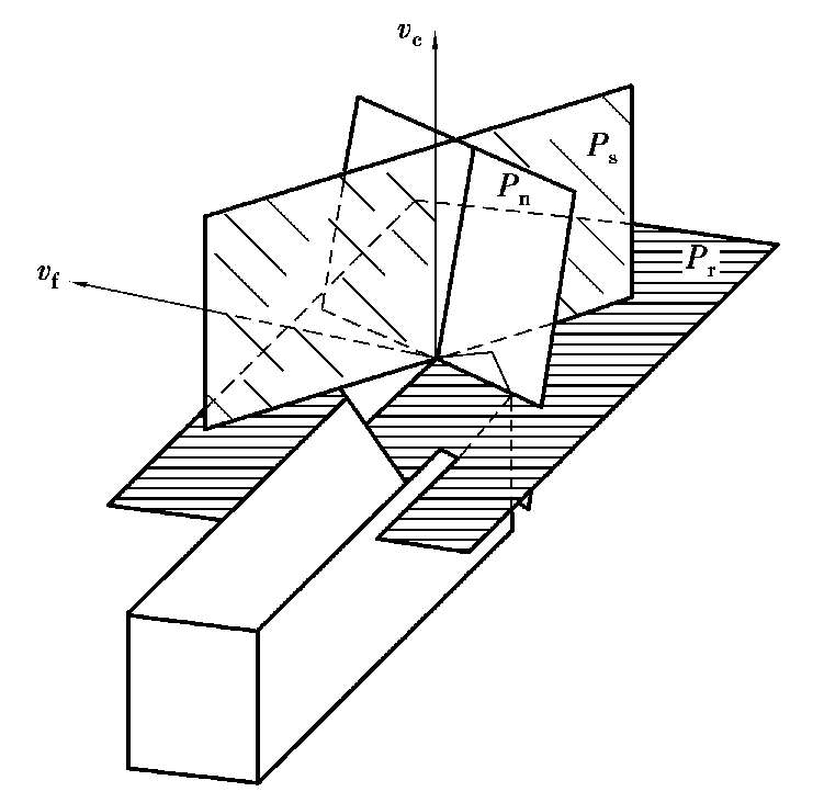
(2)法平面参考系

基面P r 和切削平面P s 的定义与正交平面参考系里的P r 、P s 相同。

法平面(P n )———过切削刃上选定点垂直于切削刃或其切线的平面。对于切削刃上某一选定点,该点的法平面P n 、基面P r 和切削平面P s 就构成了法平面参考系,如图2.12所示。在法平面参考系中,P s ⊥P r 、P s ⊥P n ,但在刃倾角λ s ≠0的条件下,P n 不垂直于P r .

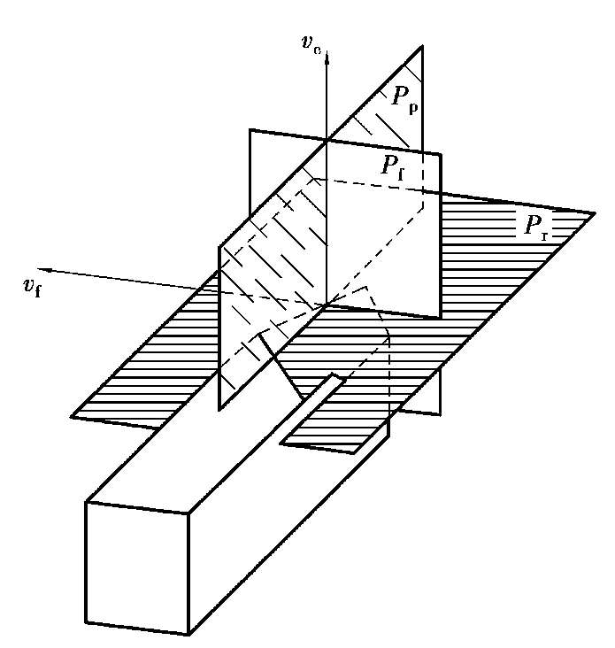
(3)背平面和假定工作平面参考系

基面P r 的定义同正交平面参考系。

背平面(P p )———过切削上选定点,平行于刀杆中心线并垂直于基面P r 的平面,它与进给方向v f 是垂直的。

假定工作平面(P f )———过切削刃上选定点,同时垂直于刀杆中心线与基面P r 的平面,它与进给方向v f 平行。

对于切削刃上某一选定点,该点的P p 、P f 与P r 就构成了背平面和假定工作平面参考系,如图2.13所示。显然,这个参考系也是一个空间直角坐标系。

图2.12法平面参考系

图2.13背平面、假定工作平面参考系

我国过去多采用正交平面参考系,与欧洲标准相同,近年来参照国际标准ISO的规定,逐渐兼用正交平面参考系和法平面参考系。背平面和假定工作平面参考系则常见于美、日文献中。

2.2.3刀具标注角度

刀具标注角度的作用有两个:一是确定刀具上切削刃的空间位置;二是确定刀具上前、后面的空间位置。现以外圆车刀为例予以说明,如图2.14所示。

图2.14外圆车刀在正交平面参考系的角度

刀具在正交平面参考系中的角度:

主偏角κ r ———主切削刃在基面上的投影与进给方向之间的夹角,在基面P r 上测量。

刃倾角λ s ———主切削刃与基面P r 的夹角,在切削平面P s 中测量。当刀尖在主切削刃上为最低点时,λ s 为负值;反之,当刀尖在主切削刃上为最高点时,λ s 为正值。

前角γ o ———在主切削刃上选定点的正交平面P o 内,前面与基面之间的夹角。

后角α o ———在同一正交平面P o 内,后面与切削平面之间的夹角。

以上四个角度与主切削刃有关,以下两个角度与副切削刃有关:

副偏角 ———副切削刃在基面上的投影与进给方向之间的夹角,它在基面P r 上测量。

副后角 ———在副切削刃上选定点的副正交平面P o ′内,副后面与副切削平面之间的夹角。副切削平面是过该选定点作副切削刃的切线,此切线与该点切削速度向量所组成的平面。副正交平面P′ o 是过该选定点并垂直于副切削平面与基面的平面。

以上是外圆车刀必须标出的6 个基本角度。有了这6 个基本角度,外圆车刀的三面(前面、主后面、副后面)、两刃(主切削刃、副切削刃)、一尖(刀尖)的空间位置就完全确定下来了。根据实际需要,还可以标出以下的其他角度:

楔角β o ———在主切削刃上选定点的正交平面P o 内,前面与后面的夹角,β o = 90° -(γ o o )。

刀尖角ε r ———主、副切削刃在基面上投影之间的夹角,在基面P r 上测量,ε r = 180° -(κ r + )。

余偏角ψ r ———主切削刃在基面上的投影与进给方向垂线之间的夹角,在基面P r 上测量,

2.2.4刀具工作角度

在实际使用时,静止参考系所确定的刀具角度,往往不能确切地反映切削加工的真实情形。只有用合成切削运动方向v e 来确定参考系,才符合切削加工的实际。例如,图2.15所示三把刀具的标注角度完全相同,但由于合成切削运动方向v e 不同,后刀面与加工表面之间的接触和摩擦的实际情形有很大的不同;图2.15(a)刀具后刀面同工件已加工表面之间有适当的间隙,切削情况正常;图2.15(b)中该两个表面全面接触,摩擦严重;图2.15(c)刀具的背棱顶在已加工表面上,切削刃无法切入,切削条件被破坏。可见,在这种场合下,只考虑主运动的假定条件是不合适的,还必须考虑进给运动速度的影响,也就是必须考虑合成切削运动方向来确定刀具工作角度的参考系。

图2.15刀具工作角度示意图

同样,刀具实际安装位置也影响工作角度的大小。只有采用刀具工作角度的参考系,才能反映切削加工的实际情况。

刀具工作角度参考系同刀具角度静止参考系的唯一区别是用v e 取代v c ,用实际进给运动方向取代假设进给运动方向。

刀具在工作状态下的切削角度,称为刀具的工作角度。工作角度记作为:γ oe 、α oe 、κ re λ se 等。

(1)进给运动对工作角度的影响

①横向进给运动对工作角度的影响。车端面或切断时,车刀沿横向进给,合成运动方向与主运动方向的夹角为 ,运动轨迹是阿基米德螺旋线如图21 6所示这时工作基面Pre和工作切削平面Pse分别相对于基面Pr和切削平面Pe转过μ角。刀具的工作前角γ oe 增大和工作后角α oe 减小,分别为

图2.16横向进给运动对工作角度的影响

②纵向进给运动对工作角度的影响。车外圆或车螺纹时,如图2.17所示,合成运动方向与主运动方向之间的夹角为μ f ,这时工作基面P re 和工作切削平面P se 分别相对于基面P r 和切削平面P s 转过μ f 角。刀具的工作前角γ oe 增大和工作后角α oe 减小,分别为

式中 f———纵向进给量,或被切螺纹的导程,mm/ r;

d———工件选定点的直径,mm;

μ f ———螺旋升角,(°)。

一般车削时,进给量比工件直径小得多,故角度μ很小,对车刀工作角度影响很小,可忽略不计。但若进给量较大时(如加工丝杠、多头螺纹),则应考虑角度μ的影响。车削右旋螺纹时,车刀左侧刃后角应大些,右侧刃后角应小些;或者使用可转角度刀架将刀具倾斜一个μ角安装,使左右两侧刃工作前后角相同。

(2)刀具安装对工作角度的影响

①刀刃安装高度对工作角度的影响。车削时刀具的安装常会出现刀刃安装高于或低于工件回转中心的情况,如图2.18所示,此时工作基面、工作切削平面相对于标注参考系产生θ角的偏转,将引起工作前角和工作后角的变化:

图2.17纵向进给运动对工作角度的影响

图2.18刀刃安装高度对工作角度的影响

②刀柄安装偏斜对工作角度的影响。在车削时会出现刀柄与进给方向不垂直的情况,如图2.19所示,此时刀柄垂线与进给方向产生θ角的偏转,将引起工作主偏角和工作副偏角的变化:κ re = κ r ± θ,

图2.19刀刃安装偏斜对工作角度的影响 1cNb/zJUY3wEFz7lxh6Th2kiDNOFZskexBRjSSJjS+/CuyyQPbtyV6y7ULwdAhl7

点击中间区域
呼出菜单
上一章
目录
下一章
×