



应变计是一种重要的敏感元件。首先,它在实验应力分析中是测量应变和应力的主要传感元件;其次,某些其他类型的传感器,如膜片式压力传感器、加速度计、线位移传感器等,也经常使用应变计作为机电转换元件或敏感元件,广泛地应用于工程测量和科学实验中。应变计之所以成为重要的敏感元件,主要由于具有如下优点:
(1)测量应变的灵敏度和精确度高。能测1~2微应变(1×10 -6 mm/mm),误差一般可小于1%,精度可达0.015%FS(普通精度可达0.05%FS)。
(2)测量范围大。从弹性变形一直可测至塑性变形。变形范围从1%~20%。
(3)尺寸小(超小型应变计的敏感栅尺寸为0.2mm×2.5mm),质量轻,对试件工作状态和应力分布影响很小。既可用于静态测量,又可用于动态测量,且具有良好的动态响应(可测几十甚至上百赫的动态过程)。
(4)能适应各种环境。可以在高温、超低压、高压、水下、强磁场以及辐射等恶劣环境下使用。
(5)价格低廉、品种多样,便于选择和大量使用。
应变计有如下缺点:在大应变下具有较大的非线性,半导体应变计的非线性更为明显;输出信号较微弱,故抗干扰能力较差。应变式传感器的性能在很大程度上取决于应变计的性能。
下面就来讨论应变计的主要特性:
金属电阻丝的电阻相对变化与它所感受的应变之间具有线性关系,2.1.1节中已用灵敏度系数 k 0表示这种关系。金属丝做成应变计后,由于基片、粘合剂以及敏感栅的横向效应,电阻应变特性与单根金属丝将有所不同,必须重新用实验来测定。实验是按规定的统一标准进行的,电阻应变计贴在一维力作用下的试件上,例如受轴向拉压的直杆、纯弯梁等。
试件材料用泊松系数 μ =0.285的钢。用精密电阻电桥或其他仪器测出应变计相对电阻变化,再用其他测应变的仪器测定试件的应变,得出电阻应变计的电阻-应变特性。实验证明,电阻应变计的电阻相对变化Δ R / R 与应变Δ l / l = ε 之间在很大范围内是线性的,即
式中: K 为电阻应变计的灵敏度系数。
因一般应变计粘贴到试件上后不能取下再用,只能在每批产品中提取一定百分比(如5%)的产品进行测定,取其平均值作为这一批产品的灵敏度系数。这就是产品包装盒上注明的灵敏度系数,或称“标称灵敏度系数”。
实验表明,应变计的灵敏度 k 恒小于金属线材的灵敏度系数 k 0 ,其原因除了粘合剂、基片传递变形失真外,主要是由于存在横向效应。
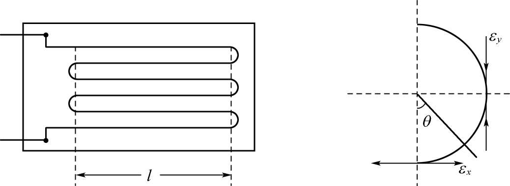
敏感栅由许多直线及圆角组成,如图2-5所示。拉伸被测试件时,粘贴在试件上的应变计,被沿应变计长度方向拉伸,产生纵向拉伸应变 ε x ,应变计直线段电阻将增加。但是在圆弧段上,沿各微段(圆弧的切向)的应变并不是 ε x ,与直线段上同样长的微段所产生的电阻变化不同。
图2-5 敏感栅的组成
最明显的是在 θ =π/2垂直方向的微段,按泊松比关系产生压应变- ε y 。该微段电阻不仅不增加,反而减少。在圆弧的其他各微段上,感受的应变是由+ ε x 变化到- ε y 的。这样,圆弧段的电阻变化,显然将小于同样长度沿 x 方向的直线段的电阻变化。
因此,将同样长的金属线材做成敏感栅后,对同样应变,应变计敏感栅的电阻变化较小,灵敏度有所降低。这种现象称为应变计的横向效应。
在测量频率较高的动态应变时,应考虑到它的动态响应特性。在动态情况下,应变以波动形式在材料中传播,传播速度为声速。钢材声速为5000m/s,胶层声速为1000m/s。应力波从试件通过胶层、基片传到敏感栅需要一定时间,沿应变计长度方向经过敏感栅需要更长一些的时间。敏感栅电阻的变化是对某一瞬时作用于其上应力的平均值的反应。胶层和基片的总厚度约为0.05mm,由试件经过胶层和基片传到敏感栅的时间约为5×10 -8 s,可以忽略不计。然而,应变波沿敏感栅长度方向传播的影响,应加以考虑。
图2-6(a)的阶跃波沿敏感栅轴向传播时,由于应变波通过敏感栅需要一定时间,当阶跃波的跃起部分通过敏感栅全部长度后,电阻变化才达到最大值。应变计的理论响应特性如图2-6(b)所示。由于应变计粘合层对应变中高次谐波的衰减作用,实际波形如图2-6(c)所示。如以输出从最大值的10%上升到90%的这段时间为上升时间,则
t
k
=0.8
。可测频率
f
=
,则
图2-6 阶跃应变波通过敏感栅及其波形图
实际上 t k 值是很小的。例如,应变计基长 L =20mm,波速 v =5000m/s时, t k =3.2×10- 6 s, f =110kHz。
当测量按正弦规律变化的应变波时,由于应变计反映的应变波形,是应变计线栅长度内所感受应变量的平均值,因此应变计反应的波幅将低于真实应变波,从而带来一定误差。显然,这种误差将随应变计基长的增加而加大。当基片一定时将随频率的增加而加大。图2-7表示应变计正处于应变波达到最大值时的瞬时情况。应变波的波长为 λ ,应变计的基长为 L ,两端点的坐标为 x 1 和 x 2 ,而 x 1 = λ /4- L /2, x 2 = λ /4+ L /2,此时应变计在其基长 L 内测得的平均应变 ε p 达到最大值。
图2-7 应变波达到最大值时的瞬时情况图
图2-8 e 与 n 的关系曲线
对于钢材 v =5000m/s,若要 e =1%时,对 L =1mm的应变计,其允许的最高工作频率为
由上式可知,测量误差 e 与应变波长对基长的相对比值 n = λ / L 有关,其关系曲线如图2-8所示。 λ / L 愈大,误差 e 愈小。一般可取 λ / L =10~20,其误差 e 小于1.6%~0.4%。又有 f = v /( nL ),即 n 愈大,工作频率愈高。
(1)线性度
试件的应变 ε 和电阻的相对变化Δ R / R ,在理论上呈线性关系。但实际上,在大应变时,会出现非线性关系。应变计的非线性度一般要求在0.05%或1%以内。
(2)应变极限
粘贴在试件上的应变计所能测量的最大应变值称为应变极限。在一定的温度(室温或极限使用温度)下,对试件缓慢地施加均匀的拉伸载荷,当应变计的指示应变值对真实应变值的相对误差大于10%时,就认为应变计已达到破坏状态,此时的真实应变值就作为该批应变计的应变极限。
(3)机械滞后和热滞后
贴有应变计的试件进行加载和卸载时,其Δ R / R ~ ε 特性曲线不重合。把加载和卸载特性曲线的最大差值 δ ,称为应变计的机械滞后值,如图2-9所示。
图2-9 应变计的机械滞后
(4)零漂和蠕变
恒定温度下,粘贴在试件上的应变计,在不承受载荷的条件下,电阻随时间变化的特性称为应变计的零漂。零漂的主要原因是,敏感栅通过工作电流后的温度效应,应变计的内应力逐渐变化,粘结剂固化不充分等。
(5)疲劳寿命
已安装的应变计,在恒定幅值的交变应力作用下,可以连续工作而不产生疲劳损坏的循环次数。所谓疲劳损坏是指应变计指示应变的变化超过规定误差,或者应变计的输出波形上出现毛刺,或者应变计完全损坏而无法工作。疲劳寿命反映应变计对动态应变的适应能力。应变计疲劳寿命的循环次数一般可达10 6 次。
(6)最大工作电流
最大工作电流是指允许通过应变计而不影响其工作的最大电流值。工作电流大,应变计输出信号就大,因而灵敏度高。但过大的工作电流会使应变计本身过热,使灵敏系数变化,零漂、蠕变增加,甚至烧坏应变计。工作电流的选取,要根据散热条件而定,主要取决于敏感栅的几何形状和尺寸、截面的形状和大小、基底的尺寸和材料、粘合剂的材料和厚度以及试件的散热性能等。通常允许电流值在静态测量时约取25mA左右,动态测量时可高一些,箔式应变计可取更大些。在测量塑料、玻璃、陶瓷等导热性差的材料时,工作电流要取小些。
(7)绝缘电阻
绝缘电阻是指应变计的引线与被测试件之间的电阻值,一般以兆欧计。绝缘电阻过低,会造成应变计与试件之间漏电而产生测量误差。
(8)应变计电阻
应变计电阻是应变计在未安装也不受外力的情况下,在室温时测得的电阻值。这是使用应变计时应知道的一个参数。国内应变计系列习惯上选用120Ω、175Ω、350Ω、500Ω、1000Ω、1500Ω。
(9)几何尺寸
圆弧敏感栅应变计敏感栅基长 L 从圆弧顶部算起,箔式应变计则从横向粗线的内沿算起。通常应变计 L 约为2~30mm,箔式应变计最小可达0.2mm,长的达100mm或更长。