



1.3 广州丰田雅力士车系发动机的正时调整
2NZ—FE型发动机的拆卸步骤和方法如下。
1. 拆卸发动机有关附件。
2. 拆卸汽缸盖罩分总成。拆卸部位如图1-85所示。拆下9个螺栓、2个螺母和2个密封垫圈,然后拆下汽缸盖罩分总成。
图1-85 拆卸汽缸盖罩分总成
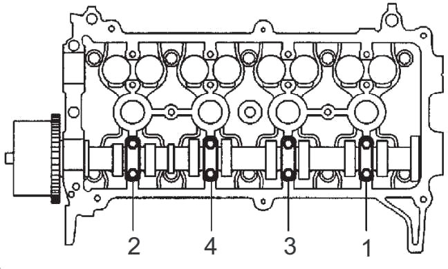
图1-84 安装1号曲轴位置信号盘
32. 安装油底壳分总成。
33. 安装油底壳放油螺塞。
34. 安装水泵总成。
35. 安装水泵皮带。
36. 安装曲轴位置传感器。
37. 安装曲轴皮带轮。
38. 安装1号链条张紧器总成。
39. 检查气门间隙。
40. 调节气门间隙。
41. 安装凸轮轴位置传感器。
42. 安装汽缸盖罩衬垫。
43. 安装汽缸盖罩分总成。
3. 拆卸凸轮轴正时机油控制阀总成。先拆下螺栓,再拆下凸轮轴正时机油控制阀,如图1-86所示。
图1-86 拆下螺栓和凸轮轴正时机油控制阀
4. 拆卸曲轴减震器分总成。具体步骤是:
(1)将1号汽缸设置在TDC位置上。
① 转动曲轴减震器分总成,并将分总成上的正时缺口与机油泵的正时标记“O”对准,如图1-87 所示。
图1-87 对准正时标记
② 检查并确认凸轮轴正时链轮和凸轮轴正时齿轮上的正时标记朝上,如图1-88所示。如果未朝上,则转动曲轴1周(360º)对准上述标记。
图1-88 对准正时标记
(2)用2个SST固定住曲轴减震器分总成的同时松开螺栓,如图1-89所示。
图1-89 固定住曲轴减震器分总成并松开螺栓
(3)拆下SST和螺栓。
(4)拆下曲轴减震器分总成。
5. 拆卸横置发动机安装支架。
6. 拆卸水泵总成。
7. 拆卸机油泵总成。
8. 拆卸机油泵密封件。
9. 按以下方法拆卸1号链条张紧器总成。
拆下链条张紧器后不要转动曲线,如图1-90所示。
在正时链条被拆下的状态下转动凸轮轴时,先从TDC位置逆时针转动曲轴40º。
图1-90 拆下链条张紧器
(1)松开锁,向上拉锁止板,将锁止板固定,如图1-91所示。
图1-91 将锁止板固定
(2)将链条张紧器柱塞解锁,如图1-92所示。然后将其推到端部。
图1-92 将链条张紧器柱塞解锁
(3)柱塞推至端部后,拉下锁止板,如图1-93所示,锁住柱塞。
图1-93 拉下锁止板
(4)将直径为3 mm的钢条插入锁止板的孔中,锁住柱塞,如图1-94所示。
图1-94 锁住柱塞
(5)拆下2个螺栓,拆下链条张紧器总成,如图1-95所示。
10. 拆卸链条张紧器滑块,如图1-96所示。
11. 拆卸1号链条减震器。先拆下2个螺栓,如图1-97所示,然后拆下链条减震器。
图1-95 拆下1号链条张紧器总成
图1-96 拆卸链条张紧器滑块
图1-97 拆下2个螺栓后再拆下链条减震器
12. 拆卸链条分总成。
13. 拆卸喷油嘴隔震器。
14. 拆卸喷油器总成。
15. 拆卸凸轮轴位置传感器。
16. 拆卸2号凸轮轴,如图1-98所示。
图1-98 拆卸2号凸轮轴
17. 拆卸凸轮轴正时链轮。拆卸步骤为:
(1)用台钳夹住凸轮轴。
(2)拆下凸缘螺栓,然后拆下凸轮轴正时链轮,如图1-99所示。
图1-99 拆下凸轮轴正时链轮
18. 拆卸凸轮轴。按图1-100所示顺序号,分步骤均匀松开并拆下8个轴承盖螺栓,然后拆下2号凸轮轴轴承盖和凸轮轴。
图1-100 拆下8个轴承盖螺栓
19. 拆卸凸轮轴正时齿轮总成。
20. 拆卸汽缸盖分总成。
21. 拆卸汽缸盖垫片。
22. 拆卸机油滤清器分总成。
23. 拆卸机油滤清器接头。
24. 拆卸发动机后油封件。
25. 拆卸2号油底壳分总成。
26. 拆卸滤油网分总成。
27. 拆卸油壳分总成。
28. 拆卸双头螺栓。
ZHZ—FE型发动机的安装步骤和方法如下。
1. 安装双头螺栓。
2. 安装油底壳分总成。
3. 安装滤油网分总成。
4. 安装2号油底壳分总成。
5. 安装机油滤清器分总成。
7. 安装汽缸盖垫片。
8. 安装汽缸盖分总成。
9. 安装发动机后油封件。
10. 安装凸轮轴正时齿轮总成。步骤是:
(1)通过对齐直销和凹槽,将凸轮轴正时齿轮总成和凸轮轴安放在一起。
(2)顺时针转动凸轮轴正时齿轮总成,如图1-101所示。同时轻轻将其压向凸轮轴,当直销与凹槽对准后,推按直销使其与凹槽更好装配。
图1-101 顺时针转动凸轮轴正时齿轮总成
(3)检查并确认齿轮和凸轮轴之间无间隙。
(4)在凸轮轴正时齿轮被固定的状态下,拧紧凸缘螺栓。
(5)检查并确认凸轮轴正时齿轮总成可被移动到延迟方向(向右),且能被锁止在最大延迟位置。
11. 安装凸轮轴。步骤是:
(1)在凸轮轴轴颈部分涂抹一薄层发动机机油。
(2)将凸轮轴安装在汽缸盖上,凸轮轴正时齿轮的正时标记朝上。
(3)检查朝前标记和号码,并按照图1-102所示顺序号拧紧螺栓。
图1-102 按顺序拧紧螺栓。
12. 安装凸轮轴正时链轮。步骤是:
(1)用台钳夹住凸轮轴。
(2)将凸轮轴正时链轮上的定位销孔与凸轮轴定位销对准,如图1-103所示。并用凸缘螺栓安装凸轮轴正时链轮。
图1-103 对准定位销
13. 安装2号凸轮轴。步骤是:
(1)在凸轮轴轴颈部分涂抹一薄层发动机机油。
(2)将凸轮轴安装在汽缸盖上,凸轮轴正时齿轮的正时标记朝上。
(3)检查1号和2号凸轮轴轴承盖上的朝前标记和号码,检查并确认顺序,如图1-104所示。然后分步骤均匀拧紧螺栓。
图1-104 检查标记
14. 安装凸轮轴位置传感器。
15. 安装链条分总成。步骤是:
(1)确保所有正时标记位于图1-105所示的TDC位置。
提示:在气门弹簧的作用下,正时标记可能会与预定的位置不同。
(2)如图1-106所示,将曲轴的正时标记置于40º和140ºATDC之间。
(3)将凸轮轴正时齿轮和凸轮轴正时链轮置于,如图1-105所示的位置(20ºATDC)。
图1-105 正时标记位置
图1-106 将曲轴的正时标记置于40º~140ºATDC位置
(4)将曲轴置于如图1-107所示的位置(20ºATDC)。
(5)用2个螺栓安装1号链条减震器,如图1-108所示。
图1-107 曲轴正确位置
图1-108 用2个螺栓安装1号链条减震器
(6)将凸轮轴的正时标记对准正时链条的标记牌,如图1-109所示,安装正时链条。
16. 安装链条张紧器滑块,如图1-110所示。
17. 安装1号链条张紧器总成。步骤是:
(1)用2个螺栓安装1号链条张紧器总成,如图1-111所示。
(2)从1号链条张紧器总成上拆下钢条。
图1-109 将凸轮轴的正时标记对准正时链条的标记牌
图1-110 安装链条张紧器滑块
图1-111 用2个螺栓安装1号链条张紧器总成
18. 安装机油泵密封件。用SST和锤子敲入新油封件,直至其表面与正时链盖边缘齐平。
19. 安装机油泵总成。
20. 安装水泵总成。
21. 安装其他附件。
发动机的拆卸步骤和方法如下。
1. 拆下发动机吊架,如图1-112所示。
图1-112 拆下发动机吊架
2. 拆下与正时无关的部件。
3. 将1号汽缸设置在TDC位置上。步骤是:
(1)转动曲轴皮带轮,将皮带轮上的正时缺口对准正时链盖分总成上的正时标记“O”。
(2)检查并确认排气凸轮轴正时齿轮和凸轮轴正时齿轮上的两个正时标记均朝上,如图1-113所示。
提示:如果未朝上,则转动曲轴1周(360º)对准上述标记。
4. 拆卸曲轴皮带轮,如图1-114所示。
5. 拆卸1号链条张紧器总成。
6. 拆卸曲轴位置传感器。
7. 拆卸发动机油压开关总成。
8. 拆卸正时链条或正时皮带分总成,如图1-115所示。
图1-113 确认标记朝上
图1-114 拆卸曲轴皮带轮
图1-115 拆卸正时链条或正时皮带分总成
(1)拆下3个螺栓,拆下发动机安装支架RH。
(2)用缠绕保护带的螺丝刀,在正时链条或正时皮带盖分总成以及汽缸盖或汽缸体之间撬动,以拆下正时链盖或正时皮带盖分总成,如图1-116所示。
图1-116 拆下正时链盖或正时皮带盖分总成
(3)从汽缸盖和汽缸体上拆下3个O形圈,如图1-117所示。
图1-117 拆下3个O形圈
9. 拆卸进水口外壳。
10. 拆卸1号发电机支架。
11. 拆卸2号链条减震器。先拆下2个螺栓,如图1-118所示。然后拆下2号链条减震器。
图1-118 拆下2个螺栓
12. 拆卸链条张紧器滑块,如图1-119所示。
图1-119 拆卸链条张紧器滑块
13. 拆卸2个螺栓,如图1-120所示拆下链条减震器。
图1-120 拆卸2个螺栓
14. 拆卸链条分总成,如图1-121所示。
图1-121 拆卸链条分总成
(1)用扳手固定凸轮轴的六角部分,逆时针转动凸轮轴正时齿轮总成,以松开凸轮轴正时齿轮之间的链条。
(2)链条松开后,从凸轮轴正时齿轮总成上松开链条,将其放置在凸轮轴正时齿轮总成上。
提示:确保已从链轮上完全松开链条。
(3)顺时针转动凸轮轴将其回归原位,并拆下链条。
15. 拆卸曲轴正时齿轮或链轮,如图1-122所示。
图1-122 拆卸曲轴正时齿轮或链轮
16. 拆卸2号链条分总成。步骤是:
(1)顺时针转动曲轴90º,将机油泵驱动轴链轮的调节孔与机油泵的槽对准,如图1-123所示。
图1-123 将机油泵驱动轴链轮的调节孔与机油泵的槽对准
(2)将一根直径为4 mm的钢条插入机油泵驱动轴齿轮的调节孔内,将齿轮锁止入位,如图1-124所示,然后拆下螺母。
图1-124 将齿轮锁止入位
(3)拆下螺栓及链条张紧器板和弹簧,如图1-125所示。
图1-125 拆下螺栓及链条张紧器板和弹簧
(4)拆下机油泵驱动轴齿轮及机油泵主动齿轮和链条,如图1-126所示。
图1-126 拆下机油泵驱动轴齿轮及机油泵主动齿轮和链条
17. 拆下1号曲轴位置传感器齿板,如图1-127所示。
图1-127 拆下1号曲轴位置传感器齿板
18. 拆卸曲轴正时齿轮键。
19. 拆卸凸轮轴正时齿轮总成。步骤是:
(1)清洁并去除1号凸轮轴轴承盖进气侧VVT油孔的油渍,如图1-128所示。用黏合胶带或同类产品完全密封油孔,以防止气体泄漏。
图1-128 清除油渍
(2)握住凸轮轴的六角部分,拆下凸缘螺栓,如图1-129所示,然后拆下凸轮轴正时齿轮总成。
图1-129 拆下凸缘螺栓
20. 拆卸排气凸轮轴正时齿轮总成,如图1-130所示。
图1-130 拆卸排气凸轮轴正时齿轮总成
21. 拆卸凸轮轴轴承盖。
22. 拆卸凸轮轴。
23. 拆卸2号凸轮轴。
24. 拆卸1号气门摇臂分总成。
25. 拆卸气门间隙调节器总成。
26. 拆卸2个1号凸轮轴轴承。
提示:按正确的顺序安放拆下的零件。
27. 拆卸凸轮轴外壳分总成。步骤是:
(1)拆下2个螺栓,如图1-131所示。
图1-131 拆下2个螺栓
(2)用螺丝刀在汽缸盖和凸轮轴外壳间撬动,如图1-132所示。拆下凸轮轴外壳。
图1-132 用螺丝刀在汽缸盖和凸轮轴外壳间撬动
28. 拆卸汽缸盖分总成。方法是:
按图1-133所示顺序号,分步骤用10 mm双六角扳手均匀松开并拆下10个汽缸盖螺栓。拆下10个汽缸盖螺栓和平垫圈。
图1-133 拆下 10 个汽缸盖螺栓和平垫圈。
29. 拆卸汽缸体放水龙头分总成。
30. 拆完与正时无关部件。
发动机的安装步骤和方法如下。
1. 安装加强曲轴箱总成,如图1-134所示。
图1-134 安装加强曲轴箱总成
2. 安装发动机后油封件。步骤是:
(1)用SST和锤子均匀敲打油封件,如图1-135所示,直至其表面与后油封挡圈边缘齐平。
图1-135 用SST和锤子均匀敲打油封件
(2)在新油封唇部涂抹MP润滑脂。
3. 安装机油泵总成。
4. 安装2号油底壳分总成。
5. 安装油底壳排放塞。
6. 安装汽缸放水龙头总成。
7. 安装通风阀分总成。
8. 安装汽缸盖垫片。
9. 安装汽缸盖分总成。
10. 安装气门间隙调节器总成。
11. 安装1号气门摇臂分总成。
12. 安装1号凸轮轴轴承。
13. 安装机油控制阀滤清器。
14. 安装2号凸轮轴轴承。
15. 安装2号凸轮轴。
16. 安装凸轮轴。
17. 安装凸轮轴轴承盖。
18. 安装凸轮轴外壳分总成,如图1-136所示。
图1-136 安装凸轮轴外壳分总成
19. 按以下步骤和方法安装凸轮轴正时齿轮总成。
(1)检查并确认定位销安装在凸轮轴上。
(2)如图1-137所示,将凸轮轴正时齿轮和凸轮轴安装在一起,直销和键槽要对准。
图1-137 将凸轮轴正时齿轮和凸轮轴安装在一起
(3)如图1-138所示,转动凸轮轴正时齿轮,同时将其轻轻压向凸轮轴。将直销进一步推入键槽中。
图1-138 转动凸轮轴正时齿轮
(4)测量齿轮和凸轮轴之间的间隙。
(5)凸轮轴正时齿轮固定就位时,拧紧凸缘螺栓,如图1-139所示。
(6)检查并确认凸轮轴正时齿轮可移动到延迟角侧(朝右方向)且锁止到最大延迟位置。
图1-139 拧紧凸缘螺栓
20. 按以下步骤和方法安装排气凸轮轴正时齿轮总成。
(1)检查并确认定位销安装在凸轮轴上,如图1-140所示。
图1-140 检查并确认定位销安装在凸轮轴上
(2)通过对准键槽和直销将排气凸轮轴正时齿轮和凸轮轴安装在一起。
(3)将齿轮轻轻压向凸轮轴,如图1-141所示,并转动齿轮。进一步按压使直销进入键槽。
图1-141 将齿轮轻轻压向凸轮轴
(4)检查齿轮凸缘和凸轮轴之间没有间隙。
(5)在排气凸轮轴正时齿轮固定的状态下拧紧凸缘螺栓,如图1-142所示。
图1-142 拧紧凸缘螺栓
(6)检查排气凸轮轴正时齿轮锁止。确保排气凸轮轴正时齿轮已锁止。
21. 安装曲轴正时齿轮键。
22. 安装1号曲轴位置传感器齿板。如图1-143所示。
图1-143 安装传感器齿板
23. 按以下步骤和方法安装2号链条分总成。
(1)如图1-144所示设置曲轴键,让“F”标记朝前。。
图1-144 设置曲轴键,让“F”标记朝前
(2)转动驱动轴,使缺口朝右。
(3)如图1-145所示,将黄色标记链节与各齿轮的正时标记对准。
图1-145 将黄色标记链节与各齿轮的正时标记对准
(4)链条安装在齿轮上时,将齿轮安装到曲轴和机油泵轴上。
(5)用螺母暂时拧紧机油泵驱动轴齿轮。
(6)将缓冲弹簧插入调节孔内,然后用螺栓安装链条张紧器板,如图1-146所示。
图1-146 用螺栓安装链条张紧器板
(7)将机油泵驱动轴齿轮的调节孔与机油泵的槽对准,如图1-147所示。
图1-147 将机油泵驱动轴齿轮的调节孔与机油泵的槽对准
(8)将一根直径为4 mm的钢条插入机油泵驱动轴齿轮的调节孔内,将齿轮锁止,如图1-148所示,然后拧紧螺母。
图1-148 将齿轮锁止
24. 安装曲轴正时齿轮或链轮,如图1-149所示。
图1-149 安装曲轴正时齿轮或链轮
25. 安装1号链条减震器,如图1-150所示。
图1-150 安装1号链条减震器
26. 按以下步骤和方法安装链条分总成。
(1)检查1号汽缸TDC位置。
① 暂时拧紧曲轴皮带轮螺栓。
② 逆时针转动曲轴,直到正时齿轮键向上,如图1-151所示。
图1-151 正时齿轮键向上
③ 拆下曲轴皮带轮螺栓。
④ 检查各凸轮轴正时齿轮上的正时标记,如图1-152所示。
图1-152 检查正时标记
(2)如图1-153所示,将标记牌(橙色)和正时标记对准,并安装链条。
图1-153 将标记牌(橙色)和正时标记对准
提示:
确保标记牌面向发动机前侧。
凸轮轴侧的标记牌为橙色。
不要将链条绕在凸轮轴正时齿轮总成的链轮上。只需将其放置在链轮上。
使链条穿过1号减震器。
(3)不要将链条绕在曲轴上,如图1-154所示,放在曲轴上即可。
(4)用扳手固定凸轮轴的六角部分,并逆时针转动凸轮轴正时齿轮总成,以将标记牌(橙色)与正时标记对准,如图1-155所示。
提示:
确保标记牌面向发动机前侧。
凸轮轴侧的标记牌为橙色。
图1-154 不要将链条绕在曲轴上
图1-155 将标记牌(橙色)与正时标记对准
(5)用扳手固定凸轮轴的六角部分,并顺时针转动凸轮轴正时齿轮总成。
(6)将标记牌(黄色)与正时标记对准,如图1-156所示,并将链条安装到曲轴正时齿轮上。
提示:曲轴侧的标记牌为黄色。
(7)重新检查TDC位置的各正时标记,如图1-157所示。
27. 安装链条张紧器滑块,如图1-158所示。
28. 安装2号链条减震器,如图1-159所示。
29. 安装1号发电机支架。
30. 安装进水口外壳。
31. 安装正时链盖油封。
32. 安装正时链条或正时皮带盖分总成。
图1-156 将标记牌(黄色)与正时标记对准
图1-157 重新检查TDC位置处的各正时标记
图1-158 安装链条张紧器滑块
图1-159 安装2号链条减震器
33. 安装正时以外的部件。