



1.2 广州丰田凯美瑞混合动力车系3AZ—FXE型发动机的正时调整
3AZ—FXE型发动机的拆卸步骤和方法如下。
1. 拆卸发动机有关附件。
2. 拆卸汽缸盖罩分总成,如图1-52所示。
1—螺母
图1-52 拆卸汽缸盖罩分总成
3. 拆卸凸轮轴正时机油控制阀总成,如图1-53所示。
(1)拆下螺栓和凸轮轴正时机油控制阀总成。
(2)从凸轮轴正时机油控制阀总成上拆下O形圈。
图1-53 拆卸凸轮轴正时机油控制阀总成
4. 拆卸1号链条张紧器总成。
5. 拆卸水泵皮带轮。
6. 拆卸水泵总成。
7. 拆卸油底壳放油螺塞。
8. 拆卸油底壳分总成,如图1-54所示。
1—螺母
图1-54 拆卸油底壳分总成
9. 拆卸惰轮分总成。
10. 拆卸惰轮支架。
11. 拆卸正时链条盖分总成,如图1-55所示。
图1-55 拆卸正时链条盖分总成
(1)使用“TORX”梅花套筒E10,拆下双头螺栓。
(2)拆下14个螺栓和2个螺母。
(3)用螺丝刀撬动正时链条盖和汽缸盖或汽缸体之间的部位,拆下正时链条盖,如图1-56所示。
图1-56 拆下正时链条盖
12. 拆卸1号曲轴位置信号盘,如图1-57所示。
图1-57 拆下1号曲轴位置信号盘
13. 拆下螺栓和正时链条导板,如图1-58所示。
14. 拆下螺栓和链条张紧器导板,如图1-59所示。
图1-58 拆下螺栓和正时链条导板
图1-59 拆下螺栓和链条张紧器导板
15. 拆下2个螺栓和拆卸1号链条震动阻尼器,如图1-60所示。
图1-60 拆下2个螺栓和1号链条震动阻尼器
16. 拆卸链条分总成,如图1-61所示。
图1-61 拆下链条分总成
17. 拆卸曲轴正时链轮,如图1-62所示。
图1-62 拆下曲轴正时链轮
18. 按以下步骤和方法拆卸2号链条分总成。
(1)逆时针转动曲轴90º,将机油泵主动轴齿轮的调节孔对准机油泵的凹槽,如图1-63所示。
图1-63 转动曲轴
(2)将4 mm直径的棒条插入机油泵主动轴齿轮的调节孔中,以将齿轮锁止到位,然后拆下螺母,如图1-64所示。
图1-64 拆下螺母
(3)拆下螺栓1、链条张紧器盖板2和弹簧,如图1-65所示。
图1-65 拆下螺栓、链条张紧器盖板和弹簧
(4)拆下机油泵主动齿轮、机油泵主动轴齿轮和2号链条,如图1-66所示。
图1-66 拆下机油泵主动齿轮
19. 拆卸2号凸轮轴。步骤是:
(1)按如图1-67所示顺序,分步均匀地松开并拆下10个轴承盖螺栓。
(2)拆下5个轴承盖和2号凸轮轴。
图1-67 拆下10个轴承盖螺栓
20. 拆卸凸轮轴。步骤是:
(1)按如图1-68所示顺序,分步均匀地松开并拆下10个轴承盖螺栓。
(2)拆下5个轴承盖和凸轮轴。
图1-68 拆下10个轴承盖螺栓
21. 拆卸凸轮轴正时链轮。
22. 拆卸凸轮轴正时齿轮总成。
23. 拆卸汽缸盖分总成。
24. 拆卸汽缸盖衬垫。
25. 拆卸汽缸体水套隔垫,使用尖嘴钳,拆下汽缸体水套隔垫。
26. 拆卸进水口壳放水开关总成。
27. 拆卸机油控制阀滤清器。
28. 拆卸1号锥螺纹塞。
29. 拆卸机油泵总成。步骤是:
30. 拆卸1号和2号平衡轴分总成。
(1)按图1-69所示顺序,均匀地拧松并拆下8个螺栓。
(2)拆下平衡轴外壳。
(3)拆下1号和2号平衡轴,如图1-70所示。
图1-69 拆下8个螺栓
1—1号平衡轴;2—2号平衡轴
图1-70 拆下1号和2号平衡轴
31. 拆卸1号平衡轴轴承。
32. 拆卸发动机后油封件。
33. 拆卸加强曲轴箱总成,如图1-71所示。
图1-71 拆卸加强曲轴箱总成
3AZ—FXE型发动机的安装步骤和方法如下。
1. 安装1号平衡轴轴承。步骤是:
(1)将轴承安装到曲轴箱和平衡轴外壳中。
(2)在轴承上涂抹一薄层发动机机油。
2. 按以下步骤和方法安装1号和2号平衡轴分总成。
(1)沿旋转方向旋转,1号平衡轴的1号从动齿轮直至其接触到挡块,如图1-72所示。
1—1号从动齿轮;2—2号从动齿轮a—对准;b—旋转方向
图1-72 旋转1号平衡轴的1号从动齿轮
(2)如图所示,对准1号和2号平衡轴的正时标记,如图1-73所示。
1—1号平衡轴;2—2号平衡轴;3—正时标记
图1-73 对准标记
(3)将 1 号和 2 号平衡轴安装到曲轴箱上,如图1-74所示。
1—1号平衡轴;2—2号平衡轴;3—正时标记
图1-74 安装1号和2号平衡轴
(4)在平衡轴外壳螺栓的螺栓头下部涂抹一薄层发动机机油。
(5)安装平衡轴外壳螺栓。
3. 安装加强曲轴箱总成。
4. 安装机油泵总成。
5. 安装发动机后油封。
6. 安装1号锥螺纹塞。
7. 安装机油控制阀滤清器。
8. 安装进水口壳。
9. 安装进水口壳放水开关总成。
10. 安装汽缸体水套隔垫。
11. 安装汽缸盖衬垫。
12. 安装汽缸盖分总成。
13. 安装凸轮轴正时机油控制阀总成。
14. 安装凸轮轴正时齿轮总成。
15. 安装凸轮轴正时链轮。
16. 安装1号凸轮轴轴承。
17. 安装2号凸轮轴轴承。
18. 安装凸轮轴。步骤是:
(1)在凸轮轴的轴颈位置涂抹一薄层发动机机油。
(2)检查朝前标记和编号,确认其顺序如图1-75所示。然后将轴承盖安装到汽缸盖上。
(3)在轴承盖螺栓的螺纹上和螺栓头下部涂抹一薄层发动机机油。
图1-75 检查朝前标记和编号
19. 安装2号凸轮轴。
20. 安装键。
21. 按以下步骤和方法安装2号链条分总成。
(1)将曲轴键固定到左侧水平位置,如图1-76所示。
(2)转动机油泵驱动轴,使切口朝上,如图1-76所示。
图1-76 转动机油泵驱动轴
(3)如图1-77所示,使黄色链条标记与各齿轮的正时标记对准。
(4)暂时用螺母紧固机油泵主动轴齿轮。
1—机油泵主动齿轮;2—机油泵主动轴齿轮;3—链条标记;4—正时标记
图1-77 对准正时标记
(5)将减震弹簧插入调节孔,然后用螺栓安装链条张紧器盖板。
(6)将机油泵主动轴齿轮的调节孔对准机油泵的凹槽。
(7)将4 mm直径的棒条插入机油泵主动轴齿轮的调节孔中,以将齿轮锁止到位,然后紧固螺母。
(8)顺时针旋转曲轴90º,使曲轴键朝上。
22. 安装曲轴正时链轮。
23. 安装1号链条震动阻尼器。
24. 按以下步骤和方法安装链条分总成。
(1)将1号汽缸设定至TDC位置。
(2)如图1-78所示,用扳手(六角凸角)转动凸轮轴,使凸轮轴正时齿轮上的正时标记分别对准两个轴承盖上的各个正时标记。
1—正时标记
图1-78 对准正时标记
(3)检查并确认曲轴定位,如图1-79所示,使曲轴键朝上。
图1-79 使曲轴键朝上
(4)将链条安装到曲轴正时链轮上,使金色或粉色的链条标记对准曲轴上的正时标记,如图1-80所示。
1—正时标记;2—链条标记
图1-80 对准正时标记
(5)使用SST和锤子,敲入曲轴正时链轮,如图1-81所示。
图1-81 敲入曲轴正时链轮
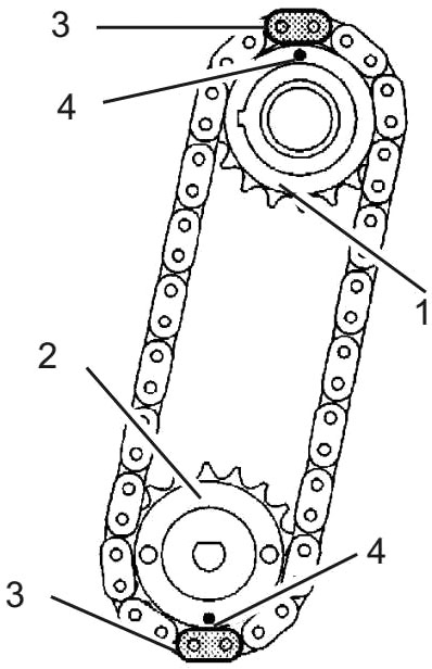
(6)将金色或粉色的链条标记对准凸轮轴正时齿轮和链轮上的正时标记,然后安装链条,如图1-82所示。
25. 用螺栓安装链条张紧器导板。
26. 安装正时链条导板,如图1-83所示。
图1-82 对准正时标记
图1-83 安装正时链条导板
27. 安装1号曲轴位置信号盘。安装1号曲轴位置信号盘时,使“F”标记朝前,如图1-84所示。
28. 安装正时链条盖分总成。
29. 安装惰轮支架。
30. 安装惰轮分总成。
31. 安装正时链条箱油封。