



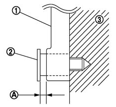
4.1 东风日产新天籁车系发动机的正时调整
MR20DE型发动机正时系统部件如图4-1所示。
图4-1 MR20DE型发动机正时系统部件
正时系统部件的拆卸步骤和方法如下。
注意:文中指示的旋转方向代表从发动机前端看到的全部方向。
1. 拆卸摇臂盖。
2. 排放发动机机油。
注意:在发动机冷却后执行此步骤。
3. 拆下驱动皮带。
4. 用下列步骤设置1号汽缸压缩行程上止点。
(1)顺时针转动曲轴皮带轮①,并对准上止点标记(无油漆标记)
至前盖上的正时指示器A,如图4-2所示。
白色油漆标记(不用于维修)
图4-2 对准正时标记
(2)同时,检查1号汽缸的凸轮突起位于如图4-3所示位置(
)。
①—凸轮轴(进气);②—凸轮轴(排气)
图4-3 检查1号汽缸凸轮突起位置
如果没有,旋转曲轴皮带轮一圈(360º)并对齐。
5. 用下列步骤拆下曲轴皮带轮,如图4-4所示。
(1)用皮带轮支架
(通用维修工具)固定曲轴皮带轮①,松开曲轴皮带轮螺栓,并使螺栓座面偏离其原始位置10 mm。
图4-4 拆下曲轴皮带轮
注意:切勿拆下曲轴皮带轮螺栓,因为它们将作为皮带轮拔具(SST:KV11103000)的支撑点使用。
(2)在曲轴皮带轮①的M6螺纹孔内安装皮带轮拔具(SST:KV11103000)
,然后拆下曲轴皮带轮,如图4-5所示。
图4-5 拆下曲轴皮带轮
6. 拆下动力转向油泵皮带自动张紧器。
7. 拆下动力转向油泵和动力转向油泵支架。
8. 拆下排气前管。
9. 拆下后扭力杆。
10. 拆卸油底壳(下)。
注:如果曲轴链轮和平衡单元部件没有拆下,则不需要该步骤。
11. 拆下动力转向油泵的贮液罐,并将它移到一边。
12. 用变速箱千斤顶支撑发动机底部,然后拆下发动机固定支架(右)和发动机固定隔垫(右)。
13. 拆卸进气门正时控制电磁阀。
14. 拆下交流发电机、水泵和A/C压缩机皮带自动张紧器。
15. 按下列步骤拆下前盖。
(1)按图4-6所示序号的相反顺序松开装配螺栓。
图4-6 松开装配螺栓
(2)拆下动力转向油泵支架。
(3)通过撬动图4-7所示箭头位置(
),切割密封胶,然后拆下前盖。
图4-7 切割密封胶
注意:
① 不要损坏配合面。
② 发动机在发动前涂抹了更具黏性的密封胶,所以不应在非规定位置剥落。
16. 从前盖上拆下前油封件。
注意:注意不要损坏前盖。要用螺丝刀顶起前油封件。
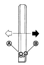
17. 按照以下步骤拆下正时链条张紧器。
(1)按下正时链条张紧器柱塞。
(2)将限位器销
插入主体孔内,然后按下柱塞并固定它,如图4-8所示。
图4-8 按下柱塞并固定它
注:使用直径大约为1.5 mm的硬金属销作为限位器销。
(3)拆下正时链条张紧器①。
18. 拆下松紧导杆②,拆下张紧导板③和正时链条①,如图4-9所示。
图4-9 拆下松紧导杆②等部件
注意:拆卸正时链条时,切勿分别转动各曲轴或凸轮轴。
19. 用下列步骤拆下曲轴链轮和平衡单元驱动部件。
(1)在图4-10所示方向按下限位器凸耳
,朝平衡单元正时链条张紧器①方向推动正时链条松紧导杆
。
平衡单元正时链条松紧导杆通过按下限位器凸耳松开。随后可以移动平衡单元正时链条松紧导杆。
(2)在张紧器主体孔
内插入限位器销
,以固定平衡单元正时链条松紧导杆。
注:用直径约1.2 mm的硬金属销作为限位器销。
图4-10 按下限位器凸耳
(3)拆下平衡单元正时链条张紧器。
当无法使杆上的孔和张紧器主体上的孔对齐时,略微移动平衡单元正时链条松弛导板来对齐这些孔。
(4)握住平衡轴的WAF部分(WAF:19 mm)
,然后松开平衡单元链轮螺栓,如图4-11所示。
图4-11 松开平衡单元链轮螺栓等
①—油底壳(上);
—平衡轴的WAF部分
注意:
① 用WAF部分固定平衡单元轴。
② 切勿通过拧紧平衡单元驱动链条来松开平衡单元链轮螺栓。
(5)作为一组拆下曲轴链轮、平衡单元链轮和平衡单元正时链条。
20. 如果需要,从前盖上拆下张紧导板(前盖侧)。
正时系统部件的安装步骤和方法如下。
注:图4-12所示显示了各个正时链条上的匹配标记和相应部件的链轮上的匹配标记之间的关系。
①—正时链条;②—凸轮轴链轮(排气);③—松紧导杆;④—正时链条张紧器;⑤—平衡单元链轮;⑥—平衡单元正时链条;⑦—平衡单元正时链条张紧器;⑧—曲轴链轮;⑨—张紧导板;⑩—凸轮轴链轮(进气);
—匹配标记(深蓝色链节);
—匹配标记(印记);
—曲轴键位置(垂直朝上);
—匹配标记(印记);
—匹配标记(橙色链节);
—匹配标记(外槽*)
图4-12 匹配标记之间的关系
凸轮轴链轮(进气)内有两个外槽。较宽的一个是匹配标记。
1. 检查曲轴键是否朝上。
2. 如果拆下张紧导板(前盖侧),则将其安装到前盖上。
注意:根据声音或感觉检查接头状况。
3. 安装曲轴链轮②、平衡单元链轮③和平衡单元正时链条①,如图4-13所示。
—匹配标记(印记);
—匹配标记(橙色链节);
—匹配标记(深蓝色链节)
图4-13 安装曲轴链轮②等
安装时对齐各链轮和平衡单元正时链条上的匹配标记。
如果这些匹配标记没有对齐,则略微转动平衡轴以修正位置。
注意:安装平衡单元正时链条后,检查各链轮的匹配标记位置。
4. 握住平衡轴的WAF部分(WAF:19 mm)
,然后拧紧平衡轴链轮螺栓,如图4-14所示。
图4-14 拧紧平衡轴链轮螺栓
注意:
① 用WAF部分固定平衡单元轴。
② 切勿通过拧紧平衡单元正时链条来松开平衡轴链轮螺栓。
5. 安装平衡单元正时链条张紧器①,如图4-15所示。
用限位器销
将柱塞固定在完全压缩位置,然后安装它,如图4-15所示。
安装平衡单元正时链条张紧器后,拉出(
)限位器销,如图4-15所示。
再次检查平衡单元正时链条和各链轮的匹配标记位置。
图4-15 安装平衡单元正时链条张紧器①
A
6. 对齐各链轮匹配标记与正时链条的匹配标记,如图4-16所示。
①—凸轮轴链轮(排气);②—凸轮轴链轮(进气);③—正时链条;
—匹配标记(深蓝色链节);
—匹配标记(印记);
—匹配标记(外槽*);
—匹配标记(橙色链节);
—匹配标记(印记)
图4-16 对齐各链轮匹配标记与正时链条的匹配标记
如果这些匹配标记没有对齐,则握住六角形部分略微转动凸轮轴以修正位置。
注意:安装正时链条后,再次检查各链轮和正时链条的匹配标记位置。
7. 安装张紧导板③和松紧导杆②,如图4-17所示。
图4-17 安装张紧导板③和松紧导杆②
①—正时链条;②—松紧导杆;③张紧导板
8. 安装正时链条张紧器①,如图4-18所示。
图4-18 安装正时链条张紧器①
用限位器销
将柱塞固定在完全压缩位置,然后安装它。
在安装正时链条张紧器后,用力拉出限位器销。
9. 再次检查正时链条和各链轮的匹配标记位置。
10. 安装前油封件。
11. 用下列步骤安装前盖。
(1)将新O形圈安装到缸体上。
注意:务必对齐O形圈。
(2)如图4-19所示用压缩器(通用维修工具)将密封胶
连续地涂抹到前盖。
请使用原装密封胶或同等产品。
(3)检查正时链条和各链轮的匹配标记是否仍然对齐。然后安装前盖。
图4-19 将密封胶
连续地涂抹到前盖。
注意:
① 检查缸体上的O形圈安装是否正确。
② 注意不要损坏前油封件。
(4)安装前盖和动力转向油泵支架,并按图4-20所示的数字顺序拧紧装配螺栓。
图4-20 拧紧装配螺栓
有关螺栓的安装位置,请参见下列内容。
M6螺栓:1号;M10螺栓:6,7,10,11,14号;M12螺栓:2,4,8,12号;M8螺栓:除了上述编号外的编号。
注意:应该在涂抹密封胶后的5分钟内完成安装。
(5)拧紧所有螺栓后,按照图中所示的数字顺序重新拧紧它们至规定力矩。
注意:务必擦除溢出的多余密封胶。
12. 用下列步骤安装曲轴皮带轮。
(1)使用塑料锤插入曲轴皮带轮时,敲击其中央位置(非四周位置)。
注意:切勿损坏前油封唇部分。
(2)用皮带轮固定器(通用维修工具)
固定曲轴皮带轮①,如图4-21所示。
图4-21 固定曲轴皮带轮①
(3)用新发动机机油涂抹曲轴皮带轮螺栓的螺纹和固定面。
(4)拧紧曲轴皮带轮螺栓。
:68. 6 N·m
(5)完全松开:
:0 N·m
(6)拧紧曲轴皮带轮螺栓。
:29. 4 N·m
(7)在曲轴皮带轮②上做上油漆记号
,如图4-22所示。以便识别曲轴皮带轮法兰①上的角度标记
。
图4-22 在曲轴皮带轮②上做上油漆记号
(8)顺时针再转动60º(定角度拧紧)。用角度记号的移动检查拧紧角度。
(9)检查曲轴在顺时针方向转动是否顺畅。
13. 按照拆卸相反的顺序安装其余零件。
VQ25DE/VQ35DE型发动机正时系统部件如图4-23所示。
图4-23 VQ25DE/VQ35DE型发动机正时系统部件图
正时系统拆卸的步骤和方法如下。
1. 排放发动机机油。
2. 排出发动机中的冷却液。
3. 拆下进气歧管总管。
4. 拆下摇臂盖(汽缸侧体1和2)。
5. 拆下油底壳(上和下)和机油集滤器。
6. 拆下驱动皮带、惰轮皮带轮和支架。
7. 从前正时链条箱上拆卸它们的支架来分离发动机线束。
8. 拆下气门正时控制盖。
按图4-24所示序号的相反顺序松开装配螺栓。
图4-24 松开装配螺栓
注意:轴在内部与凸轮轴链轮(进气)中心孔相连。拆卸时,保持其水平直至完全断开。
9. 如图4-25所示获取1号缸压缩行程上止点。
(1)顺时针旋转曲轴皮带轮将正时标记(无色槽沟线)(
)对准正时指示器。
图4-25 获取1号缸压缩行程上止点
(2)确认如图4-26所示位置的1号缸(汽缸侧体1发动机前端)上的进气和排气凸轮尖端。
图4-26 确认1号缸上的进气和排气凸轮尖端
如果没有,请按上图旋转曲轴一圈(360º)并对齐。
10. 如下所示拆卸曲轴皮带轮。
(1)用皮带轮夹具(通用维修工具)
固定曲轴,如图4-27所示。
图4-27 用皮带轮夹具固定曲轴
①—曲轴皮轮
(2)松开曲轴皮带轮螺栓,并确定离开螺栓原位10 mm的螺栓座表面。
注意:切勿拆卸曲轴皮带轮螺栓,因为它还能用于支撑合适的拔具。
(3)在曲轴皮带轮孔上放置合适的拔具凸耳,并拉出曲轴皮带轮,如图4-28所示。
图4-28 拉出曲轴皮带轮
注意:切勿将合适的拔具凸耳放在曲轴皮带轮边缘上,否则会损坏内缓冲器。
11. 拆卸前正时链条箱:
(1)按图4-29所示序号的相反顺序松开装配螺栓。
图4-29 松开装配螺栓
(2)将合适的工具
插入前正时链条箱顶部的槽口,如图4-30所示。
图4-30 将合适的工具
插入前正时链条箱顶部的槽口
(3)用移动工具撬开链条箱。
使用油封刮刀(SST:KV10111100)清除密封胶,以便拆卸。
注意:
① 切勿使用螺丝刀或类似工具。
② 拆卸后,仔细处理前正时链条箱,使之不会因负载而翘起、倾斜或弯曲。
12. 从前正时链条箱上拆下水泵盖。
使用油封刮刀(SST:KV10111100)清除密封胶,以便拆卸。
13. 使用合适的工具从前正时链条箱上拆下前油封件,如图4-31所示。
图4-31 从前正时链条箱上拆下前油封件
使用螺丝刀进行拆卸。
注意:操作要小心,不要损坏前正时链条箱。
14. 从后正时链条箱上拆下O形圈①,如图4-32所示。
图4-32 拆下O形圈①
15. 按以下步骤拆卸正时链条张紧器(主),如图4-33所示。
(1)拆下下装配螺栓①。
(2)慢慢松开上装配螺栓②,然后转动装配螺栓上的正时链条张紧器(主)③,使柱塞(4)完全伸长。
注:即使柱塞完全伸出,它也不会从正时链条张紧器(主)上掉下。
(3)拆卸上装配螺栓,然后拆卸正时链条张紧器(主)。
图4-33 拆下下装配螺栓①
16. 拆下内链条导轨①、张紧导板③和松紧导杆②,如图4-34所示。
图4-34 拆下内链条导轨①等
注:拆卸正时链条(主)后可以拆卸张紧导板。
17. 拆卸正时链条(主)和曲轴链轮。
注意:拆卸正时链条张紧器(主)后,不要分别旋转曲轴和凸轮轴,否则气门会碰撞活塞盖。
18. 拆卸正时链条(副)和凸轮轴链轮,如图4-35所示。
(1)在汽缸侧体1
和汽缸侧体2
正时链条张紧器(副)①上安装合适的定位销
。
图4-37 将正时链条(副)②与凸轮轴链轮一起拆卸
图4-35 拆卸正时链条(副)和凸轮轴链轮
注:
① 用直径大约为0.5 mm的硬金属销作为限位器销。
② 拆卸正时链条张紧器(副)时,需要拆卸凸轮轴支架(1号)。
(2)拆下凸轮轴链轮(进气和排气) 装配螺栓,如图4-36所示。
图4-36 拆下凸轮轴链轮装配螺栓
使用扳手固定凸轮轴的六边形部分来松开装配螺栓。
注意:切勿松开装配螺栓,而固定凸轮轴六边形以外的其他部分或张紧正时链条。
(3)将正时链条(副)与凸轮轴链轮一起拆卸。
稍微转动凸轮轴固定正时链条张紧器(副)侧的正时链条松紧度。
将0.5 mm厚的金属或树脂板插入正时链条和正时链条张紧器柱塞(导板)
之间。从导管槽沟松开正时链条,将正时链条(副)(2)与凸轮轴链轮一起拆卸,如图4-37所示。
注意:拆卸正时链条(副)时小心柱塞不要脱落。因为正时链条张紧器(副)的柱塞会在操作时移动,导致固定限位器销脱落。
当处理凸轮轴链轮(进气)时,请注意以下事项:
① 小心操作,避免震动凸轮轴链轮。
② 切勿分解。如图4-38所示,切勿松开螺栓
。
图4-38 切勿松开螺栓
19. 若有必要,请从缸盖上拆卸正时链条张紧器(副)。
拆下已装好限位器销的正时链条张紧器(副)。
20. 使用刮刀从前正时链条箱和对面的配合面上清除所有旧密封胶遗留痕迹,如图4-39所示。
图4-39 清除所有旧密封胶遗留痕迹。
从螺栓孔
和螺纹上清除旧的密封胶,如图4-40所示。
图4-40 清除旧的密封胶
21. 使用刮刀除去油泵盖上的所有旧密封胶,如图4-41所示。
图4-41 除去油泵盖上的所有旧密封胶
正时系统部件的安装步骤和方法如下。
注:图4-42显示了每个正时链条上的匹配标记和相应的安装了部件的链轮上的匹配标记之间的关系。
图4-42 匹配标记之间的关系
1. 若必要,将正时链条张紧器(副)安装到缸盖上。
安装已装有限位器销和新O形圈的正时链条张紧器(副)。
2. 确认定位销
和曲轴键①如图4-43所示定位。(压缩上止点的1号汽缸)。
图4-43 确认定位销
和曲轴键①定位
注意:尽管凸轮轴没有停在如图所示的位置,对于凸轮前端的放置,通常是将凸轮轴按图中相同的方向放置。
凸轮轴定位销放在每个汽缸侧体的缸盖面朝上侧。
曲轴键在汽缸侧体1的缸盖侧。
注意:小直径侧的孔必须用做进气侧定位销孔。不要识别错。
3. 按以下步骤安装正时链条(副)和凸轮轴链轮(进气和排气)。
注意:正时链条和链轮之间的匹配标记很易错位。安装时重复确认所有匹配标记位置。
(1)按下正时链条张紧器(副)的柱塞,并用限位器销
保持按下状态,如图4-44所示。
图4-44 限位器销
保持按下状态。
(2)安装正时链条(副)①和凸轮轴链轮(进气和排气),如图4-45所示。
图4-45 安装正时链条(副)①和凸轮轴链轮
图4-45所示图形是汽缸侧体1的后视图。
将正时链条(副)的橙色链节上的匹配标记对准凸轮轴链轮(进气和排气)冲孔上的标记,并进行安装。
注意:
① 凸轮轴链轮(进气)的匹配标记位于凸轮轴链轮(副)的背面。
② 有两种类型的匹配标记,圆型和椭圆型。它们应分别用于汽缸侧体1和汽缸侧体2。
汽缸侧体1使用圆型,汽缸侧体2使用椭圆型。
对齐凸轮轴上定位销与链轮上的槽,并安装。
在进气侧,将凸轮轴前端的定位销对准凸轮轴链轮背面的定位销孔,并进行安装。
在排气侧,将凸轮轴前端的定位销对准凸轮轴链轮上的定位销孔,并进行安装。
如果每个配合标记的位置和每个定位销的位置在配合零件上不匹配,请用扳手或同等工具握住凸轮轴的六边形部位进行微调。
凸轮轴链轮的装配螺栓必须在下一步中拧紧。用手拧紧它们足以避免定位销错位。
安装时和安装后很难通过目视检查匹配标记的错位。要使匹配更容易,请提前用油漆在链轮齿的顶部和延伸管路上做配合标记
,如图4-46所示。
图4-46 用油漆在链轮齿的顶部和延伸管路上做配合标记
—配合标记
;
—匹配标记(橙色链节)
(3)确认配合标记已对齐后,拧紧凸轮轴链轮装配螺栓。
用扳手固定凸轮轴的六角部分,以拧紧装配螺栓,如图4-47所示。
图4-47 拧紧装配螺栓
(4)从正时链条张紧器(副)①上拉出限位器销
,如图4-48所示。
图4-48 拉出限位器销
—汽缸侧体1;
—汽缸侧体2
4. 安装张紧导板。
5. 安装正时链条(主)。步骤是:
(1)安装曲轴链轮①,如图4-49所示。
确认曲轴链轮上的配合标记朝向发动机前端。
(2)安装正时链条(主)。安装正时链条(主),使凸轮轴链轮(进气)①上的匹配标记(冲孔)
与正时链条上的粉色链节
对齐,同时曲轴链轮②上的匹配标记(冲孔)
与正时链条上的橙色链节
对齐,如图4-50所示。
图4-49 安装曲轴链轮①
—曲轴侧;
—发动机前侧;
—匹配标记(前侧)
图4-50 对正标记
当很难将正时链条(主)的配合标记对准每个链轮时,请使用扳手握住六边形部分慢慢转动凸轮轴使其与配合标记对齐。
定位时要小心,避免正时链条(副)的配合标记定位发生错位。
6. 安装内链条导轨①和松紧导杆②,如图4-51所示。
图4-51 安装内链条导轨①和松紧导杆②
①—内链条导轨
注意:切勿过度拧紧松紧导杆装配螺栓②。把装配螺栓拧紧到规定力矩时,螺栓座下面出现缝隙
是正常的,如图4-52所示。
图4-52 螺栓座下面出现缝隙
①—松紧导杆;③—缸体
7. 按照以下步骤安装正时链条张紧器(主)。
(1)向上拉出柱塞限位器凸耳
(或向下转动杆)以拆卸柱塞棘齿
上的限位器,如图4-53所示。
图4-53 以拆卸柱塞棘齿
上的限位器。
注:柱塞限位器凸耳和杆
是同步的。
(2)向张紧器中压入柱塞。
(3)使柱塞限位器凸耳与棘齿端啮合,在完全压紧的位置按住柱塞。
(4)从杆孔
中将限位器销
插入张紧器孔中以固定杆。
杆零件和限位器凸耳是同步的。因此,在这种情况下可固定柱塞。
注意:图中是使用直径为1.2 mm的细螺丝刀作为限位器销。
(5)安装正时链条张紧器(主)①,如图4-54所示。
彻底清除正时链条张紧器(主)背面和安装表面上的污垢及异物。
(6)安装后将限位器销
拉出,然后松开柱塞。
8. 再次确认每个链轮和各正时链条上的配合标记都没有错位。
图4-54 安装正时链条张紧器(主)①
9. 将新O形圈①安装到后正时链条箱上,如图4-55所示。
—汽缸侧体1;
—汽缸侧体2
图4-55 将新O形圈①安装到后正时链条箱上
10. 将新的前油封件安装到前正时链条箱上。
在油封唇和尘封唇上涂抹新发动机机油。
安装时如图4-56所示,应确定每个密封唇的方向。
图4-56 确定每个密封唇的方向
—油封唇;
—尘封唇
使用适当的冲头(外径:60 mm),压下固定油封件,直至与前正时链条箱端面齐平,如图4-57所示。
确认箍簧到位,密封唇还未翻转。
11. 在前正时链条箱上安装水泵盖。
用管压缩器(通用维修工具)将密封胶连续地涂抹到水泵盖①,如图4-58所示。
图4-57 压下固定油封
图4-58 将密封胶连续地涂抹到水泵盖①
请使用原装密封胶或同等产品。
12. 按图4-59所示安装前正时链条箱。
(1)用管压缩器(通用维修工具)
在前正时链条箱背面涂抹连续的密封胶滴。
图4-59 安装前正时链条箱
请使用原装密封胶或同等产品。
图4-61 拧紧装配螺栓
(2)安装前正时链条箱时,要使它的定位销孔适合后正时链条箱上的定位销。
(3)按照图4-60所示的数字顺序拧紧装配螺栓到规定力矩。
图4-60 拧紧装配螺栓
有两种类型的装配螺栓。有关螺栓位置请参阅以下内容。
M8 螺栓:1,2
:28.4 N·m
M6 螺栓:除了1和2以外的螺栓
:12.7 N·m
(4)拧紧所有螺栓后,按图4-60所示的数字顺序重新拧紧它们至规定力矩。
注意:务必清除油底壳(上) 配合面上的过多泄漏的密封胶。
(5)安装前正时链条箱后,在油底壳(上)安装表面上检查下列零件之间的表面高度差。
标准:前正时链条箱至后正时链条箱的高度差为-0.14~0.14 mm
如果不在标准范围内,重复安装步骤。
13. 安装进气门正时控制盖。步骤是:
(1)将新密封圈安装到轴槽沟中。
(2)注意不要将密封圈从安装槽沟中移开,将前正时链条箱上的定位销对准孔来安装进气阀正时控制盖。
(3)按图4-61所示的数字顺序拧紧装配螺栓。
14. 按以下方法安装曲轴皮带轮。
(1)安装曲轴皮带轮时,要注意不要损坏前油封件。
使用塑料锤敲下固定曲轴皮带轮时,请敲击其中央位置(非边缘位置)。
(2)用皮带轮夹具(通用维修工具)固定曲轴。
(3)拧紧曲轴皮带轮螺栓。
:44. 1 N·m
(4)在曲轴皮带轮①上做一个油漆标记
,它与曲轴皮带轮螺栓②的角标记
对齐,如图4-62所示。拧紧螺栓,按90º角度拧紧。
15. 沿正常方向旋转曲轴皮带轮(从发动机前端查看时是顺时针方向)确认其转动灵活。
16. 此步骤之后按照拆卸的相反顺序安装。
图4-62 对准正时标记