



3.4 广州本田锋范车系L15A7/L18A1型发动机的正时调整
本节介绍L15A7型和L18A1型发动机的正时调整方法。
凸轮轴链条的拆卸步骤与方法如下。
注意:使凸轮轴链条远离磁场。
1. 拆下前轮。
2. 拆下挡泥板。
3. 拆下传动皮带自动张紧器。
4. 拆下缸盖罩。
5. 使1号活塞在上止点TDC位置。凸轮轴链轮上的“UP”标记A应在顶部,并且凸轮轴链轮上的TDC 凹槽B应与汽缸盖的顶部边缘对准,如图3-78所示。
图3-78 凸轮轴链轮上的TDC凹槽B应与汽缸盖的顶部边缘对准
6. 拆下曲轴箱强制通风(PCV)软管,如图3-79所示。
图3-79 拆下曲轴箱强制通风(PCV)软管
7. 拆下曲轴皮带轮。
8. 在油底壳下放置一个千斤顶和木块,以支撑发动机。
拆下固定空调管路的螺栓A,然后拆下上扭杆B,如图3-80所示。
图3-80 拆下螺栓A扭杆B
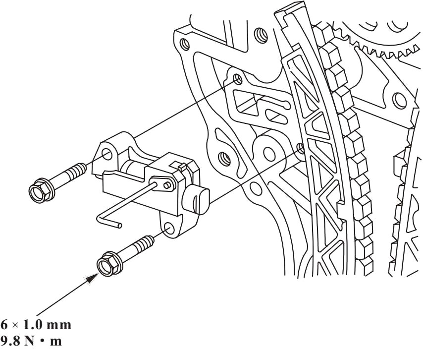
拆下搭铁电缆A,然后拆下发动机侧支座/ 托架总成B,如图3-81所示。
图3-81 拆下搭铁电缆A发动机侧支座/ 托架总成B
11. 拆下机油泵,如图3-82所示。
图3-82 拆下机油泵
12. 测量张紧器体和张紧器连杆平面部分底部之间的张紧器连杆长度。如果长度超出公差,则更换凸轮轴链条,如图3-83所示。
张紧器连杆长度使用极限为:14.5 mm
图3-83 测量张紧器连杆长度
13. 松松地安装曲轴皮带轮。
14. 逆时针旋转曲轴,以压缩自动张紧器,如图3-84所示。
图3-84 逆时针旋转曲轴
15. 将锁A上的孔与自动紧张器B的孔对准,然后将一个1.0 mm直径的销C插入孔中。顺时针转动曲轴以固定销,如图3-85所示。
图3-85 将锁A上的孔与自动紧张器B的孔对准
16. 拆下自动张紧器,如图3-86所示。
图3-86 拆下自动张紧器
17. 拆下曲轴皮带轮。
拆下凸轮轴链条导板A和凸轮轴链条张紧器臂B,如图3-87所示。
图3-87 拆下凸轮轴链条导板A和凸轮轴链条张紧器臂B
18. 拆下凸轮轴链条。
凸轮轴链条的安装步骤与方法如下。
注意:使凸轮轴链条远离磁场。
1. 将曲轴置于上止点TDC位置。将曲轴链轮上的TDC 标记A与发动机汽缸体上的指针B对准,如图3-88所示。
2. 将凸轮轴设定到TDC位置。凸轮轴链轮上的“UP”标记A应在顶部,并且凸轮轴链轮上的TDC 凹槽B应与汽缸盖的顶部边缘对准,如图3-89所示。
3. 将凸轮轴链条安装在曲轴链轮上,使涂色的链节A与曲轴链轮上的标记B对准,如图3-90所示。
图3-88 对准正时标记
图3-89 凸轮轴链轮上的TDC凹槽B应与汽缸盖的顶部边缘对准
4. 将凸轮轴链条安装在凸轮轴链轮上,使涂色的链节A与凸轮轴链轮上的标记B对准,如图3-91所示。
图3-90 使涂色的链节A与曲轴链轮上的标记B对准
5. 安装凸轮轴链条导板A和凸轮轴链条张紧器臂B,如图3-92所示。
6. 安装自动张紧器,如图3-93所示。
图3-91 使涂色的链节A与凸轮轴链轮上的标记B对准
图3-92 安装凸轮轴链条导板A和凸轮轴链条张紧器臂B
图3-93 安装自动张紧器
7. 将销或锁销从自动张紧器上拆下,如图3-94所示。
图3-94 将销或锁销从自动张紧器上拆下
8. 检查机油泵油封件是否损坏。如果油封件损坏,则更换油封件。
9. 将所有旧的密封胶从机油泵结合面、螺栓和螺栓孔上清除。
10. 清理并风干机油泵结合面。
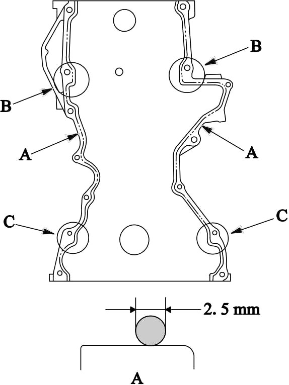
11. 在机油泵的发动机汽缸体结合面上均匀地涂抹密封胶,如图3-95所示。
图3-95 涂抹密封胶
注意:沿点画线A涂抹约2.5 mm胶条直径的密封胶。
12. 在机油泵的发动机汽缸体上表面接触部位B和机油泵的下汽缸体上表面接触部位C上涂抹密封胶。
13. 在机油泵的油底壳结合面上均匀地涂抹密封胶,如图3-96所示。
注意:
图3-96 沿虚线A涂抹密封胶
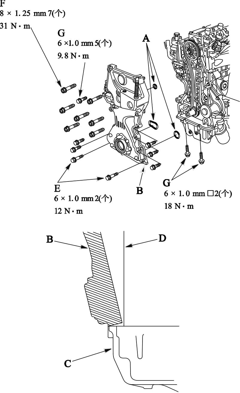
14. 将新的O形圈A安装到机油泵上。将机油泵B的边缘固定到油底壳C的边缘上,然后将机油泵安装到发动机汽缸体D上。松松地安装定位螺栓E,然后紧固8 mm螺栓F。紧固6 mm螺栓G和定位螺栓。清除油底壳和机油泵结合部位多余的密封胶,如图3-97所示。
图3-97 将机油泵B的边缘固定到油底壳C的边缘上
注意:
15. 安装发动机侧支座托架总成A,然后紧固新的发动机侧支座托架总成安装螺栓B,如图3-98所示。
16. 松松地紧固新的发动机侧支座托架总成安装螺栓和螺母C,如图3-98所示。
17. 安装搭铁电缆D,如图3-98所示。
松开变速箱安装螺栓/螺母A,如图3-99所示。
图3-98 安装发动机侧支座托架总成A
图3-99 松开变速箱安装螺栓/螺母A
18. 用举升机将车辆举升至最高位置。
松开下扭杆安装螺栓A,如图3-100所示。
图3-100 松开下扭杆安装螺栓A
19. 降下举升机上的车辆。
20. 紧固发动机侧支座托架安装螺栓/螺母,如图3-101所示。
图3-101 紧固发动机侧支座托架安装螺栓/螺母
21. 紧固变速箱安装螺栓/螺母,如图3-102所示。
图3-102 紧固变速箱安装螺栓/螺母
22. 用举升机将车辆举升至最高位置。
23. 紧固下扭杆安装螺栓,如图3-103所示。
24. 降下举升机上的车辆。
25. 安装上扭杆的安装螺栓B,并按图上所示力距数字紧固新的上扭杆安装螺栓,如图3-104所示。
图3-103 紧固下扭杆安装螺栓
图3-104 安装上扭杆的安装螺栓B
26. 安装固定空调管路的螺栓B。
27. 拆下千斤顶。
28. 安装曲轴皮带轮。
29. 安装曲轴箱强制通风(PCV)软管,如图3-105所示。
图3-105 安装曲轴箱强制通风(PCV)软管
30. 安装缸盖罩。
31. 安装传动皮带自动张紧器。
32. 拆下挡泥板。
33. 拆下前轮。
34. 执行曲轴位置(CKP)模式,清除/曲轴位置模式学习程序。