购买
下载掌阅APP,畅读海量书库
立即打开
畅读海量书库
扫码下载掌阅APP

2.1 电动机常用维修工具

维修电动机的电工工具可分为通用电工工具和专用工具两大类,下面分别进行介绍。

2.1.1 通用电工工具

通用电工工具是指维修电工的常用工具,主要包括试电笔、钢丝钳、螺丝刀、电工刀、活口扳手和电烙铁等。

1.试电笔

试电笔也称测电笔,简称“电笔”,是一种用来测试导线和电气设备是否具有较高对地电压的工具,是安全用电必备的工具。

(1)试电笔的结构

试电笔由氖管、2~5kΩ电阻、弹簧和笔身等部分组成,常见的有钢笔式和螺丝刀式两种,其结构外形如图2-1所示。

(2)使用方法

使用试电笔时,手的握法必须正确,应用拇指和中指握住试电笔的塑料柄或笔杆,食指按在金属笔夹或金属铆钉上,用凿头或笔尖去接触被测的导线或器具,如图2-2所示。当线路或器具有泄漏电流时,泄漏电流经氖管和电阻及人体对地电容进入大地。试电笔内阻很大,经人体的电流很小,但很小的电流就可使试电笔上的电压达到起辉电压(一般为70V左右),这就是试电笔的测试原理。若氖管发亮,则说明有电。

图2-1 试电笔的结构外形

图2-2 试电笔的正确握法

用试电笔测试时,一定要有一个手指按在金属笔夹或金属铆钉上,否则即使有电,氖管也不会发亮,就会错误地把有电当成没电而发生危险。每次使用试电笔时,最好事先在确实带电的开关或插座处预测一下,如果氖管发光,说明试电笔良好,然后再来使用。需要说明的是,为了防止笔尖金属体触及人手造成触电,螺丝刀式试电笔的金属杆上必须套上绝缘套管。

(3)试电笔的作用

试电笔具有以下几个方面的作用:

① 判断相线和零线。在交流电路中,用试电笔触及导线或插座时,发亮的为相线,不发亮的为零线(必须在零线完好的情况下)。

② 检查相线或零线断路。在单相电路中,用试电笔测单相电源回路的相线和零线,氖管均发亮说明零线断路;氖管均不发亮说明相线断路。

③ 区别交流电和直流电。当测试交流电时,氖管两极都发亮;测试直流电时,仅一极发光,而且是负极发光,以此还可区别直流电的正、负极。

④ 区别电压的高低。一般而言,电压高,则试电笔氖管发光亮;电压低,氖管发光暗。

⑤ 检查导线和电器绝缘是否良好。对绝缘电压在500V以下的交、直流导线或电器,绝缘正常时用试电笔测试其外皮或外壳时,氖管不亮;当由于某种原因(如受潮或绝缘老化、损伤),使绝缘性能下降或损坏以及接线错误(相线与零线接反)时,氖管发亮,其亮度与电压成正比,电压越高则氖管亮度越高。

⑥ 判断是漏电还是静电。用试电笔测试电器(电动机)外壳时,如果氖管发亮,说明外壳有电。为判定是漏电还是静电,可用一段两端剥去绝缘的导线(铜线,截面积在2.5mm 2 以上),一端先与地接触好,另一端在试电笔金属头上缠两圈,并留出3~4mm,然后将线头与带电电器外壳断续碰触几次,如有明显的火花和声响,就可判定为漏电;如果仅仅在开始有轻微的火花和声响,以后就再也没有了,试电笔的氖管也不亮了,则可认为是静电。

⑦ 检查电路故障。对于具体电路,可根据分析得出在正常状态和故障状态时电路各点的电压值,然后用试电笔去测试各点,根据氖管的亮与不亮,就可判断出电路中的元器件是否有短路、断路和接触不良等故障。

2.钢丝钳

钢丝钳俗称钳子,是钳夹和剪切的工具,由钳头和钳柄两部分组成,其结构如图2-3所示。

图2-3 钢丝钳的结构

钢丝钳的功能有:铡口用来铡切电线线芯和钢丝、铝丝等较硬金属;钳口用来弯绞或钳夹导线线头;齿口用来紧固或起松螺母;刀口用来剪切导线或剖切软导线绝缘层,如图2-4所示。

图2-4 钢丝钳的使用

与钢丝钳相近的还有剥线钳、尖嘴钳和斜口钳,如图2-5所示。

图2-5 剥线钳、尖嘴钳和斜口钳

3.螺丝刀

螺丝刀又称改锥、起子或旋凿,是一种紧固或拆卸螺钉的工具。主要有一字口和十字口两种,手柄又分为木制手柄和塑料手柄两种,如图2-6所示。常用的螺丝刀规格有50mm、100mm、150mm和200mm等。为避免螺丝刀的金属杆触及皮肤及带电体,应在金属杆上穿套绝缘管。

图2-6 螺丝刀

4.电工刀

电工刀是用来剖削和切割电工器材的常用工具,使用时,刀口应朝外剖削,使用完毕,随即把刀身折进刀柄。电工刀刀柄结构是不绝缘的,不能在带电导线或器材上剖削,以防触电。另外,剖削导线绝缘层时,刀面与导线应成45°角倾斜切入,以免割伤导体。图2-7所示是电工刀的外形和使用方法示意图。

图2-7 电工刀的外形和使用方法示意图

5.活口扳手

活口扳手简称扳子,其结构如图2-8(a)所示,它的头部由定扳唇、动扳唇、蜗轮和轴销等构成,旋动蜗轮可以调节扳口大小。常用的活口扳手规格有150mm、200mm、250mm和300mm等,使用时可按螺母大小选用适当规格。扳拧较大螺母时,需较大力矩,手应握在手柄尾处,如图2-8(b)所示;扳拧较小螺母时,需用力矩不大,但螺母过小容易打滑,宜按照图2-8(c)所示的方法握把,这样可随时调节蜗轮,收紧扳唇防止打滑。

图2-8 活口扳手

6.电烙铁

电烙铁是锡焊的专用工具,主要由手柄、电热元件、烙铁头等组成。根据烙铁头的加热方式不同,可分为内热式和外热式两种,其外形和内部结构如图2-9所示。电烙铁的规格以消耗的电功率表示,通常在20~300W之间。在电动机维修中,一般采用40W以上的外热式电烙铁。

使用电烙铁前,应注意:

① 对于紫铜烙铁头,应先除去烙铁头的氧化层,再用挫刀挫成45°的尖角。通电加热,当烙铁头变成紫色时,马上蘸上一层松香,再在焊锡上轻轻擦动,这时烙铁头就会蘸上一层焊锡,这样就可以进行焊接了。

② 对于已经烧死或蘸不上焊锡的烙铁头,要细心地挫掉氧化层,然后再蘸上一层焊锡。

图2-9 电烙铁的外形及内部结构

2.1.2 电动机维修专用工具

电动机维修中的专用工具,包括绕线工具、嵌线工具、拆卸工具、拆线工具、测量工具、短路侦察器转速表、试验灯等。

1.绕线工具

(1)绕线机

绕线机是用于绕制线圈的专用工具。绕线机上配有计数盘和大小齿轮,大齿轮可带动小齿轮转动,机轴上有两个锥形螺母,其中一个无螺纹,应放在里面,另一个有螺纹,应放在外边,用来夹紧绕线模。手摇式绕线机的外形如图2-10所示。

绕线时应注意两点:①绕线机底座应固定在工作台上,机座的外侧边缘与工作台或桌边的距离以10~12mm为宜;②若转动齿轮时摩擦声较大,可以注入少许润滑油,同时,要注意保持清洁,及时清理灰尘。

图2-10 手摇式绕线机的外形

(2)绕线模

在用绕线机绕制线圈前,首先要选择或制作合适的绕线模。绕线模的尺寸做得是否合适,对绕组重嵌工作是否顺利起着决定性的作用。绕线模尺寸太短,端部长度不够,会使嵌线困难,甚至嵌不下去;尺寸太长,绕组电阻和端部漏抗都会增大,影响电气性能,而且浪费铜线,线圈还易碰触端盖,碰伤绝缘造成绕组通地。因此,合适的绕线模是重绕的一个重要环节。

绕线模有木制、胶木板制、铝制;有固定式的,也有活动式的。绕线模的形状一般分为菱形和弧形两种。菱形绕线模如图2-11所示,主要用于大功率电动机的扁铜线线圈。

图2-11 菱形绕线模外形

小型电动机的绕线模一般都是弧形的,如图2-12所示。

图2-12 弧形绕线模外形

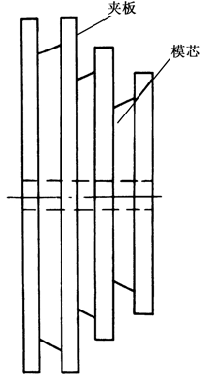
为了调节线模的周长,可以做成如图2-13所示的活动型绕线模,模芯中穿两个长螺钉,这两个螺钉可以独立地在夹板的两个直孔中移动,调节线模的周长,当位置调整好后将两个螺钉拧紧。

图2-13 活动型绕线模

为了便于取下线圈,可将模芯外周做成一定斜度(见图2-12)。在同心式绕组的一相绕组中有几个不同尺寸的线圈,可按几个不同尺寸线圈的平均匝长做几个模芯,如图2-14所示。这样,就可以在一个绕线模上一次绕出一相绕组的全部线圈。

图2-14 不同尺寸线圈的绕线模

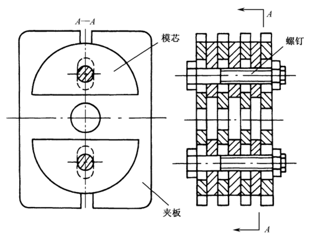
模芯做成后,通常在其轴心处倾斜地锯开,半块固定在上夹板,半块固定在下夹板(见图2-11),以使绕成的线圈易于脱模。

夹板和模芯是一个隔一个组合起来的,最外面都是夹板,靠中心的轴孔穿入螺钉或绕线机的螺杆,用螺母拧紧而固定。夹板上还要开一些槽,用来通过两线圈之间连线的跨接线或用来埋放绑扎带(见图2-11)。在组装绕线模时,一定要注意到这些槽的作用及其走向。

2.嵌线工具

在嵌线过程中必须使用专用工具,才能保证嵌线质量。常用的嵌线工具有划线板、压线板等,其外形如图2-15所示。

图2-15 常用嵌线工具的外形

(1)划线板

划线板又称刮线板,一般长约为20cm,宽为1~1.5cm,厚为0.3cm,一端略尖,呈刺刀状。划线板一般用毛竹或压层塑料板削制而成,也可用不锈钢片在砂轮上磨制而成。划线板的作用有两个:①嵌线时将导线划入铁心线槽;②用来整理槽内的导线。

(2)压线板

压线板用优质钢制成,其作用是用来压线及折叠绝缘纸。维修人员应根据电动机的不同槽形,多备几块。其压脚宽度一般为槽上部宽度减去0.6~0.7mm,长度一般为43mm左右。压线板应光滑,以免刮伤绝缘。

用于嵌线的工具还有整形锤、手术剪、打板等。

3.拆卸工具

电动机的拆卸工具称做拉具,又称拉拔、扒子或拉力器,通常用来拆卸电动机的带轮和轴承等紧固件。拉具按结构不同,分为两爪式和三爪式两种,其外形如图2-16所示。

使用拉具拆卸带轮和轴承时,拉具的抓钩要抓住工件的内圈,顶杆的轴心线与工件轴心线对齐,然后扳动手柄,用力要均匀,并注意抓钩和工件的受力情况,拉不动时不要硬拉,可在工件连接处滴些煤油或用喷灯加热后趁热拉下。

图2-16 两爪式和三爪式拉具的外形

用拉具拆卸电动机带轮时,应先将带轮的紧固螺钉或销钉松开,再将拉具摆正,丝杆对准转轴的中心,然后扳动手柄,将带轮拉下,如图2-17所示。

图2-17 用两爪式拉具拆卸带轮示意图

4.拆线工具

(1)錾子

在拆除损坏的线圈绕组时,需要用锋利的錾子从线圈与铁心端面处錾断,这就是錾子的作用。图2-18所示是采用錾子切割旧线圈示意图。

图2-18 用錾子切割旧线圈示意图

(2)冲子

为了方便地冲出錾去端部后剩下的线圈,可以取直径为6~14mm,长约200~400mm的普通圆钢打制成截面为椭圆形的冲子,以便与电动机定子槽形配合将线圈冲出。

(3)清槽片

在冲出线圈后,定子槽内会残留部分绝缘物,要清出这些绝缘物,常用的清理工具主要是清槽片,其外形如图2-19所示。一般可采用断钢锯片制作清槽片,还可使用砂纸、钢丝刷等工具进行清理。

图2-19 清槽片的外形

5.测量工具

常用的测量工具主要有螺旋测微仪、游标卡尺、塞尺、百分表等。

(1)螺旋测微仪

① 螺旋测微仪的结构。螺旋测微仪,也称千分尺,用于测量绕组导线的线径,测量精确度可以达到0.01mm。螺旋测微仪的外形如图2-20所示,通常采用右旋螺纹,螺距为0.5mm,活动套管的锥面上的刻度为50格,每格代表1/100mm。

图2-20 螺旋测微仪的外形

螺旋测微仪的测量螺距为0.5mm,所以活动套管右旋一周,测轴螺杆前进0.5mm,即两测量面间的距离减小0.5mm,该距离可由固定套管的刻度读出。若旋转不足一周,则两测量面之间距离减小不足0.5mm,这种小于0.5mm的尺寸只能由活动套管锥面的刻度上读出。

② 螺旋测微仪的使用与读数方法。使用前先擦净测量面并转动棘轮,检查两测量面之间有无间隙以及套管刻线是否对准零刻度,将零件毛刺去掉并擦拭干净。

测量时,在两测量面接近待测物表面时,停止转动套管,改为旋动棘轮,当棘轮发出“嗒嗒”声时,说明两测量面已与待测零件表面接触,此时方可进行读数。

螺旋测微仪的读数方法为:先读出固定套管上的刻度数,再读活动套管上的小数部分(估计到最小刻度的1/10,即千分之一毫米),两者相加即为测得的尺寸。

例如,图2-21(a)所示的读数为5mm+0.383mm=5.383mm;图2-21(b)所示的读数为5.5mm+0.383mm=5.883mm。两者的差别在于,固定套管的读数不同,前者没有超过5.5mm,后者超过了5.5mm。注意读数时尽量不要将被测件取下,以免将测量面磨损。

图2-21 螺旋测微仪的读数

(2)游标卡尺

游标卡尺可以用来测量导线的外径,圆环的内、外径和物体的长、宽、高、深,测量的精确度可以达到0.1mm。游标卡尺的外形如图2-22所示。

图2-22 游标卡尺的外形

游标卡尺的主尺D是一根钢制的毫米分度尺,主尺头上有钳口A和刀口A'。主尺上套有一个滑框,其上装有钳口B、刀口B'和尾尺C。滑框上刻有游标E,当钳口A与B靠拢时,游标的零线刚好与主尺上的零线对齐,这时的读数是“0”。

测量导线的外径时,可将导线放在A、B之间,用A、B钳口(也称外卡)轻轻夹住物体,这时游标零线在主尺上的指示数值,就是被测物体的外径。同理,测量物体的内径时,可以用A'、B'刀口(也称内卡);测量物体内部尺寸和小孔的深度时,可以用尾尺C。

在游标卡尺上读数时,利用游标至少可以直接读出毫米以下一位小数而不必估计。在10分度的游标中,10个游标分度的总长刚好与主尺上9个最小分度的总长相等,即等于9mm。这样,每个游标分度之长是0.9mm,即每个游标分度比主尺的最小分度短0.1mm。当游标对准主尺上某一位置时(如图2-23所示),毫米以上的整数部分y可以从主尺上直接读出,在图2-23中为y=21mm。读毫米以下的小数部分Δx时,应细心寻找游标上哪一根线与主尺上的刻线对得最齐。例如,图2-23中是第六根线对得最齐。从图上可以看出,要读的Δx就是六个主尺分度与六个游标分度之差。因为六个主尺分度之长是6mm,六个游标分度之长是6×0.9mm,即Δx=6mm−(6×0.9mm)=6×(1−0.9)mm=6×0.1mm=0.6mm。

图2-23 游标卡尺的读数

同理,如果是第四根刻线对得最齐,那么Δx=4×0.1mm=0.4mm。以此类推,当第k根线对得最齐时,Δx就是k×0.1mm。这就是10分度游标的读数方法。

为了使读数精确,在很多测量仪器上都使用了游标装置,有10分度、20分度、30分度和50分度等。它们的原理和读数方法都是一样的。

(3)塞尺

塞尺主要用来检查电动机的气隙大小及不均匀度。检查时,电动机应为装配状态,在端盖通风孔正对着气隙的情况下才能测量。塞尺由一系列不同厚度的不锈钢片组成,如图2-24所示,每一片上都标有厚度。使用时,选用一片或几片叠在一起插入间隙内,插入深度要在50mm以上。当所选用的钢片正好能塞入间隙内,而厚度再增加一点就塞不进去时,塞入钢片的厚度就是气隙的实际间隙。测量时,需要在两个相对的位置和几个位置测量,相对位置所测气隙的差为气隙不均匀度。如果电动机单边气隙要求为0.30mm,那么当气隙不均匀度达到0.15mm时,应该通过调节端盖位置或检修轴承等方法来减小气隙不均匀度。

图2-24 塞尺

(4)百分表

在检查电动机转轴是否弯曲时,需用百分表。检查时,将转子轴夹顶在车床上或专用设备中,将百分表的触头顶在转子外径上,将转子转动一周,观察百分表读数的变化值,即为轴的弯曲值,如图2-25所示。

图2-25 使用百分表检查转轴的弯曲值

6.短路侦察器

短路侦察器又称短路测试器、短路试验器、开口变压器,主要用来检查电动机定子绕组、电枢绕组的短路故障和笼型转子绕组的断条故障。

短路侦察器可以自行制造,也可以从市场上购买,其外形如图2-26所示。具体应用将在后续章节中进行介绍。

图2-26 短路侦察器的外形

7.转速表

转速表是用来测量电动机转子转速和其他电气设备转速的一种仪表,其外形如图2-27所示。

图2-27 转速表的外形

一般每只转速表还配备有多种规格连接头、滴油器等配件,以供测量和维护时使用。

使用转速表时,应把刻度盘转到相应的测量范围,并在转轴一端加上油。测量转速在1000r/min以上时,不宜使用橡皮连接头,最好使用钢锥连接头测量。测量时,要拿稳转速表,使连接头与电动机被测量轴轻轻接触,两轴应在一条直线,不要倾斜,然后逐渐增大接触力量,以保证测速准确,当转速表表针稳定时,表针所指的示数即为电动机转子的转速。

给转速表加油时,必须把刻度盘转到最慢转速刻度处,然后给转速的各油眼加油。此外,要避免转速表受到严重震动,以免损坏转速表的机械结构。

8.试验灯

试验灯是电器维修人员自己制作的一种简易、直观的试验工具,常用的有两种:①使用市电电源,由一只灯头、一只灯泡、两根导线和两支测试笔组成,如图2-28(a)所示;②以电池为电源,在两支测试笔之间串接一节或几节干电池与小电珠,如图2-28(b)所示。

图2-28 试验灯

(1)220V试验灯

220V试验灯可用于检查220V电源电压、电路的通/断、电气件内部电路的通/断和电气件是否通地。为安全起见,一般将220V灯泡装上保护罩。检查时,将试验灯接入电源插座,若灯不亮,则是插座无电;若灯亮,从灯的发亮程度可以判断出电源电压的高低,灯泡越亮表示电压越高。

在接通电源后,将试验灯接在电路的不同部位,可知电源线是否导通,电路接点是否正常,各种开关是否正常接通。若采用较大瓦数的灯泡做试验灯,还可以检查出开关接点在大电流负荷下是否仍然接触良好。若试验灯接于开关前的地方比接于开关后的地方更亮,则此开关显然不能用做大电流电路的控制开关。

对于单体的电气件,将试验灯串接于一根引出线上,然后接于市电电源上,如图2-29所示,依灯泡的亮与不亮即可判断电气件内部电路是否导通。如串接于开关的试验灯的亮度变暗,则说明开关接触不良。串接于电气负载中的试验灯的亮度变暗,是正常的。

图2-29 用试验灯检查电气件

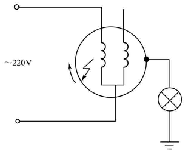
对于以市电为电源的电气件或电器,还可用试验灯来检查其是否通地。检查方法是将试验灯接在外壳与大地之间,如图2-30所示。如果灯泡持续发亮,则是短路性漏电,即通地。灯泡越亮说明通地越严重。

图2-30 用试验灯检查通地故障

(2)干电池试验灯

干电池试验灯可用于检查电路的通/断、电气件内部电路的通断和负载是否通地。使用时要把试验灯接成回路状态,如图2-31所示。若试验灯亮,则说明电路或电气件导通或电气件通地。

图2-31 干电池试验灯的使用 IzVbicqZgrbv8wo4yvPtwnpkByNAUMQ0oKIpHJqWv2FDsqJSRX6cDENdK6iWypSr

点击中间区域
呼出菜单
上一章
目录
下一章
×