



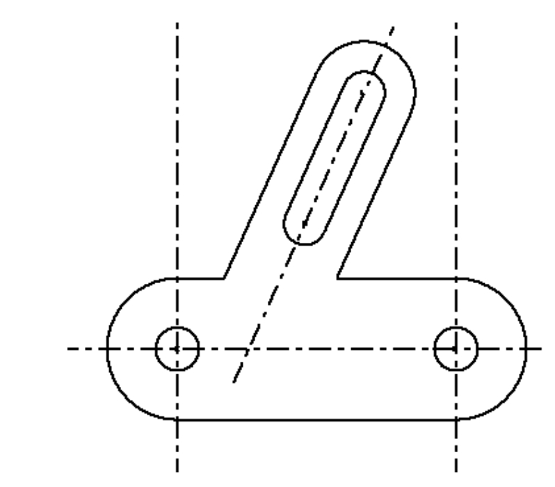
本例绘制拔叉草图,如图3-82所示。
图3-82 拔叉草图
操作步骤
❶ 新建文件。运行Inventor 2013,选择“快速入门”标签栏,单击“启动”面板上的“新建”选项,在打开的“新建文件”对话框中的“Templates”选项卡中的零件下拉列表中选择“Standard.ipt”选项,单击“创建”按钮,新建一个零件文件。
❷ 进入草图环境。单击“三维模型”标签栏“草图”面板上的“创建二维草图”按钮
,选择XZ基准平面为草图绘制面,进入草图环境。
❸ 绘制中心线。单击“草图”标签栏“格式”面板上的“中心线”按钮
和单击“草图”标签栏“绘制”面板上的“直线”按钮
,绘制中心线,如图3-83所示。
❹ 绘制圆。单击“草图”标签栏“绘制”面板上的“圆”按钮
,绘制如图3-84所示的草图。
图3-83 绘制中心线
图3-84 绘制圆
❺ 绘制直线。单击“草图”标签栏“绘制”面板上的“直线”按钮
,绘制直线,如图3-85所示。
❻ 添加相等约束。单击“草图”标签栏“约束”面板上的“相等约束”按钮
,将两端的圆添加相等关系,如图3-86所示。
图3-85 绘制直线
图3-86 添加相等关系
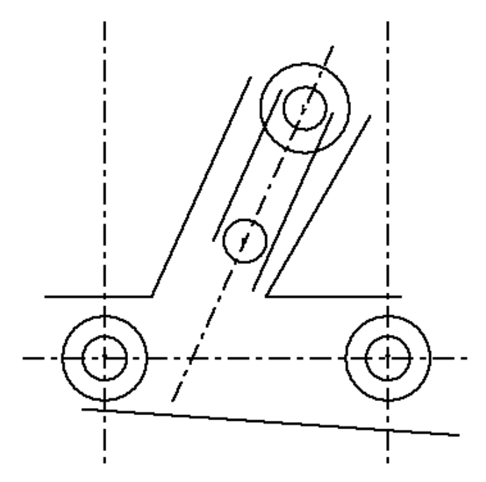
❼ 添加相切关系。单击“草图”标签栏“约束”面板上的“相切约束”按钮
,将两条直线与圆添加相切关系,如图3-87所示。
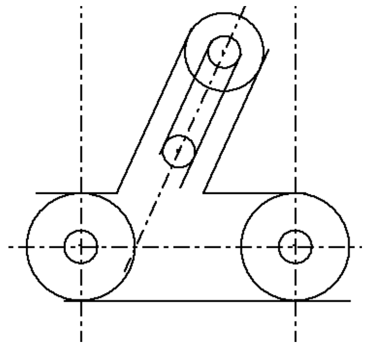
❽ 添加平行关系。单击“草图”标签栏“约束”面板上的“平行约束”按钮
,添加直线的平行关系,如图3-88所示。
图3-87 添加相切关系
图3-88 添加平行关系
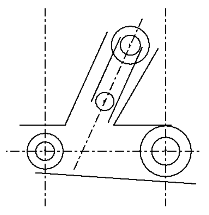
❾ 修剪图形。单击“草图”标签栏“修改”面板上的“修剪”按钮
,修剪多余的线段,如图3-89所示。
❿ 完成圆角。单击“草图”标签栏“绘制”面板上的“圆角”按钮
,打开如图3-90所示的“二维圆角”对话框,输入半径为10,选择如图3-90所示的两条线,单击完成圆角;输入半径为2,选择如图3-91所示的两条边线,单击完成圆角,如图3-92所示。
图3-89 修剪图形
图3-90 选择边线
标注尺寸。单击“草图”标签栏“约束”面板上的“尺寸”按钮
,进行尺寸约束。绘制完成的拔叉草图如图3-82所示。
图3-91 选择边线
图3-92 完成圆角