



1.二极管的外形、结构、符号是什么
在PN结的两端各引出一个电极加上金属引脚和外壳后,就构成了半导体二极管。由N区引出的电极称为阳极或正极,由N区引出的电极称为阴极或负极。二极管的结构及符号如图2-23所示,二极管的文字符号为VD。
图2-23 二极管的结构及符号
a)二极管结构 b)二极管符号
所谓PN结,就是在一块本征半导体的两侧通过扩散不同的杂质,分别形成N型半导体和P型半导体。PN结是半导体器件的核心,具有单向导电特性。即P区接电源正极,N区接电源负极,PN结导通;反之,PN结截止。
二极管是半导体二极管的简称,在电子产品中常用来整流、检波和开关、稳压等。普通二极管一般为圆柱形,其封装外壳有塑料、玻璃和金属。常见二极管的外形如图2-24所示。
图2-24 二极管的外形
二极管图形符号中的三角形形象地表示了电流的流动方向,利用图形符号的这一提示作用,在电路分析时可以方便地知道二极管电路中的电流流动方向。
2.二极管的基本特性是什么
二极管的基本特性就是单向导电性。即在电路中,电流只能从二极管的正极流入,负极流出。
必须说明,当加在二极管两端的正向电压很小时,二极管仍然不能导通,流过二极管的正向电流十分微弱。只有当正向电压达到某一数值(这一数值称为“门槛电压”,锗管约为0.2V,硅管约为0.6V)以后,二极管才能真正导通。导通后二极管两端的电压基本上保持不变(锗管约为0.3V,硅管约为0.7V),称为二极管的“正向压降”。
二极管处于反向偏置时,仍然会有微弱的反向电流流过二极管,称为漏电流。当二极管两端的反向电压增大到某一数值,反向电流会急剧增大,二极管将失去单方向导电特性,这种状态称为二极管的击穿。
3.二极管的主要参数有哪些
二极管的主要参数及选用注意事项见表2-7。
表2-7 二极管的主要参数及选用注意事项
4.常用二极管有哪些特点
二极管的大家族中有许多特殊的成员,它们活跃在电子电工的各个领域。常用二极管的特点见表2-8。
表2-8 常用二极管的特点
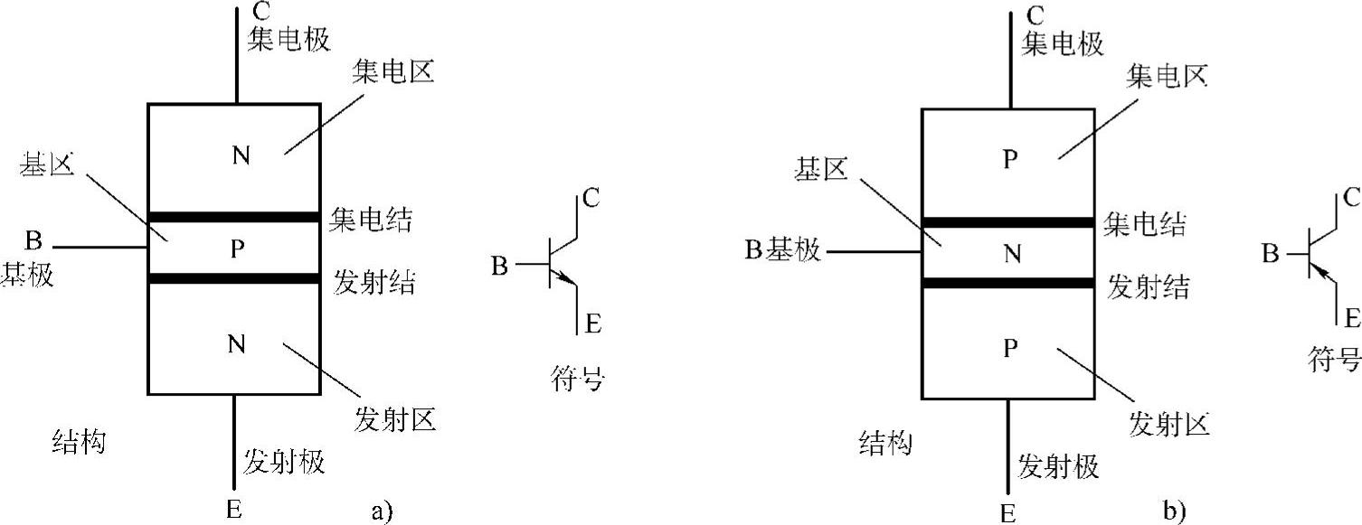
1.晶体管的类型、结构是怎样的
晶体管即为常说的“三极管”,它的基本结构是两个反向连接的PN结,有PNP和NPN两种组合方式,它们的结构如图2-25所示。
图2-25 晶体管的结构
a)NPN型晶体管 b)PNP型晶体管
晶体管有两个PN结,3个区(基区、发射区、集电区),3个电极(基极、集电极、发射极)。PNP型晶体管是因其半导体排列顺序为P、N、P而得名,它的中间层为N型半导体,上下层为P型半导体。
常用晶体管的外形如图2-26所示。
图2-26 常用晶体管的外形
在晶体管的符号中,发射极上标的箭头代表其电流方向。晶体管的电流流向是确定的,但不同极性的晶体管不同,如图2-27所示。
2.晶体管引脚如何识别
晶体管具有3个引脚,分别为发射极(E)、基极(B)、集电极(C)。金属封装的晶体管引脚分布如图2-28所示。其引脚的判断方法是:面对晶体管,以凸起点为起点,顺时针依次为发射极(E)、基极(B)、集电极(C)。
塑料封装的三极管,其3个引脚呈一字排列。不同型号塑料封装的晶体管3个电极的排列也有所不同,不能直接识别,可根据型号查阅有关手册或用万用表测量。
图2-27 晶体管电流流向
图2-28 金属封装晶体管引脚识别
3.晶体管的应用情况如何
1)在放大器中,晶体管工作在放大状态,主要用来放大微弱的电信号。
2)在数字电路中,晶体管工作在开关状态,用来控制电路的通断。
3)晶体管配合其他元件可构成振荡器;此外晶体管还有稳压的作用。
4.晶体管有哪些工作状态
根据晶体管工作状态可分为放大、截止、饱和。以NPN型晶体管为例,其在不同工作状态下的特点见表2-9。
表2-9 晶体管放大、截止、饱和的条件及特点