



【仪表简介】
指针式万用表是一种多功能、多量程的测量仪表,一般可测量直流电流、直流电压、交流电流、交流电压、电阻和音频电平等,有的还可以测电容量、电感量及半导体的一些参数(如 β )。
指针式万用表由一只灵敏度很高的直流电流表(微安表)作表头,再加上档位选择开关和相关的电路组成。
【危害性】
万用表是比较精密的仪器,如果使用不当,不仅造成测量结果不准确且极易损坏仪表。如果操作不当,还有可能引起触电事故。
【操作禁忌】
(1)禁忌使用前不进行“调零”
万用表的准确零位非常重要,否则测出的参量就失去了意义,犹如市场上买东西时要校准称盘一样。万用表的调零分为机械调零和电位器调零两种,具有不同的适用场合。
1)机械调零:在测量电流或电压之前,将连接面板插口正、负极的两支表笔悬空,观察表头指针是否向左满偏,指在零位上,如不在零位,可适当调整表盖上的机械调零螺钉,使其恢复调至零位上,如图1-22所示。这样,测试的电流电压读数才会准确。
机械调零可分3个步骤进行。
一放——将万用表按照规定的放置方式将表放置好(根据表盘符号选择放置方式,“┍┑”表示水平放置,“⊥”表示垂直使用。万用表一般应水平放置,否则会引起倾斜误差。有的万用表如MF47表后面有一支架,使用时把它拉伸出来,支撑万用表,便于观察)。
二看——看指针是否指向左端的零刻度线上。
三调节——若指针不是指向零刻度线,则用一字形螺丝刀调节机械调零螺钉。
图1-22 机械调零
2)电阻调零:几乎每次测量电阻前,都需要对万用表进行电阻调零。方法是在测量电阻之前,将连接面板插孔正、负极的两支表笔短接,观察表头指针是否向右满偏,指在零位上,如不在零位,可适当左右调整电阻调零电位器,使其调至零位上,如图1-23所示。
图1-23 欧姆表调零
(2)禁忌超限测量
超限测量是指万用表指针处于超量程状态。此时,万用表指针右偏至极限,极易损坏指针。发生超限测量,一般是由于量程不合适造成的。选择合适的量程或者在外部增加分压、分流措施都可以避免超限测量。
(3)测量时禁忌用手触及元件裸露的两端(或两支表笔的金属部分)
在使用万用表过程中,不能用手触及元件裸露的两端(或两支表笔的金属部分),测量电阻时以免人体电阻与被测电阻并联,使得测量结果不准确;测量电压、电流时,会直接作用于人体,使操作者触电。这样一方面可以保证测量的准确,另一方面也可以保证人身安全。
(4)禁忌在测量过程中切换档位
在测量某一电量时,禁忌在测量的同时切换档位,尤其是在测量高电压或大电流时,更应注意。因为测量高电压或大电流时切换到小电压或小电流时,指针会打表头,使万用表毁坏。
测量电流与电压不能旋错档位。如果误将电阻档或电流档去测电压,就极易烧坏电表。测量直流电压和直流电流时,注意“+”“-”极性,不要接错。如发现指针反转,既应立即调换表笔,以免损坏指针及表头。如果不知道被测电压或电流的大小,应先用最高档,然后再选用合适的档位来测试,以免指针偏转过度而损坏表头。所选用的档位愈靠近被测值,测量的数值就愈准确。
(5)万用表不用时禁忌置于电阻档
万用表不用时,不要旋在电阻档,因为内有电池,如不小心易使两根表笔相碰短路,不仅耗费电池,严重时甚至会损坏表头。万用表不用时,最好将档位旋至交流电压最高档,避免因使用不当而损坏。
(6)禁忌带电测量电阻
测量一个电阻的阻值,必须保证电阻处于无源状态,也就是测量时,电阻上没有其他的电源或者信号。特别在电路板带电工作时,严禁测量其中的电阻。否则,除测量结果没有意义外,一般都会将万用表的熔丝烧毁。
(7)禁忌读数错误
在万用表的表盘上有多条标度尺,分别用于不同的测量对象。所以,测量时要在对应的标度尺上读数,同时应注意标度尺读数和量程的配合,即表头刻度线上的“读数”与“实测值”不能混淆在一起。“读数”是指从刻度线上直接读出的数值,而“实测值”则是该读数所代表的被测量的数值,它往往通过换算获取,虽然有时这两者在数值上是相同的,但在许多情况下是不同的。另外,在读数时还应使指针和指针在反射镜上的投影相重叠,以避免产生测量误差。
(8)禁忌接线错误
由于万用表使用的直流表头只允许电流从“+”极流入,从“-”极流出,所以万用表面板上的插孔和接线柱都有极性标记。使用时将红表笔与“+”极性插孔相连,黑表笔与“-”极性插孔相连。测量直流电压和直流电流时,要注意正、负表笔极性不得接反,以免指针反转,如发现指针反转,应立即调换表笔。
测量电流时,万用表应串联在被测电路中;测量电压时,万用表要并联在被测电路两端。在用万用表测量晶体管时,应牢记万用表的红表笔与内部电池的负极相接,黑表笔与内部电池的正极相接。
(9)禁忌不妥善保管万用表
万用表是一种准确度较高的测量仪表,存放之处应远离强磁场,平时要轻拿轻放,尽量避免强烈的振动与碰撞。
【仪表简介】
数字万用表采用了大规模集成电路和液晶数字显示技术,从根本上改变了传统指针式万用表的电路和结构,是一种多功能、多量程的电子式仪表。与指针式万用表相比,数字万用表具有许多特有的性能和优点,如具有很高的准确度和分辨率,显示清晰、直观,功能齐全,性能稳定,测量速率高,过载能力强等,深受使用者喜爱。
新型数字万用表除了具有ACV、DCV、ACA、DCA、电阻、电容、频率、二极管等比较常用的测试功能外,有的数字万用表还增加了一些新颖实用的测试功能。例如,读数保持(HOLD)、温度(℃)、逻辑测试(LOGIC)、真有效值(TRMS)、相对值测量(RELΔ)、最小值/最大值、自动关机(AUTO OFF POWER)等,如图1-24所示为Agilent U3402A五位半数字万用表的外形图。
图1-24 Agilent U3402A五位半数字万用表
有的数字万用表还设有自动电源切断电路,当仪表工作时间约30~60min(分钟),电源自动切断电路,仪表进入睡眠状态。
【危害性】
数字万用表是比较精密的仪器,使用前应认真阅读说明书,熟悉电源开关、功能/量程开关、插孔、特殊插口的作用。否则,如果不按照说明书的要求使用万用表,很容易损坏仪表。如果操作不当,还有可能引起触电事故。
【操作禁忌】
(1)操作前的禁忌
1)将ON-OFF开关置于ON位置,检查电池电压是否充足,如果电池电压不足,则在显示器上会显示“
”或“BAT”,这时,则应更换电池,如图1-25所示。只有电池电压正常,才能用万用表进行测量。
2)测试前,功能开关应放置于所需量程上。
图1-25 更换新电池
(2)电压测量的禁忌
1)不知道被测电压范围,将功能开关置于大量程并逐渐降低量程(不能在测量中改变量程)。
2)如果显示“1”,表示过量程,功能开关应置于更高的量程。
3)当测量高压时,应特别注意避免触电。
4)数字万用表不得用于测量高于700V(有的万用表为750V)有效值的交流电压,否则会损坏万用表的内部线路。
5)测量较高交流电压应特别注意安全,避免触电。
6)当误用交流电压档去测量直流电压,或者误用直流电压档去测量交流电压时,显示屏将显示“000”,或低位上的数字出现跳动。此时应立即停止测量。
(3)电流测量的禁忌
1)如果使用前不知道被测电流范围,将功能开关置于最大量程并逐渐降低量程(不能在测量中改变量程)。
2)如果显示器只显示“1”,表示过量程,功能开关应置于更高量程。
如果显示屏只显示“000”,则有两种可能:一是该电路(元件)没有电流通过;二是选择的量程过大,选用向下递减一个量程重新测试,直到可以读取比较准确的数值为止。
3)在测量电流的过程中,不能带电拨动量程转换开关。
4)数字万用表的直流电流档位20A或10A档无熔丝保护,测量时间不能超过15s。
5)数字万用表检测电流时,要将表笔插入电流插孔中,且检测小电流(μA、mA)和大电流(A)时,红表笔应插入规定的插孔。
(4)电阻测量的禁忌
1)所测电阻不乘倍率,直接按所选量程及单位读数,这与使用指针式万用表测量电阻时读数方法是不同的。
2)如果被测电阻值超出所选择量程的最大值,将显示为“1”,则应选择更高的量程。对于大于1MΩ或更高的电阻,要几秒钟后读数才能稳定,这是正常的。
3)当表笔与电阻两端引脚没有连接好时,此时相当于开路情况,显示屏上显示为“1”。
4)当检测被测线路的阻抗时,要保证断开被测线路中的所有电源,所有电容应放电,才能进行测量。
5)万用表的200MΩ档位,如果短接红、黑表笔短路时显示为10,测量时则应从测量读数中减去10,才为实际电阻值。如测量100MΩ电阻时,显示为1010,应从1010中减去10,被测电阻的实际阻值为1000即100MΩ。
6)在200Ω档,由于线路、仪表内阻及接触点存在阻值,所以在短接红、黑表笔时,有一些很小的数值是正常的(如图1-26所示为0.07Ω)。在使用中这个数值会越来越大,不可调整,但可以通过擦洗电路板、紧密接触点来减少这个数值。在实际使用过程中,可见先短接红、黑表笔,并记下数值,在测量读数时减去这个数值就是实际电阻值。
图1-26 200Ω档时表笔短接后的电阻值
(5)电容测试的禁忌
1)仪器本身已对电容档设置了保护,在电容测试过程中,不用考虑电容极性及电容充放电等情况。
2)测量电容时,将电容插入电容测试座中(不要通过表笔插孔测量)。
3)测量大电容时,稳定读数需要一定时间。
【仪表简介】
绝缘电阻表(原称兆欧表)是电工常用的一种高电阻值测量仪表,主要用来检测供电线路、电机绕组、电缆、电器设备等的绝缘电阻,以保证这些设备、电器和线路工作在正常状态,避免发生触电伤亡及设备损坏等事故。
模拟式绝缘电阻表可分为手摇式绝缘电阻表和电子式绝缘电阻表。手摇式绝缘电阻表内部安装有小型发电机,可手动升降电压(绝缘电阻表中的手摇发电机发出的电压是不稳定的,它与手摇的速度有关),但结构简单、容易维护。电子式绝缘电阻表内置有电池,较高级的还配有电源接口,可连接市电220V作为电源,并可通过旋钮改变输出电压。
数字式绝缘电阻表通常使用内置电池作为电源。它采用DC-DC变换技术提升至所需的直流高压,具有输出功率大、短路电流值高、输出电压等级、测量准确度高、经久耐用等特点。数字式绝缘电阻表不怕短路测试,不怕被测试体的电流反击,能够自动对被测试体放电。
【危害性】
绝缘电阻表是专门用来测量绝缘电阻的,因为它能输出几百伏以上的高压,因此操作时必须注意人身安全和设备安全。例如,测量完毕,若没有对设备充分放电,此时人体接触设备就容易引起触电事故。
【操作禁忌】
(1)禁忌不正确选用绝缘电阻表:测量前应正确选用表计的型号,使表计的额定电压与被测电气设备的额定电压相适应。测量额定电压500V及以下的电气设备,一般选用500~1000V的绝缘电阻表;测量500V以上的电气设备,选用2500V绝缘电阻表;高压设备选用2500~5000V绝缘电阻表。
(2)禁忌使用前不校表:使用绝缘电阻表前,应对仪表进行短路试验和开路试验,由鉴别绝缘电阻表的好坏。
1)短路试验(校零点):将线路、地线短接,慢慢摇动手柄,若发现表针迅速指在“零点”处,则停止摇动手柄,说明表是好的,表的零点读数是正确的,如图1-27a所示。
图1-27 校表
2)开路试验(校无穷大):将线路、地线分开放置后,先慢后快逐渐加速,以约120r/min的转速摇动手柄,待表的读数在无穷大处稳定指示时,即可停止摇动手柄,说明表开路试验无异常,如图1-27b所示。
经过短路试验和开路试验两个步骤的检测,证实表没问题,可进入以下测量步骤。否则,该绝缘电阻表不能使用。
(3)禁忌接线错误:测量对象不同,接线方法也有所不同。测量绝缘电阻时,一般只用线路端(L)和接地端(E);用于电缆绝缘电阻的测量,则需要用到屏蔽接线柱(G)。
1)测量电动机绕组之间的绝缘电阻时,将E、L端分别接于被测的两相绕组上;测量电动机绕组对地(机壳)的绝缘电阻时,将L与绕组连接,E与机壳的非绝缘处连接,如图1-28所示。
图1-28 测量电动机绕组绝缘电阻接线方法
2)测量低压线路时,将E接地线,L接到被测线路上,如图1-29所示。
3)测量电缆的对地绝缘电阻或被测设备的漏电流较严重时,G端接屏蔽层或外壳,L接线芯,E接外皮,如图1-30所示。G端接屏蔽层或外壳的作用是消除被测对象表面漏电造成的测量误差。
图1-29 测量低压线路绝缘电阻的接线方法
图1-30 测量电缆绝缘电阻的接线方法
4)测量家用电器的绝缘电阻时,L接被测家用电器的电源插头,E接该家用电器的金属外壳,如图1-31所示。
图1-31 测量家用电器绝缘电阻的接线方法
(4)禁止在雷电时或高压设备附近测绝缘电阻,只能在设备不带电,也没有感应电的情况下测量。
(5)在摇测过程中,被测设备上禁忌有人工作。
(6)绝缘电阻表的测试线禁忌绞在一起,要分开。
(7)绝缘电阻表未停止转动之前或被测设备未放电之前,严禁用手触及,以保障设备及人身安全。拆线时,也不要触及引线的金属部分。
(8)测量结束时,禁忌不对大电容设备放电。
(9)禁忌不定期校验其准确度:定期校验的方法是直接测量有确定值的标准电阻,检查其测量误差是否在允许范围之内。
【仪表简介】
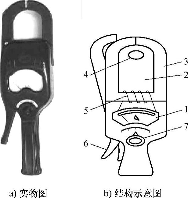
钳形电流表简称钳形表,其工作部分主要由一只电磁式电流表和穿心式电流互感器组成,如图1-32所示。穿心式电流互感器铁心制成活动开口,且成钳形,故名钳形电流表。电流互感器的铁心在捏紧扳手时可以张开,被测电流所通过的导线可以不必切断就可穿过铁心张开的缺口,当放开扳手后铁心闭合。穿过铁心的被测电路导线就成为电流互感器的一次绕组,其中通过电流便在二次绕组中感应出电流。从而使二次绕组相连接的电流表便有指示——测出被测线路的电流。
图1-32 钳形表的结构
1—电流表 2—电流互感器 3—铁心 4—被测导线 5—二次绕组 6—手柄 7—量程选择开关
钳形表最大的优点是可以在路测量大电流而不需关闭被测电路,也不需要与待测线路进行连接,用于对电气设备检修、检测非常方便,能够及时了解设备的工作情况。
钳形电流表的缺点是测量准确度比较低。
【危害性】
使用钳形表应填写第二种工作票,由两人操作。由于是在带电情况下测量,特别是要注意人身安全和设备安全。操作时应带绝缘手套或干净的线手套;应注意身体各部分与带电体保持安全距离(低压系统安全距离为0.1~0.3m);应注意测量方法的正确性,若操作不当造成短路或接地故障,也容易引起安全事故。
【操作禁忌】
(1)禁忌操作前不检查仪表:测量前,对于指针式钳形表应检查钳形表指针是否归零,否则,可以调整表盖上的机械“零位”调整器,让表针恢复到“零位”。对于数字式钳形表应检查电池电压是否正常,当电池电量变低时,显示屏上会显示“BATT”,此时要更换新电池,如图1-33所示。
图1-33 电池电量变低
(2)禁忌不按照电压等级选用钳形电流表:钳形电流表分高、低压两种,低电压等级的钳形电流表只能测低压系统中的电流,不能测量高压系统中的电流。
(3)禁忌在测量过程中转动转换开关换档:在换档之前,应先将载流导线退出钳口。
(4)某些型号的钳形电流表还设置有交流电压测量功能,测量电流、电压时应分别进行,禁忌同时测量电流和电压。
(5)禁忌用钳形电流表测量裸导体的电流。
(6)测量完毕,禁忌没有把量程开关置于最大量程位置上,以免下次使用时不慎过电流。