



脊柱有24块脊椎骨、1块骶骨、1块尾椎骨,由韧带、小关节及椎间盘连接而成;除寰、枢椎及骶尾椎外的脊椎均分为前部的椎体和后部的椎弓两部分,二者之间形成椎孔,诸椎孔共同组成椎管。椎体之间由椎间盘连接,X线上表现为椎间隙。椎弓由椎弓根、椎弓板、棘突、横突和关节突组成。同侧上下两个关节突组成脊椎小关节。脊柱主要功能是支撑头部和躯干,保护内脏和脊髓,同时脊柱将重力传导至下肢,有一定范围的运动功能。
婴儿椎体侧位像为横卵圆形,前后有横“V”字形透亮线影,椎体与椎弓分离。1~2岁椎体渐成扁方形,上下径明显短于横径,边缘钝圆;学龄前大致为长方形,角为钝角;6~9岁椎体的角逐渐变为直角;约12岁椎体上下面的环状软骨开始骨化,出现环状骨骺,因椎体前缘上下角处的环状软骨较厚,侧位上呈三角形或条状骨化影;15岁时环状骨骺开始与椎体联合;至25岁完全联合(图7-2-1)。
图7-2-1 儿童颈椎X线正侧位片
1.脊柱X线影像 正常成人脊柱正位像呈直线排列;侧位像显现脊柱的生理弯曲,脊椎椎体前缘连线、后缘连线、关节块连线及椎管顶连线大致互相平行。①正位片:椎体呈长方形,由上而下依次增大,其上下缘的致密线状影为终板;横突及椎弓根,椎体两侧向外突出影为横突,横突内侧环状致密影为椎弓根投影,称为椎弓环;关节突、椎弓板及棘突,椎弓环上方及下方分别为上下关节突,椎弓板由椎弓根向后延续,两侧在中线联合成棘突,呈尖向上的三角形。②侧位片:椎体呈长方形,各个角为直角,椎弓根紧接其后;椎体后由上至下的纵向半透亮区,为椎管;椎弓根与棘突之间为椎弓板,上胸段棘突斜向下方,因与肋骨重叠不易观察,腰段的棘突向后突,易于显示。在椎弓根与椎弓板连接处之上及下方分别为上下关节突;同一脊椎上下关节突之间为椎弓峡部,腰椎斜位片能清楚显示峡部;相邻椎体之间横行半透明影为椎间盘,称之为椎间隙;相邻的椎体、椎弓根、关节突及椎间盘之间形成的类圆形的半透明影为椎间孔。
(1)颈椎X线片
1)正位X线片:可显示第3颈椎至第2胸椎的椎体、椎弓根、棘突、椎间隙、钩椎关节及其周围软组织(图7-2-2A)。
2)侧位X线片:可显示全部颈椎的椎体、椎间隙、小关节、棘突及周围软组织(图7-2-2B)。
3)斜位X线片:主要显示颈椎的椎间孔、椎弓根结构(图7-2-2C)。
4)张口位X线片:只有张口位才可显示寰椎的侧块、枢椎的齿状突及寰枢椎间关节突关节结构(图7-2-2D)。
图7-2-2 正常成人颈椎X线片
(2)胸椎X线片
1)正位X线片:可显示胸椎的椎体、小关节、棘突、横突、后肋、肋椎关节及周围软组织(图7-2-3A)。
2)侧位X线片:显示胸椎的椎体、椎间关节、椎间孔结构及周围软组织(图7-2-3B)。
图7-2-3 胸椎X线片
(3)腰椎X线片
1)正位X线片:可显示腰椎的椎体、椎间隙、小关节、棘突、横突、骶髂关节、骶椎及周围软组织(图7-2-4A)。
2)侧位X线片:可显示腰椎椎体、椎间隙、小关节、棘突、椎间孔及周围软组织(图7-2-4B)。
图7-2-4 腰椎X线片
2.脊柱CT影像 脊柱CT影像椎体表现为薄层骨皮质包裹的海绵状松质骨,其后缘向前凹陷;椎管中央较低密度影为硬模囊;附着于椎弓板和关节突内侧的软组织密度影为黄韧带;腰段神经根位于硬模囊前外侧,为圆形中等密度影;下腰段椎体后外侧,上关节突前方为漏斗状侧隐窝,其内有即将穿出椎间孔的神经根;椎间盘为密度低于椎体的均匀软组织密度影。
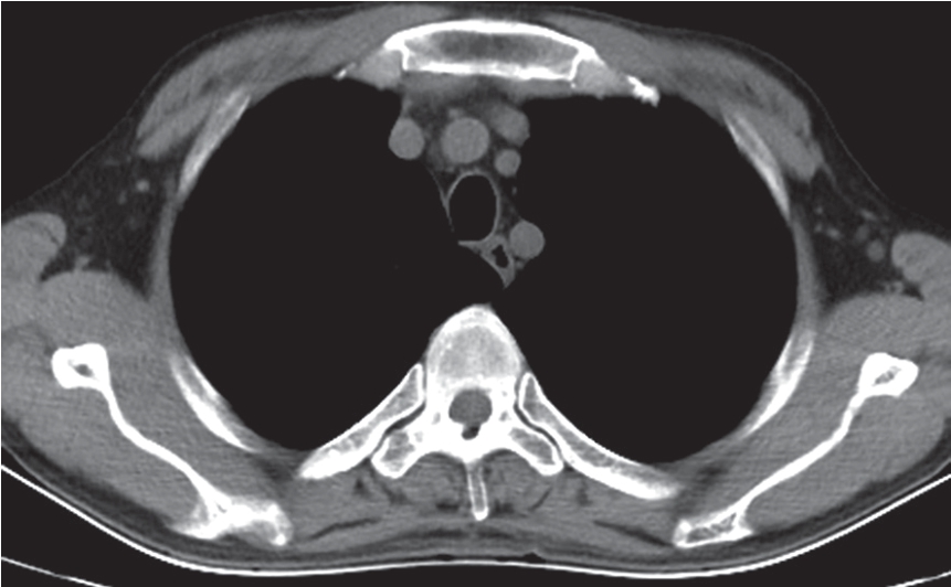
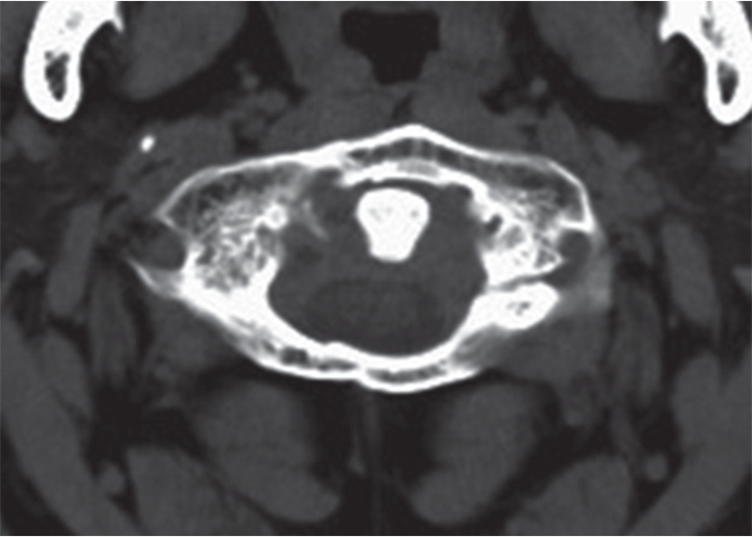
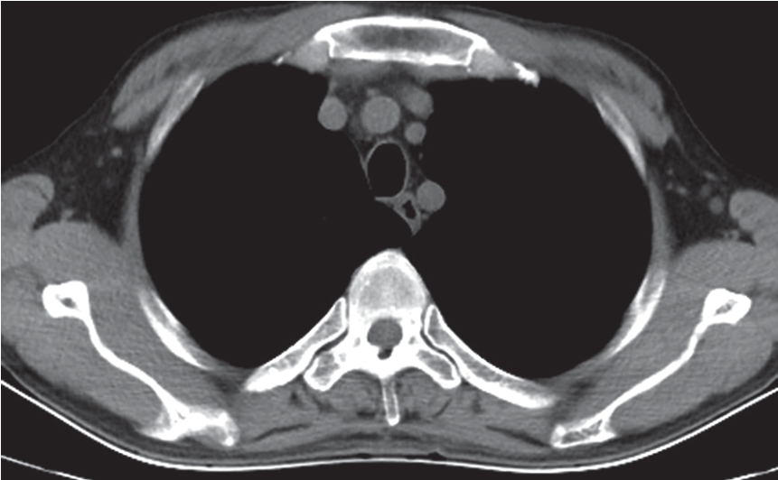
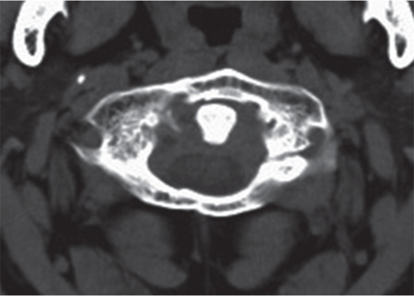
(1)颈椎CT平扫
1)寰椎CT平扫:寰椎横断面可显示寰椎前结节、前弓、侧块、横突、后弓、横突孔,枢椎齿状突,茎突(图7-2-5A)。
2)下颈椎CT平扫:经椎体中部平面横断面可显示椎体、椎弓根、椎板组成的骨性椎管,椎管内可见硬脊膜囊、脊髓、硬脊膜外腔、椎体后缘的后纵韧带、附着于椎弓板内侧的黄韧带、横突及横突孔、棘突等结构。经颈椎椎间盘平面可显示椎动脉、上下关节突、椎间关节、椎板、脊髓、钩突、钩椎关节(图7-2-5B、C)。
图7-2-5 颈椎CT平扫
(2)胸椎CT平扫:经椎体平面可见椎体前的前纵韧带、胸主动脉,椎体后缘向前凹,两侧通过肋椎关节与肋骨相连,横突向后外侧展开,在横突末端有肋横关节、棘突,椎管内可见硬膜囊、脊髓等(图7-2-6)。经椎间盘平面横断面可见胸椎椎间盘,椎体后方两侧的椎间孔、横突、上下关节突、椎弓板、棘突、椎管及其内的脊髓等。
图7-2-6 胸椎CT平扫
(3)腰椎CT平扫:经椎体平面可见椎体、椎弓根、横突、棘突、椎管(图7-2-7A)。经椎间盘平面可见椎间盘、椎间关节黄韧带等(图7-2-7B)。冠状面可显示椎体、椎间隙、腰大肌等。三维表面重建可显示表面形态、结构及排列。
图7-2-7 腰椎CT平扫
3.脊柱MRI影像 脊椎骨性结构的皮质骨及韧带在T1WI和T2WI上均表现为黑影的低信号;椎间盘在T1WI上不能区分纤维环和髓核,在T2WI上纤维环表现为黑影的低信号,而髓核则为白影的高信号;正中矢状面T1WI上脊髓呈带状灰影的中等信号,边缘光滑、信号均匀,位于椎管中心部位,其前后为低信号的脑脊液;T2WI上脊髓仍为中等信号,其前后的脑脊液呈白影的高信号。横断面上可清楚显示脊髓、脊神经及其与周围的关系(图7-2-8)。
图7-2-8 正常脊椎MRI影像
脊柱骨折患者多有高处坠落时足或臀部着地,或重物冲击头肩部的外伤史。脊柱受伤时因过度曲屈,受向前下合力的作用使椎体发生压缩性骨折,常见于活动范围较大的C 5 、C 6 、T 11 、T 12 、L 1 、L 2 等部位。
1.概述 寰椎骨折较少见,最常见的骨折是寰椎后弓骨折,其次为一侧前部骨折和对侧的侧块后部骨折,造成浮动侧块。
2.影像学检查 一般根据创伤机制和X线表现分为两种类型,即后弓骨折和侧块分离骨折。颈椎侧位片可显示寰椎后弓骨折的断裂;侧块分离骨折也称Jefferson骨折,是由于寰椎前后弓同时骨折导致侧块分离。由于寰枢椎在正位片上与颌骨重叠,只有张口位才能显示寰椎侧块向两侧移位。CT平扫能清晰显示骨折类型及部位(图7-2-9)。
图7-2-9 CT平扫示寰椎侧块骨折
1.概述 齿状突由枢椎椎体突起形成,是维持寰椎稳定性的重要结构。一旦骨折,其稳定性严重破坏,易导致寰椎脱位。齿状突骨折可以分为三类:Ⅰ类齿状突骨折为发生于齿状突尖部的骨折,该类骨折无颈部不稳定者可仅采用颈部支具治疗;Ⅱ类齿状突骨折是指发生于齿状突中段的骨折,其骨不连发生率是11%~100%;Ⅲ类齿状突骨折是指经过枢椎椎体的骨折,即齿状突基底部的骨折,其骨不连的发生率是100%。
2.影像学检查
(1)无移位齿状突骨折:好发于基底部,少数发生于齿状突的尖部及腰部。X线张口位片可显示骨折部位(图7-2-10A),侧位片齿状突对位良好,未见移位(图7-2-10B)。CT平扫能清晰显示骨折部位(图7-2-10C)。
图7-2-10 齿状突骨折影像学检查
(2)齿状突骨折伴寰椎脱位:伴寰椎前脱位者,侧位片可见齿状突伴随寰椎向前移位(图7-2-11A);伴后脱位者侧位片可见齿状突向后移位。CT检查可清晰显示骨折移位(图7-2-11B)。
图7-2-11 齿状突骨折伴寰椎脱位影像学检查
单纯压缩性骨折多见于胸、腰椎,常因坠落、车祸、体育运动引起,其致伤机制主要是因屈曲合并压缩暴力造成椎体前部损伤。
1.X线平片 X线平片表现为椎体前缘变短,侧位片椎体呈楔形,无骨折线,其上下椎间隙通常保持正常(图7-2-12)。
图7-2-12 X线侧位片显示压缩性骨折
2.CT扫描 侧位像见椎体呈楔形,少数后凸畸形;横轴位显示椎体前半部骨皮质断裂,椎体后缘骨质连续,椎管无狭窄(图7-2-13)。
图7-2-13 CT示腰椎压缩性骨折
3.MRI检查 矢状位椎体楔形变,椎体内信号异常,椎管内结构正常无狭窄;脊柱生理弯曲无变化,椎体后缘骨质连续。
胸腰椎爆裂性骨折主要是受到垂直方向暴力或垂直方向合并屈曲压缩暴力导致椎体破裂,并向四周膨出、移位。
1.X线平片 脊椎受到垂直方向暴力的作用椎体可发生粉碎性骨折。椎体压缩变扁,椎体及附件的骨折片向前后左右各方向移位。X线对爆裂性骨折的显示不如CT检查(图7-2-14)。
图7-2-14 X线平片示腰椎爆裂性骨折
2.CT检查 脊椎骨结构复杂,互相重叠,CT应用图像后处理技术,可清晰地显示脊椎骨折类型、骨折片移位程度、附件骨折、小关节脱位、椎管变形及狭窄等变化。而CT检查的重点是观察脊髓有无受压情况。
(1)脊椎骨折:显示椎体、椎板、上下关节骨折及其移位,严重者椎管内可见骨碎片,椎管狭窄。
(2)椎管内血肿:①硬膜外血肿,血肿呈半圆形高密度影,硬膜囊变形较局限;②硬膜下血肿,血肿呈半圆形高密度影,形态不规则,边界不清楚;③脊髓内血肿,脊髓内高密度影,形态不规则,边界不清楚。
(3)创伤性椎间盘脱出:显示椎间盘局限性突入椎管使硬膜囊变形、脊髓移位(图7-2-15)。
图7-2-15 CT示爆裂性骨折
3.MRI检查 MRI能清楚显示脊髓及神经根损伤、韧带、椎间盘及软组织损伤等。损伤的椎体呈粉碎性破裂,椎管断裂、变形;矢状位椎体有不同程度移位,椎间盘破裂并移位,骨折脊椎成角畸形;急性期损伤的脊椎均伴有骨挫裂伤,相邻的脊髓受压变形(图7-2-16)。
图7-2-16 MRI示爆裂性骨折
骨折并脱位指骨折伴有椎体脱位、上下关节突绞锁。游离骨折片可突入椎管。严重者可发生脊椎后突成角、侧移。骨折并脱位主要表现是损伤椎体压缩呈楔形或轻度压缩变形,椎体明显脱位,常超出下一椎体上面的一半以上,严重者脱位椎体完全超出下一椎体的前方;下一椎体也可出现前缘骨折,骨折碎块随上一椎体前移。常伴有附件如关节突、椎弓等骨折,小关节常半脱位及交锁;严重者可伴有脊髓损伤(图7-2-17)。
图7-2-17 MRI示第7颈椎骨折并脱位
(周珞华)