



在图 1-3 所示的军事系统分析过程中,并没有反映出军事系统的任务过程。为了全面描述和分析军事系统,可以把军事系统的任务过程区分为主要任务过程、辅助任务过程和保障任务过程。主要任务过程是指完成各个级别主要任务的过程,直接影响军事系统目标的实现;辅助任务过程是指为促进主要任务过程稳定而进行的辅助任务过程;为了保障军事系统主要任务过程和辅助任务过程的稳定性,军事系统中还存在第三种任务过程,即保障任务过程。这三种任务过程的统一、联系和相互依存能够全面反映军事系统的工作。
通常,军事系统实现具体任务的主要任务过程往往是一系列战斗行动,如进攻、防御、行军等。主要任务过程中的一些阶段任务可以具体化,如强渡水障行军、遭遇战、突破防御等。对于主要任务过程而言,各个级别的任务也可以细化,如联合战役的主要任务过程可以分解为:一部分战役军团在主要方向进攻,担负主要突击任务;另一部分战役军团在辅助方向进攻,实施引诱突击;还有一些战役军团处于第二梯队,担负支援和后续作战任务。在战术级别上(部队战斗),完成直接影响战役主要目标实现的任务范围更窄、更具体。因此,所有这些级别的一系列战斗行动组成了联合战役主要任务过程的内容。离开军事系统战斗保障子系统的工作,主要任务过程是不可能完成的,如侦察、通信、工程保障、防空等都是非常重要的战斗保障过程。对应这些子系统的工作构成了辅助任务过程的内容。还有一些过程,如保障各类人员的给养、机构的活动、医疗保障、在战役战斗过程中的装备维修保障、物资器材供应等,可以保障主要任务过程和辅助任务过程的稳定性,这些属于保障任务过程的范畴。
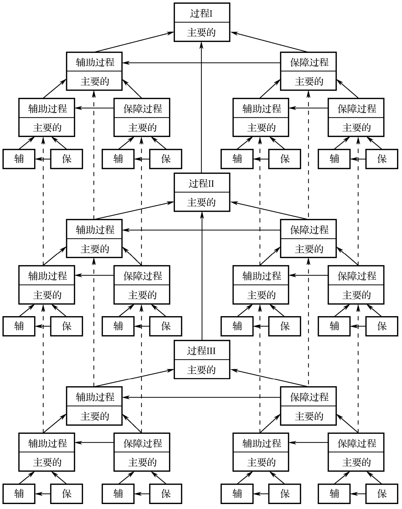
图 1-4 给出了各个级别的军事系统任务过程分析图。箭头表示每一个过程的结果运动方向。第一级别的主要过程(过程Ⅰ)是其他所有过程的“用户”,第二、第三级别的主要过程构成了主要过程Ⅰ的具体内容,从而体现出军事系统的层次性。
从图 1-4 中可以看出,第一级别的辅助过程和保障过程在自己的子系统中被看成主要过程。同时它们也有自己的辅助过程和保障过程,以这些辅助过程和保障过程为中心,又构成了新子系统的主要过程,使系统在水平方向也出现了分支。
在细化分析军事系统纵向任务过程时,至少应分离出 3 个级别,每个级别的辅助过程和保障过程也应细化到3个级别,这样的细化过程便于找出军事系统主要任务(主要目标)实现过程的特点,以及军事系统辅助子系统和保障子系统的具体内容。
在明确了进行军事系统任务过程分析原则的基础上,进而确定分析研究军事系统组织结构的原则。
军事系统的组织结构分析用来揭示军事系统的组成部分和子系统的名称、复杂性和按级别分布、它们之间联系的性质和特征、外部联系的性质、隶属组成部分的数量和功能。军事系统的组织结构是实际发挥作用的一定数量的物质组成部分(或子系统)及它们之间联系的综合。
在进行军事系统的组织结构分析时,首先确定主要子系统组织结构的 3 个级别,找出每个级别起辅助功能和保障功能的环节,将这些环节联合成具有各自级别的子系统。在这个步骤中,找出属于主要子系统、辅助子系统、保障子系统的隶属组成部分,从而可以确定子系统、整个系统与上一级系统之间的外部联系。
图1-4 各个级别的军事系统任务过程分析图
其次找出军事系统的内部联系。军事系统的内部联系表现为各种形式的流:第一种是主要输入流,即劳动对象流;第二种是劳动工具流,包括各种能源、工艺设备及其一定量的储备,以及劳动资源和资金流等;第三种是军事系统中最重要、最广泛的信息流,通过信息的联系实现指挥子系统的管理活动。
综上所述,对军事系统进行分析研究就是对军事系统的目标、任务过程和组织结构依次分析的循环过程,需要根据上一个过程的分析结果修正后面的结果,需要建立各式各样的模型,借助计算机仿真等手段才能实现。