购买
下载掌阅APP,畅读海量书库
立即打开
畅读海量书库
扫码下载掌阅APP

2.2 绘制圆弧类对象

AutoCAD 2020提供了圆、圆弧、圆环、椭圆和椭圆弧5种圆弧对象。

2.2.1 圆

AutoCAD 2020提供了多种画圆方式,可根据不同需要选择不同的方法。

1.执行方式

命令行:CIRCLE。

菜单栏:“绘图”→“圆”。

工具栏:“绘图”→“圆”

功能区:“默认”→“绘图”→“圆”

2.操作步骤
        命令: CIRCLE↙
        指定圆的圆心或 [三点(3P)/两点(2P)/切点、切点、半径(T)]:(指定圆心)
        指定圆的半径或 [直径(D)]:(直接输入半径数值或用鼠标指定半径长度)
3.选项说明

三点(3P):用指定圆周上3点的方法画圆。依次输入3个点,即可绘制一个圆。

两点(2P):根据直径的两端点画圆。依次输入两个点,即可绘制一个圆,两点间的距离为圆的直径。

切点、切点、半径(T):先指定两个相切对象,然后给出半径画圆。

如图2-18所示为指定不同相切对象绘制的圆。

图2-18 圆与另外两个对象相切

注意: 相切对象可以是直线、圆、圆弧、椭圆等,这种绘制圆的方式在圆弧连接中经常使用。

(1)圆与圆相切的3种情况分析。绘制一个圆与另外两个圆相切,切圆决定于选择切点的位置和切圆半径的大小。如图2-19所示是一个圆与另外两个圆相切的3种情况,其中图2-19(a)为外切时切点的选择情况;图2-19(b)为与一个圆内切而与另一个圆外切时切点的选择情况;图2-19(c)为内切时切点的选择情况。假定3种情况下的条件相同,后两种情况对切圆半径的大小有限制,半径太小时不能出现内切情况。

(2)绘制圆。单击“默认”选项卡“绘图”面板中的“圆”按钮 ,显示出绘制圆的6种方法。其中,“相切、相切、相切”用于选择3个相切对象以绘制圆。

图2-19 相切类型

2.2.2 实例——连环圆

本实例利用“圆”命令绘制相切圆,从而绘制出连环圆,绘制流程如图2-20所示。

图2-20 绘制连环圆

(1)单击“默认”选项卡“绘图”面板中的“圆”按钮 ,绘制A圆。命令行中的提示与操作如下:

        命令: circle↙
        指定圆的圆心或 [三点(3P)/两点(2P)/切点、切点、半径(T)]: 150,160↙(即1点)
        指定圆的半径或 [直径(D)]: 40↙(画出A圆)

结果如图2-21所示。

(2)单击“默认”选项卡“绘图”面板中的“圆”按钮 ,绘制B圆。命令行中的提示与操作如下:

图2-21 绘制A圆

图2-22 动态菜单

(3)单击“默认”选项卡“绘图”面板中的“圆”按钮 ,绘制C圆。命令行中的提示与操作如下:

        命令: circle↙
        指定圆的圆心或 [三点(3P)/两点(2P)/切点、切点、半径(T)]: 2P↙(两点画圆方式)
        指定圆直径的第一个端点: 250,10↙(即5点)
        指定圆直径的第二个端点: 240,100↙(即6点)(画出C圆)

结果如图2-23所示。

(4)单击“默认”选项卡“绘图”面板中的“圆”按钮 ,绘制D圆。命令行中的提示与操作如下:

(5)选择菜单栏中的“绘图”→“圆”→“相切、相切、相切”命令,绘制E圆。命令行中的提示与操作如下:

        命令: circle↙
        指定圆的圆心或 [三点(3P)/两点(2P)/切点、切点、半径(T)]: 3P↙
        指定圆上的第一个点:(打开状态栏上的“对象捕捉”按钮) _tan到(即9点)
        指定圆上的第二个点: _tan到(即10点)
        指定圆上的第三个点: _tan到(即11点)(画出E圆)

最后完成的图形如图2-24所示。

图2-23 绘制C圆

图2-24 连环圆

(6)单击快速访问工具栏中的“保存”按钮 ,在打开的“图形另存为”对话框中输入文件名并保存即可。

2.2.3 圆弧

AutoCAD 2020提供了多种画圆弧的方法,可根据不同的情况选择不同的方式。

1.执行方式

命令行:ARC(A)。

菜单栏:“绘图”→“圆弧”。

工具栏:“绘图”→“圆弧”

功能区:“默认”→“绘图”→“圆弧”

2.操作步骤

命令行提示与操作如下:

        命令: ARC↙
        指定圆弧的起点或 [圆心(C)]:(指定起点)
        指定圆弧的第二个点或 [圆心(C)/端点(E)]:(指定第二点)
        指定圆弧的端点:(指定端点)
3.选项说明

(1)用命令行方式画圆弧时可以根据系统提示选择不同的选项,具体功能和使用“绘图”菜单中的“圆弧”子菜单提供的11种方式相似,如图2-25所示。

图2-25 11种绘制圆弧的方法

(2)需要强调的是“连续”方式,绘制的圆弧与上一线段或圆弧相切,继续画圆弧段,因此提供端点即可。

2.2.4 实例——梅花

本实例利用“圆弧”命令绘制梅花,绘制流程如图2-26所示。

图2-26 绘制梅花

(1)单击“默认”选项卡“绘图”面板中的“圆弧”按钮 ,绘制第一段圆弧。命令行中的提示与操作如下:

        命令: ARC↙
        指定圆弧的起点或 [圆心(C)]: 140,110↙
        指定圆弧的第二个点或 [圆心(C)/端点(E)]: E↙
        指定圆弧的端点: @40<180↙
        指定圆弧的中心点(按住 Ctrl 键以切换方向)或 [角度(A)/方向(D)/半径(R)]: R↙
        指定圆弧的半径(按住 Ctrl 键以切换方向): 20↙

结果如图2-27所示。

(2)单击“默认”选项卡“绘图”面板中的“圆弧”按钮 ,绘制第二段圆弧。命令行中的提示与操作如下:

        命令: ARC↙
        圆弧创建方向: 逆时针(按住 Ctrl 键可切换方向)
        指定圆弧的起点或 [圆心(C)]:(用鼠标指定刚才绘制圆弧的端点1)
        指定圆弧的第二个点或 [圆心(C)/端点(E)]: E↙
        指定圆弧的端点: @40<252↙
        指定圆弧的中心点(按住 Ctrl 键以切换方向)或 [角度(A)/方向(D)/半径(R)]: A↙
        指定夹角(按住 Ctrl 键以切换方向): 180↙

结果如图2-28所示。

(3)单击“默认”选项卡“绘图”面板中的“圆弧”按钮 ,绘制第三段圆弧,命令行中的提示与操作如下:

        命令: ARC↙
        指定圆弧的起点或 [圆心(C)]:(用鼠标指定刚才绘制圆弧的端点2)
        指定圆弧的第二个点或 [圆心(C)/端点(E)]: C↙
        指定圆弧的圆心: @20<324↙
        指定圆弧的端点或 [角度(A)/弦长(L)]: A↙
        指定夹角(按住 Ctrl 键以切换方向): 180↙

结果如图2-29所示。

图2-27 选择点1

图2-28 选择点2

图2-29 选择点3

(4)单击“默认”选项卡“绘图”面板中的“圆弧”按钮 ,绘制第四段圆弧。命令行中的提示与操作如下:

        命令: ARC↙
        指定圆弧的起点或 [圆心(C)]:(用鼠标指定刚才绘制圆弧的端点3)
        指定圆弧的第二个点或 [圆心(C)/端点(E)]: C↙
        指定圆弧的圆心: @20<36↙
        指定圆弧的端点(按住 Ctrl 键以切换方向)或 [角度(A)/弦长(L)]: L↙
        指定弦长(按住 Ctrl 键以切换方向): 40↙

结果如图2-30所示。

(5)单击“默认”选项卡“绘图”面板中的“圆弧”按钮 ,绘制第五段圆弧。命令行中的提示与操作如下:

        命令: ARC↙
        指定圆弧的起点或 [圆心(C)]:(用鼠标指定刚才绘制圆弧的端点4)
        指定圆弧的第二个点或 [圆心(C)/端点(E)]: E↙
        指定圆弧的端点:(用鼠标指定绘制圆弧的起点)
        指定圆弧的中心点(按住 Ctrl键以切换方向)或 [角度(A)/方向(D)/半径(R)]: D↙
        指定圆弧起点的相切方向(按住 Ctrl键以切换方向): @20<20↙

最终的图形如图2-31所示。

图2-30 选择点4

图2-31 圆弧组成的梅花图案

2.2.5 圆环

可以通过指定圆环的内、外直径绘制圆环,也可以绘制填充圆。如图2-32所示的车轮即用圆环绘制的。

图2-32 车轮

1.执行方式

命令行:DONUT。

菜单栏:“绘图”→“圆环”。

功能区:“默认”→“绘图”→“圆环”

2.操作步骤
3.选项说明

(1)若指定内径为0,则画出实心填充圆(见图2-33(b))。

(2)使用FILL命令可以控制圆环是否填充。命令行中的提示与操作如下:

图2-33 绘制圆环

2.2.6 椭圆与椭圆弧

椭圆也是一种典型的封闭曲线图形,圆在某种意义上可以看成是椭圆的特例。椭圆在工程图形中的应用不多,只在某些特殊造型,如室内设计单元中的浴盆、桌子等造型或机械造型中杆状结构的截面形状等图形中才会出现。

1.执行方式

命令行:ELLIPSE。

菜单栏:“绘图”→“椭圆”或“绘图”→“圆弧”。

工具栏:“绘图”→“椭圆” 或“绘图”→“椭圆弧”

功能区:“默认”→“绘图”→“轴,端点”

2.操作步骤
        命令: ELLIPSE↙
        指定椭圆的轴端点或 [圆弧(A)/中心点(C)]:(指定轴端点1,如图2-34所示)
        指定轴的另一个端点:(指定轴端点2,如图2-34所示)
        指定另一条半轴长度或 [旋转(R)]:
3.选项说明

指定椭圆的轴端点:根据两个端点定义椭圆的第一条轴。第一条轴的角度确定了整个椭圆的角度。第一条轴既可以定义椭圆的长轴,也可以定义椭圆的短轴。

旋转(R):通过绕第一条轴旋转圆来创建椭圆。相当于将一个圆绕椭圆轴翻转一个角度后的投影视图,如图2-35所示。

中心点(C):通过指定的中心点创建椭圆。

圆弧(A):用于创建一段椭圆弧。与单击“绘图”工具栏中的“椭圆弧”按钮 功能相同。其中,第一条轴的角度确定了椭圆弧的角度。第一条轴既可以定义椭圆弧长轴,也可以定义椭圆弧短轴。选择该选项,系统继续提示。具体操作如下:

        指定椭圆弧的轴端点或 [中心点(C)]:(指定端点或输入“C”)
        指定轴的另一个端点:(指定另一端点)
        指定另一条半轴长度或 [旋转(R)]:(指定另一条半轴长度或输入“R”)
        指定起点角度或 [参数(P)]:(指定起始角度或输入“P”)
        指定端点角度或 [参数(P)/夹角(I)]:

其中,各选项含义介绍如下。

角度:指定椭圆弧端点的两种方式之一,光标和椭圆中心点连线与水平线的夹角为椭圆端点位置的角度,如图2-36所示。

图2-34 椭圆

图2-35 旋转

图2-36 椭圆弧

参数(P):指定椭圆弧端点的另一种方式,该方式同样是指定椭圆弧端点的角度,但通过以下矢量参数方程式创建椭圆弧。

p(u)=c+a cos(u)+b sin(u)

式中,c是椭圆的中心点,a和b分别是椭圆的长轴和短轴,u为光标与椭圆中心点连线的夹角。

夹角(I):定义从起始角度开始的包含角度。

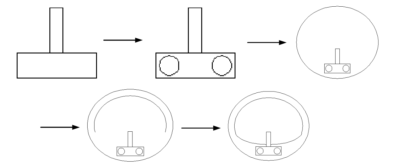
2.2.7 实例——洗脸盆

本实例主要介绍椭圆和椭圆弧绘制方法的具体应用。首先利用前面学到的知识绘制水龙头和旋钮,然后利用椭圆和椭圆弧绘制洗脸盆内沿和外沿,绘制流程如图2-37所示。

图2-37 绘制洗脸盆

(1)单击“默认”选项卡“绘图”面板中的“直线”按钮 ,绘制水龙头图形,结果如图2-38所示。

(2)单击“默认”选项卡“绘图”面板中的“圆”按钮 ,绘制两个水龙头旋钮,结果如图2-39所示。

图2-38 绘制水龙头

图2-39 绘制旋钮

(3)单击“默认”选项卡“绘图”面板中的“轴,端点”按钮 ,绘制脸盆外沿。命令行中的提示与操作如下:

        命令: _ellipse↙
        指定椭圆的轴端点或 [圆弧(A)/中心点(C)]:(用鼠标指定椭圆轴端点)
        指定轴的另一个端点:(用鼠标指定另一个端点)
        指定另一条半轴长度或 [旋转(R)]:(用鼠标在屏幕上拉出另一条半轴长度)

结果如图2-40所示。

(4)单击“默认”选项卡“绘图”面板中的“椭圆弧”按钮 ,绘制脸盆部分内沿。命令行中的提示与操作如下:

        命令: _ellipse↙
        指定椭圆的轴端点或 [圆弧(A)/中心点(C)]: a↙
        指定椭圆弧的轴端点或 [中心点(C)]: C↙
        指定椭圆弧的中心点:(捕捉上一步绘制的椭圆中心点)
        指定轴的端点:(适当指定一点)
        指定另一条半轴长度或 [旋转(R)]: R↙
        指定绕长轴旋转的角度:(用鼠标指定椭圆轴端点)
        指定起点角度或 [参数(P)]:(用鼠标拉出起始角度)
        指定端点角度或 [参数(P)/夹角(I)]:(用鼠标拉出终止角度)

结果如图2-41所示。

(5)单击“默认”选项卡“绘图”面板中的“圆弧”按钮 ,绘制脸盆内沿其他部分,最终结果如图2-42所示。

图2-40 绘制脸盆外沿

图2-41 绘制脸盆部分内沿

图2-42 洗脸盆图形 IKyW//YGeaEq6dYRx9u1QrMn8KocyPMUl1oJlwJYbjFuRBvkEHT+2UUKqEIDdDm0

点击中间区域
呼出菜单
上一章
目录
下一章
×