



教学目标
理解冲裁变形过程分析,掌握冲裁件工艺性分析、排样与搭边、冲裁间隙、冲裁工序力、压力中心的确定方法及凸、凹模刃口尺寸计算原则和方法,掌握冲裁模的典型结构、组成、工作过程分析和零部件的结构设计。
应该具备的能力:具备中等复杂程度冲裁件的工艺分析、工艺计算、模具典型结构选择及零部件结构设计的能力。
教学要求
 
   引例
冲裁加工是冲压加工中的基本工序,如下图所示各种常用工具和电动机硅钢片就是采用冲裁加工而成。这些工具的共同特点:平板类零件,形状比较简单,使用量大,生产批量大。
 
    思考这些工具加工的方法有哪些?如果采用模具生产,如何完成模具设计?
1.冲裁工艺概念
冲裁是指利用装在压力机上的模具使板料沿着一定的轮廓形状产生分离的一种冲压工艺。它可以直接冲出所需形状的零件,也可为其他工序制备毛坯(如弯曲、拉深等工序)。主要有冲孔、落料、切边、切口等工序。冲裁工艺分为普通冲裁和精密冲裁两大类。这里只介绍普通冲裁。
2.冲裁工序分类
冲裁工序的种类很多,最常用的是冲孔和落料。
板料经过冲裁以后,分为冲落部分和带孔部分,如图2.1所示。从板料上冲下所需形状的零件(毛坯)叫落料;在工件上冲出所需形状的孔叫冲孔(冲去部分为废料)。如图2.2所示垫片冲裁件。冲制外形属于落料;冲制内形属于冲孔。
 
    图2.1 冲裁件示意
 
    图2.2 垫片冲裁件
普通冲裁过程如图2.3所示,当冲裁间隙正常时,板料的冲裁变形过程可以分为以下3个阶段,即弹性变形阶段、塑性变形阶段、断裂阶段。
 
    图2.3 冲裁变形过程
1.弹性变形阶段
如图2.3(a)所示,当凸模开始接触板料并下压时,变形区内产生弹性压缩、拉伸与弯曲等变形,这时凸模和凹模刃口分别略微挤入板料中。当凸模切入深度达到一定程度时,板料内应力达到弹性极限(此时 P < R eL )。
现象:凸模下面的板料略有弯曲,凹模上面的板料开始上翘,若卸去凸模压力,板料能够恢复原状,不产生永久变形。(只到弹性变形的极限,无塑性变形)
2.塑性变形阶段
如图2.3(b)所示,凸模继续下压,板料的内应力达到屈服极限,板料在与凸、凹模刃口接触处产生塑性变形,此时凸模切入板料,板料挤入凹模,产生塑性剪切变形,形成光亮的剪切断面。随着塑性变形加大,变形区的材料硬化加剧,冲裁变形力不断增大,当刃口附近的材料由于拉应力的作用出现微裂纹时,标志着塑性变形阶段结束(此时 R eL ≤ P < τ b )。
现象:凸模和凹模都切入板料,形成光亮的剪切断面。(发生塑性剪切变形,形成光亮带,但没有产生分离,没有裂纹,板料还是一个整体)
3.断裂阶段
如图2.3(c)所示,凸模继续下压,当板料的内应力达到强度极限( P ≥ τ b )时,在凸模、凹模的刃口接触处,板料产生微小裂纹。
现象:应力作用下,裂纹不断扩展,当上、下裂纹汇合时,板料发生分离;凸模继续下压,将已分离的材料从板料中推出,完成冲裁过程。
冲裁件的断面具有明显的区域性特征,在断面上明显地分为圆角带、光亮带、断裂带和毛刺四个部分。如图2.4所示为冲孔件和落料件断面的四个区域。
 
    图2.4 冲裁件断面
1.圆角带(塌角区)
圆角带是板料在弹性变形时,刃口附近的板料被牵连,产生弯曲和拉深变形而形成的。它在弹性变形时产生,塑性变形时定形。软材料比硬材料的圆角带大。
2.光亮带
光亮带是板料在塑性剪切变形时,凸、凹模刃口侧压力将毛料压平而形成的光亮垂直的断面,通常光亮带在整个断面上所占的比例小于1/3,是断面质量最好的区域。板料的塑性越好,冲裁间隙越大,光亮带的宽度就越宽。
3.断裂带
断裂带是由刃口处的微裂纹在拉应力作用下不断扩展而形成的撕裂面,在断裂阶段产生的。断裂带是断面质量较差的区域,表面粗糙,且有斜度。塑性越差,冲裁间隙越大,断裂带越宽且斜度越大。
4.毛刺(又称环状毛刺)
毛刺是因为微裂纹产生的位置不是正对刃口,而是在刃口附近的侧面上,加之凸、凹模之间的间隙及刃口不锋利等因素,使金属拉断成毛刺而残留在冲裁件上。普通冲裁件的断面毛刺难以避免。凸模刃口磨钝后,在落料件边缘产生较大毛刺;凹模刃口磨钝后,在冲孔件边缘会产生较大毛刺;间隙不均匀,会使冲裁件产生局部毛刺。
圆角带、光亮带、断裂带、毛刺四个部分在整个断面上所占比例不是固定的,随着材料的机械性能、凸模和凹模之间的间隙、模具结构等不同而变化。
1.冲裁件的结构工艺性
(1)形状设计应力求简单、对称,同时应减少排样废料。如图2.5所示,如果图2.5(a)所示零件的外形要求不高,只有三个孔位要求较高,就可改为图2.5(b)所示形状,仍能保证三个孔的位置精度,这样冲裁时就可以节省材料。
 
    图2.5 冲裁件形状对工艺性的影响
(2)外形和内孔应避免尖角,用圆弧过渡。这样可便于模具加工,减少热处理变形或冲压时的模具工作零件的开裂,减少冲裁时尖角处的崩刃和过快磨损。过渡圆弧的最小圆角半径 r min 见表2-1。
表2-1 冲裁件的最小过渡圆角半径 r min
 
    注: t 为材料厚度,当 t <1mm时,均以 t =1mm计。
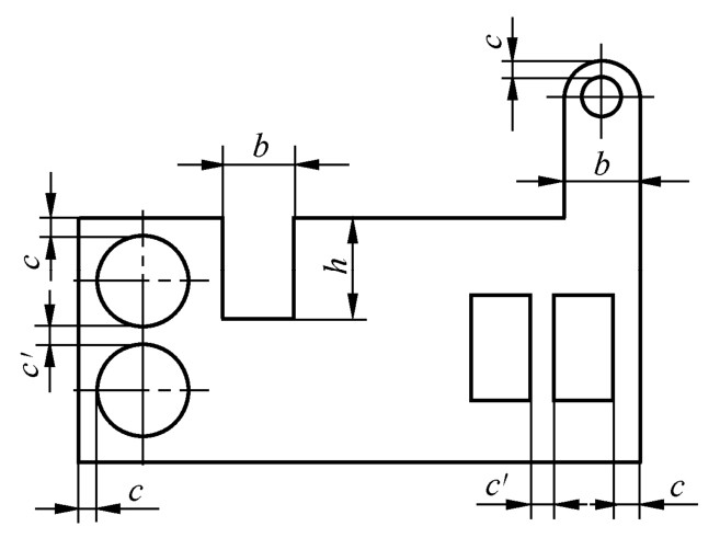
(3)要保证冲裁件的强度、凸模和凹模的强度。冲裁件尽量避免狭长的槽与过长的悬壁。图2.6所示的凸起和凹槽的宽度应保证 b >2 t 。若 b 值太小,则相应的凸模很薄,强度不足,甚至无法生产。应保证孔与孔之间的距离 c ′≥1.5 t ,孔与边缘之间的距离 c ≥ t ,否则会严重降低凹模的强度。
 
    图2.6 冲裁件的结构工艺性
(4)冲孔时,孔径不能太小,以防止凸模折断或弯曲。可冲压的最小的孔径有两种情况:表2-2所示为无导向凸模冲孔的最小孔径;表2-3所示为带保护套凸模冲孔的最小孔径。
表2-2 无导向凸模可冲孔的最小孔径
 
    注: τ b 为材料抗剪强度。
表2-3 带保护套凸模可冲孔的最小孔径
 
   2.冲裁件的尺寸精度和表面粗糙度
(1)尺寸精度。金属冲裁件的经济精度不高于IT11级。对于经济精度要求高的制件,外形尺寸应低于IT10级;内形尺寸应低于IT9级。内形尺寸精度取决于凸模刃口尺寸,制造容易一些,尺寸精度可比外形尺寸的精度高一级。冲裁件的尺寸公差、孔中心距的公差及孔对外缘轮廓的偏移公差分别见表2-4、表2-5、表2-6。
非金属冲裁件内、外形的经济精度为IT14、IT15级。
表2-4 冲裁件内外形所能达到的经济精度
 
   表2-5 两孔中心距公差
 
   表2-6 孔中心与边缘距离尺寸公差
 
   (2)断面表面粗糙度。冲裁件的断面粗糙度一般为 Ra =12.5~50μm,最高为 Ra =50μm,见表2-7。
表2-7 一般冲裁件断面的表面粗糙度
 
   3.尺寸标注
尺寸标注应符合冲压工艺的要求。如图2.7(a)的标注形式不合理,因为这样标注,尺寸 S 1 、 S 2 必须考虑到模具的磨损而相应给以较宽的公差,结果造成孔心距的不稳定;图2.7(b)所示标注形式,孔心距不受模具磨损的影响,比较合理。所以孔位置尺寸基准应尽量选择在冲裁过程中始终不参加变形的面或线上,切不要与参加变形的部分联系起来。
 
    图2.7 尺寸标注示意
根据零部件在模具中的作用,冲裁模具结构一般由以下5个部分组成,如图2.8所示。
1.工作零件
工作零件指实现冲裁变形,使板料分离,保证冲裁件形状的零件。包括:凸模、凹模、凸凹模。工作零件直接影响冲裁件的质量,并且影响模具寿命、冲裁力和卸料力等。
2.定位零件
定位零件指保证条料或毛坯在模具中的位置正确的零件。包括:导料板、挡料销、导正销、侧刃、固定板(半成品的定位)等。
3.卸料及推件零件
卸料及推件零件指将冲裁后由于弹性回复而卡在凹模孔口内或紧箍在凸模上的工件或废料脱卸下来的零件。
(1)紧箍在凸模上的工件或废料,用卸料板(刚性卸料或弹性卸料)。
(2)卡在凹模孔口内的工件或废料,用推件装置或顶件装置。
4.导向零件
导向零件指保证上模和下模正确位置和运动导向的零件。一般由导柱和导套组成。采用导向装置可保证冲裁时,凸模和凹模之间间隙均匀,有利于提高冲裁件质量和模具寿命。
5.连接固定类零件
连接固定类零件是指将凸、凹模固定于上、下模座以及将上、下模座固定在压力机上的零件。如固定板(凸模、凹模),上、下模座,模柄,推板,紧固件等。
典型冲裁模结构一般由上述五部分零件组成,但不是所有的冲裁模都包含这五部分零件。冲模的结构取决于工件的要求、生产批量、生产条件和模具制造技术水平等诸多因素,因此模具结构是多种多样的,作用相同的零件其形状也不尽相同。
 
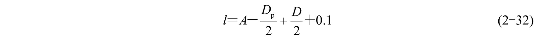
    图2.8 导柱式单工序冲裁模
1—下模座;2,15—销;3—凹模;4—销套;5—导柱;6—导套;7—上模座;8—卸料板;9—橡胶;10—凸模固定板;11—垫板;12—卸料螺钉;13—凸模;14—模柄;16,17—螺钉
冲裁是冲压最基本、最常用的工艺方法之一,其模具的分类方法很多。按照不同的工序组合方式,冲裁模可分为单工序冲裁模、连续冲裁模和复合冲裁模,如表2-8所示。
表2-8 冲裁模分类
 
   1.单工序冲裁模
单工序冲裁模是指在压力机的一次行程中,只完成一道工序的冲裁模。根据模具导向装置的不同,可分为3类:无导向单工序冲裁模,导板式单工序冲裁模,导柱式单工序冲裁模。
(1)无导向单工序冲裁模 该类模具上、下模之间没有导向装置,完全依靠压力机的滑块和导轨导向,来保证冲裁间隙的均匀性。其优点是模具结构简单,制造容易;缺点是安装、调试麻烦,制件精度差,操作不安全。适用于精度低、形状简单、批量小的冲裁件,或试制用模具。
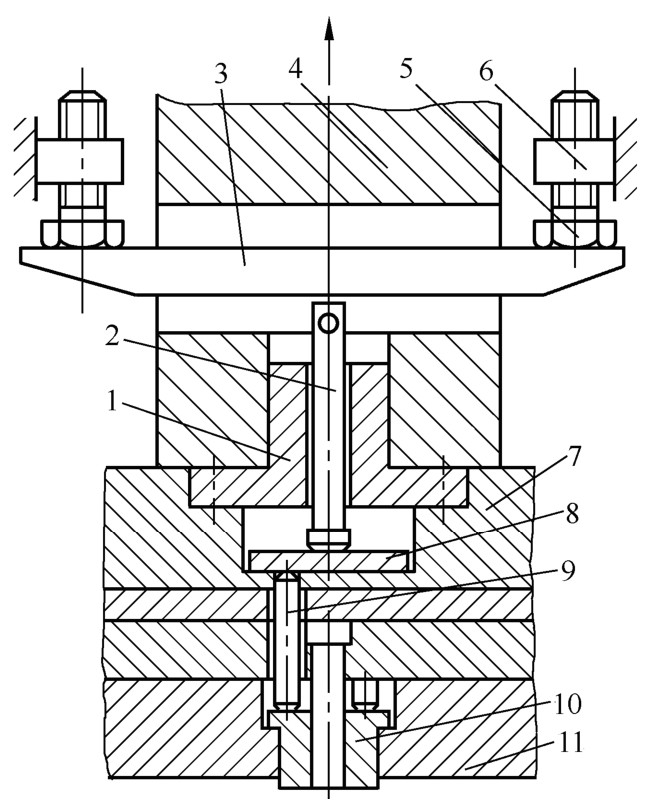
(2)导板式单工序冲裁模 如图2.9所示,在上、下模之间,凸模和导板起导向作用。其特点为:导板兼起卸料作用,省去卸料装置;导板和凸模之间的配合间隙必须小于凸、凹模冲裁间隙;在冲裁过程中,要求凸模与导板不能脱开;模具结构简单,但导板与凸模的配合精度要求高,特别是当冲裁间隙小时,导板与凸模的配合间隙更小,导板的加工非常困难。主要适用于材料较厚,工件精度要求不太高的场合。
(3)导柱式单工序冲裁模 如图2.8所示,该模具上、下模之间靠导柱、导套起导向作用。其结构特点:导向精度高,凸、凹模之间的冲裁间隙容易保证,从而能保证制件的精度;安装方便,运行可靠,但结构较为复杂一些。主要适用于制件精度高、模具寿命长等场合,适合大批量生产。大多数冲裁模都采用这种形式。
 
    图2.9 导板式单工序落料模
1—下模座;2,4,9—销;3—导板;5—挡料销;6—凸模;7,12,15,16—螺钉;8—上模座;10—垫板;11—凸模固定板;13—导料板;14—凹模
2.连续冲裁模
连续冲裁模又称级进模、跳步模等,可按一定的程序(排样设计时规定好),在压力机的一个行程中,在两个或两个以上的工位上完成两道或两道以上的冲裁工序。如图2.10所示的工件,若用单工序冲裁模冲裁,需冲孔、落料两套模具才能完成,这时可采用连续冲裁模结构。
在这套模具中共有两个工位,在压力机的一个行程内完成两个工序:冲孔、落料。条料从右向左送进,在第一个工位上完成两个小孔的冲裁,条料继续送进,在第二个工位完成整个制件的冲裁工作,同时在第一个工位上又完成了两个小孔的冲裁,以此类推连续冲裁。
连续模的主要特点:工序分散,不存在最小壁厚问题(与复合冲裁模相比),模具强度高;凸模全部安装在上模,制件和废料(结构废料)均可实现向下的自然落料,易于实现自动化;结构复杂,制造较困难,模具成本较高,但生产效率高;定位多,因此制件的精度不太高。这类模具主要适用于批量大,精度要求不太高的制件。
3.复合冲裁模
复合冲裁模是指在压力机的一次行程中,板料同时完成冲孔和落料等多个工序的冲裁模。该类模具结构中有一个既为落料凸模又为冲孔凹模的凸凹模,按照凸凹模位置的不同,复合模分为正装式和倒装式两种。
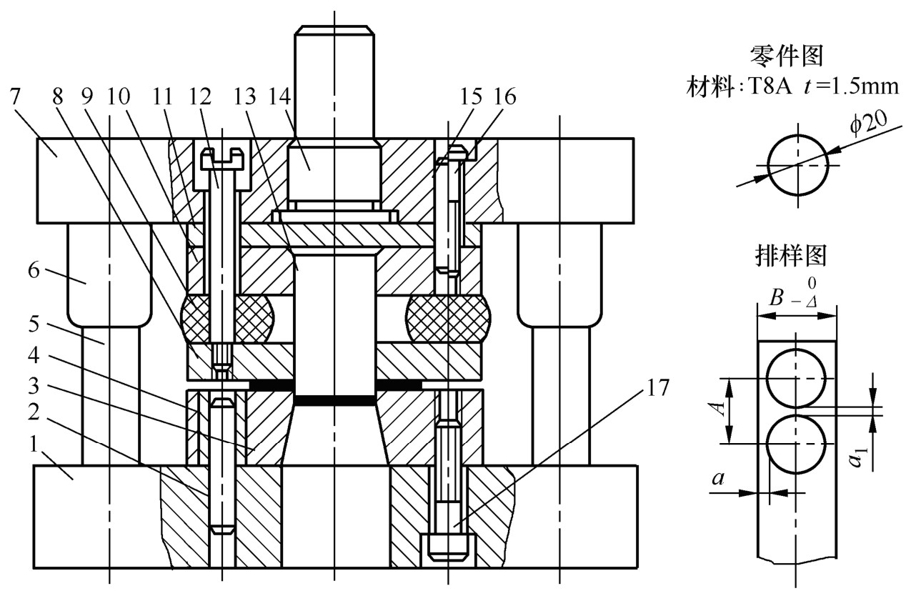
(1)正装式复合模 凸凹模安装在上模部分时,称之为正装式复合模,如图2.11所示。冲裁时,冲孔凸模15和凸凹模2(作冲孔凹模用)完成冲孔工序;落料凹模1和凸凹模2(作落料凸模用)完成落料工序。制件和冲孔废料落在下模或条料上,需人工清除,操作不安全,故很少采用。
 
    图2.10 连续冲裁模
1—模柄;2—止转销;3—小凸模;4—大凸模;5—导正销;6—挡料销;7—始用挡料销
 
    图2.11 正装式复合冲裁模
1—落料凹模;2—凸凹模;3,7,8—弹性卸料装置;4—打料杆;5—推板;6—推杆;9,10,11,12,13,14—弹顶装置;15—冲孔凸模
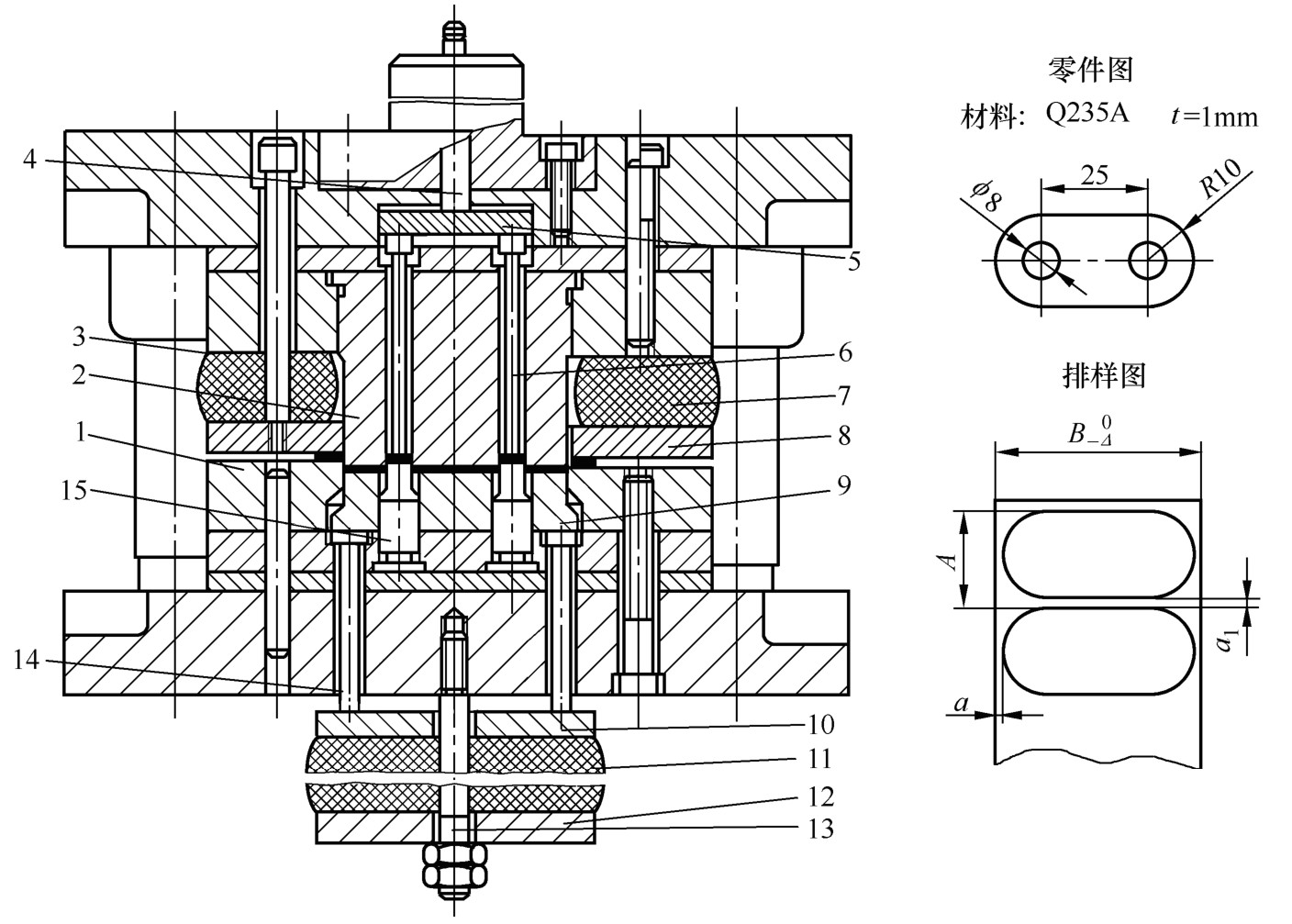
(2)倒装式复合模 凸凹模安装在下模部分时,称之为倒装式复合模,如图2.12所示。冲裁时,凸模4和凸凹模2(作冲孔凹模用)完成冲孔工序;凹模3和凸凹模2(作落料凹模用)完成落料工序。冲孔废料由凸凹模孔直接漏下,制件被凸凹模顶入落料凹模内,再由推件块12推出。
 
    图2.12 倒装式复合冲裁模
1—凸凹模固定板;2—凸凹模;3—凹模;4—凸模;5—垫板;6—凸模;7,16,21—螺钉;8—模柄;9—打料杆;10—推板;11—连接推杆;12—推件块;13—凸模固定板;14—上模座;15—导套;17—活动挡料销;18—卸料板;19—弹簧;20—导柱;22—下模座
复合模的主要特点:由于工序是在一个工位上完成的,且条料和制件都在压紧状态下完成冲裁,因此冲裁的制件平直,精度可高达IT10~IT11级,形位误差小;该类模具结构紧凑,体积较小,生产效率高,但结构复杂,模具零件的精度要求高,成本高,制造周期长。凸凹模的内、外形之间的壁厚不能太薄(最小壁厚的数值参见本章2.6.1节),否则其强度不够会造成胀裂而损坏;适用于冲裁批量大、精度要求高的制件。一般情况下,以板料厚度不大于3mm为宜,主要是保护凸凹模的强度。
排样设计是指冲裁件在条料、带料或板料上的布置方式。合理的排样设计是提高材料利用率、降低生产成本、保证工件质量及模具寿命的有效措施。
1.排样设计的原则
(1)提高材料的利用率。在不影响零件性能的前提下,尽可能提高材料利用率。
(2)改善操作性。要考虑工人操作方便、安全,降低劳动强度,如减少条料的翻动次数。
(3)使模具的结构简单、合理,使用寿命长。
(4)保证冲裁件的质量。如采用合理的搭边值,一般沿封闭的轮廓冲裁而不沿开放式轮廓进行冲裁等措施。
2.排样的分类
1)冲裁废料
冲裁废料=板料—制件。
冲裁废料可分为结构废料和工艺废料两种。如图2.13所示为冲裁垫片时产生的废料。结构废料是由制件本身的形状决定,一般是固定不变的;工艺废料决定于搭边值、排样形式和冲压方法等。
 
    图2.13 冲裁废料
2)排样的分类
按照材料的利用程度,排样可分为以下三类。
(1)有废料排样:是指在冲裁件与冲裁件之间,冲裁件与条料侧边之间均有工艺废料,冲裁是沿冲裁件的封闭轮廓进行的,如图2.14(a)所示。
(2)少废料排样:是指只在冲裁件之间,或只在冲裁件与条料侧边之间留有搭边值,冲裁只沿冲裁件的部分轮廓进行,如图2.14(b)所示。
(3)无废料排样:是指在冲裁件之间、冲裁件与条料侧边之间都无搭边存在,冲裁件实际上是由切断条料获得的,如图2.14(c)所示。
 
    图2.14 排样方式
有废料排样时,冲裁件的质量和模具寿命较高,但材料的利用率低;少废料排样和无废料排样时,材料的利用率高,且可以简化模具结构,但制件的尺寸精度不易保证,且制件还必须具备特定的形状。在实际生产中,有废料排样使用的较多。
3.材料利用率
冲压零件的成本中,材料费用约占60%以上,因此材料的经济利用具有非常重要的意义。衡量排样经济性的指标是材料的利用率,可用下式计算:
 
   式中, η ——材料利用率,%;
F ——工件的实际面积,mm 2 ;
F 0 ——所用材料面积(包括工件面积与废料面积),mm 2 ;
A ——送料步距,即相邻两个冲压件对应点之间的距离,mm;
B ——条料宽度,mm。
从上式可以看出,由于结构废料由工件的形状决定,一般不能改变,所以只有设计合理的排样方案,减少工艺废料,才能有效提高材料的利用率。
4.排样的形式
排样有直排、单行排、多行排、斜排、对排等多种形式,如表2-9所示。
表2-9 排样形式
 
   本节介绍搭边值、送料进距、条料的宽度、排样图等内容。
1.搭边( a 、 a 1 )
冲裁件之间、冲裁件与条料侧边之间的工艺废料称为搭边。如图2.14所示的 a 和 a 1 就是搭边值。搭边过大,材料浪费、利用率低;搭边过小,起不到搭边应有的作用,条料易被拉断,降低模具寿命。搭边值的大小,通常由经验确定。低碳钢冲裁时,常用的最小搭边值见表2-10。
表2-10 最小工艺搭边值(低碳钢)mm
 
   2.送料进距( A )
模具每冲裁一次,条料在模具上前进的距离称为送料进距。当单个进距内只冲裁一个零件时,送料进距为
 
   式中, A ——送料进距,mm;
D ——在送料方向上冲裁件的宽度,mm;
a 1 ——冲裁件之间的搭边值,mm。
3.条料的宽度( B )
(1)条料的下料公差规定为负偏差。冲裁所使用的条料是用板料按要求剪切成的,一般在冲裁模具上都有导料装置,有时还有侧压装置。为了防止发生送料时的“卡死”现象,条料的下料公差规定为负偏差,导料装置之间的尺寸公差规定为正偏差。
(2)条料的下料方式分为纵裁、横裁两种。纵裁是沿板料长度方向剪裁下料,这种裁剪方式得到的条料较长,可降低工人的劳动强度,应尽可能选用;横裁是沿板料宽度方向剪裁下料。
(3)条料的宽度计算
当条料在无侧压边装置的导料板之间送料时,条料与导料板之间的间隙按表2-11查得,并按式(2-3)计算条料宽度:
 
   表2-11 条料与导料板之间的间隙 b 0 mm
 
   当条料在有侧压装置或要求手动保持条料紧贴单侧导料板送料时,按式(2-4)计算条料宽度:
 
   式中, B ——条料宽度,mm;
L ——冲裁件与送料方向垂直的最大尺寸,mm;
a ——冲裁件与条料侧边之间的搭边,mm;
b 0 ——条料与导料板之间的间隙,见表2-11
Δ ——条料下料时的下偏差值,见表2-12。
表2-12 条料下料宽度偏差 Δ mm
 
   4.排样图
排样图是排样设计的最终表达形式,是编制冲裁工艺与设计冲裁模具的重要工艺文件。一张完整的冲裁模具装配图,应在其右上角画出冲裁件图形及排样图。在排样图上,应注明条料宽度及偏差、送料进距、搭边值等,其送料方向应和装配图中的送料方向一致,如图2.8~图2.12所示。
冲裁工艺计算是冲裁模设计的重要部分之一,包括冲裁间隙的选取;凸、凹模刃口尺寸的计算;冲裁工序力的计算;压力中心的计算等。
1.冲裁间隙的定义
冲裁间隙是指冲裁模具中凸、凹模刃口部分的尺寸之差,如图2.15所示,一般用 Z 表示。
 
    图2.15 冲裁间隙示意
2.冲裁间隙对冲裁过程的影响
冲裁间隙是冲裁模设计的一个重要参数,它对冲裁过程的影响是多方面的,在冲裁模设计的过程中必须综合考虑,选取合理的冲裁间隙。
(1)冲裁间隙对冲裁件质量的影响。如图2.16所示,一般来说,间隙小,冲裁件的断面质量就高(光亮带增加);间隙大,则断面塌角大,光亮带减小,毛刺大。但是,间隙过小,则断面易产生“二次剪切”现象,有潜伏裂纹。
 
    图2.16 冲裁间隙对冲裁件质量的影响
(2)冲裁间隙对冲裁力的影响。间隙小,所需的冲裁力大(材料不容易分离);间隙大,材料容易分离,所需的冲裁力就小。
(3)冲裁间隙对冲裁模具寿命的影响。间隙大,有利于减小模具磨损,避免凹模刃口胀裂,可以提高冲裁模具的寿命。
3.合理冲裁间隙的确定
根据对冲裁过程的分析,冲裁间隙过大、过小都不合理,只有选取适中的冲裁间隙,才能进行正常的冲裁生产。同时考虑到冲裁模具的磨损,在冲裁生产过程中,凸模磨损后尺寸减小,凹模磨损后尺寸增大,这样冲裁间隙就随着冲裁模具的磨损而增大。
为保证冲裁模有一定的使用寿命,设计时的初始间隙就必须选用适中间隙范围内的最小冲裁间隙 Z min 。合理最小冲裁间隙的确定通常有两种方法。
(1)经验确定法 一般可按下列经验公式计算最小合理冲裁间隙值:
 
   式中, Z min ——最小冲裁间隙,mm;
c ——系数(当 t <3mm时, c =6%~12%;当 t >3mm时, c =15%~25%。材料软时,取小值;材料硬时,取大值。目的是为了减小冲裁力);
t ——板料厚度,mm。
(2)查表法 表2-13所提供的经验数据为落料、冲孔模具的初始值,可用于一般条件下的冲裁。表中初始间隙的最小值 Z min 为最小合理间隙值,而初始间隙的最大值 Z max 是考虑到凸模和凹模的制造误差,在 Z min 的基础上增加一个数值。在使用过程中,由于模具零件部分的磨损,间隙将会有所增加,因而使间隙的最大值(最大合理间隙)可能超过表中所列数值。
表2-13 冲裁模刃口初始值间隙mm
 
   冲裁时,冲裁件的尺寸精度是靠冲裁模具保证的,而主要是取决于凸、凹模刃口部分的尺寸,并且合理的冲裁间隙也是靠凸、凹模刃口尺寸来保证的。
1.凸、凹模刃口尺寸的计算原则
由于冲裁时凸、凹模之间存在间隙,所以所落的料和冲出的孔的断面都是带有锥度的。落料时工件的大端尺寸近似等于凹模的刃口尺寸;冲孔时,工件的小端尺寸近似等于凸模的刃口尺寸。因此,在计算刃口尺寸时,应按落料、冲孔两种情况分别进行,同时,要考虑磨损后的尺寸变化情况。
进行凸、凹模刃口尺寸计算时应考虑以下3个方面的问题。
(1)基准问题。落料时,工件的大端尺寸近似等于凹模的刃口尺寸,所以落料工序应以凹模为基准件,先确定凹模尺寸,凸模尺寸按凹模尺寸减去最小冲裁间隙确定。
冲孔时,工件的小端尺寸近似等于凸模的刃口尺寸,所以冲孔工序应以凸模为基准件,先确定凸模尺寸,凹模尺寸按凸模尺寸加上最小冲裁间隙确定。
(2)磨损问题。磨损遵照“实体减小”的原则。磨损后,凸模尺寸减小,凹模尺寸增大,因此就会出现“料越落越大”、“孔越冲越小”的现象。为了保证冲裁模架有一定的寿命,分两种情况讨论:① 落料时,为了保证凹模磨损后(尺寸变大)仍能冲出合格零件(料越落越大),凹模刃口尺寸应取制件公差允许范围内的最小值;② 冲孔时,为了保证凸模磨损后(尺寸变小)仍能冲出合格零件(孔越冲越小),凸模刃口尺寸应取制件公差允许范围内的最大值。
(3)合适的制造公差。凸、凹模刃口的制造精度应比冲裁件的精度要求高2~3级,一般圆形件可按IT6~IT7级,其他按表2-14选取。
为了使新模具间隙不小于最小合理间隙( Z min ),一般凹模公差标成+ σ d ,下偏差为0;凸模公差标成- δ p ,上偏差为0。也可以按制件公差的1/4来考虑(即 Δ /4)。
表2-14 模具制造精度与冲裁件精度的关系
 
   2.凸、凹模刃口尺寸的计算
在模具制造中,凸、凹模的加工方法有两种,一种是按互换性原则组织生产(分别制造法),一种是按配合加工原则组织生产(配合加工法)。那么刃口尺寸的计算方法对应也分两种。
1)互换加工法中凸、凹模刃口尺寸的计算
    冲孔时以凸模为基准件进行计算。设冲裁件孔的直径为
     ,根据刃口尺寸计算原则,计算公式如下。
    ,根据刃口尺寸计算原则,计算公式如下。
   
凸模:
 
   凹模:
 
   
    落料时以凹模为基准件进行计算。设落料件的落料尺寸为
     ,根据刃口尺寸计算原则,计算公式如下。
    ,根据刃口尺寸计算原则,计算公式如下。
   
凹模:
 
   凸模:
 
   式中, D 、 d ——落料、冲孔工件的基本尺寸,mm;
D d 、 D p ——落料凹模、凸模刃口尺寸,mm;
d p 、 d d ——冲孔凸、凹模刃口尺寸,mm;
Δ ——工件公差,mm;
δ p 、 δ d ——凸、凹模的制造公差,mm;
x ——磨损系数,见表2-15。
表2-15 磨损系数
 
   采用互换加工法进行刃口尺寸计算时,应注意以下三点。
(1)考虑到工件的形状、厚度不一样,模具的磨损情况也不一样,因此引入一个系数,即磨损系数 x 。
(2)为了保证冲裁间隙在合理的范围内,必须保证 δ p + δ d ≤ Z max - Z min ;否则,模具的初始间隙将超出 Z max (模具寿命降低),如图2.17所示。
当 δ p + δ d > Z max - Z min 时,应提高凸、凹模的制造精度,以减小 δ p 、 δ d 值。
一般情况下,取:
 
    
    图2.17 刃口制造公差与冲裁间隙关系
(3)这种计算方法适合于圆形和形状规则的零件,当模具的形状复杂、工件复杂时不能用此方法,应采用下面要讲的配合加工法。
2)配制加工法中凸、凹模刃口尺寸的计算
对于形状复杂、薄料、模具复杂的冲裁件,为保证凸、凹模之间的合理间隙,必须使用配合加工法。一般企业大多采用配合加工法。根据计算原则,应先确定基准件。落料时以凹模为基准件,冲孔时以凸模为基准件,配套件按基准件的实际尺寸配制,保证最小冲裁间隙 Z min 。
凸模和凹模的磨损结果都是实体缩小,因此基准件(不论是凸模还是凹模)磨损后,都存在着有的尺寸增大、有的尺寸减小、有的尺寸不变这三种情况。为了能正确地对尺寸分类,我们引入磨损图的概念。设磨损增大的尺寸为A类尺寸;磨损减小的尺寸为B类尺寸;磨损后不变的尺寸为C类尺寸。则如图2.18(a)所示制件,当为落料件时,凹模为基准件,凹模磨损图及尺寸分类如图2.18(b)所示;当为冲孔件时,凸模为基准件,凸模磨损图及尺寸分类如图2.18(c)所示。因此,无论对冲孔件还是落料件,其基准件的刃口尺寸均可按下式计算。
 
    图2.18 凸、凹模刃口尺寸磨损
    A类尺寸(
     ):
    ):
   
 
   
    B类尺寸(
     ):
    ):
   
 
   C类尺寸( C ± Δ ′):
 
   式中, A , B , C ——基准件的基本尺寸,mm;
Δ , Δ ′——工件公差,mm;
δ ——模具制造公差(一般取 δ = Δ /4),mm;
x ——磨损系数,见表2-15。
3.实例讲解
例2-1: 冲裁如图2.19(a)所示制件,材料为Q235A,料厚4mm,试用配制法确定落料模的刃口尺寸及制造公差。
 
    图2.19 零件实例及凹模刃口磨损
解: 分为5个步骤。
(1)确定基准件 此零件为落料件,应以凹模为基准件。
(2)画出基准件的磨损图 凹模刃口的磨损情况如图2.19(b)所示。
(3)对基准件的尺寸进行分类(A、B、C三类)计算 根据凹模刃口的磨损情况,其尺寸变化可分为三类。
① 凹模刃口磨损后,尺寸 A 1 , A 2 增大,按落料凹模类尺寸处理。
查表2-15,得 x 1 = x 2 =0.5,取 δ = Δ /4,则
 
   ② 凹模刃口磨损后,尺寸 B 减小,按冲孔凸模类尺寸处理。
查表2-15,得 x =0.5,取 δ = Δ /4,则
 
   ③ 凹模刃口磨损后,尺寸 C 不变,按中心距类尺寸处理。
则
C =60 ± 0.37/4=60 ± 0.09(mm)
(4)选取最小冲裁间隙 查表2-13,取 Z min =0.50mm。
(5)注明配制关系 凸模刃口尺寸按凹模刃口的实际尺寸配制,保证最小冲裁间隙为0.50mm。
冲裁工序力包括冲裁力、卸料力、推件力、顶件力等,其中,最主要的是冲裁力的确定。
1.冲裁力
冲裁力是指冲裁时所需要的压力,即在凸模和凹模的作用下,使板料在厚度方向分离的剪切力。它与板料的剪切面积有关,一般用 F c 来表示。冲裁刃口分为平刃和斜刃两种情况,这里只介绍常用的平刃冲裁。平刃冲裁时,冲裁力 F c 可按下式计算:
 
   为了简化计算,也可用材料的抗拉强度 R m 按下式进行估算:
 
   式中, F c ——冲裁力,N;
K ——系数,常取 K =1.3;
A ——冲裁断面面积,mm;
τ b ——材料的抗剪强度,MPa;
L ——冲裁断面的周长,mm;
t ——材料厚度(即冲裁件的厚度),mm。
2.卸料力 F x ,推件力 F t ,顶件力 F d 的计算
(1)卸料力 冲裁后,从凸模上将零件或废料卸下来所需的力,称为卸料力( F x )。冲裁后,带孔的板料紧箍在凸模上,为连续生产,需用卸料力 F x 把带孔板料卸掉。
(2)推件力 顺冲裁方向将零件或废料从凹模型腔中推出的力,称为推件力( F t ),如图2.20(b)所示。
(3)顶件力 逆冲裁方向将零件或废料从凹模型腔中顶出的力,称为顶件力( F d )。如图2.20(c)所示。
要想准确计算出这些力是很困难的,在生产中常用下式进行估算:
 
   式中, K x , K t , K d ——卸料力、推件力、顶件力系数,其值可查表2-16得到;
F c ——冲裁力,N;
n ——同时卡在凹模内的冲落部分制件或废料的数量, n = h / t ;
h ——凹模洞口的直刃壁高度,mm;
t ——板料厚度,mm。
表2-16 卸料力、推件力、顶件力系数
 
   3.冲裁工序力( F )的计算
冲裁工序力的计算应根据冲裁模具的具体结构形式分别考虑。
(1)如图2.20(a)所示,当采用刚性卸料装置和下出件时, F x 由模具来承担,所以不予考虑。则冲裁工序力为
 
   (2)如图2.20(b)所示,当采用弹性卸料装置和下出件时,冲裁工序力为
 
   (3)如图2.20(c)所示,当采用弹性卸料装置和上出件时,冲裁工序力为
 
    
    图2.20 卸料、推件示意
选择压力机时,应根据冲裁工序力 F 来确定。一般所选压力机的标称压力 F p ≥1.2 F 。
1.冲裁压力中心
冲裁压力中心就是指冲裁力的合力作用点。为什么要确定冲裁模具的压力中心呢?因为在冲压生产中,为保证压力机和模具正常工作,必须使冲裁模具的压力中心和压力机滑块的中心线相重合。否则,在冲裁过程中,会使滑块、模柄及导柱承受附加弯矩,使模具与压力机滑块产生偏斜,凸、凹模之间的间隙分布不均匀,从而造成导向零件的加速磨损,模具刃口及其他零件损坏,甚至会引起压力机导轨磨损,影响压力机精度。因此,在设计模具时,必须确定模具的压力中心,并使之与模柄轴线重合,从而保证模具的压力中心与压力机的滑块中心相重合。
2.形状简单的凸模压力中心的确定
(1)直线段 其压力中心为直线段的中心。
(2)圆弧线段 如图2.21所示,对于圆心角为2 α 的圆弧线段,其压力中心可按下式计算:
 
   式中, C 0 ——圆弧线段的压力中心坐标值,mm;
R ——圆弧线段的半径,mm;
α ——圆弧线段的中心角的一半,(°);
L ——圆弧线段的弧长,mm。
(3)形状对称的零件,其凸模的压力中心位于刃口轮廓的几何中心,如圆形的压力中心在圆心上,而矩形的压力中心在对称中心。
3.形状复杂的凸模压力中心的确定
复杂形状冲裁件压力中心的求解方法有解析法、图解法、合成法等。下面讲解最常用的解析法,具体步骤如下。
(1)按比例画出冲裁件的冲裁轮廓,如图2.22所示。
 
    图2.21 圆弧冲裁压力中心
 
    图2.22 复杂形状冲裁压力中心
(2)建立合适的直角坐标系 xOy (应能简化计算)。
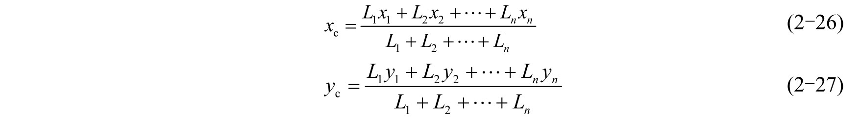
(3)将冲裁件的冲裁轮廓分解成若干个直线段或圆弧线段 L 1 , L 2 , …, L n 等基本线段。由于冲裁力 F c 与轮廓长度 L 成正比关系( F c = KLtτ ),所以可以用线段的长度 L 代替冲裁力 F c 进行压力中心计算。
(4)计算各基本线段的长度及压力中心的坐标( x 1 , y 1 ), ( x 2 , y 2 ), …, ( x n , y n )。
(5)根据力矩平衡原理,计算压力中心坐标( x c , y c )。
 
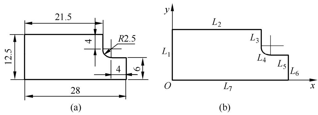
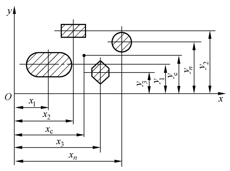
   例2-2: 确定图2.23(a)所示落料凸模的压力中心位置。
 
    图2.23 冲裁件压力中心例题
解 : ① 建立坐标系 xOy ,如图2.23(b)所示。
② 把刃口轮廓分成7段,并确定各线段长度,列入表2-17。
③ 确定各线段的压力中心位置,计算其坐标值,列入表2-17。
表2-17 计算数据列表mm
 
   L 3 段和 L 4 段的计算见图2.24。
 
    图2.24 L 4 圆弧处压力中心求解
L 3 段的计算:
L 3 =4
x 3 = L 2 =21.5
y 3 = L 1 - L 3 /2=12.5-4/2=10.5
L 4 段的计算:
L 4 =2 Ra /57.29=2×2.5×45/57.29=3.93
C =(57.29/ a ) R sin a =(57.29/45)×2.5×sin45°=2.25
x 4 = L 7 - L 5 - C ×sin45°=28-4-2.25×sin45°=22.4
y 4 = L 6 + R - C ×cos45°=6+2.5-2.25×cos45°=6.9
④ 计算凸模压力中心位置
 
   4.多凸模冲裁时压力中心的确定
在连续冲裁模和复合冲裁模设计时,存在多凸模冲裁压力中心的计算,其计算方法与复杂形状凸模计算类似,这里也只介绍解析法。如图2.25所示的多凸模冲裁压力中心求解步骤如下。
 
    图2.25 多凸模冲裁压力中心
① 选取坐标系 xOy 。
② 计算确定各个凸模压力中心的坐标( x i , y i )。
③ 求总合力的中心坐标( x c , y c ):
 
   式中, L i ——各凸模刃口的周长, i =1,2,3, …, n ,mm。
在利用解析法计算多凸模冲裁压力中心时,要注意以下几点。
(1)多凸模的压力中心也可以在一个坐标系中分解成多个线段进行计算,但形状复杂时计算繁杂,易出错。
(2)所分解的各个凸模必须是独立的(各自有一个完整的外形轮廓)。
(3)要利用力矩平衡的原理进行简化计算。若一个凸模或者多凸模沿某一直线对称时,其压力中心必定在这条对称线上。如图2.26(a)所示的多凸模,其压力中心必在对称线 x - x 上,因此只需计算压力中心的另一坐标(横向坐标)即可。如果几个凸模完全对称于 x 轴和 y 轴,则其力矩之和为零,其压力中心在坐标原点上。如图2.26(b)所示,5个圆形冲孔凸模中有4个完全对称于坐标系 xOy 的原点 O ,因此这4个圆形凸模的压力中心必在原点 O 上。计算时可把5个圆形冲孔凸模分成两组,完全对称于坐标系 xOy 的原点 O 的4个凸模一组,剩下的一个单独一组。
 
    图2.26 对称分布的多凸模冲裁压力中心
本节将分项介绍冲裁模具各个零部件的设计,如:工作零件中凸模、凹模、凸凹模的设计,定位装置的设计,卸料装置的设计,模架的选用,固定零件的设计等。
冲裁模的工作零件是指实现冲裁变形、使条料正确分离、保证冲裁件形状的零件,包括凸模、凹模、凸凹模三种。
1.凸模结构的设计
1)凸模的结构形式
凸模的形式很多,从结构上分有整体式、组合式;从形状上分有圆形、非圆形。
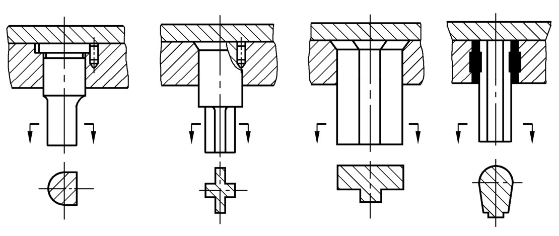
(1)圆形凸模。指刃口端面形状为圆形的凸模,应用比较广泛,用来冲制各种圆形孔或制件。目前已有国家标准,设计时可直接选用(GB 2863—1981)。其形式可分为3种,如图2.27所示。从结构上看,图2.27(a)和图2.27(b)所示凸模为整体式;图2.27(c)所示凸模为组合式。图2.27(a)所示凸模适用于冲制直径小于8mm的工件;图2.27(b)所示凸模适用于冲制 φ 8~ φ 30mm的工件;图2.27(c)所示凸模适用于冲制较大的工件。
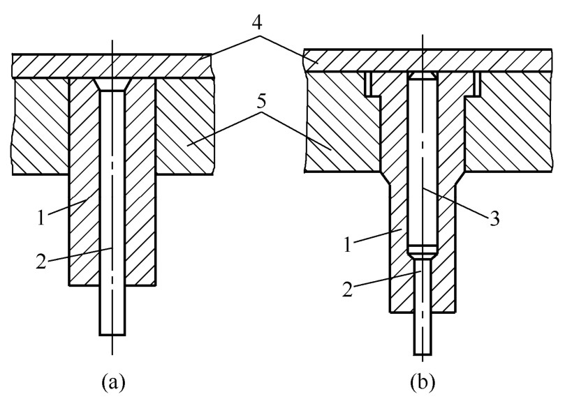
对于在较厚的板料上冲制小直径工件的凸模,为避免凸模在冲裁时折断,可在凸模外加装凸模保护套。较常用的有图2.28所示的两种形式:图2.28(a)所示,凸模与保护套铆接,保护套固定在凸模固定板上;图2.28(b)所示,用芯柱将凸模压入保护套内,保护套固定在凸模固定板上。
 
    图2.27 圆形凸模
 
    图2.28 凸模保护套
1—凸模保护套;2—凸模;3—芯柱;4—垫板;5—固定板
(2)非圆形凸模。指刃口端面形状为非圆形的凸模,用来冲制各种非圆形孔或制件,如图2.29所示。从结构上也可分为3种形式:整体式、镶拼式、组合式。
 
    图2.29 非圆形凸模
整体式凸模的工作部分和固定部分做成一体。按其安装固定部分的情况又可分为两种形式,如图2.30(a)所示为直通式,图2.30(b)所示为台阶式。直通式凸模工作部分和固定部分的形状与尺寸一致,轮廓为曲面或比较复杂,机械加工较困难,常采用线切割加工。台阶式凸模工作部分和固定部分的形状与尺寸不一致,一般采用机械加工,当形状复杂时,成形部分常采用成形磨削加工。
 
    图2.30 整体式非圆形凸模
镶拼式凸模是将凸模分成若干分体零件分别加工,然后用圆柱销连成一体,安装在凸模固定板上,这样可降低凸模的加工难度,如图2.31所示。
组合式凸模由基体部分和工作部分两部分组合而成,如图2.32所示。工作部分使用模具钢制造,基体部分可采用普通钢材(如45钢)来制造,从而节约了优质钢材,降低模具成本。此种形式适合于大型制件的凸模。
 
    图2.31 镶拼式凸模
 
    图2.32 组合式凸模
2)凸模的固定方法
凸模的安装部分,大多数是先与凸模固定板连接好以后,再安装在上模座上。当形状简单,模具设计寿命低时,也可以直接安装在上模座上(中间有时需加设垫板)。凸模的固定方法很多,其形式取决于凸模的受力状态、安装空间的限制、有无特殊要求、凸模自身的形状及工艺特性等因素。
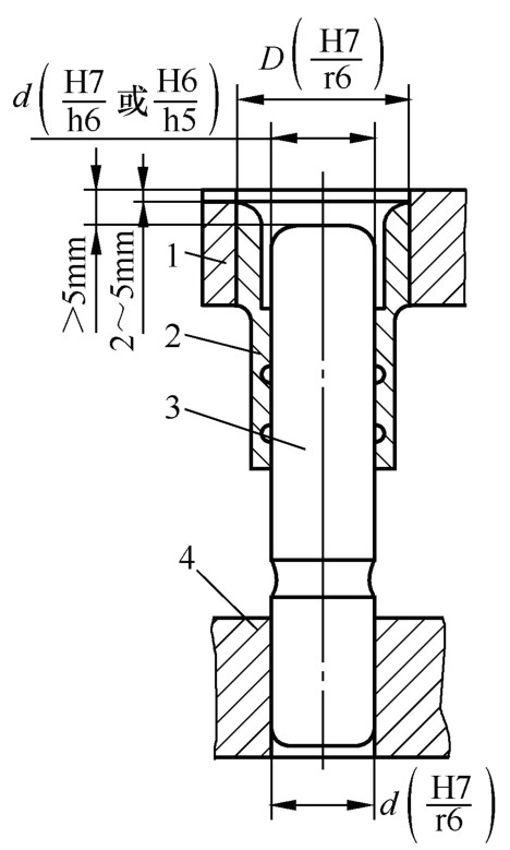
(1)台阶式固定法。台阶式固定法是应用较为普遍的一种方法,多用于圆形及规则凸模的安装。其固定部分设计有台阶,以防止凸模从固定板中脱落(即轴向定位),凸模与固定板之间多采用H7/m6配合(过渡配合),装配稳定性好。凸模压入凸模固定板后,应磨平,如图2.33所示。
(2)铆接式固定法。一般用于直通式凸模,多为不规则形状断面的小凸模,或较细的圆形凸模。如图2.34所示,凸模压入凸模固定板后,将凸模上端铆出(1.5~2.5)×45°的斜面,以防止凸模从固定板中脱落,铆接后应将端面磨平。
(3)螺钉及销钉固定法。对于一些大、中型凸模,由于其自身的安装基面较大,一般可用螺钉及销钉将凸模直接固定在凸模固定板上,安装及拆卸都比较方便,如图2.35所示。当制件精度要求较低时,也可直接将凸模固定在模座上,如图2.27(c)所示。对于一些较大的轮廓形状复杂的直通式凸模,也可采用挂销式固定,如图2.36所示。
 
    图2.33 台阶式固定
 
    图2.34 铆接式固定
 
    图2.35 镙钉及销钉固定
 
    图2.36 挂销固定
(4)浇注粘接固定法。此法指采用低熔点金属、环氧树脂、无机粘接剂等进行浇注粘接固定。固定板和凸模之间有很明显的间隙,固定板和凸模的固定部位都不需进行精加工,简化了机械加工工作量,适用于冲制厚度小于2mm的冲裁件。图2.37(a)为环氧树脂固定;图2.37(b)为低熔点合金固定;图2.37(c)为无机粘接剂固定。
 
    图2.37 浇注粘接固定
3)凸模长度的计算
凸模长度的计算,一般是按模具结构来确定的。
(1)使用刚性卸料装置,如图2.38(a)所示,凸模长度用下式计算:
 
   式中, h 1 ——凸模固定板厚度,mm;
h 2 ——固定卸料板厚度,mm;
h 3 ——导料板厚度,mm;
A ——自由尺寸,mm。它包括3部分:闭合状态时固定板和卸料板之间的距离,凸模的修磨量,凸模进入凹模的距离0.5~1mm。
 
    图2.38 凸模长度计算
(2)使用弹性卸料装置,如图2.38(b)所示,导料板的厚度对凸模长度就没什么影响,凸模长度应按式(2-28)进行计算:
 
   式中, h 1 ——凸模固定板厚度,mm;
h 2 ——弹性卸料板厚度,mm;
t ——板料的厚度,mm;
A ——自由尺寸,mm。同样包括3部分:闭合状态时固定板和卸料板之间的距离,凸模的修磨量,凸模进入凹模的距离0.5~1mm。 A 相对要长一些,要考虑弹性元件的压缩量。
4)凸模的材料和技术要求
凸模材料常用的有:T10A,9Mn2V, Cr12, Cr6WV等冷作模具钢。热处理要求达到58~62 HRC,尾部回火至40~50 HRC。
技术要求按GB 2870—1981《冷冲模零件的技术条件》执行。一般凸模的通用技术条件如下:凸模尾部端面与凸模固定板装配后一体磨平;保持刃口锋利,不得倒钝;刃口部位的粗糙度值 Ra 为0.8~0.4μm;小直径凸模的刃口端面不允许打中心孔。
2.凹模的结构设计
1)凹模结构形式
凹模的结构也分为整体式、组合式、镶拼式等3种形式。
(1)整体式凹模。整体式凹模如图2.39(a)所示。其优点是模具结构简单,强度好,制造精度高。缺点是非工作部分也用模具钢制造,制造成本较高;若刃口损坏,需整体更换。主要适用于中小型及尺寸精度要求高的制件。
(2)组合式凹模。组合式凹模如图2.39(b)所示。其凹模工作部分采用模具钢制造,非工件部分采用普通材料制造,制造成本低,维修方便。缺点是结构稍复杂,制造精度比整体式有所降低。主要适用于大中型及精度要求不太高的制件。
(3)镶拼式凹模。镶拼式凹模如图2.39(c)所示,凹模型腔由两个或两个以上的零件组成。这种结构使零件的加工方便,降低了复杂模具的加工难度,易损部分易更换,维修费用低。缺点是制件的精度低,装配要求高。主要适用于窄臂制件和形状复杂的制件。
 
    图2.39 凹模
2)凹模的刃口形式
大体上可以把凹模的刃口分为3种形式。
(1)直筒式。如图2.40所示的三种刃口均为直筒式。其刃口加工方便、强度高,且刃口尺寸不会因修磨而过大变化,适用于冲裁形状复杂或精度要求高的制件。其缺点是冲落部分的制件或废料积存在刃口部位,增大了推件力和凹模的胀裂力,会加快刃口磨损。图2.40(a)、(b)所示形式的刃口高度一般按板料厚度选取: t ≤0.5mm, h =3~5mm;0.5mm< t ≤5mm, h =5~10mm; t >5~10mm, h =10~15mm。一般用于单工序冲裁模或连续冲裁模且采用下出料的情况。图2.40(c)所示形式用于带有顶出装置的复合冲裁模。
 
    图2.40 直筒式刃口
(2)锥形。锥形凹模刃口如图2.41所示。其优点是冲落的工件或废料容易漏下,凸模对凹模孔壁的摩擦及压力也较小。图2.41(a)所示结构因刃口为锐角,刃口强度较差,修磨刃口尺寸易增大,适合冲裁形状简单、精度要求不高的制件。图2.41(b)所示结构的设计参数 α 、 β 、 h 值的大小与板料厚度有关:当 t <2.5mm, α =15′, β =2°, h =4~6mm; t >2.5mm, α =30′, β =3°, h ≥8mm。
(3)凸台式 凸台式凹模刃口如图2.42所示。凹模的淬火硬度较低,一般为35~40HRC,装配时,可以锤打凸台斜面来调整间隙,直到冲出合格的工件为止。适用于冲裁厚度在0.3mm以下的薄料工件。
 
    图2.41 锥形刃口
 
    图2.42 凸台式刃口
3)固定方法
凹模的固定方法如图2.43所示,图2.43(a)是凹模与固定板采用H7/m6配合,常用于带肩圆凹模的固定;图2.43(b)是凹模与固定板采用H7/m6或H7/s6配合,一般只用于小型制件的冲裁;图2.43(c)、(d)是凹模直接固定在模座上,图2.43(c)适用于冲裁大型制件,图2.43(d)适合冲裁小批量的简单形状的制件。
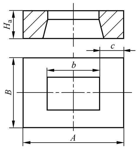
4)外形设计
凹模的外形尺寸应保证凹模有足够的强度、刚度和修磨量。一般有矩形和圆形两种,视具体情况而定。如图2.44所示,凹模外形尺寸可按如下经验公式计算:
 
    图2.43 凹模固定方式
 
    图2.44 凹模外形尺寸
 
   式中, H a ——凹模厚度,mm;
F ——冲裁力,N;
c ——凹模壁厚(指最小壁厚),mm。
5)凹模的材料和技术要求
凹模所用材料和凸模的选材基本相同。热处理要求比凸模的硬度稍高一些,为60~64HRC。技术要求按GB 2870—1981《冷冲模零件的技术条件》执行。通用技术条件和凸模的类似。
3.凸凹模的结构设计
凸凹模是复合模中的一个工作零件,其外形起凸模作用,内形起凹模作用。在设计时,外形可参考凸模结构设计,内形可参考凹模结构设计。
设计凸凹模的关键是要保证外形和内形之间的壁厚强度,许用最小壁厚 c 可按表2-18选取。凸凹模内形和外形刃口之间的位置是由制件的尺寸来决定的,但可在其刃口之外采取增加壁厚的措施来增加壁厚强度,如图2.45所示。采取增强措施以后,若还不能保证内外形之间的壁厚强度,则应放弃使用复合冲裁模结构,改用单工序冲裁模结构或连续冲裁模结构。
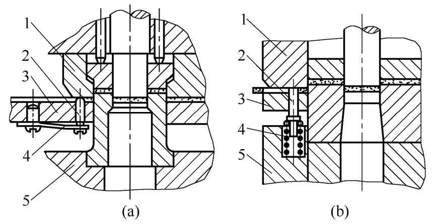
表2-18 凸凹模最小壁厚 c mm
 
    
    图2.45 凸凹模增加强度措施
定位装置的作用是确定条料或半成品在模具中的位置,以保证冲压件的质量,使冲压生产连续顺利进行。下面分条料的定位和半成品的定位两大类来讲解。
1.条料的定位
条料的定位分纵向和横向两个方面。
纵向定位:控制条料的送料进距。包括挡料销、导正销、定距侧刃等零件。
横向定位:保证条料的送进方向。包括导料板、导料销等零件。
1)挡料销
挡料销的作用是保证条料有准确的送进位置。国标中常见的挡料销有3种形式:固定挡料销、活动挡料销、始用挡料销。挡料销一般用45钢制造(43~48HRC),其高度应稍大于条料的厚度。
(1)固定挡料销。一般安装在凹模或凹模固定板上,但安装孔会造成凹模强度的削弱。常用于单工序模和连续模中。形式主要有圆头挡料销、钩形挡料销,如图2.46所示。当挡料销孔与凹模刃口距离太近时,为增大刃口强度,采用钩形挡料销;但此种挡料销由于不对称,需要另加定向装置,适用于冲制较大较厚材料的工件。
 
    图2.46 固定挡料销
(2)活动挡料销 活动挡料销常用于倒装式复合模中。如图2.47所示,落料凹模1位于上半模,要完成落料工序,落料凹模1必然向下运动并接触条料,并迫使弹性卸料板3下降,进而使挡料销2受压下降,与条料平齐,避免产生干涉。
 
    图2.47 活动挡料销
1—凹模;2—活动挡料销;3—弹性卸料板;4—簧片(或弹簧);5—下模座
(3)始用挡料销 始用挡料销在连续模冲裁中使用,仅用于每块条料开始冲裁时的定位。其结构形式很多,如图2.48所示即为常用的一种。工作时,先用手按下始用挡料销2,使其伸出导料板4的边缘,阻挡条料令其前端定位。然后松开始用挡料销,使其在弹簧1的作用下自动复位,开始冲裁。
 
    图2.48 始用挡料销装置
1—弹簧;2—始用挡料销;3—凹模;4—导料板;5—刚性卸料板;6—固定挡料销
2)导正销
导正销多用于连续模中条料的精确定位,用于保证工件内孔与外形的相对位置精度。冲模工作时,导正销先插入上一工位已冲制好的孔中(制件上的孔或条料上的工艺孔),将条料精确定位,然后开始冲压加工。
(1)结构形式。当零件上有适合于导正销导正用的孔时,导正销就固定在落料凸模上,按其固定方法可分为如图2.49所示的6种形式。图2.49(a)、(b)、(c)所示用于直径小于10mm的孔导正;图2.49(d)所示用于直径为10~30mm的孔导正;图2.49(e)所示用于直径为20~50mm的孔导正;为了便于装卸,小的导正销也可采用图2.49(f)所示的结构,更换十分方便。
 
    图2.49 导正销形式及固定方式
当零件上没有适合于导正销导正用的孔时,对于工步数较多、零件精度要求较高的连续模,应在条料两侧的空位处设置工艺孔,以供导正销导正条料用。此时,导正销一般固定在凸模固定板上,如图2.50所示。
 
    图2.50 导正销固定在凸模固定板上的形式
1—上模座;2—凸模固定板;3—卸料板;4—导正销;5—弹簧;6—螺塞;7—顶销
(2)设计要点。导正销和导孔之间要有一定的间隙(小间隙配合)。导正销的高度应大于模具中最长凸模的高度(如阶梯冲裁),以确保先导正、后冲裁。导正销一般使用T7、T8或45钢制造,并需经热处理淬火。
3)定距侧刃
定距侧刃多用于连续模中条料的精确定位。用导正销精确定位困难时,可以选用定距侧刃定位,但定位精度不如导正销。考虑侧刃的磨损情况,一般适用于冲制料厚在1.5mm以下、送料进矩 A 较小、精度要求不太高的制件。冲裁时,侧刃在条料的侧边冲去一个窄条,窄条的长度等于送料进距 A ,冲去窄条后的条料才能通过导料板,如图2.51所示。
 
    图2.51 侧刃定距
(1)侧刃定位的特点。条料宽度要求不严格;省去挡料销和始用挡料销;操作方便,易实现自动化;定距侧刃实际上就是一个工艺切边凸模,要有相应的凹模;但条料浪费较多。
(2)侧刃形状。可分为Ⅰ类无导向侧刃和Ⅱ类有导向侧刃两大类,每一类又可根据断面形状分为多种,如图2.52所示。其中A、B、C均为标准型侧刃(GB 2865.1—1981),其结构如图2.52所示。
 
    图2.52 侧刃结构形状
A型为矩形侧刃,结构简单,制造方便。但侧刃变钝后,切后条料边上产生圆角和毛刺,影响条料的送进和准确定位,如图2.53(a)所示。B型、C型为齿形侧刃,虽然加工困难些,但克服了矩形侧刃的缺点,在两次冲切后,留有间隙,使条料台肩能紧靠挡料块的定位面,送料较矩形侧刃准确,不随侧刃的磨损而影响定位,在生产中常用,如图2.53(b)所示。尖角形侧刃虽然定位也准确,且节省条料,但在冲裁时需要前后移动条料,操作不便,多用于贵重金属的冲裁。
 
    图2.53 侧刃的定位误差
1—导料板;2—侧刃挡块;3—侧刃;4—条料
(3)设计要点。侧刃厚度一般为6~10mm;长度等于条料的送料进距 A 。侧刃属于切边凸模,制造时以侧刃为基准件,侧刃孔(凹模)按侧刃配制,留单边间隙 C 。侧刃材料一般同凸模的选材,常用T10、T10A、Cr12等,硬度62~64HRC。布置方式分为单侧刃或双侧刃两种形式,使用双侧刃时,定位精度比单侧刃高,但材料的利用率下降了。使用双侧刃时,可以对称放置,也可以对角放置。
4)导料板
导料板的作用是引导条料沿正确的方向前进,属于横向定位零件。
(1)导料板形式。按固定方式,可分为整体式和分离式两种。分离式的导料板和固定卸料板是分开的,如图2.54(a)所示。分离式导料板已有国家标准(GB 2865.5—1981)。整体式的导料板和固定卸料板连成一体,如图2.54(b)所示。导料板一般安装固定在凹模或凹模固定板上。
(2)设计要点。导料板之间的导料距离,要大于条料的宽度0.1~1.0mm,视条料的厚度而定。当条料较薄、宽度较小时,间隙要小一些;当条料较厚、宽度较大时,间隙要大一些。
 
    图2.54 导料板形式
导料板的厚度要大于挡料销顶端高度与条料厚度之和,并有2~8mm的空隙。
5)侧压装置
如果条料的宽度公差过大,则需要在一侧的导料板上设计侧压装置,以消除板料的宽度误差,保证条料紧靠另一侧的导料板而正确地送料。
侧压装置的形式很多,图2.55所示为常用侧压装置的几种结构形式。簧片式和簧片压块式侧压装置用于料厚小于1mm、侧压力要求不大的情况;弹簧压块式和弹簧压板式侧压装置用于侧压力较大的场合。当条料的厚度小于0.3mm时,不宜使用侧压装置。使用簧片式和压块式侧压装置时,一般设置2~3个侧压装置。
6)导料销
导料销是导料板的简化形式,多用于采用弹性卸料装置的倒装式复合冲裁模中。当采用导料销保证送料方向时,一般要选用两个。
 
    图2.55 侧压装置
7)典型组合
(1)在单工序冲裁模中,多采用挡料销+导料板的形式。
(2)在倒装式复合模中,多采用挡料销+两个导料销的形式来实现条料的定位。
(3)在连续模中,多采用挡料销+导正销+导料板,或定距侧刃+导料板等形式来实现条料的定位。当挡料销和导正销配合使用来对条料进行纵向定位时(保证送料进距),要注意它们之间的位置关系,如图2.56所示。
如图2.56(a)所示,条料采用前推式定位:
 
   如图2.56(b)所示,条料采用回带式定位:
 
   式中, A ——送料步距,mm;
D p ——落料凸模部分直径,mm;
D ——挡料销头部直径,mm;
l ——挡料销与导正销的中心距,mm。
 
    图2.56 导正销与挡料销之间的位置关系
特别提示
为什么在 l 中要+0.1mm或者-0.1mm呢?
为确保挡料销粗定位时,使条料沿送料方向超前或者滞后0.1mm,给导正销精定位时留0.1mm的调整距离。
2.半成品的定位
在冲裁生产过程中,并不是每一个冲裁件都是一次冲裁成形的,如单工序模经常给下道工序提供毛坯或半成品,对下道工序而言,就存在一个毛坯或半成品的定位问题。半成品的定位分内孔定位(如图2.57所示)和外形定位(如图2.58所示)两种方式。定位板或定位钉一般用45钢制造,淬火硬度为43~48HRC。
 
    图2.57 半成品的内孔定位
 
    图2.58 半成品的外形定位
1.卸料装置
卸料装置的作用是卸去冲裁后紧箍在凸模外面的条料或制件。可分为刚性卸料装置和弹性卸料装置两大类。
1)刚性卸料装置
冲裁时,板料没有受到压料力的作用,因此冲裁后的条料或制件有翘曲现象。刚性卸料板直接固定在凹模(或凹模固定板)上,卸料力大,常用于材料较硬、厚度较大、精度要求不太高的工件的冲裁(当 t >3mm时,一般采用刚性卸料)。刚性卸料板分为封闭式、悬臂式、钩形三种形式,如图2.59所示。
 
    图2.59 刚性卸料装置的结构形式
1—凸模;2—刚性卸料板;3—凹模
封闭式卸料板和导料板可做成整体形式,也可做成组合形式。在冲裁模中,组合式应用得比较广泛。悬臂式一般用于窄长零件的冲孔或切口。钩形又称拱形,用于空心件或弯曲件底部的冲孔(考虑成形件的高度,取件距离较大)。
2)弹性卸料装置
弹性卸料装置是借助于弹性元件(橡胶或弹簧)的弹力推动卸料板动作而实现卸料的装置。弹性卸料装置可安装在上半模,如图2.60(a)、(b)所示;也可安装在下半模,如图2.60(c)、(d)所示。
工作时,弹性卸料板1先将条料压紧,然后再冲裁,冲裁完成后模具回复时,弹性元件的弹力推动卸料板1完成卸料动作。由于在冲裁时弹性卸料板对条料有预压作用,因此冲裁后的带孔部分表面平整,精度较高。卸料力靠弹性元件提供,因此相对较小,常用于材料较薄、硬度较低的工件的冲裁。
 
    图2.60 弹性卸料装置的结构形式
1—弹性卸料板;2—弹性元件;3—卸料螺钉;4—凸凹模
特别提示
当料厚 t <2mm时,常使用弹性卸料装置;当料厚 t ≥3mm时,常使用刚性卸料装置;当3> t ≥2mm时,应视具体情况选用卸料方式。
3)卸料板的设计
卸料板的设计应考虑以下几个方面的内容。
(1)外形尺寸。与凹模(或凹模固定板)的外形尺寸一致。
(2)内形尺寸。卸料板的内形型孔形状基本上与凹模孔形状相同,内形型孔和凸模之间要有一定的间隙。一般地,对于弹性卸料板,其单面间隙取0.05~0.1mm,对于固定卸料板,其单面间隙取0.2~0.5mm。卸料板兼起弹压导板作用时,凸模与成形孔的配合应取H7/h6。
但卸料板与凸模之间的间隙应大于冲裁间隙,同时还要保证在卸料力的作用下,带孔条料(工件或废料)不被拉进间隙内。
(3)厚度 可按式(2-34)计算:
 
   式中, H x ——卸料板厚度,mm;
H a ——凹模厚度,mm。
当条料厚时,系数取较大值;当条料薄时,系数取较小值。
(4)卸料板的上下两面应光洁(磨床加工),与板料接触面上的孔不应倒角。材料一般选用45钢或Q235。不需要进行热处理。
2.推件装置
推件装置安装在冲裁模的上模部分,利用压力机的横梁或模具内的弹性元件,通过推杆、推板等,将制件或废料从凹模型腔内推出。
(1)刚性推件装置 刚性推件装置是利用压力机的横梁,通过安装在模柄内的打料杆进行推件。如图2.61所示,冲模的上模通过模柄1固定在压力机的滑块4上。冲压完成后,上模随着滑块4回程,当打料杆2与横梁3接触,则打料杆2、推板8、推杆9、推件块10不再随上模上行,而上模的其他部分仍随着滑块向上运动,从而将制件从凹模内推出。
(2)弹性推件装置 弹性推件装置是利用安装在模具内部的弹性元件完成推出动作的。如图2.62所示,冲裁时弹性元件橡胶1被压缩,冲裁后弹性元件要释放能量,推动推件块4完成推件动作。
 
    图2.61 刚性推件装置工作原理
1—模柄;2—打料杆;3—压力机横梁;4—压力机滑块;5—螺栓;6—螺母;7—上模座;8—推板;9—推杆;10—推件块;11—凹模
 
    图2.62 弹性推件装置
1—橡胶;2—推板;3—推杆;4—推件块
(3)推件装置的设计 推件装置的结构比较精巧。由于推件装置是安装在上半模的内部,所以在设计时要特别注意与相邻模具零件的配合与让位。推杆和推板一般用45钢制造,淬火硬度43~48HRC。
3.顶件装置
顶件装置安装在下半模部分,多用于正装复合模或平面要求平整的落料模(有顶件装置时,冲落部分是在顶件板和凸模的夹持下被冲裁掉的,因此比较平整)。其结构形式可分为弹性元件安装在模具内部和弹性元件安装在模具外部两种。如图2.63所示,冲裁完毕回程时,靠弹性元件5释放能量,通过顶件块2完成顶件动作,其设计要点同推件装置。
 
    图2.63 弹性顶件装置
1—凹模;2—顶件块;3—顶杆;4—托板;5—橡胶
冲裁模的固定零件包括模架、模柄、固定板、垫板、紧固件等。
1.模架
模架是组合体,由上模座、下模座、导柱和导套等四部分组成。
模架是模具的基础,模具的所有零件都直接或间接地安装在模架上构成完整的冲裁模具。模架的上模座通过模柄和曲柄压力机的滑块相连,或直接固定在液压压力机的活动横梁上;模架的下模座固定在压力机的工作台面上。
常用的模架有滑动导向模架和滚动导向模架两大类,其中滑动导向模架应用得最为广泛,图2.64所示均为滑动导向模架。在滚动导向模架中,导套内镶有成行的滚珠,通过滚珠与导柱实现无间隙配合,导向精度高,广泛应用于精密冲裁模具中。
1)模架分类
按照导柱的布置形式,模架可分为对角导柱模架、中间导柱模架、后侧导柱模架和四导柱模架等四种,分别如图2.64(a)、(b)、(c)、(d)所示。除中间导柱模架只能沿前后方向送料外,其他三种模架均可以沿纵、横两个方向送料。其中,中间导柱模架和对角导柱模架在中、小型冲裁模中应用非常广泛,并且为了防止误装,还常将两个导柱设计成直径相差2~5mm大小不等的形状。四导柱模架的导向性能好,受力均匀,刚性好,适合于大型模具。
 
    图2.64 模架形式
2)设计要点
(1)导柱和导套。导柱安装在下模座,导套安装在上模座,可查有关手册,尽量选用标准件。导柱与导套常选用H7/h6或H6/h5的小间隙配合;导柱与下模座之间、导套与上模座之间常选用H7/r6的过盈配合。导套压入上模座的长度,要比上模座的厚度小2~5mm;模具闭合时,导柱上端面距上模座上平面的距离不得小于5mm,如图2.65所示。有的导柱的导滑段上还开设有储油槽。
(2)下模座。往下自然漏料时,漏料孔的尺寸要比漏料尺寸大些,形状可简化,以便于加工。自行设计时,下模座厚度为
 
    
    图2.65 滑动式导柱导套
1—上模座;2—导套;3—导柱;4—下模座
(3)上模座。在上平面开设浅槽,和安装导套的间隙相连,防止出现真空,如图2.65所示。自己设计时,上模座厚度为
 
   式中, H a ——凹模厚度,mm;
h s ——上模座厚度,mm;
h x ——下模座厚度,mm。
(4)材料选用。上、下模座为HT200或Q235。导柱、导套为20钢,渗碳淬火硬度60~62HRC。
2.模柄
模柄是上模部分和压力机滑块的连接零件。其下部固定在上模座上;工作时,其上部固定在压力机滑块的模柄孔内。模柄的标准结构共有7类11种,如图2.66所示。
 
    图2.66 模柄形式
常用的模柄有压入式和旋入式等,压入式和旋入式又各分为A、B两种型号,其中A型中间不带孔;B型中间带孔,用于刚性推件装置。
浮动式模柄由于采用了浮动机构,可以消除压力机导轨对冲模导向精度的影响,从而提高了冲裁精度。常用于冲裁精度要求较高的薄壁工件及使用滚动导向模架的精密冲裁模具中。
模柄直径根据所选压力机的安装孔尺寸而定(但其安装部分的长度要比模柄孔的深度短一些)。材料一般选用45钢或Q235。
3.固定板
固定板是用来固定凸模、凹模或凸凹模的,之后再和模座相连接。一般采用台阶式固定方式,选用H7/m6的过渡配合,如图2.33、图2.43(a)所示。
固定板的外形尺寸与凹模的外轮廓尺寸基本一致,材料一般选用45钢或Q235。其厚度按下式计算:
 
   式中, H g ——固定板厚度,mm;
H a ——凹模厚度,mm。
4.垫板
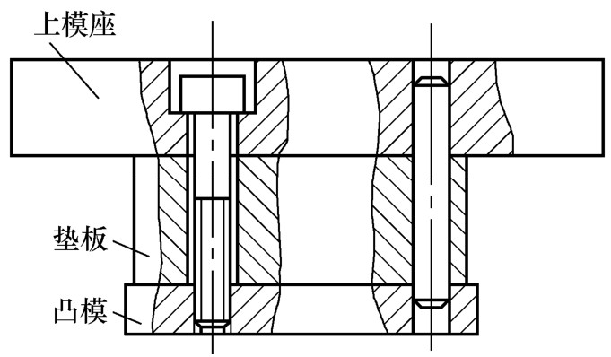
垫板的作用是直接承受和扩散凸模传递过来的压力,以减小模座所承受的单位压力,保护凸模顶面处的模座平面不被压陷损坏,如图2.67所示。安装位置在凸模和模座之间。既可能在上模部分,也可能在下模部分。
 
    图2.67 垫板的受力情况
垫板的外形多与凸模固定板一致。厚度一般取5~12mm(条料硬度高、厚度大时,垫板厚度取较大值)。材料可选用T7, T8,淬火硬度52~56HRC;45钢,淬火硬度43~48HRC。垫板的上、下面要磨平。
是否需要加设垫板,应根据模座承受的单位面积上的压应力的大小来决定。模座承受的单位面积压力的计算公式为:
 
   式中, σ y ——模座承受的单位压力,Pa;
F y ——凸模的冲压力,N;
S ——凸模顶面的面积,mm 2 。
当模座承受的单位面积上的压力超过模座材料的许用压应力[ σ y ]时,就需要在凸模与模座之间加设垫板,因此加设垫板的条件为:
σ y ≥[ σ y ]
5.紧固件
模具中使用的紧固件主要是螺钉和销钉。螺钉用来连接冲裁模中的各个零件,使其成为一个整体;销钉用来起定位作用。紧固件应尽量选用标准件,选用时应注意以下两点。
(1)选用螺钉时,应尽量选用内六角螺钉,这种螺钉的头部可以埋入模板内,占用空间小,且拆装方便,外形还美观。
(2)选用销钉时,一般应选用圆柱销,以便于拆装。销钉数量不能少于两个;螺钉和销钉之间的距离不能太小,否则会降低模具的强度。
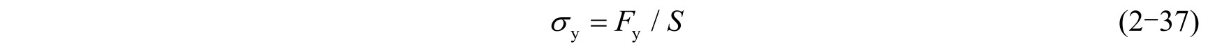
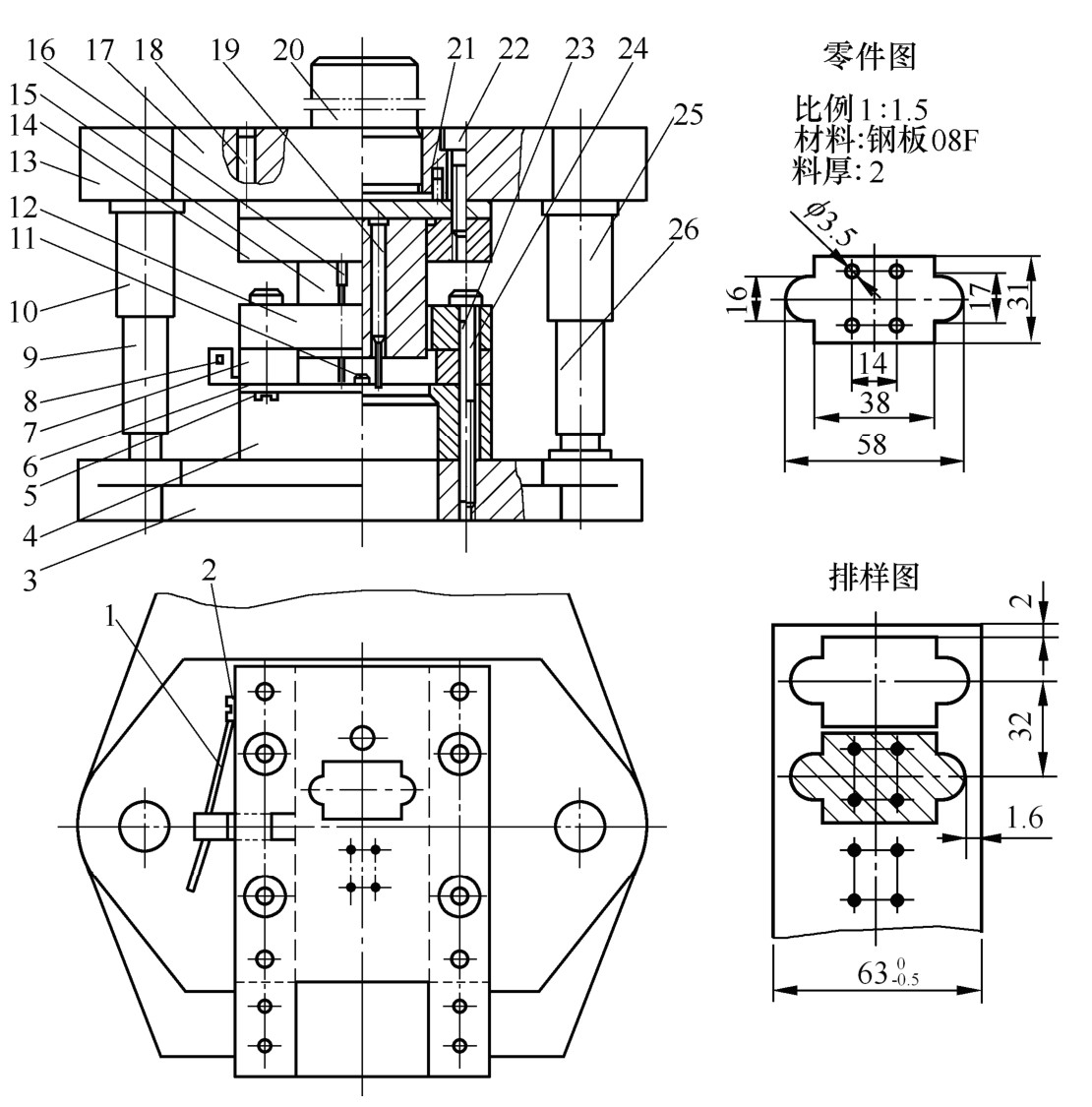
零件名称:托板(如图2.68所示)。
 
    图2.68 零件图
生产批量:大批量。
材料:08F; t =2mm。
设计该工件冲裁模工艺方案并绘制模具结构图。
1.冲裁件工艺分析
冲裁件材料为08F钢板,优质碳素结构钢,具有良好的冲压性能;冲裁件结构简单,但外形有尖锐清角。为了提高模具寿命,建议将所有清角改为 R 1圆角;零件图上所有尺寸均未标注公差,可按IT14确定工件尺寸公差。查标准公差数值表(GB/T 1800.3—1998),各尺寸公差为
 
   2.确定工艺方案及模具结构形式
由以上分析可知,冲裁件具有尺寸精度要求不高,形状较小,大批量生产,板料壁厚为2mm等特点。为保证孔位精度和生产率,采用工序集中的工艺方案,即采用导正销精定位,刚性卸料装置,自然漏料方式的连续冲裁模结构形式。
3.模具设计计算
1)排样设计
首先确定搭边值。根据零件形状和尺寸查表2-10,工件间搭边值按矩形取 a 1 =1.8mm,侧边搭边值按圆形取 a =1.5mm。
因此送料步距为
A = D + a 1 =30+1.8=31.8≈32(mm)
条料宽度按式(2-3),并查表2-11、表2-12得
 
   根据计算结果,最终确定工件间搭边值为2mm,侧边搭边值为1.6mm,排样图如图2.69所示。
2)计算冲裁工序力
因采用刚性卸料装置和自然漏料方式,只用计算冲裁力和推件力即可。
(1)冲裁力包括冲裁外形的落料力和冲裁4个小孔的冲孔力。
查表1.3得 τ b =300MPa,由式(2-15)计算冲裁外形的落料力为
 
   由式(2-15)计算冲孔力为
 
   (2)推件力包括冲孔和落料两个工序。
查表2-16,得 K t =0.055。取 n =3,由式(2-18)可得
 
   (3)计算冲裁工序力
由式(2-20)得
F = F c1 + F c2 + F t =126+34+26=186(kN)
3)确定压力中心
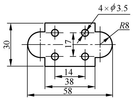
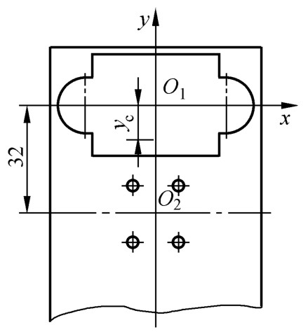
如图2.70所示,因为工件图形对称,所以落料时的压力中心在 O 1 上,冲孔时的压力中心在 O 2 上,总的压力中心在 y 轴上,由式(2-25)得
 
    
    图2.69 排样图
 
    图2.70 压力中心
4)计算冲模刃口尺寸
(1)查表2-13,确定冲裁间隙为 Z min =0.22mm, Z max =0.26mm。
(2)计算落料刃口尺寸。采用配制加工,刃口尺寸以凹模为基准,凸模尺寸按相应的凹模实际尺寸进行配制,保证双面间隙为0.22~0.26mm。
查表2-15,确定所有尺寸的磨损系数均为 x =0.5。落料刃口尺寸均为A类尺寸,取 δ d = Δ /4,按式(2-12)得到
 
    
   为保证 R 8与尺寸16的轮廓线相切, R 8的凹模尺寸,取尺寸16的一半,公差也取一半,故有
 
   (3)计算冲孔刃口尺寸。仍采用配制加工,刃口尺寸以凸模为基准,凹模尺寸按相应的凹模实际尺寸进行配制,保证双面间隙为0.22~0.26mm。
    查表2-15,得磨损系数
    
     x
    
    =0.5。
     尺寸均为B类尺寸,取
    
     δ
    
    
     d
    
    =
    
     Δ
    
    /4,按式(2-13)得
    尺寸均为B类尺寸,取
    
     δ
    
    
     d
    
    =
    
     Δ
    
    /4,按式(2-13)得
   
 
   在冲压过程中,不随磨损变化的尺寸,按式(2-14)计算得
C 1 = C 1 ± Δ ′/4=14 ± 0.22/4=14 ± 0.055
C 2 = C 2 ± Δ ′/4=17 ± 0.22/4=17 ± 0.055
5)确定各主要零件结构尺寸
(1)凹模外形尺寸的确定。
凹模厚度 H a 的确定,由式(2-30)得
     ,查资料圆整取标准值
    
     H
    
    
     a
    
    =25mm。
    ,查资料圆整取标准值
    
     H
    
    
     a
    
    =25mm。
   
根据式(2-31),计算凹模壁厚:
c =1.3 H a =32.5mm,查资料圆整取值 c =34mm。
凹模宽度 B 的确定:
B = b +2 c =58+2 × 34=126(mm)
凹模长度 L 的确定:
L = l + s +2 c =30+32+2 × 34=130(mm)
根据GB/T 8057—1995,确定凹模外形尺寸为140×125×25。
(2)凸模长度尺寸的确定。
由式(2-28)可知,采用刚性卸料时凸模的长度为 L = h 1 + h 2 + h 3 + A 。其中,导料板厚 h 1 =8mm,卸料板厚 h 2 =12mm,凸模固定板厚 h 3 =18mm, A 由3部分组成:闭合状态时固定板和卸料板之间的距离、凸模的修磨量、凸模进入凹模的距离,一般在15~20mm之间取值,此处取 A =18mm,则
L =8+12+18+18=56(mm)
6)压力机的选用
选用压力机的公称压力应大于冲裁工序力,即 F p ≥1.2 F =223.2kN;最大闭合高度应大于冲裁模闭合高度5mm;工作台面尺寸应能满足模具的正确安装。综上所述,查表1-5,可选用J23-25开式双柱可倾式压力机,并需在工作台面上配备垫块,垫块实际尺寸可配制。
4.绘制装配图
按已确定的模具形式及参数,从冷冲模标准中选取标准模架,绘制模具装配图,如图2.71所示。主要零件图参见第12章综合实训中图12.86~图12.89。
 
    图2.71 模具装配图
1—簧片;2—螺钉;3—下模座;4—凹模;5—螺钉;6—承料板;7—导料板;8—始用挡料销;9,26—导柱;10,25—导套;11—挡料钉;12—卸料板;13—上模座;14—凸模固定板;15—落料凸模;16—冲孔凸模;17—垫板;18—圆柱销;19—导正销;20—模柄;21—止转销;22—内六角螺钉;23—圆柱销;24—螺钉
本章对冲裁工艺及冲裁模具设计进行了较详细的阐述,包括冲裁变形过程、冲裁件工艺性、排样设计、冲裁间隙、压力中心、冲裁工序力及单工序模、复合模和连续模的设计。
介绍了冲裁变形过程及制件的断面特征。
冲裁件的结构工艺性能介绍了满足冲裁工艺要求的制件的形状、精度、粗糙度和结构。
模具工艺设计介绍了典型模具结构、排样设计、冲裁间隙、冲裁工序力和压力中心计算;模具结构设计介绍了典型的模具结构和主要零部件的设计要求。
本章的教学目标是使学生具备冲裁模设计的基础知识,通过典型模具结构和实例的讲解,掌握弯曲模设计的基础知识及冲裁模设计的一般流程。
1.简答题
(1)什么是冲裁?冲裁变形过程分为哪三个阶段?说明每一段的变形情况。
(2)冲裁时,断面质量分为哪几个区?各区有什么特征?是怎样形成的?
(3)什么是排样?冲压废料有哪两种?要提高材料利用率,应从减少哪种废料着手?
(4)什么是搭边?搭边大小决定于哪些因素?
(5)什么是冲裁间隙?它对冲裁件的断面质量、冲裁工序力、模具寿命有什么影响?怎样确定模具的合理冲裁间隙?
(6)求冲裁模的压力中心位置有哪几种方法?用解析法如何求冲裁模的压力中心位置?求冲裁模压力中心位置有什么用处?
(7)冲裁模刃口尺寸计算的原则有哪些?
(8)在什么情况下采用凸模和凹模分别标注、分别加工?分别加工时应满足什么条件?
(9)在什么情况下采用凸模和凹模配合加工?配合加工有什么优点?
(10)何为正装复合模?何为倒装复合模?各有什么优点?设计复合模中的凸凹模时应注意什么问题?
(11)选择冲裁模的结构类型时应遵循什么原则?
(12)冲模工作时,毛坯在送进平面内怎样定位?左右怎样导向?各有哪几种方式和零件?
(13)模架由哪几种零件组成?标准中规定了哪几种模架形式?各有什么特点?模架在模具中起什么作用?
(14)垫板起什么作用?在什么情况下可以不加垫板?
2.设计题
(1)设计计算图2.72所示制件的冲孔-落料复合模,并绘制出模具结构图。
(2)设计计算图2.73所示制件的冲孔-落料级进模,并绘制出模具结构图。
 
    图2.72 制件图(一)
 
    图2.73 制件图(二)
(3)设计计算图2.74(a)~(d)所示制件的冲裁模。生产批量和设计工作量由教师根据教学需要确定,模具类型由学生根据综合分析确定。
 
    图2.74 制件图(三)
1.实训目标:提高学生的实践能力,增加对冲裁模具结构的感性认识,将冲裁模理论知识与模具实物相对应,并提高模具拆装的实际操作技能和绘图能力。
2.实训内容:指导学生完成冲裁模具拆装,测量并填写冲模零件配合关系测绘表(见表2-19),绘制拆卸模具的结构图和主要零件工作图。
3.实训要求:模具的拆装与测绘按下面的要求进行。
1)模具拆卸的一般规则
在拆装模具时可先将模具的某一部分(如冲压模的上模,注射模的定模部分)托住,另一只手拿木棰或铜棒轻轻地敲击模具另一部分(如冲压模的下模,注射模的动模部分)的座板,从而使模具分开。绝不可用很大的力来锤击模具的其他工作面,或使模具左右摆动从而对模具的精度产生不良影响。然后用铜棒顶住销钉,用手锤将销钉卸除,再用内六角扳手卸下紧固螺钉和其他紧固零件。在拆卸时要特别小心,绝不可碰伤模具工作零件的表面。拆卸下来的零件应放在指定的容器内,以防生锈或遗失。在拆卸模具时,一般应遵循下列规则:
(1)模具的拆卸工作应按照各模具的具体结构,预先考虑好拆卸程序。如果先后顺序倒置或贪图省事而猛拆猛敲,就会造成零件损伤或变形,严重时还会导致模具难以装配复原。
(2)模具的拆卸顺序一般应先拆外部附件,然后再拆主体部件。在拆卸部件或组合件时,应按从外部拆到内部、从上部拆到下部的顺序进行,依次拆卸组合件或零件。
(3)拆卸时,使用的工具必须保证对合格零件不会造成损伤,应尽量使用专用工具,严禁用钢锤直接敲击零件的工作表面。
(4)拆卸时,对容易产生位移而又无定位的零件,应做好标记;各零件的安装方向也需要辨别清楚,并做好相应标记,以免在装配复原时浪费时间。
(5)对于精密的模具零件,如凸模、凹模和型芯等,应放在专用的盘内或单独存放,以防碰伤工作部位。
(6)拆下的零件应尽快清洗,以免生锈腐蚀,最好涂上润滑油。
表2-19 冲压模零件配合关系测绘表
 
    注:表中列出了模具配合零件间的配合要求,测绘者可根据测绘过程中的实感及实测数据填写有关栏目,为完成所测绘模具的装配图作准备。表中所留空行供记录所列的模具配合零件测绘数据用。
2)模具测绘的基本内容
模具测绘在模具拆卸之后进行。通过模具测绘有助于进一步认识模具零件,了解模具相关零件之间的装配关系。
模具测绘最终要完成所拆卸模具的装配图和重要零件图的绘制。由于模具测绘时主要采用游标卡尺、千分尺与直尺等普通测量工具,测量结果就远不及采用专用测量工具时精确,再加上使用方法难免有不够完善的地方,由此而产生的测量误差相应较大,因此需要对测量结果按技术资料上的理论数据进行必要的“圆整”。只有用“圆整”后的数据来绘制模具装配图,才能较好地反映模具结构的实际情况。模具测绘可按下列步骤进行。
(1)模具拆卸之前,应先画出模具的结构草图,并测量总体尺寸。
(2)拆卸后对照实样,勾画各模具零部件的结构草图。
(3)选择基准,设计各模具零件的尺寸标注方案。对于相关零件的相关尺寸,建议用彩笔标出,以便测量时引起重视。
(4)根据设计好的尺寸标注方案,测量所需尺寸数据,并做好记录。在查阅有关技术资料基础上,再进行尺寸数值的“圆整”工作。
(5)完成所拆卸模具的装配图。
(6)根据指导教师的具体要求,完成重要模具零件的工作图。
3)模具装配复原的一般程序
模具的装配复原程序主要决定于模具的类型和结构,基本上与模具拆卸的程序相反。模具的装配复原应在模具测绘所形成的模具装配图的基础上进行。并且在模具的装配复原过程中,要不断地修正模具装配图中的错误。模具装配复原的一般程序如下。
(1)先装模具的工作零件(如凸模、凹模或型芯、镶件等)。一般情况下,冲压模先装下模部分,注射模先装动模部分比较方便。
(2)装配推料或卸料零部件(塑料模装配推出机构)。
(3)在各模板上装入销钉并拧紧螺钉。
(4)总装其他零部件,最后将上模和下模合在一起。(塑料模将动模和定模合在一起)
(5)指导教师进行模具装配复原考评。