购买
下载掌阅APP,畅读海量书库
立即打开
畅读海量书库
扫码下载掌阅APP

第六节
经纬仪的检验与校正

测量规范要求,在正式作业前,应对经纬仪进行检验与校正,使之满足作业要求。在经纬仪进行检验校正前,应先进行一般的检视。如度盘和照准部旋转是否灵活,各部位螺旋是否灵活有效;望远镜视场是否清晰;度盘分划线是否清晰;分微尺分划是否清晰;仪器及各种附件是否齐全等。这项检视非常重要,在经纬仪进行检验校正前一定要认真检查。符合检视要求后再进行经纬仪的检验与校正。

一、经纬仪应满足的几何条件

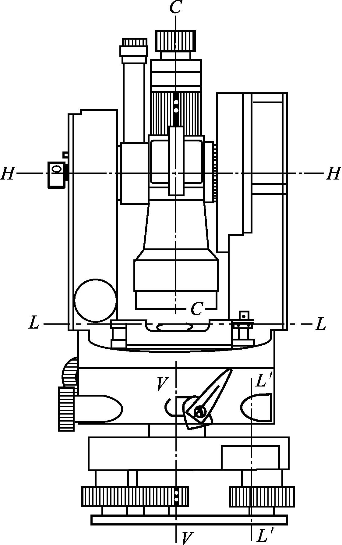
如图3-21所示,经纬仪的主要轴线有横轴(或水平轴) HH ;竖轴(或垂直轴) VV ;望远镜视准轴(或照准轴) CC ;照准部管水准器轴 LL

图3-21 经纬仪的主要轴线

为使经纬仪能正确工作,各主要轴线应满足下列条件。

(1)竖轴应垂直于水平度盘且过其中心;

(2)照准部水准管轴应垂直于仪器竖轴;

(3)视准轴应垂直于横轴;

(4)横轴应垂直于竖轴;

(5)横轴应垂直于竖盘且过其中心。

上述五项条件中,第(1)、(5)两项仪器出厂时已保证满足,作业时只检查(2)、(3)、(4)项。另外,还要对仪器十字丝、指标差及光学对中器进行检验与校正。

二、经纬仪的检验与校正

1.照准部水准管轴应垂直于仪器竖轴

(1)检验 先初步整平仪器,然后转动照准部使水准管轴平行于任意两个脚螺旋的连线,相对旋转两脚螺旋使气泡居中;再将照准部旋转180°,如果气泡仍居中或偏离中心不超过1格,条件满足;否则需要进行校正。

(2)校正 相对旋转这两个脚螺旋,使气泡向中央移动所偏格数的一半,用校正针拨动水准管一端的上、下两个校正螺钉,使水准管一端升高或下降,改正偏移量的另一半使气泡居中。此项检验校正应反复进行,直至照准部旋转到任意位置时,气泡偏移量均不超过1格为止。

(3)检校原理 显然,该项条件不满足,是由于水准器两端支架不等高造成的。如图3-22(a)所示,当照准部水准管轴水平(即气泡居中)时,水平度盘倾斜了 α 角,竖轴也偏离了铅垂线 α 角。转动照准部180°后,由于竖轴方向不变,管水准器轴与水平度盘的夹角仍为 α ,但与水平面的夹角则为2 α ,如图3-22(b)所示。此时气泡偏移量 e 是水准管轴倾斜2 α 造成的。校正时,先用脚螺旋改正气泡偏移量的一半(即 e /2),此时,竖轴处于铅垂位置,水准管轴仍不水平,它与水平面夹角为 α ,如图3-22(c)所示。当用校正螺钉改正气泡偏移量的另一半使气泡居中时,水准管轴处于水平位置并且和处于铅垂状态的竖轴相垂直,如图3-22(d)所示。

图3-22 照准部水准管轴的检校

2.十字丝的竖丝应垂直于横轴

(1)检验 该项检验可分别采用以下两种方法。

方法 1: 整平仪器,用十字丝竖丝的上端(或下端)照准远处一清晰的固定点,旋紧照准部和望远镜制动螺旋,用望远镜微动螺旋使望远镜向上或向下慢慢移动,若竖丝和固定点始终重合,则表示该条件满足,否则需进行校正。

方法 2: 整平仪器,用十字丝竖丝照准适当距离处悬挂的稳定不动的垂球线,如果竖丝与垂球线完全重合,则条件满足,否则应进行校正。

(2)校正 打开望远镜目镜一端十字丝分划板护盖,用螺丝刀轻轻松开四个压环螺钉(图3-23中2),缓慢转动十字丝环,使竖丝处于铅垂位置,然后拧紧四个固定螺钉,并拧上护盖。

图3-23 十字丝竖丝的检

1—望远镜筒;2—压环螺钉

3.视准轴应垂直于横轴

(1)检验 理论上用盘左和盘右分别照准与仪器大致同高的同一目标并读取水平度盘读数,其差值应为180°;否则,说明该项条件不满足。其差值为两倍视准轴误差,用2 C 表示。计算公式为

当2 C 绝对值大于2'时,应校正。计算的盘左和盘右正确读数应相差180°,这可作为计算结果是否正确的检核条件。

(2)校正 在盘右的位置,转动水平微动螺旋使水平度盘读数为正确读数 M ,此时,望远镜十字丝交点必然偏离了目标。旋下十字丝分划板护盖,稍微松开十字丝环上、下两个校正螺钉(图3-23中3),再用校正针拨动十字丝环的左右两个校正螺钉,松一个,紧一个,推动十字丝环左右移动,使十字丝竖丝精确照准目标。如此反复检校几次,直至符合要求后,拧紧上下两螺钉,旋上十字丝分划板护盖。

(3)检校原理 视准轴是十字丝中心和物镜光心的连线,当视准轴不垂直于横轴时,说明视准轴位置发生了变动,由于物镜光心一般不会变动,所以视准轴位置的变动是由于十字丝中心位置不正确所引起的。

如图3-24(a)所示,盘左位置时,设十字丝交点在正确位置 K 处,照准与仪器大致同高的目标 P 时,水平度盘读数为 M ,当十字丝交点偏离到 K' 位置时,视准轴偏离正确位置一个 C 角,这时,如要照准 P 点,则照准部必须向右转一个 C 角,设度盘读数为 m ,显然, m 比正确读数 M 大了一个 C 角,所以有

(a)

盘右位置时,指标也转到了右边位置,如图3-24(b)所示,情况与盘左相反,即

(b)

图3-24 视准轴垂直于横轴的检校原理

同一目标盘左、盘右正确读数应相差180°,即

(c)

将式(a)、(b)两式相加并综合式(c)得

(3-13)

将式(a)、(b)两式相减,得

(3-14)

从式(3-13)可看出,取盘左、盘右的读数平均值,可以消除视准轴误差 C 的影响。

【例3-22】 经纬仪视准轴检验和校正的目的是(  )。  (使视准轴垂直横轴)

4.横轴应垂直于竖轴

(1)检验 如图3-25所示,在离墙壁约20m处安置仪器,盘左照准墙上高处一清晰的照准标志 P ,固定照准部,然后使望远镜视准轴水平,在墙面上标出十字丝中心点 P 1 ;松开水平制动螺旋,盘右位置再次照准点 P ,并置平望远镜,在墙上标出十字丝中心点 P 2 。若 P 1 P 2 两点重合,则条件满足;否则,说明横轴不水平,倾斜了一个角。设 P 1 P 2 两点距离为 Δ ,则有

(3-15)

式中 ρ ——206265″;

α ——照准高点 P 的竖直角;

s ——仪器中心至墙壁之间的垂直距离,m。

图3-25 横轴垂直于竖轴的检验

(2)校正 当 i 大于±1'时,应进行校正。启开仪器支架一侧的盖板,放松有关压紧螺钉,使横轴一端升高或降低,如此反复检校几次,直至符合要求为止。因此项校正比较困难,通常由技术熟练的仪器维修人员进行。

5.竖盘指标差的检验与校正

(1)检验 安置仪器后,盘左、盘右分别照准同一目标,整平竖盘指标水准管,读取两个盘位的竖盘读数 L R ,然后计算指标差 x 。若指标差 x 的绝对值大于1'时,则应进行校正。

(2)校正

①竖盘指标水准管装置的经纬仪。对于竖盘指标水准管装置的经纬仪,主要是通过竖盘指标水准管校正螺丝来消除指标差。具体方法是:先计算盘左或盘右的正确读数( L 0 = L - x R 0 = R - x ),再转动竖盘指标水准管微动螺旋,使竖盘指标对准正确读数( L 0 R 0 ),此时,竖盘指标水准管气泡不居中,用校正针拨动水准管一端的上、下两个校正螺钉,使气泡居中。如此反复检校几次,直至符合要求为止。

②竖盘指标自动归零装置的经纬仪。竖盘指标自动归零装置的经纬仪,其校正部件一般都在仪器内部,需要由专业仪器维修人员进行维修。在外业测量时,若遇到指标差 x 超出规定时,也可通过调整十字丝上、下位置的方法来校正指标差 x 。具体方法是:先求出盘左或盘右的正确读数 L 0 R 0 ,再转动望远镜微动螺旋,使竖盘指标对准正确读数 L 0 R 0 ,此时,望远镜目镜十字丝中心向上或向下偏离了原照准目标。先拧下十字丝分划板护盖,稍微旋松十字丝分划板左、右两个校正螺钉(图3-23中的3),然后,用校正针拨动上、下两个校正螺钉,一松一紧,直至十字丝中丝精确照准原目标为止。此项校正应反复进行,使指标差满足要求。

校正时应注意,左右两个校正螺钉不能松得太多,以免引起视准轴误差;若指标差过大,通过调整十字丝上、下位置的方法不能消除时,应交专业仪器维修人员进行维修。

6.光学对中器的检验与校正

(1)检验 检验目的是使光学对中器的视准轴与通过水平度盘中心的铅垂线重合。方法是:

整平仪器,在仪器的正下方水平放置一十字标志,转动仪器基座的三个脚螺钉,使对中器分划板中心与地面十字标志重合,将仪器转动180°,观察对中器分划板中心与地面十字标志是否重合;如果重合,则无须校正;若有偏移,则需进行调整(图3-26)。

图3-26

(2)校正 将仪器安置在三脚架上并固定好,在仪器正下方放置一十字标志,转动仪器基座的三个脚螺钉,使对中器分划板中心与地面十字标志重合,将仪器转动180°,并拧下对中器目镜护盖,用校正针调整4个调整螺钉,使地面十字标志在分划板上的像向分划板中心移动一半,重复以上步骤,直至转动仪器到任何位置,地面十字标志与分划板中心始终重合为止。若目标偏离超过2mm时,应交专业仪器维修人员校正。 zfTXLvVeE4N3Ar8loHa3ecL53FKYt73Y+2Th530FSB9uMWZfUPWQq4xq8OW4UMeN

点击中间区域
呼出菜单
上一章
目录
下一章
×