购买
下载掌阅APP,畅读海量书库
立即打开
畅读海量书库
扫码下载掌阅APP

第五节
竖直角观测

一、竖直度盘结构

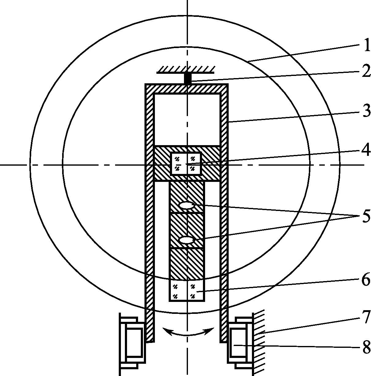
经纬仪的竖直度盘(简称竖盘)垂直安装在望远镜旋转轴(横轴)的一端,随望远镜一起转动,如图3-16所示。

图3-16 竖直度盘构造图

1—指标水准管轴;2—水准

竖直度盘的影像通过棱镜和透镜所组成的光具组10,成像于读数显微镜的读数窗内。光具组10的光轴和读数窗中测微尺的零分划线构成竖盘读数指标线,读数指标线相对于转动的度盘是固定不动的。因此,当转动望远镜照准高低不同的目标时,用指标线便可在转动的度盘上读取不同的读数。光具组10又和竖盘指标水准管固定在一个微动支架上,并使竖盘指标水准管轴1和光具组光轴4相垂直,当转动竖盘指标水准管时,读数指标线作微小移动;当竖盘指标水准管气泡居中时,读数指标线处于正确位置。因此,在进行竖直角观测时,每次读取竖盘读数之前,都必须先使竖盘指标水准管气泡居中。

二、竖直角的计算

竖直角是测站点到目标点的倾斜视线和水平视线之间的夹角,因此,与水平角计算原理一样,竖直角也应是两个方向线的竖盘读数之差;但是,由于视线水平时的竖盘读数为一常数(90°的整倍数),故进行竖直角测量时,只需读取目标方向的竖盘读数,便可根据不同度盘注记形式相对应的计算公式计算出所测目标的竖直角。

竖盘注记形式很多,图3-17所示为DJ6型光学经纬仪常见的两种注记形式。

图3-17 竖盘注记形式

如图3-17(b)所示,设望远镜视线水平时,其竖盘读数盘左为 L 0 ,盘右为 R 0 ;望远镜照准目标时盘左、盘右竖盘读数分别为 L R

图3-18的上面部分为盘左时的三种情况,如果指标线位置正确,当视线水平且竖盘指标水准管气泡居中时,读数 L 0 =90°。当视线向上倾斜时,竖直角为仰角,读数减小;当视线向下倾斜时,竖直角为俯角,读数增大。因此,盘左时竖直角应为视线水平时读数减照准目标时读数,即

(3-6)

图3-18 竖直角的计算

图3-18的下半部分是盘右时的三种情况,视线水平时读数 R 0 =270°,仰角时读数增大,俯角时读数减小。因此,盘右时竖直角应为照准目标时的读数减视线水平时的读数,即

(3-7)

为了提高精度,盘左、盘右取中数,则竖直角计算公式为

(3-8)

计算结果为“+”时, α 为仰角;为“-”时, α 为俯角。

根据上述公式的推导,可得确定竖直角计算公式的通用判别法如下。

(1)仪器在盘左位置,使望远镜大致水平,确定视线水平时的读数 L

(2)将望远镜缓慢上仰,观察读数变化情况,若读数减小,则 α = L 0 - L ,若读数增大,则 α = L - L 0

(3)同法确定盘右读数和竖直角的关系。

(4)取盘左、盘右的平均值即可得出竖直角计算公式。

三、竖盘指标差

上述竖直角计算公式的推导条件,是假定视线水平、竖盘指标水准管气泡居中,读数指标线位置正确的情况下得出的。实际工作中,读数指标线往往偏离正确位置,与正确位置相差一小角值,该角值称为指标差,如图3-19所示。也就是说,竖盘指标偏离正确位置而产生的读数误差称为指标差。

图3-19 竖盘指标差

指标差对竖直角影响从图3-19中可以看出

盘左时 (3-9)

盘右时 (3-10)

两式相加取平均值得

(3-11)

两式相减得 (3-12)

式(3-12)即为竖盘指标差的计算公式。

通过上述分析可得到如下结论。

(1)从式(3-11)可以看出,用盘左、盘右观测取平均值可消除指标差的影响。

(2)当只用盘左或盘右观测时,应在计算竖直角时加入指标差改正。即可按式(3-12)求得 x 后,再按式(3-9)或式(3-10)计算竖直角。计算时 x 应带有正负号。

(3)指标差 x 的值有正有负,当指标线沿度盘注记方向偏移时,造成读数偏大,则 x 为正,反之 x 为负。

四、竖直角观测

竖直角观测时应用望远镜中十字丝的横丝瞄准目标的顶部或目标的某一位置。其操作程序如下。

(1)在测站点上安置经纬仪,量取仪器高 i (测站点标志顶部至仪器竖盘中心位置的高度)。

(2)盘左位置用横丝中丝精确照准目标,调节竖盘指标水准管微动螺旋,使竖盘指标水准管气泡严格居中,读取竖盘读数 L 并记入手簿,即为上半测回。

(3)纵转望远镜,盘右照准目标同一部位,使竖盘指标水准管气泡居中,读取竖盘读数 R 并记入手簿,即为下半测回。

【例3-14】 观测一个高处目标,盘左时的竖盘读数为77°32'30″,盘右时的竖盘读数为282°27'42″,根据式(3-11)可得

其指标差

又如观测一个低处目标,盘左时的竖盘读数为96°26'42″,盘右时的竖盘读数为263°34'06″,根据式(3-11)可得

其指标差

竖直角的记录计算格式如表3-4所示。

表3-4 竖直角观测手簿

在一个测站的观测过程中,其指标差值应该是一个固定值,但由于受外界条件和观测误差的影响,使得各方向的指标差值往往不相等,为了保证观测精度,对DJ6经纬仪需要规定其指标差变化的限差,一般规定如下:同一测回中,各方向指标差互差不应超过24″。同一方向各测回竖直角互差不应超过24″。若指标差互差和竖直角互差符合要求,则取各测回同一方向竖直角的平均值作为各方向竖直角的最后结果。

【例3-15】 用经纬仪测竖直角时,必须用(  )精确地瞄准目标的标志中心底部位置。  (十字丝横丝)

【例3-16】 盘左盘右取平均值观测某个方向的竖直角可以消除(  )的影响。  (竖盘指标差)

【例3-17】 测定一点竖直角时,若仪器高不同,但都瞄准目标同一位置,则所测竖直角(  )。  (相同)

【例3-18】 经纬仪如存在指标差,盘左和盘右竖直角(  )。  (均含指标差)

【例3-19】 经纬仪盘左时,当视线水平,竖盘读数为90°;望远镜向上仰起,读数减小。则该竖直度盘为顺时针注记,其盘左和盘右竖直角计算公式分别为(  )。  (90°- L R -270°)

五、竖盘指标自动归零补偿器

在竖直角观测中,为使指标线处于正确位置,每次读数前都必须转动竖盘指标水准管微动螺旋使竖盘指标水准管气泡居中。这就降低了竖直角观测的效率,操作很不方便。

为了克服这一缺点,大部分光学经纬仪均采用竖盘指标自动归零装置代替竖盘指标水准管。当仪器竖轴偏离铅垂线的角度在一定范围内时,由于自动补偿器的作用,可使读数指标线自动居于正确位置。在进行竖直角观测时,瞄准目标即可读取竖盘读数,从而提高了竖直角观测的速度和精度。

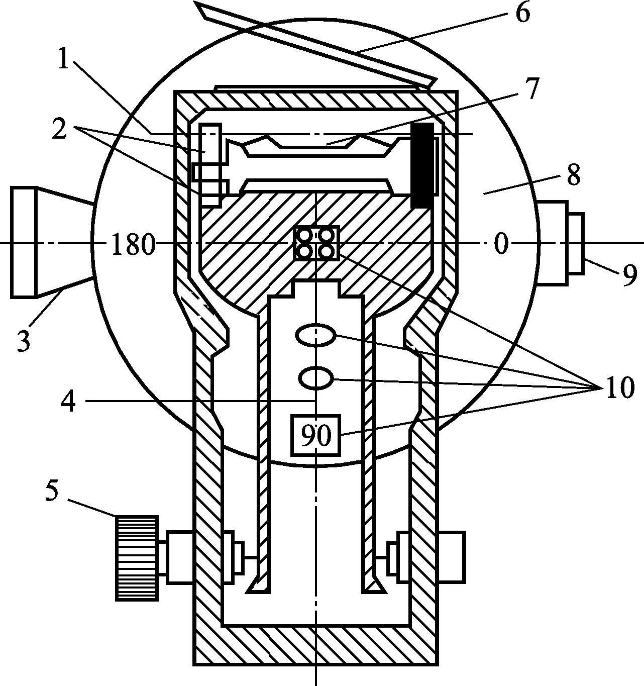
经纬仪竖盘指标自动归零装置常见结构有悬吊透镜、液体盒两种。如图3-20所示为悬吊透镜补偿器结构示意图。读数棱镜系统悬挂在一个弹性摆上,依靠摆的重力和空气阻尼盒的共同作用,能使弹性摆迅速处于静止位置。此种补偿器结构简单,未增加任何光学零件,只是将原有的成像透镜进行悬吊,当仪器在±2'范围内稍倾斜时,可达到自动补偿的目的。

图3-20 竖盘指标自动归

1—竖直度盘;2—弹簧片

【例3-20】 经纬仪可以测量(  )。  (水平角、水平方向值、竖直角)

【例3-21】 测站点 O 与观测目标 A B 位置不变,如仪器高度发生变化,则观测结果(  )。  (竖直角改变、水平角不变) RGVjNxDOM2te+op4nByxfAXxbXrzG63NqHUJR9KxYlDpO17zuIkt2XoQYn6Kyro0

点击中间区域
呼出菜单
上一章
目录
下一章
×