购买
下载掌阅APP,畅读海量书库
立即打开
畅读海量书库
扫码下载掌阅APP

第二节
水准测量的仪器和工具

水准仪的类型很多,我国按其精度指标划分为DS05、DS1、DS3和DS10四个等级,D和S分别为“大地测量”和“水准仪”汉语拼音的第一个字母,字母后的数字05、1、3、10等指用该类型水准仪进行水准测量时每千米往、返测高差中数的偶然中误差值,分别不超过±0.5mm、±1mm、±3mm、±10mm。一般可省略“D”只写“S”。DS05、DS1为精密水准仪,主要用于国家一、二等精密水准测量和精密工程测量,DS3主要用于国家三、四等水准测量和常规工程测量,工程测量中常用的是DS3型水准仪,常称为DS3微倾式水准仪。

一、DS3型微倾式水准仪

如图2-4所示是我国生产的DS3型微倾式水准仪。它是通过调整水准仪的微倾螺旋使管水准气泡居中而获得水平视线的一种仪器设备。DS3型微倾式水准仪主要由望远镜、水准器和基座三个部分组成,现分述如下。

图2-4 DS3型微倾式水准仪

1—物镜;2—物镜调焦螺旋;3—微动螺旋;4—制动螺旋

1.望远镜

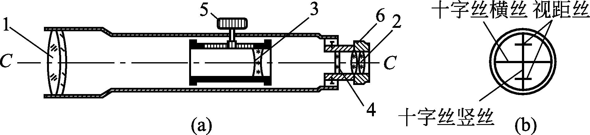
望远镜是构成水平视线、瞄准目标并对水准尺进行读数的主要部件。根据在目镜端观察到的物体成像情况,望远镜可分为正像望远镜和倒像望远镜。如图2-5所示为倒像望远镜的结构图,它由物镜、物镜调焦透镜、十字丝分划板、目镜等组成。物镜光心与十字丝交点的连线称为望远镜的视准轴,视准轴是瞄准目标和读数的依据。

图2-5 望远镜的结构

1—物镜;2—目镜;3—物镜调焦透镜;4—十字丝分划板

目前微倾式水准仪上的望远镜多采用内对光式的倒像望远镜,其成像原理如图2-6所示。目标 AB 发出的光线经过物镜和物镜调焦透镜的作用在镜筒内构成倒立的小实像 ab ,转动物镜调焦螺旋时,物镜调焦透镜随之前后移动,使远近不同的目标清晰地成像在十字丝分划板上;再经过目镜放大,使倒立的小实像放大成为倒立的大虚像 a'b' ,同时十字丝分划板也被放大。

图2-6 望远镜的成像原理

经望远镜放大的虚像与眼睛直接看到的目标大小的比值,称为望远镜的放大率,通常用 V = β / α 表示。《城市测量规范》(CJJ/T 8—2011)规定,DS3型水准仪的望远镜放大率一般不低于28倍。

十字丝分划板是一块圆形平板玻璃,上面刻有相互正交的十字丝,如图2-5(b)和图2-7所示为十字丝分划板的几种形式。纵丝(也叫竖丝)用来照准水准尺,横丝(又叫中丝)的中间用来读取读数。与横丝平行而等距的上下两根短细线,称为视距丝,用于测量距离。调节目镜调焦螺旋,可使十字丝成像清晰。

图2-7 十字丝分划板

【例2-5】 水准仪照准水准尺后,在目镜中看到的物像不清晰,应该调节(  )。  (物镜调焦螺旋)

【例2-6】 望远镜十字丝交点和物镜光心的连线,称为(  )。  (视准轴)

2.水准器

水准器是用来判断望远镜的视准轴是否水平及仪器竖轴是否竖直的装置。通常分为管水准器和圆水准器两种。

(1)管水准器 管水准器是一个两端封闭的玻璃管,外形如图2-8(a)所示。管的内壁研磨成7~20m半径的圆弧,管内装满黏滞性小、易流动的液体(酒精或乙醚),加热封闭冷却后便形成气泡。由于气体比液体轻,因此,无论水准管处于水平或是倾斜位置,气泡总处在管内圆弧的最高位置。

图2-8 管水准器

水准管壁的两端各刻有数条间隔为2mm的分划线,用来判断气泡居中位置,如图2-8(b)所示。分划线的对称中心 O 即为水准管圆弧的中点,也称为水准管零点。过零点与水准管内圆弧相切的直线 LL 称为水准管轴。当气泡中点与水准管零点重合时称为气泡居中,这时水准管轴 LL 一定处于水平位置。

水准管上2mm间隔的弧长所对的圆心角称为水准管分划值,一般用 τ 表示,即

(2-7)

式中 τ ——水准管分划值,(″);

R ——水准管内圆弧半径,mm;

ρ ——弧度的秒值, ρ =206265″。

水准管分划值与内圆弧半径成反比,半径越大,分划值越小,整平的精度越高,气泡移动也越灵活。所以一般把水准气泡移动至最高点的能力,称为水准器的灵敏度。另外灵敏度还与水准管内壁面的研磨质量、气泡长度、液体性质和温度有关。灵敏度越高,使气泡居中也越费时间。因此,仪器上的水准管灵敏度要与仪器的精度相匹配。DS3型水准仪水准管分划值一般为20″。

为了提高水准管气泡居中的精度,DS3型水准仪在水准管上方安置一组符合棱镜,当气泡两端的半边影像经过三次反射后,其影像反映在望远镜的符合水准器的放大镜内,若气泡不居中,气泡两端半边影像错开,当转动微倾螺旋使气泡两端半边的影像吻合时,气泡完全居中,如图2-9所示。

图2-9 符合水准器及操作

【例2-7】 甲水准仪管水准器分划值为30″,乙水准仪管水准器分划值为20″,则两台仪器的整平精度乙(  )甲。  (高于)

【例2-8】 在水准仪上,调节水准仪符合水准器的螺旋是(  )。  (微倾螺旋)

【例2-9】 水准测量中,管水准气泡居中的目的是(  )。

(使视准轴水平)

(2)圆水准器 圆水准器是一个密封的顶面内壁磨成球面的玻璃圆盒,如图2-10所示。球面中央刻有小圆圈,圆圈中心为零点,零点与球心的连线为圆水准器轴。当气泡中心与圆水准器零点重合时,气泡居中,圆水准器轴处于铅垂位置。当圆水准器轴偏离零点2mm时,其轴线所倾斜的角值称为圆水准器分划值。 τ 一般为8'~10',因其灵敏度较低,整平精度较差,所以,圆水准器只能用于粗略整平仪器。

图2-10 圆水准器

【例2-10】 圆水准器轴与仪器竖轴的几何关系为(  )。  (互相平行)

3.基座

基座起支撑仪器和连接仪器与三脚架的作用,由轴座、底板、三角压板及三个脚螺旋组成。转动三个脚螺旋可使水准器气泡居中。

二、水准尺及附件

水准尺是与水准仪配合进行水准测量的重要工具。常用优质木材或玻璃钢、金属材料制成,长度从2~5m不等,根据构造可以分为直尺(双面水准尺)、折尺和塔尺三种,如图2-11所示。

图2-11 水准标尺

直尺(双面水准尺)多用于三、四等水准测量,一般尺长为3m,如图2-11所示,尺面每隔1cm涂以黑白或红白相间的分格,每分米处皆注有数字。尺子底面钉有铁片,以防磨损。涂黑白相间分格的一面称为黑面尺,另一面为红白相间,称为红面尺。在水准测量中,水准尺必须成对使用。每对双面水准尺其黑面尺底部的起始数均为零,而红面尺底部的起始数分别为4687mm和4787mm。两把尺红面注记的零点差为0.1m,为使水准尺更精确地处于竖直位置,多数水准尺的侧面装有圆水准器。

折尺长一般为3m,折叠处为1.5m,尺面分划值为1cm或0.5cm。因连接处稳定性较差,仅适用于普通水准测量和地形测量。

塔尺长一般为5m,分3节套接而成,可以伸缩,尺底从零起算,尺面分划值为1cm或0.5cm。因塔尺连接处稳定性较差,仅适用于普通水准测量。

尺垫如图2-12所示,用生铁铸成,一般为三角形,中央有一突出的半圆球,水准尺立于半圆球顶部;下有三个尖脚可以插入土中,尺垫通常用于转点上,使用时应踩稳固。

图2-12 尺垫 Tw5ZiBvdSGHyLQupwcXMDBWHID0++5wWzQv98lTF5+3+cYrTqU9DfUzkoBqUcUGy

点击中间区域
呼出菜单
上一章
目录
下一章
×