



矿产泛指一切埋藏在地下(或分布于地表的)可供人类利用的天然矿物或岩石资源。矿产的范畴一般有以下三类。
(1)可以从中提取金属元素的金属矿产,如铁矿、铜矿、铅矿、锌矿等。
(2)可以从中提取非金属原料或直接利用的非金属矿产,如硫铁矿、磷块岩、金刚石、石灰岩等。
(3)可以作为燃料的可燃性有机矿产,如煤、油页岩、石油、天然气等。目前,含矿热水、惰性气体、二氧化碳以及天然气水合物等,也包括在矿产的范畴内。
凡是在地壳中遇到的矿物集合体,在现在技术经济水平条件下,能以工业规模从中提取国民经济必须的金属或矿物产品的都称为矿石。
赋存于地壳中或地球表面并具有各种形态、产状和一定规模的矿石自然聚集体,是矿床的基本组成单位。矿体的固定受工业指标的限制,其形态、产状和晶位等随矿产工业指标的不同而不同。
矿体周围的岩石叫围岩。上盘围岩指上部围岩,下盘围岩指矿体下部围岩。
夹在矿体中的岩石称为夹石。
在采矿过程中矿床周围所采出的围岩或夹石,一般称为废石。废石一般不含有用成分或含量过少,当前不宜作为矿石开采。
通常把矿石中凡是可供利用的元素或矿物称为有用成分。矿石中所含有用成分的多少用品位表示;所谓品位就是矿石中有用成分的质量与矿石质量之比,常用百分数表示。
品位=矿石中有用成分含量/矿石质量×100%。
品位有如下表示方法:①质量百分数(%),是最常用的形式;②g/t,多用于贵金属矿;③mg/t或克拉/t,用于金刚石;④g/m 3 ,多用于重金属砂矿;⑤kg/m 3 ,多用于石棉、云母等。
边界品位是矿产工业要求的一项内容,是计算矿产储量的主要指标。指划分矿与废矿界限的最低品位,即圈定矿体时单位矿样中有用组分的最低品位,又称边际品位。边界品位是根据矿床的规模、开采加工技术(可选性)条件、矿石品位、伴生元素含量等因素确定的,是圈定矿体的主要依据,主要应用于单个样品区分矿石与围岩或夹石的有用组分含量界限,当有用组分含量等于或高于边界品位值时,其所代表的区段为矿石,进而根据有用组分平均含量是否高于工业品位,进一步划分可利用储量和暂不利用储量。当有用组分含量低于边界品位值时,其所代表的区段则为围岩或夹石。边界品位应高于或数倍于选矿后尾矿中有用组分的含量。
平均品位指矿体、矿段或整个矿区达到工业储量时的矿石总平均品位,主要用于衡量矿产的贫富程度。
最低工业品位是指在边界品位圈定的矿体范围内,合乎工业开采要求的平均品位的最低值。根据目前工业技术水平,当矿石的品位低于某个数值时,便没有利用的价值,则这一数值的矿石品位称为最低工业品位,用边界品位圈定的矿体或矿体中某个块段的平均品位,必须高于最低工业品位才有开采价值,否则无开采价值。
一般将品位高的矿石称为富矿。
一般将品位低的矿石称为贫矿。
矿物种本身蕴含了丰富的信息,每一个矿种除了具有一定的化学成分和结构特征之外,还有其特征的晶体对称性、物理性质、化学性质、光学性质和波谱,此外,其共生矿物、产状类型及磁性、压电性、热电性、发旋旋光性、放射性、潮解性等性质也各具特色。具体的矿物主要性质如下所述。
化学成分:化学分析资料、化学式、化学反应和侵蚀。
结构:晶系、对称性、空间群、晶胞参数、单位晶胞分子数、粉晶衍射强线、结构型等。
形态:肉眼观察状态、显微镜下状态、电子显微镜下研究的资料。
物理性质:硬度、密度、光泽、解理、条痕、双晶、延性、脆性、磁学性质、电学性质、红外光谱、荧光反应等。
光学性质:颜色、多色性、轴形、旋光性、旋光性方位、消光角、延性符合、折射率、重折率、内反射、双反射、反射多色性、光轴角、色散、非均质性等。
热分析性质:差热曲线和热失重曲线。
产状:产地、围岩类型共生组合、矿物的相互关系、形成条件、变化产物等。
共生矿物是指同一成因、同一成矿时期(或成矿阶段)中所形成的出现在一起的不同种矿物。如在花岗岩中,有岩浆作用期所形成的共生矿物长石和石英;在热液矿床中,有热液作用期所形成的共生矿物方铅矿和闪锌矿等。
伴生矿物是在自然界中出现于同一空间范围内的不同种矿物,伴生矿物只考虑空间上在一起,而不管彼此间在形成时间上和成因上是否有一定的联系。
硬度、坚固性、稳固性、碎胀性、结块性、氧化性、自然性、含水性等。
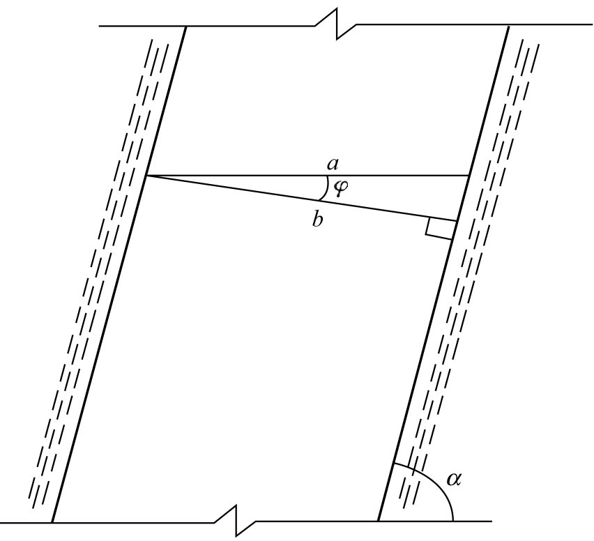
矿体厚度是指矿体的上盘与下盘之间的垂直距离或水平距离(图1-1)。前者称为矿体的真厚度,后者称为矿体的水平厚度。对于急倾斜矿体,常用水平厚度;对于缓倾斜矿体、水平或倾斜矿体常用垂直厚度,也即真厚度。若不加说明,一般指真厚度。
图1-1 矿体厚度示意
b —垂直厚度; a —水平厚度; φ — a 与 b 夹角; α —矿体倾角